青岛垚鑫智能科技有限公司
宣传

位置:中冶有色 >

有色技术频道 >

> 废水处理技术

分类:
全部
矿山技术
冶金技术
材料制备及加工技术
环境保护技术
分析检测技术
 
全部
废水处理技术
大气治理技术
固/危废处置技术
土壤修复技术
地区:
全部
北京
天津
上海
重庆
河北
山西
辽宁
吉林
黑龙江
江苏
浙江
安徽
福建
江西
山东
河南
湖北
湖南
广东
海南
四川
贵州
云南
陕西
甘肃
青海
内蒙
广西
西藏
宁夏
新疆
其他
其他
展开
 
全部
南京
无锡
徐州
常州
苏州
南通
连云港
淮安
盐城
扬州
镇江
泰州
宿迁

江苏有色金属废水处理技术理论与应用

免费发布技术信息>>
高效循环工业废水处理装置

本发明公开了一种高效循环工业废水处理装置,包括均质调节池、沉淀池、过滤池、反应池、处理池、生物膜过滤器和回用池,所述均质调节池出水口通过第一输送管道连接沉淀池进水口,所述沉淀池出水口通过第二输送管道连接过滤池进水口,并且在第一回流输送管上装设有单向阀门,所述过滤池出水口通过第三输送管道与反应池进水口连接,该反应池出水口通过第四输送管道与处理池进水口连接,在处理池内设置由紫外线器,该处理池出水口通过第四输送管道与生物膜过滤器进水口相连接,所述生物膜过滤器出水口连接回用池,所述回用池通过循环管连接沉淀池。

标签:
废水处理
江苏 - 南京 来源:中冶有色网 2023-03-19
基于工业废水重金属用治理设备及使用方法

本发明公开了基于工业废水重金属用治理设备及使用方法,包括治理设备和进水管,所述进水管的后侧与治理设备的前侧通过螺栓固定连通。本发明通过设置治理设备、进水管、卡壳、配合块、对接块、壳体、对接槽、控制组件、配合组件和定位组件的配合使用,使用者通过调节延伸块的位置,使U型定位块的内壁与进水管接触,提供支撑作用,之后沿着T型槽的轨迹将两个卡壳合并,卡在进水管连接处,从而对连接的螺栓进行防护,解决了现有治理装置中进水管连接是通过螺栓进行固定的,螺栓表面裸露在空气中没有防护,极容易导致螺栓生锈从而影响进水管的正常使用,同时在治理设备进水管也容易因为进行震动,导致连接处脱落的问题。

标签:
废水处理
江苏 - 苏州 来源:中冶有色网 2023-03-19
工业用废水检测装置
工业用废水检测装置 811     
 0

本发明公开了一种工业用废水检测装置,包括机架,机架底部设置有支撑板,支撑板顶面一侧设置有储液器,储液器一侧且位于支撑板顶面上设置有第一电机,第一电机一侧且位于支撑板顶面另一侧设置有放置箱,放置箱内部底面设置有电源,电源一侧且位于放置箱内部底面设置有控制器,机架顶面一侧设置有检测设备本体,检测设备本体一侧且位于机架顶面另一侧设置有处理箱,处理箱底部取样口内匹配设置有密封塞,处理箱内部底面设置有排水管,排水管底端贯穿处理箱和机架并延伸至机架顶板下方。本发明的有益效果为:该检测装置结构设计简单合理,不仅能够实现对污水成分的检测,还可以检测出污水中不溶颗粒杂质的成分,适合推广。

标签:
废水处理
江苏 - 无锡 来源:中冶有色网 2023-03-19
应用于工业废水的污水排污检测装置

本发明公开了一种应用于工业废水的污水排污检测装置,包括污水储存桶,所述污水储存桶内设置有污水检测机构,所述污水储存桶一侧设置有数据显示装置,所述污水检测机构与所述数据显示装置之间通过传输线缆连接,所述污水储存桶内还设置有液位检测装置,所述污水储存桶包括第一污水储存桶、第二污水储存桶,所述第一污水储存桶与所述第二污水储存桶之间设置有连接管道,所述第一污水储存桶的安装高度高于所述第二污水储存桶的安装高度。本发明的有益效果是,此污水排污检测装置结构简单,安装拆卸方便快捷,且生产的成本较低,可以代替现有的污水检测装置,此污水检测装置,通过两次污水检测的结果的对比,有效的提高了污水的检测的准确性。

标签:
废水处理
江苏 - 苏州 来源:中冶有色网 2023-03-19
罐头生产过程中产生的工业废水的处理方法

一种罐头生产过程中产生的工业废水的处理方法。(1)将罐头生产过程中产生的酸槽水单独引出,离心去除酸槽水中的固形物,过滤、澄清后酸槽水,部分回用于生产中,余下部分先将酸槽水加热提高温度至50℃~60℃,用碱或氨水调整pH值至4.5~5.0;(2)向调整pH后的酸槽水内加10%的硫酸铝溶液富集果胶,硫酸铝的加入量占酸槽水重量的6%~10%,然后加碱或氨水调整pH值至4.5~5.0,沉淀,取出沉淀物,清液送污水处理站;(3)将上述得到的沉淀物用清水漂洗,漂洗水送污水处理站,漂洗后的沉淀物加酸性乙醇置换,置换后再用碱性乙醇中和,中和至pH值中性后再用无水乙醇洗涤,乙醇蒸馏后回收;(4)将上述无水乙醇洗涤后的沉淀物,送入真空干燥箱烘干,再粉碎并过100目筛,制得果胶。

标签:
废水处理
江苏 - 淮安 来源:中冶有色网 2023-03-19
工业园区重金属废水深度处理的装置及方法

一种工业园区重金属废水深度处理的装置,包括依次连接的物理过滤系统(1)、多功能混凝沉淀系统(2)、组合生化系统(3)、MBR膜系统(4)四部分;物理过滤系统为2mm细格栅,去除污水中较小的漂浮物及直径大于2mm的固体物质,以保证后续生物处理系统的效果及维护设备的稳定运行。组合生化池由水解+A2O池,MBR膜系统以及配套污泥浓缩池。依次利用是上述装置进行水处理工艺。物理过滤系统为2mm细格栅,在厌氧和缺氧段内设搅拌机;厌氧、缺氧和好氧三个区严格分开,有利于不同微生物菌群的繁殖生长,脱氮除磷效果好。

标签:
废水处理
江苏 - 南京 来源:中冶有色网 2023-03-19
工业环境废水便捷过滤装置

本发明公开了一种工业环境废水便捷过滤装置,包括水槽壁、挡板、过滤网、斜块、T型块、弹簧一、收纳槽、磁环一、弹簧二、方形框、拉环、矩形槽、导杆、滑块、弹簧三、磁环二、方形槽、方形杆、螺杆、螺母、卡块、卡槽、固定环以及弹簧四。本发明拉环移动带动方形框移动,进而带动滑块沿着导杆移动,滑块移动对弹簧三进行拉伸,使得弹簧三产生弹力,滑块移动与磁环二吸附贴合,进而固定滑块以及方形框的位置,方便对方形框内部进行清理,拧动螺杆,螺杆沿着螺母移动,螺杆移动对卡块进行挤压,使得卡块移动进入卡槽内部,进而将方形杆安装在方形槽内部,卡块移动带动固定环移动,进而对弹簧四进行挤压,弹簧四的弹力便于卡块的移动复位。

标签:
废水处理
江苏 - 徐州 来源:中冶有色网 2023-03-19
工业废水的蒸发处理装置

一种工业废水的蒸发处理装置,包括串联的一效蒸发器、二效蒸发器和三效蒸发器,物料管的进口接三效加热室的物料进口,三效加热室的物料出口接二效蒸发器的物料进口,二效蒸发器物料出口接一效蒸发器的物料进口;生蒸汽的进口接一效蒸发器,经一效蒸发器的二次蒸汽接二效蒸发器的蒸汽进口,二效蒸发器二次蒸汽出口接三效蒸发器的蒸汽进口,三效蒸发器的蒸汽出口接换热器。

标签:
废水处理
江苏 - 南京 来源:中冶有色网 2023-03-19
用于工业废水深度处理系统

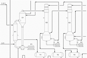
一种用于工业废水深度处理系统,包括臭氧接触池以及曝气生物滤池,臭氧接触池包括顶端密封的池体,池体左侧近顶端的进水管,池体内正对进水管的一号挡水板,一号挡水板底端与池体密封连接,一号挡水板顶端与池顶构成溢流口,一号挡水板右侧间隔设置有二号挡水板,二号挡水板顶端与池顶密封连接,二号挡水板底端与池底构成导流口,二号挡水板右侧间隔三号挡水板,三号挡水板顶端与池顶间隔设置,三号挡水板底端与池底间隔设置,三号挡水板顶端与池顶的距离大于三号挡水板底端与池底的距离,三号挡水板右侧间隔设置有四号挡水板,四号挡水板顶端与池底密封连接,设备简单、脱色效果显著,提高了中水回用水质。

标签:
废水处理
江苏 - 无锡 来源:中冶有色网 2023-03-19
白腐菌固定化处理含硝基苯及苯胺工业废水生物反应器

本实用新型公开了一种白腐菌固定化处理含硝基苯及苯胺工业废水生物反应器,包括串联设置的处理槽、溢流槽和储水槽,处理槽中设置有真菌载体,储水槽的侧壁设置有第一出水管和第二出水管,第一出水管位于第二出水管的上方,所述真菌载体包括若干层镂空板,镂空板的上方设置有金属丝网,金属丝网的表面设置有吸附刺,金属丝网的上方设置有第二曝气盘,第二曝气盘的上表面设置有第二曝气头,金属丝网与最上层的镂空板之间设置有间隙。本实用新型能够改进现有技术的不足,通过重新设计真菌载体的内部构造,实现了菌丝体和活性污泥的在真菌载体内部的收集和循环利用,二次利用率高,避免了刮取收集菌丝体所浪费的人力成本和停机时间。

标签:
废水处理
江苏 - 南京 来源:中冶有色网 2023-03-19
工业废水处理用微电解填料生产用反冲装置

本实用新型公开了一种工业废水处理用微电解填料生产用反冲装置,包括箱体,所述箱体的底部设有与箱体连通的蓄水箱,所述蓄水箱的一侧顶面上设有泵体,所述泵体通过进水管与蓄水箱内部连通,所述进水管的两侧分别设有第一出水管和第二出水管,所述第一出水管的出水端延伸至箱体的内侧上方。本实用新型中,箱体内部蓄水后模拟污水处理池,将挂膜完全的填料重新设置在支撑架上,或者将填料设置到支撑架上后,再在箱体中挂膜,模拟挂膜时的环境状态,检测时,驱动泵体,水流进入进水管,此时可通过第一出水管或第二出水管调整出水方向,实现水流对填料的冲击,通过可调式喷头调整出水量的大小,实现不同数据的测量。

标签:
废水处理
江苏 - 苏州 来源:中冶有色网 2023-03-19
处理工业废水的多功能耦合一体化装置

本实用新型提供了一种处理工业废水的多功能耦合一体化装置,包括筒体,该筒体内部上下分为两个反应区A、B,反应区A内进行臭氧和紫外线联合氧化,反应区B内进行电Fenton化学氧化;反应区A范围内,筒体顶部一侧设有污水进口,该污水进口与固定在筒体内壁顶部的汇水集箱连接,该汇水集箱底部均布淋水孔,筒体内左右侧壁竖直方向交叉设置数个导流板,该导流板均向下倾斜,筒体内左右两侧壁上沿纵向各设置数个垂直的紫外线灯管;反应区B范围内,筒体下部设置有电极板组,侧面设有Fenton药剂入口,底部设有污水排出口;本装置具有臭氧、紫外线、电Fenton多种污水氧化功能,3种处理方式可以同时使用或者单独使用,能够灵活适用于污水流量变化大的企业。

标签:
废水处理
江苏 - 南通 来源:中冶有色网 2023-03-19
用于工业废水处理的污泥脱水机

本实用新型公开了一种用于工业废水处理的污泥脱水机,包括底座,所述底座顶部一端两侧均固定设置有支撑板,所述支撑板顶端之间固定设置有脱水设备,所述底座顶部在支撑板一侧设置有支架,所述支架顶部设置有加药设备,所述加药设备通过连接管路与脱水设备连接;本实用新型中用于安装滤网的安装框是通过连接机构与支撑板进行连接的,即在安装安装框时,工作人员只需将安装框上的搭板插入到滑轨中就可将滤网安装在脱水机内部,使得滤网的加设安装步骤变得简单快捷,使得经过长时间的脱水工作后,如果滤网上附着的淤泥过多,工作人员可直接将滤网抽出进行清理或者更换,且抽出工作方便快捷,进而能够不会影响本污泥脱水机在使用过程中的工作效率。

标签:
废水处理
江苏 - 南通 来源:中冶有色网 2023-03-19
工业废水处理用的自动加药装置

本实用新型公开了一种工业废水处理用的自动加药装置,包括有箱体,所述箱体的顶部固定连接有固定板,所述固定板的表面内嵌固定有若干固定块,所述固定块的中心处开设有一体成型的螺纹孔,所述螺纹孔的内部贯穿螺纹杆,所述螺纹杆与所述螺纹孔相匹配,所述螺纹杆的内部为空心状,所述螺纹杆的顶部固定连接有轴承,所述轴承的侧表面固定连接有若干水管,所述水管与所述螺纹杆的内部相同,所述轴承的上表面固定连接有电机A;通过电机B的作用伸长和缩短伸缩杆,使得过滤板做上下运动,当过滤板向上运动时,因过滤板的两端紧贴伸缩板B,这样可将污水中的残渣过滤出来,随后下降过滤板,这样可避免药水混合在残渣中,无法与污水相接处。

标签:
废水处理
江苏 - 南通 来源:中冶有色网 2023-03-19
工业废水制硫酸钠盐的生产系统

本实用新型涉及一种工业废水制硫酸钠盐的生产系统,进料泵的出口经过预冷器与冷冻循环泵的入口相连,冷冻循环泵的出口与冷冻换热器的入口相连,冷冻换热器的出口与冷冻结晶器的进料管相连,冷冻结晶器的循环溢流口通过冷冻循环管与冷冻循环泵的入口相连,冷冻结晶器的侧壁下部出口与冷冻晶浆泵的入口相连,冷冻晶浆泵的出口与冷冻稠厚罐及冷冻循环管相连,冷冻稠厚罐的底部出口与冷冻离心机的入口相连,冷冻离心机的固相出口与热熔结晶单元相连,液相出口与冷冻结晶器的上部溢流口共同与冷冻母液罐相连,冷冻母液罐的出口通过冷冻母液泵与冷冻循环管及预冷器的冷侧入口相连,预冷器的冷侧出口外排。该系统可以提高硫酸钠盐的生产率和品质。

标签:
废水处理
江苏 - 扬州 来源:中冶有色网 2023-03-19
工业废水处理用便于清淤的装置

本实用新型公开了一种工业废水处理用便于清淤的装置,包括固定安装在罐体上的进液座以及两个排水座,两个所述排水座内均固定安装有滤网,且两个排水座上均螺纹连接有密封塞,所述罐体的侧壁上设有排污槽,且排污槽内卡接有楔形密封板,所述罐体内通过转杆固定安装有安装块,且安装块上固定安装有多个排污板,所述罐体内滑动连接有环形刮板,所述罐体上安装有与转杆以及环形刮板相配合的同步驱动机构。优点在于:本实用新型驱动伺服电机,即可同时实现环形刮板的移动以及排污板的转动,从而可同步进行沉淀物的刮落以及排出操作,工作效率较高,且无需人工手动操作,降低了其劳动强度,避免对其健康产生不利影响。

标签:
废水处理
江苏 - 徐州 来源:中冶有色网 2023-03-19
工业废水处理用便于安装的液位控制装置

本实用新型公开了一种工业废水处理用便于安装的液位控制装置,包括有固定板,固定板一侧连接有固定套,且固定套内插设有插杆,插杆一侧连接有固定卡板,固定卡板的一侧通过销转动连接有活动卡板,且活动卡板和固定卡板之间安装有液位控制器本体。本实用新型使用螺栓可将固定板快速的安装于污水池的内壁上,设置铰接转动设置的固定卡板和活动卡板可对液位控制器本体进行快速的卡持固定设置,且在固定卡板一侧设置插杆,使用插杆插设于固定套内,并使用螺盖与插杆底部的螺纹头相螺纹连接,可实现固定杆于固定套上紧固处理的效果,从而快速的实现液位控制器本体固定放置的效果,进而方便的完成液位控制器本体于污水池内壁上的安装。

标签:
废水处理
江苏 - 无锡 来源:中冶有色网 2023-03-19
池塘工业化养殖废水处理装置

本实用新型涉及一种池塘工业化养殖废水处理装置,包括密闭箱体,密闭箱体内设有絮凝区、沉淀区和过滤区;密闭箱体侧壁的上部设有进水口,进水口的一端与外部水泵连通,另一端与密闭箱体内部的絮凝区连通;絮凝区与沉淀区之间通过第一竖隔板隔开,并且絮凝区与沉淀区底部通过槽孔板连通;沉淀区与过滤区之间通过第二竖板隔开;过滤区底部设有净水排水管;絮凝区上部有上斜板、底部设有下斜板,沉淀区的上部设置等间距排布的斜板筛;过滤区内填充有填料,填料为抽屉式结构,过滤区下部设有出水口。本实用新型的装置操作简便,功能多样,不仅可对养殖水体悬浮物进行去除处理,并能降解有机物,抗生素、去除氮磷和水色等。

标签:
废水处理
江苏 - 南京 来源:中冶有色网 2023-03-19
阻海水、酸碱溶液、工业废水及生活污水电缆用耐火阻水复合带材料及其制备方法

本发明公开了一种阻海水、酸碱溶液、工业废水及生活污水电缆用耐火阻水复合带材料,包括带材及浸渍带材的高吸水凝胶,所述高吸水凝胶包括以下重量百分比的组分:10~15%淀粉、25~30%羧甲基纤维素、25~34%聚乙烯醇、30~36%聚丙烯酸钠和0.5~2%过氧化二异丙苯。同时,本发明公开了上述耐火阻水复合带材料的制备方法。本耐火阻水复合带通过粘结粉云母带及浸渍高吸水凝胶溶液可以同时达到耐火与阻水双重作用。

标签:
废水处理
江苏 - 无锡 来源:中冶有色网 2023-03-19
工业用纱管纸的废水处理方法

本发明提供了一种工业用纱管纸的废水处理方法,包括如下流程:依次经过格栅过滤、混凝沉淀、水解酸化、接触氧化和二次沉淀;最后进入厌氧反应塔;所述的厌氧反应塔包括反应塔底部的进水区和反应区、设在反应塔中部的ECSB反应器以及设在反应塔顶部的出水区和沼气区。本发明具有如下技术效果:该污水厌氧生物处理是在无氧的条件下,利用厌氧微生物的降解作用使污水中有机物质达到净化的处理方法。在无氧的条件下,污水中的厌氧细菌把碳水化合物、蛋白质、脂肪等有机物分解生成有机酸,然后在甲烷菌的作用下,进一步发酵形成甲烷、二氧化碳和氢等,从而使污水得到净化。

标签:
废水处理
江苏 - 南通 来源:中冶有色网 2023-03-19
工业废水重金属除去装置

本发明公开了一种工业废水重金属除去装置,包括底板、竖杆、转杆、挡片、转盘、过滤箱、进水口、出水口、连接管、出水管、进水管、盖板、转轴、扇叶、活性炭层、把手、固定板、弹簧、连接板、限位杆、卡孔和固定块。本发明结构合理,通过转盘和转杆可快速更换过滤箱,节约了过滤箱的更换时间,保证了过滤箱的过滤效果持续有效,通过限位杆和固定块可便于过滤箱的安装和拆卸,为过滤箱的维修提供了方便;通过活性炭层可有效的对污水进行过滤,可有效的除去污水中的重金属铬,转轴和扇叶可通过水流自身的流动带动扇叶转动可使活性炭层与进入过滤箱中的污水充分接触,可提高污水的过滤效果,无需借助外界动力,使用方便。

标签:
废水处理
江苏 - 镇江 来源:中冶有色网 2023-03-19
染整工业废水的生物处理用载体

本实用新型公开了一种染整工业废水的生物处理用载体,包括锦纶和/或丙纶织物,织物由经纬纱交织部分和仅有经纱的部分间隔分布组成。本实用新型易于生物膜附着,表面积大,水流阻力小,强度大,化学和生物稳定性好;合理设计载体密度,既能提高载体的生物膜承载能力,又能确保载体间形成均一的流速,使得气,水,生物膜得以充分接触交换,确保良好的生物处理活性。

标签:
废水处理
江苏 - 南通 来源:中冶有色网 2023-03-19
便于处理工业废水内循环回流输送装置

本实用新型公开了一种便于处理工业废水内循环回流输送装置,包括相邻设置的好氧池、过滤池,好氧池底部设置有曝气装置,过滤池内水平设置有过滤板,过滤池高于好氧池,过滤池的池壁上设置有回流口,回流口与好氧池连通,回流口处设置有刮渣机构;过滤池底部设置有气浮机构,气浮机构包括溶气泵和气浮箱,气浮箱固定在过滤板底部,气浮箱的顶部和侧面均设置有出气孔,气浮箱通过管道与溶气泵连接。通过在过滤池底设置气浮机构,通过气浮机构使水体中的微生物絮体上浮,并由刮渣机构从回流口刮回好氧池中,实现活性污泥的高效回流,提高污水处理效率;污泥中的固定废弃物由排渣机构排出过滤池,不会对回流输送装置造成磨损,降低了使用成本。

标签:
废水处理
江苏 - 盐城 来源:中冶有色网 2023-03-19
环保型工业废水处理装置

本实用新型涉及一种环保型工业废水处理装置,其包括第一水池、水泵、第二水池和立架,水泵的进水端和出水端分别连接有进水管和出水管,进水管与第一水池连接,立架内设有从上之下依次分布的过滤水箱、中和水箱和除味水箱,过滤水箱内设有滤网,中和水箱内设有石灰石,除味水箱内设有活性炭层,过滤水箱和中和水箱底部均连接有排水管,除味水箱底部连接有导水管,第二水池通过倾斜向上的输水管与过滤水箱连接,输水管与第二水池连接的一端铰接有闸门,第二水池内铰接有伺服气缸,伺服气缸的活塞杆与闸门铰接,出水管与输水管靠近第二水池的一端连接。本实用新型具有降低滤网被堵住可能性的效果。

标签:
废水处理
江苏 - 南京 来源:中冶有色网 2023-03-19
工业废水处理用固态物沉淀装置

本实用新型公开了一种工业废水处理用固态物沉淀装置,包括壳体、卡板和挡板,壳体的右侧壁设有安装口,安装口的内侧壁固定安装有出水管,出水管的内侧壁左端固定安装有第一固定环,出水管的内侧壁固定安装有第二固定环,固定环的内侧壁前后两端均设有通口,第一固定环的右侧固定安装有弹性件,卡板的左右两侧分别卡接在弹性件的右端和第二固定环的左侧,卡板的左侧面中部固定安装有横柱,本实用新型通过在出水管内设有第一固定环和第二固定环,并使卡板左侧的横柱堵在第一固定环内,进而避免污水进入到进水管内,保证沙砾层对污水的沉淀效果,且放水时只需转动卡板并向右抽出卡板即可,结构简单,设计合理,实用性较强。

标签:
废水处理
江苏 - 南京 来源:中冶有色网 2023-03-19
工业废水用具有多级过滤机构的焚烧炉

本实用新型涉及化工生产技术领域,具体为一种工业废水用具有多级过滤机构的焚烧炉,包括主体,所述主体的右侧设置有焚烧仓,所述焚烧仓的外表面连接有流通管,所述流通管的左侧外表面固定连接有过滤结构,所述过滤结构的左侧外表面连接有净化机构,所述过滤结构的顶端外表面固定安装有插设机构,所述主体的左侧设置有加压仓。本实用新型中,通过设置的连接管、过滤网、吸附板和净化机构使得当废气在通过连接管后,能够在过滤网和吸附板的外表面进行初级过滤,随后再通过净化机构后能够进行氧化分解,进行微生物的降解过滤,从而对焚烧炉内的废气进行多级过滤,其过滤后的气体更为洁净,能够直接进行排放。

标签:
废水处理
江苏 - 南通 来源:中冶有色网 2023-03-19
具有防堵塞功能的工业废水处理装置

本实用新型公开了一种具有防堵塞功能的工业废水处理装置,包括处理框,所述处理框内部中下端四周之间固定设置有安装环条,所述安装环条上端之间固定设置有底层滤板,所述底层滤板上端通过安装杆固定设置有上层滤板,所述处理框上端之间固定设置有框盖,所述框盖上端中部固定设置有固定框。本实用新型在把废液倾倒进处理框内部后,启动电机带动转杆转动且带动搅拌杆转动,并通过搅拌杆带动安装在搅拌杆两侧底端的筒杆转动,则就会带动安装在筒杆底端的刷板在上层滤板上端转动,从而防止废液里面的杂质在上层滤板上端造成积累,则造成堵塞的情况,这样的结构既便于操作还便于对废料进行搅拌增加净化反应的效率。

标签:
废水处理
江苏 - 无锡 来源:中冶有色网 2023-03-19
工业废水处理工艺加药泵远程装置

本实用新型公开了一种工业废水处理工艺加药泵远程装置,包括底座,底座顶部四角处均固定连接有支撑杆,支撑杆顶端固定连接有顶板,顶板顶部显示器,顶板底部设有调节组件,顶板上横向开有通槽,调节组件上连接有两组夹板,两组夹板分别与显示器两侧相接触,顶板顶部设有GPRS模块,GPRS模块与泵站之间无线连接,底座两侧均设有固定组件,底座顶部开有主机放置槽;通过调节组件可对两组夹板之间的距离进行调节,便于对不同尺寸的显示器进行固定,通过两组夹板对对显示器进行固定,对显示器的固定效果好,通过固定组件对装置进行固定,能够保证装置的稳定性。

标签:
废水处理
江苏 - 南京 来源:中冶有色网 2023-03-19
工业废水高效混凝反应器

本实用新型公开了水处理技术领域的一种工业废水高效混凝反应器,包括底座,底座的顶部安转供油反应器本体,所述反应器本体的侧面贯穿有排料管,排料管与反应器本体的连接部设有阀门,反应器本体的顶部贯穿安装有进料管,反应器本体的顶部安装有龙门架,龙门架的下端安装有电机,电机的输出端连接有驱动齿轮,驱动齿轮的表面啮合有从动齿轮,从动齿轮的内部固定连接有从动轴,从动轴的表面固定连接有固定架,固定架的表面固定安装有搅拌刀,搅拌刀的侧面设有切削面。本实用新型的搅拌刀可在搅拌物料过程中通过切削面、倒角槽和尖端部对物料进行切削搅拌,从而搅拌物料的同时可对物料进行细化,提升物料的搅拌精细度。

标签:
废水处理
江苏 - 苏州 来源:中冶有色网 2023-03-19
工业废水智能化处理控制柜

一种工业废水智能化处理控制柜,柜体外壁一侧螺钉连接有风管,风管内壁螺钉连接有风机,风管外壁一侧螺钉连接有空气滤芯,柜体顶端外壁卡接有灭火器罐,柜体远离灭火器罐底端外壁螺杆连接有底座,柜体内壁螺钉连接有固线座,通过风机和两个辅助风扇解决了现有技术中普通的控制柜大多散热结构简单,在内部电子元器件大功率工作时无法满足其高强度散热所需的问题,通过灭火器罐、电磁阀和喷板解决了现有技术中普通的控制柜没有自主灭火装置,在遇到突发情况时无法快速反应易导致火势蔓延的问题,通过螺纹柱、支撑座和调节套解决了现有技术中普通的控制柜大多直接放置于地面无法进行微调,易出现柜体倾斜的问题。

标签:
废水处理
江苏 - 无锡 来源:中冶有色网 2023-03-19
上一页 499 500 501 502 503 ... 537 下一页
共537页    到第

中冶有色为您提供最新的江苏有色金属废水处理技术理论与应用信息,涵盖发明专利、权利要求、说明书、技术领域、背景技术、实用新型内容及具体实施方式等有色技术内容。打造最具专业性的有色金属技术理论与应用平台!

全国热门有色金属设备推荐
展开更多 +
全国热门有色金属技术推荐
展开更多 +

 

江西省隆恩特环保设备有限公司
宣传

报名参会
更多+

报告下载

有色专家
更多+

中国科学院赣江创新研究院
院长
矿冶科技集团有限公司
党委书记 / 董事长
矿冶科技集团有限公司工程公司
副总经理
中国矿业大学(北京)
教授
石家庄铁道大学
团委书记/副教授
赤泥综合利用研究报告2025
推广

热门技术
更多+

推荐企业
更多+

福建省金龙稀土股份有限公司
宣传

发布

在线客服

公众号

电话

顶部
咨询电话:
010-88793500-807