青岛垚鑫智能科技有限公司
宣传

位置:北方有色 >

有色技术频道 >

> 固/危废处置技术

分类:
全部
矿山技术
冶金技术
材料制备及加工技术
环境保护技术
分析检测技术
 
全部
废水处理技术
大气治理技术
固/危废处置技术
土壤修复技术
地区:
全部
北京
天津
上海
重庆
河北
山西
辽宁
吉林
黑龙江
江苏
浙江
安徽
福建
江西
山东
河南
湖北
湖南
广东
海南
四川
贵州
云南
陕西
甘肃
青海
内蒙
广西
西藏
宁夏
新疆
其他
其他
展开
 
全部
长沙
株洲
湘潭
衡阳
邵阳
岳阳
常德
张家界
益阳
娄底
郴州
永州
怀化
湘西土家族苗族自治州

湖南长沙有色金属固/危废处置技术理论与应用

免费发布技术信息>>
农村畜禽的固液废物资源综合利用系统

本实用新型公开了一种农村畜禽的固液废物资源综合利用系统,包括:废弃物堆积池、固体资源化系统、废水处理系统,所述的废弃物堆积池用于农村生物质废弃物的临时装载,其内部进行自然沉淀,将固体废弃物与液体废弃物进行分离,所述的固体资源化系统通过物料输送管与废弃物堆积池下部连接,所述的废水处理系统通过物料输送管与废弃物堆积池上部连接,所述的固体资源化系统由进料端、发酵池、气压检测端组成,所述的废水处理系统由内筒、外筒、隔板、导流板组合。本实用新型具有结构简单、使用方便、使用效果好等优点。

标签:
固废
湖南 - 长沙 来源:北方有色网 2023-03-19
酸性洗涤废水结晶回收氯盐方法及系统

一种酸性洗涤废水结晶回收氯盐方法及系统,该方法包括:1)对酸性烟气洗涤废水进行废水预处理,得到除杂废水清液;2)对除杂废水清液进行铁碳微电解处理,得到待氧化废水;3)先对待氧化废水进行氧化处理,再向经过氧化处理后的废水中加入碱剂调节呈弱碱废水,加入固体吸附剂,得到含氨废水和金属污泥;4)先向含氨废水中加入碱剂调节呈强碱废水,再通入物理脱氨装置进行除氨处理,得到含氨产物和高盐废水;5)对高盐废水进行MVR蒸发结晶处理,得到固体氯盐和杂盐母液。本申请提供的技术方案通过铁碳微电解、氧化、弱碱吸附、结晶的组合方法优化制酸废水工艺,实现氨氮清洁深度去除,减少碱剂的使用,降低生产成本,回收高浓度氯盐。

标签:
固废
湖南 - 长沙 来源:北方有色网 2023-03-19
大型医院医疗废水处理装置

本实用新型属于医疗废水处理技术领域,涉及一种大型医院医疗废水处理装置,包括底座,所述底座上表面固定连接有箱体,所述箱体内部开设有过滤仓,所述过滤仓内部固定连接有过滤板,所述过滤板上端设置有清扫组件,所述过滤仓表面开设有排料口。其有益效果是,该大型医院医疗废水处理装置,通过设置清扫组件,当人们需要将过滤板上过滤收集的固体废物取出时,人们只需要通过控制开关控制第一电机运作,从而带动螺纹柱转动,在螺纹柱和螺纹帽的配合作用下,从而带动刮板移动,同时人们打开仓门,在刮板的作用下将废物推出排料口,落入储料箱中进行收集,从而达到对固体杂质进行收集的目的,避免工作人员直接与固体废物进行接触。

标签:
固废
湖南 - 长沙 来源:北方有色网 2023-03-19
基于农作物秸秆与炼镁废弃物的除氟材料制备方法

本发明公开了一种基于农作物秸秆与炼镁废弃物的除氟材料制备方法。所述的炼镁废弃物指的是硅热法炼镁流程中所产生二氧化碳废气以及包括废煅白、镁还原渣与粉尘在内的固体废弃物;所述制备方法包括以农作物秸秆为原料的生物质粘结剂制备、硅热法炼镁流程中所产生固体废弃物的消化、消化浆液的碳酸化、碳酸化浆液的热分解以及混料、成型高温热处理等步骤。本发明所述除氟材料可高效去除一般工业废水与有色金属电沉积用电解液中的氟,而且还实现了以废治害,使农作物秸秆与热法炼镁废弃物成为了治理“氟害”的主要原料。

标签:
固废
湖南 - 长沙 来源:北方有色网 2023-03-19
促进燃料乙醇废水生产甲烷的方法

本发明公开了一种促进燃料乙醇废水生产甲烷的方法,包括以下步骤:S1、按照SO42‑与燃料乙醇废水中COD的预设比值,向燃料乙醇废水中添加固体硫酸盐,搅拌后静置,得到预处理混合物;S2、按照接种污泥中挥发性固体悬浮物含量与预处理混合物中挥发性固体悬浮物含量的预设比值,将接种污泥与预处理混合物进行混合,并调节至预设的pH值和混合总质量后,在预设温度条件下进行厌氧发酵;S3、对厌氧发酵过程中产生的气体进行收集,得到含甲烷的混合气体。本发明操作简单,是燃料乙醇废水处理领域的一种经济、高效、环保的清洁能源生产技术。

标签:
固废
湖南 - 长沙 来源:北方有色网 2023-03-19
利用水泥窑窑尾废气和磷石膏制备硫酸铵的方法及系统

利用水泥窑窑尾废气和磷石膏制备硫酸铵的方法及系统,首先将水泥窑窑尾废气降温至约50‑60℃后,利用浓度为4‑10%的氨水溶液进行洗涤,洗涤后得到碳酸铵溶液,控制洗涤后气体中CO2残留量为1‑3%,实现清洁排放,同时利用碳酸铵溶液与磷石膏中的硫酸钙反应生成硫酸铵溶液和固体废渣,进行固液分离后,去除硫酸铵溶液中残留的杂质,生成的固体残渣用作水泥原料使用,硫酸铵溶液可用于水泥窑窑尾废气的降温,最后蒸发后得到硫酸铵固体产品。经本发明处理后水泥窑窑尾废气达标排放,固体废渣全部进入水泥系统作为原料,大大节约了化石原料用量,反应过程中没有废水排放,真正实现了水泥行业的低碳减排,有利于环境保护。

标签:
固废
湖南 - 长沙 来源:北方有色网 2023-03-19
用辊棒废料制备中高铝耐磨陶瓷制品的方法

一种用辊棒废料制备中高铝耐磨陶瓷制品的方法,它以陶瓷辊棒废料为主要原料,将其粉碎后与废活性氧化铝球、高岭土、碱土金属活性氧化物等按一定比例配料,用球磨和搅拌磨细化物料,喷雾造粒后经冷等静压或模压成形,在1300~1340℃烧成后,所得中高铝耐磨陶瓷制品的氧化铝含量为70~76%,体积密度为3.25~3.45g/cm3,每小时的磨损量小于0.025%。该方法在确保中高铝陶瓷制品密度和耐磨性的前提下,能最大限度地利用辊棒废料,实现工业固体废弃物的高附加值循环利用,并显著降低中高铝耐磨陶瓷制品的制备成本,扩大应用领域。

标签:
固废
湖南 - 长沙 来源:北方有色网 2023-03-19
一体化医疗废水处理装置

本实用新型涉及一种一体化医疗废水处理装置,属于医疗废水处理技术领域,包括外壳主体,所述外壳主体的内部固定连接有隔板,所述隔板将外壳主体内部的空腔分隔形成左腔室和右腔室,所述右腔室的内部设置有回收机构,所述回收机构包括抽拉柜,所述抽拉柜与外壳主体活动连接。通过倾斜设置的第二过滤板,方便对医疗废物进行分离,通过输料孔将分离后的固体废料输送至抽拉柜内,通过电动推杆驱动下压板对固体废料进行挤压,将废水挤出,同时有效缩小固体废料的占用空间。通过驱动电机带动搅拌叶片转动,保证药剂与废水充分混合,避免废水不能充分处理,开合盖与外壳主体的连接处为阶梯状结构,方便开合盖与外壳主体之间的闭合。

标签:
固废
湖南 - 长沙 来源:北方有色网 2023-03-19
废弃电路板的回收方法
废弃电路板的回收方法 1062     
 0

一种废弃电路板的回收方法,包括下述步骤:1.加热离心分离:将废弃电路板置于油浴中加热使焊锡熔化,然后,将焊锡已熔化的废弃电路板通过离心机械使焊锡从废弃印刷电路板高效分离。2.真空裂解:将脱除焊锡后的废弃电路板基板、电子元件置于真空裂解装置中,加热,进行热裂解,收集热裂解挥发产物,并冷凝成液态油。3.收集真空裂解后固体物质:将热裂解后的电子元件、电路板基板分类收集,以回收电子元件的贵金属和其他有价金属及电路板基板上的铜箔、玻璃纤维等物质。本发明根据废弃电路板的结构特性分阶段处理、方法简单、无污染、成本低、效率高、废弃电路板废弃资源回收率高,适于工业化应用,适合废弃电路板的大规模回收。

标签:
固废
湖南 - 长沙 来源:北方有色网 2023-03-19
餐饮垃圾及废水处理系统

本发明提供了一种餐饮垃圾及废水处理系统,包括有垃圾粉碎箱、分离箱,垃圾粉碎箱的顶部设置有餐饮固体垃圾入口,垃圾粉碎箱的右侧面设置有废水处理箱,垃圾粉碎箱的底面通过连通管与热处理箱的顶面连通,分离箱下表面与餐饮固体垃圾入口、餐饮废水入口的顶端连通,分离箱的内部设置有暂存室,暂存室的左侧面通过铰接轴连接有转门,转门的左侧面设置有回位弹簧,暂存室下表面的右部与下排管的顶端连通,下排管底端与餐饮废水入口的顶端接触,暂存室的内部设置有挤压板,挤压板的底部设置有通流孔。本发明公开的技术方案有效的解决了现有技术中不具备对餐饮垃圾的粉碎能力以及不能实现高温杀菌、废水蒸馏回收作用等技术问题,有利于推广应用。

标签:
固废
湖南 - 长沙 来源:北方有色网 2023-03-19
从硼镁铁矿生产硼酸和硫酸镁的废渣中回收铁的工艺

本发明公开了一种从硼镁铁矿生产硼酸和硫酸镁的废渣中回收铁的工艺,其包括以下步骤:(1)将硼镁铁矿生产硼酸和硫酸镁的滤渣,按固液比1∶6-10加水溶解;(2)再按滤渣重量的8-12wt%加入氧化镁MgO乳浊液,将pH值调至pH=7,室温或加温≤80℃,搅拌,至氢氧化亚铁、氢氧化铁沉淀完全为止;(3)过滤,得固体氢氧化亚铁及氢氧化铁;(4)将固体氢氧化亚铁及氢氧化铁送至煅烧炉经温度≥500℃煅烧,得Fe3O4产品。本发明能耗少,不受气候条件限制,操作条件温和,易于实现大规模工业化生产,产成本低;几乎可以全部回收硼镁铁矿酸解工艺产生的废渣中的铁;同时还可进一步回收滤渣中的镁,硫酸镁浓缩结晶后的母液又可重复利用,因而无废液排放。

标签:
固废
湖南 - 长沙 来源:北方有色网 2023-03-19
矿山含氟废水处理方法
矿山含氟废水处理方法 1228     
 0

矿山含氟废水的处理方法,适用于含固体悬浮物和氟的废水处理,以铝盐或铝酸盐、高分子絮凝剂为聚集剂,以钙盐为辅助降氟剂,并将部分固体沉渣返回用作聚集晶种。其控制条件是按顺序加入辅助降氟剂、铝盐或铝酸盐、调整pH=6~8、混匀后再加入高分子絮凝剂,混匀后沉降分离固体渣与处理水,将部分沉渣返回到原水中形成连续的循环处理过程。可采用二段处理过程处理含悬浮物高的废水。药剂来源广、用量少,水处理过程时间短。

标签:
固废
湖南 - 长沙 来源:北方有色网 2023-03-19
废水处理系统
废水处理系统 1031     
 0

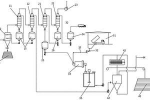
一种废水处理系统,该系统包括烟气净化塔,烟气净化塔上设有烟气净化塔烟气入口;烟气净化塔烟气入口与烟气输送管道连接;烟气输送管道分出烟气支路,烟气支路上依次设有废水蒸发塔、除尘器;废水蒸发塔上设有烟气入口、烟气出口、废水入口、废水蒸发塔固体出口;除尘器上设有气体入口、气体出口、除尘器固体出口;烟气输送管道分出烟气支路连接烟气入口,烟气出口通过第一输送管道连接至除尘器上的气体入口,气体出口通过第二输送管道连接至烟气输送管道;废水入口与废水输送管道连接。本实用新型利用烟气余热处理制酸废水,处理流程简单,成本低,减少了能源浪费,解决了烟气制酸废水的处理难题。

标签:
固废
湖南 - 长沙 来源:北方有色网 2023-03-19
催化裂解废塑料制燃料油的催化剂

本发明公开了一种催化裂解废塑料制燃料油的催化剂。是按以下方法制备的:(1)选取<250目的粉煤灰加10-30倍的水清洗两次;(2)酸浸:按酸/灰质量比为0.22-1.10,加入酸,并在室温下搅拌15-30小时;(3)抽滤分离后用水洗,直到溶液中的酸已经除去;(4)焙烧活化:再抽滤烘干后置入马弗炉中于450-600℃焙烧2-5H,即为成品。使用时在废塑料中加入废塑料重量5-15%的粉煤灰基固体酸催化剂,在温度为350-450℃裂解10-60分钟。本发明的催化剂,原料来源广,成本低,为电厂废渣粉煤灰的综合利用开辟了一条新途径,并大大降低了催化裂解废塑料制燃料油的原料成本和制造费用,也可对当前价格不断上涨的汽油、柴油等能源物质作更好地补充。

标签:
固废
湖南 - 长沙 来源:北方有色网 2023-03-19
医疗废水的预处理装置

本实用新型公开了一种医疗废水的预处理装置,包括固体过滤箱、反应沉淀箱和消毒箱,所述固体过滤箱顶端一侧设置有注水口,所述固体过滤箱内设置有过滤装置,所述固体过滤装置由过滤粗网、过滤细网和第一侧板组成,所述固体过滤箱和反应沉淀箱之间设置有第一隔离室,所述第一隔离室内设置有第一抽水泵,所述沉淀过滤装置为三层结构由上到下依次设置有微型过滤槽、纤维网格布和活性炭吸附网。本实用新型医疗废水的预处理装置,通过固体过滤箱对废水进行固体过滤,通过反应沉淀箱对废水进行化学沉淀过滤,通过消毒箱对废水进行消毒达到处理废水的效果,通过设置固体过滤装置和沉淀过滤装置能够及时对过滤的废物进行处理和便于装置的清洗。

标签:
固废
湖南 - 长沙 来源:北方有色网 2023-03-19
由废铅酸蓄电池中的铅泥制备高质量二氧化铅的方法

一种由废铅酸蓄电池的铅泥制备高质量二氧化铅的方法,其步骤为:将废铅酸蓄电池中的铅泥取出,经过反复洗涤至中性后烘干,研碎成粒度为200目以上的铅泥粉末;按一定比例将铅泥粉末与含有分散剂和脱硫剂的水溶液混合,然后在室温~90℃温度下充分搅拌脱硫1~24H;分离除去液体部分,将所得含铅固体物料充分并干燥;然后再按一定比例将所得含铅固体物料与含有氧化剂的水溶液混合,在室温~90℃温度下充分搅拌氧化1~24H;分离除去液体部分,所得固体部分经洗涤和干燥,即为二氧化铅。本发明方法由废铅酸蓄电池中的铅泥制备二氧化铅,其成本和能耗低、设备简单、铅回收率和二氧化铅产品质量高。

标签:
固废
湖南 - 长沙 来源:北方有色网 2023-03-19
从含铜废液中分离铜的方法及其设备

本发明涉及一种从含铜废液中分离铜的方法,包 括:对含铜废液的温度、浓度、氧化还原电位、pH值等物理 化学参数进行调节的步骤;向其中加入含-OH、-C(=O)H、 -NH2基团的还原剂或含-SH、 -S-、-C(=S)S -基团的沉淀剂或两者的混合物进行反应、使 铜以单质或固体化合物的形式从废液中析出的步骤;进行固- 液分离、收集固体铜和/或铜化合物的步骤。需要时还包括对分 离了固体后的废液进行组成调节,使它恢复到配制后、使用前 的状态的步骤。本发明还涉及一种实施按本发明方法的设备。 本发明具有铜回收率高、三废排放少、设备和操作简单、投资 少的有利效果。

标签:
固废
湖南 - 长沙 来源:北方有色网 2023-03-19
屠宰废水的处理设备
屠宰废水的处理设备 953     
 0

本实用新型公开了一种屠宰废水的处理设备,包括过滤箱与搅拌箱,所述过滤箱的内部固定有用于对废水中的固体杂质进行过滤的过滤板,所述过滤箱的一侧位于过滤板的上方设有便于固体垃圾排出的出料口,还包括清理组件以及搅拌组件,所述清理组件,用于对过滤板上方的固体杂质进行清理,所述清理组件位于所述过滤板的上方,所述搅拌组件,用于对搅拌箱内部的废水与药剂进行搅拌,所述搅拌组件位于所述搅拌箱的内部,本实用新型方便刮板对过滤板表面的固定杂质进行清理,解决了现有的技术中需要手动前后往复移动刮板的问题,从而能大大提高固体废料刮除的效率,提高了废水的处理效率,便于使用。

标签:
固废
湖南 - 长沙 来源:北方有色网 2023-03-19
废弃黏土砖与盐湖化工镁渣制备胶凝材料的方法及应用

本发明公开了一种废弃黏土砖与盐湖化工镁渣制备胶凝材料的方法及应用,包括以下步骤:S1、将废弃黏土砖活化,获得砖粉;S2、将盐湖化工镁渣活化,获得镁渣材料,镁渣材料含有Na+、K+、Ca2+中的本实施例的或多种阳离子,镁渣材料含有Cl、SO42‑、CO32‑中的本实施例的或多种阴离子;S3、将砖粉、镁渣材料和水混合,搅拌均匀,形成浆体;S4、将浆体进行初期养护,获得硬化体;S5、将硬化体进行深度养护,获得具有抗压强度的胶凝材料。本发明的废弃黏土砖与盐湖化工镁渣制备胶凝材料的方法,利用建筑拆除废弃黏土砖中的黏土矿物的潜在的碱激发活性以及盐湖化工镁渣中共存离子的结晶特性,将两种固体废弃物混合、水化成新型胶凝材料。

标签:
固废
湖南 - 长沙 来源:北方有色网 2023-03-19
铬渣和废酸的综合利用法

本发明利用铬渣废酸的有害化合物的相互作用,经化学反应无害化后,再资源化利用的一种方法。其主要特征是采用占组份重量比为:20—80%的废酸与20—80%的铬渣反应,反应产生的固体物料作水泥生产原料加以利用,反应产生的液体制铁铬磁性氧化体后再排放,本发明利废治废,实施的投入小、运行成本低、治理废酸废渣量大,实施后能取得较好的环境效益和经济效益。

标签:
固废
湖南 - 长沙 来源:北方有色网 2023-03-19
利用木质纸质秸秆类废弃物制造农业穴盘的资源化技术

利用木质纸质秸秆类废弃物制造农业穴盘的资源化技术,本发明属于一种将固体废物转变为有用的领域,尤其是属于一种利用家具业中的木质废料制造用于农业育苗的穴盘的固体废物资源化领域。本发明制成的农业穴盘,其特征在于它含有的如下配方的成份:废弃固体木质废料粉100公斤;原淀粉15-25公斤;变性淀粉10-15公斤;硫酸钙晶须10-18公斤;滑石粉3-6公斤;脱模剂0.5-3公斤;硫酸铝2-3公斤,前述混均后的每100公斤材料中另外含有丙烯酸树脂1-2公斤、松香3-4公斤、聚烯烃衍生物3-4公斤、聚酰胺树脂0.5-1公斤。本发明制成的穴盘可完全生物降解;育苗率可以得到提高;可以模压成型,也可以注射成型,设备要求不高。

标签:
固废
湖南 - 长沙 来源:北方有色网 2023-03-19
利用水泥窑窑尾废气和磷石膏制备硫酸铵的系统

利用水泥窑窑尾废气和磷石膏制备硫酸铵的系统,包括依次相连的氨化脱碳系统、磷石膏磨浸转化系统和固体渣水泥原料化系统,所述氨化脱碳系统包括蒸发降温装置和洗涤装置,所述磷石膏磨浸转化系统包括磷石膏输送装置、磨浸设备和搅拌池,所述固体渣水泥原料化系统包括压滤机、沉降池和固体渣库。本实用新型在将水泥窑窑尾废气降温后,利用氨水将废气中的CO2进行洗涤生成碳酸铵溶液,同时利用碳酸铵溶液与磷石膏中的硫酸钙反应生成硫酸铵溶液和固体废渣,固体废渣全部进入水泥系统作为原料,大大节约了化石原料用量,整个处理过程中没有废水排放,水泥窑废气经处理后实现达标排放,真正实现了水泥行业的低碳减排,有利于环境保护。

标签:
固废
湖南 - 长沙 来源:北方有色网 2023-03-19
含钛废水处理方法
含钛废水处理方法 1017     
 0

本发明提供一种含钛废水处理方法。所述含钛废水处理方法包括如下步骤:步骤一、将含钛废水经高分子活性吸附剂吸附去除有机物;步骤二、废酸进行加酸控温减压蒸馏,将盐酸蒸出,馏出液盐酸回用;步骤三、残渣进行固液分离,液体返回蒸馏系统;步骤四、固体加水加碱水解;步骤五、过滤,滤液经电渗析脱盐回用,固体进行干燥、灼烧得到二氧化钛粉末。本发明提供的含钛废水处理方法能有效实现含钛废水处理,工艺简单、易于控制。改进了以往使用石灰中和,避免产生大量的石膏废渣,节省了废水处理费用。

标签:
固废
湖南 - 长沙 来源:北方有色网 2023-03-19
废弃脱硫剂的处理方法

本发明公开了一种废弃脱硫剂的处理方法,其处理方法包括以下步骤:将废弃脱硫剂、铁矿粉、固体燃料、熔剂和返矿混合,得到烧结混合料;将烧结混合料加水混合制粒得到制粒料;将制粒料烧结得到烧结矿和烧结烟气;将烧结烟气进行脱硫脱硝后排放至大气中。本发明将废脱硫剂配入铁矿粉中进行烧结并强化烧结烟气脱硫脱硝,生产烧结矿供高炉炼铁,工艺方案简单成熟可靠,不仅可以回收利用废脱硫剂中的铁、钙、镁、硫等有价元素,还可以减少固体废弃物的排放,同时还可以节省大量的固废物处理费用,可以有效降低生产成本,达到可持续发展的目的。

标签:
固废
湖南 - 长沙 来源:北方有色网 2023-03-19
铜冶炼废渣应用于烧结的处理方法

本发明公开了一种铜冶炼废渣应用于烧结的处理方法,包括以下步骤:将铜冶炼废渣破碎成粒度为100%小于5mm,10%小于1mm的颗粒,铜冶炼废渣粉料;将铜冶炼废渣粉料与红土镍矿进行配料并混匀,得到混匀矿粉;将混匀矿粉与固体燃料、复合熔剂和返矿进行配料,接着混合均匀,得到待烧结混合料;并将待烧结混合料在圆筒混合机内混匀与制粒,得到待烧结粒料将待烧结粒料在烧结机中布料、点火、烧结和冷却,得到初级烧结矿;将初级烧结矿进行冷却、破碎和筛分,得到成品烧结矿。本发明的方法不仅可以回收利用铜冶炼废渣中铁和铜元素,避免铜、铁分离难的问题,还可以减少固体废气物的排放,节省大量的固废处理费用,有效降低生产成本,达到可持续发展的目的。

标签:
固废
湖南 - 长沙 来源:北方有色网 2023-03-19
利用处理畜禽养殖废水产生的废渣生产土壤改良剂的方法

本发明提供一种利用处理畜禽养殖废水产生的废渣生产土壤改良剂的方法,包括以下步骤:(1)将处理畜禽养殖废水获得的废渣脱水后,得到中间产物A;(2)添加水分调节剂调节含水率,并添加pH调节剂调节pH值为6‑10,得到中间产物B,中间产物B的含水率为30‑70%,所述水分调节剂为粉碎的一种或多种的农林废弃物;(3)在中间产物B中添加营养元素调配剂和重金属固化稳定化药剂,所述营养元素调配剂为含氮、磷或/和钾的盐,混匀后得到中间产物C;(4)将中间产物C在55‑60℃条件下固体发酵100h以上,经干燥得到土壤改良剂。

标签:
固废
湖南 - 长沙 来源:北方有色网 2023-03-19
用于废水废渣处理的多次循环清洁处理设备及其使用方法

本发明公开了用于废水废渣处理的多次循环清洁处理设备及其使用方法,包括固定架,固定架的上方且靠近左侧边缘处设有处理罐,处理罐的内部由上至下依次设有第一过滤组件、第二过滤组件、药剂处理仓以及膜组件,处理罐的顶部且靠近中心处安装有清理组件,清理组件的右侧设有电动气泵,固定架的上方且靠近右侧边缘处设有净化池;本发明中通过处理罐可对废水进行逐层过滤处理,将废水中的固体污染物、胶状物和其他有害物质去除,并通过净化池进行吸附净化,方便废水循环利用,电动气泵通过透气孔可形成高压气流对处理罐的内部进行清洁,电机运转可使清理刷和滤网刷对处理罐的内部进行清洁,从而避免污染物在处理罐的内部结垢而影响处理效果。

标签:
固废
湖南 - 长沙 来源:北方有色网 2023-03-19
印刷油墨废水的无废弃循环回用处理工艺

本发明公开了一种印刷油墨废水的无废弃循环回用处理工艺,其特征在于,包括以下步骤:(1)将当前批次印刷油墨废水进行混凝沉淀处理,得到当前批次上清液A和当前批次污泥沉淀A;(2)将当前批次上清液A依次进行催化氧化、絮凝沉淀处理,得当前批次上清液B和当前批次污泥沉淀B;(3)将当前批次上清液B精密过滤后进行反渗透处理,得当前批次浓水和当前批次可回用产水;(4)将当前批次浓水通过光催化氧化处理后进行蒸发,得到当前批次可回用盐和当前批次可回用产水;(5)依次循环步骤(1)~(4)将所有印刷油墨废水待处理完毕后,收集所有批次可回用盐和可回用产水即可。本发明工艺的流程简单、处理高效,能同时有效降低废水中的化学需氧量和溶解性总固体量,可实现油墨废水的循环回用和无废弃物排放。

标签:
固废
湖南 - 长沙 来源:北方有色网 2023-03-19
利用工业废酸处理含砷废渣的方法

本发明涉及一种利用工业废酸处理含砷废渣的方法,包括如下步骤:将工业废酸和含砷废渣按3‑6:1的质量比混合,控制混合液的温度为20‑90℃,搅拌1‑4h后,过滤,对滤渣进行循环淋洗,并辅助超声波手段,将淋洗液并入滤液,至此获得第一滤渣和第一滤液;向第一滤液中混入氧化剂,搅拌15‑45min,获得氧化后液;逐渐向氧化后液中混入水溶性金属硫化物,直至氧化后液的电位达到20mv~100mv,然后搅拌45‑75min,过滤,获得第二滤液和第二滤渣。本发明利用冶炼企业自身产生的工业废酸处理含砷废渣,处理成本低,同时达到以废治废的目的,实现了固体废弃物的资源化和减量化,使用本发明处理含砷废渣可减量化达到90%。

标签:
固废
湖南 - 长沙 来源:北方有色网 2023-03-19
废弃水果处理含铅废水的方法

本发明涉及一种废弃水果处理含铅废水的方法,包括以下步骤:将废弃柠檬进行破碎、压榨、过滤,得到柠檬液;将含铅废水放入搅拌池中;向所述搅拌池中加入柠檬液,并用电动搅拌机进行搅拌;将得到的废水通入沉淀池中进行沉淀,沉淀一段时间,然后过滤,得到沉淀泥;将所述沉淀泥进行干燥;将干燥后的沉淀泥进行焙烧;将焙烧后的固体放入还原性气氛炉中进行加热,加热一段时间,得到金属铅。本发明工艺简单,反应条件容易达到,反应也易控制,处理废水量大。

标签:
固废
湖南 - 长沙 来源:北方有色网 2023-03-19
上一页 44 45 46 47 48 ... 53 下一页
共53页    到第

北方有色为您提供最新的湖南长沙有色金属固/危废处置技术理论与应用信息,涵盖发明专利、权利要求、说明书、技术领域、背景技术、实用新型内容及具体实施方式等有色技术内容。打造最具专业性的有色金属技术理论与应用平台!

全国热门有色金属设备推荐
展开更多 +
全国热门有色金属技术推荐
展开更多 +

 

江西省隆恩特环保设备有限公司
宣传

报名参会
更多+

报告下载

有色专家
更多+

武汉理工大学
外籍院士/教授
长沙矿冶院检测技术有限责任公司
总经理
长沙矿山研究院有限责任公司
高级工程师
中铝郑州有色金属研究院有限公司
正高级工程师/总经理
矿冶科技集团有限公司
正高级工程师/副所长
赤泥综合利用研究报告2025
推广

热门技术
更多+

推荐企业
更多+

福建省金龙稀土股份有限公司
宣传

发布

在线客服

公众号

电话

顶部
咨询电话:
010-88793500-807