青岛垚鑫智能科技有限公司
宣传

位置:中冶有色 >

有色技术频道 >

> 加工技术

分类:
全部
矿山技术
冶金技术
材料制备及加工技术
环境保护技术
分析检测技术
 
全部
功能材料技术
复合材料技术
新能源材料技术
合金材料技术
加工技术
地区:
全部
北京
天津
上海
重庆
河北
山西
辽宁
吉林
黑龙江
江苏
浙江
安徽
福建
江西
山东
河南
湖北
湖南
广东
海南
四川
贵州
云南
陕西
甘肃
青海
内蒙
广西
西藏
宁夏
新疆
其他
其他
展开
 
全部
合肥
芜湖
蚌埠
淮南
马鞍山
淮北
铜陵
安庆
黄山
阜阳
宿州
滁州
六安
宣城
池州
亳州

安徽芜湖有色金属加工技术理论与应用

免费发布技术信息>>
多孔碳包覆FeS<Sub>2</Sub>纳米花的锂离子电池负极材料及其制法

本发明涉及锂离子电池技术领域,且公开了一种多孔碳包覆FeS2纳米花的锂离子电池负极材料,包括以下配方原料及组分:多孔FeS2纳米花、2,7‑二溴芴、2,6‑二乙炔基萘、四(三苯基磷)钯、碘化亚铜。该一种多孔碳包覆FeS2纳米花的锂离子电池负极材料,多孔纳米花瓣状的FeS2的比表面积巨大,可以暴露出大量的电化学活性位点,交联聚合得到的多孔稠环有机聚合物包覆FeS2纳米花,中刚性的芴环和萘环结构避免了孔隙结构在高温热裂解中的塌陷,形成多孔碳包覆FeS2纳米花,碳层结构为FeS2的体积膨胀提供了弹性缓冲,丰富的孔隙结构促进了与电解液的接触和润湿,为锂离子提供了传输路径,高度石墨化的多孔碳具有优异的导电性能。

标签:
加工技术
安徽 - 芜湖 来源:中冶有色网 2023-03-18
电子产品锂离子电池材料

本发明的目的是提供一种电子产品锂离子电池材料,正极材料采用氧化铝包覆在钴酸锂表面,从而避免钴酸锂直接与电解液接触,减少电化学比容量损失,改善其循环性能;负极材料采用Sn-M-C复合材料,以合金化或复合的方式稳定锡基材料的结构,提高循环性能;两者配合使用,大大提高了锂离子电池的电化学性能,适用于电子产品上。

标签:
加工技术
安徽 - 芜湖 来源:中冶有色网 2023-03-18
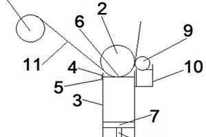
锂离子电池防爆阀外丝与盖板密封性能检测设备及方法

本发明公开了一种锂离子电池防爆阀外丝与盖板密封性能检测设备及方法,所述的检测设备包括检测组件、气动转向开关(17)、油雾过滤器(18)、调压阀(19)、气源(20)、检测介质(21)、介质容器(22);检测组件部分置于充有检测介质(21)的介质容器(22)内;所述的检测方法为:在上密封件(13)上套上检测零件(14),活动杆(3)带动上密封件(13)向下移动,被检测零件(14)被挤压在下密封件(15)上;调节调压阀(19),将气源(20)内气体充到检测零件(14)上,察看检测介质(21)内是否有气泡冒出,从而判断防爆阀外丝及盖板间的密封性能。本发明不仅适用方便,并且能大大提高防爆锂离子电池的合格率,具有实用价值。

标签:
加工技术
安徽 - 芜湖 来源:中冶有色网 2023-03-18
具有除尘冷却功能的钴酸锂混料机

本实用新型涉及锂离子电池正极贮能材料生产过程中的一种混料装置,特别适用于锂离子电池原材料钴酸锂生产工序中混料装置。具有电机及搅拌桨构成的动力装置,其特征在于,所述混料机上部通过双螺旋传送带与窑炉连接;所述混料机外侧设有供冷却循环介质流通的夹套,夹套外侧设有保温层。本实用新型具有除尘冷却功能的钴酸锂混料机,可以将钴酸锂通过双螺旋输送带直接从窑炉中输送到混料机中,在混料机中冷却、混料,这样避免了钴酸锂在空气中的氧化吸潮、又可混料后立即进行包装,从而得到优质的钴酸锂。同时,在混料机上设计除尘器,不仅能够创造良好的工作环境,保障工作人员的身体健康,而且减少物料的浪费,进一步节约生产成本。

标签:
加工技术
安徽 - 芜湖 来源:中冶有色网 2023-03-18
尺寸可控Ni-NiO异质结纳米颗粒掺杂碳纤维及制备方法、在锂-硫电池隔膜中的应用

本发明提供了尺寸可控Ni‑NiO异质结纳米颗粒掺杂碳纤维及制备方法、在锂‑硫电池隔膜中的应用,本发明利用丁二酮肟与镍离子的络合反应生成的沉淀作为前驱体,进行热处理,即可原位形成尺寸可控的Ni‑NiO异质结纳米颗粒掺杂的碳纳米纤维复合材料。与现有技术相比,本发明提供的制备方法简单易行,无需静电纺丝等高能耗技术,通过搅拌、静置即可直接制备纳米纤维前驱体,而且热处理过程中原位生成尺寸可控的Ni‑NiO异质结均匀颗粒。这种Ni‑NiO异质结纳米颗粒掺杂碳纳米纤维在锂硫电池中可以发挥重要作用,本发明将制备出的材料修饰在锂硫电池隔膜的表面,能显著提升初始容量和抑制“穿梭效应”,提升锂硫电池的综合性能。

标签:
加工技术
安徽 - 芜湖 来源:中冶有色网 2023-03-18
GeOx材料、其制备方法及其在锂离子电池中的应用

本发明提供了一种GeOx材料、其制备方法及其在锂离子电池中的应用。本发明制备的GeOx材料,三维空心球结构,直径为200-300nm。本发明利用一步水热合成法,通过调节溶液的pH,能有效的控制GeOx的形貌和晶体的结构,改善产品的电池性能。所得到的材料具有容量高,循环性好等优点。该材料可广泛地应用在锂离子电池的负极材料中,在电流密度为500mA/g下,50次循环后电池容量还有1000mAh/g,相比于碳材料负极容量上有很大的提高。

标签:
加工技术
安徽 - 芜湖 来源:中冶有色网 2023-03-18
氮掺杂碳材料、锂硫电池正极材料及其制备方法

本发明公开了一种氮掺杂碳材料、锂硫电池正极材料及其制备方法,属于电池材料领域。该氮掺杂碳材料通过以下方法制备得到:将摩尔比为2:1~3:1的甲醛和间苯二酚混合,再加入含氮有机化合物,油浴反应得到有机湿凝胶;含氮有机化合物与间苯二酚的摩尔比为1:150~1:100;将有机湿凝胶干燥,得到有机凝胶;将有机凝胶高温碳化,得到颗粒状的氮掺杂碳材料。将该氮掺杂碳材料作为锂硫电池中正极材料的基体使用,能够有效地吸附多硫化物,减少溶解于电解液和沉积于锂负极的多硫化物;在锂硫电池电循环充放电过程中,氮掺杂碳材料可增强正极的导电性能,减少硫化物的生成量,可明显改善锂硫电池的循环充放电性能。

标签:
加工技术
安徽 - 芜湖 来源:中冶有色网 2023-03-18
锂电池电动车充电器的保护装置

本发明公开了一种锂电池电动车充电器的保护装置,包括有充电器,所述充电器包括有电子板,所述电子板的两端分别设置有市电接线串口和锂电池接线串口,所述电子板上设置有锂电池充电状态显示灯,所述市电接线串口与控制电路相连接,由所述控制电路来检测锂电池充电状态显示灯,当锂电池充电状态显示灯显示锂电池充电完成时,由所述控制电路切断市电与电子板的电流连接;本发明通过设置有控制电路来监控锂电池充电状态显示灯,当检测到锂电池的电量充满时,则控制电路会切断市电与充电器电子板的连接,使得充电器属于断电状态,这样就可以降低充电器与锂电池的损耗。

标签:
加工技术
安徽 - 芜湖 来源:中冶有色网 2023-03-18
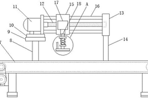
锂离子电池电芯极耳弯折装置

本实用新型提供一种应用于锂离子电池电芯装配辅助设备技术领域的锂离子电池电芯极耳弯折装置,所述的锂离子电池电芯极耳弯折装置的压板与装置基座活动连接,压板下方位置的装置基座上的凹槽内设置压整面,电池电芯设置为能够放置在装置基座上的结构,压板下压时,压板下表面设置为能够抵靠在压整面上的结构,本实用新型所述的锂离子电池电芯极耳弯折装置,结构简单,能够方便快捷地对电芯极耳进行弯折处理,确保正极极耳与负极极耳处于同一平面,确保弯折质量符合电池生产需求,有效提高电芯极耳弯折良品率,降低电池生产成本。

标签:
加工技术
安徽 - 芜湖 来源:中冶有色网 2023-03-18
通用型锂电池保护系统

本实用新型公开了一种通用型锂电池保护系统,包括锂电池组分别连接负载和充电机,其特征在于:所述的保护系统为单片机采集锂电池组的电池信息,单片机通过充、放电主通道控制电路实现锂电池组的充放电转换;充电电流检测模块、放电电流检测模块分别采集回路中的电压值后传递给单片机。由于采用上述的结构,本实用新型可以对目前市场上所有类型的锂电池实现有效保护。

标签:
加工技术
安徽 - 芜湖 来源:中冶有色网 2023-03-18
基于磷酸铁锂电池的矿用电源装置

本实用新型公开了一种基于磷酸铁锂电池的矿用电源装置,包括磷酸铁锂电池单元、数据采集模块、主控模块、故障报警模块和充电机,数据采集模块包括电压传感器、电流传感器和温度传感器,电压传感器、电流传感器分别与磷酸铁锂电池单元相连,温度传感器设于磷酸铁锂电池单元的箱体上,主控模块通过充电机与磷酸铁锂电池单元相连,主控模块根据数据采集模块输入电压、电流、箱体温度控制故障报警模块和充电机的工作状态。本实用新型能够延长电池组使用寿命、提高电池组的能效,具有电池组管理高效、电池控制均衡、安全可靠、供电稳定的优点。

标签:
加工技术
安徽 - 芜湖 来源:中冶有色网 2023-03-18
锂离子电池及其成化方法

本发明公开了一种锂离子电池及其化成方法。所述锂离子电池化成方法包括的步骤有:第一阶段小电流充放电循环处理、对锂离子电池进行大电流充电处理、第二阶段小电流充放电循环处理。本发明锂离子电池化成方法在电极SEI膜形成的充电容量区间范围内采用小电流充放电循环,而在其他充电容量区间内采用大电流充电,确保电极形成的SEI膜致密且稳定,从而改善SEI膜质量和锂离子电池性能,同时不增加化成时间。另外,所述锂离子电池化成方法简化了电池活化工艺,条件易控,有效保证了化成效果,保证了锂离子电池循环性和低自放电。

标签:
加工技术
安徽 - 芜湖 来源:中冶有色网 2023-03-18
应用于钴酸锂体系电解液的腈类添加剂的测试工艺

本发明公开了一种应用于钴酸锂体系电解液的腈类添加剂的测试工艺,涉及锂离子电池的技术领域,包括软包电芯的制备过程:①制作正极极片;②制作负极极片;③制作PE隔离膜;④在氩气保护的手套箱中,将六氟磷酸锂(LiPF6)溶于质量比为1:1:1的碳酸乙烯酯(EC)、碳酸二乙酯(DEC)、丙酸丙酯(PP)中,再加入氟代碳酸乙烯酯(FEC)和1,3‑丙烷磺酸内酯(PS),以及已二腈(ADN)、丁二腈(SN)、乙二醇双(丙腈)醚(DENE)或1,3,6‑已烷三腈(HTCN)中的任意一种配成电解液;⑤将正、负极极片、PE隔离膜、电解液通过卷绕、组装、烘烤、焊接密封、注液、化成等工序做成软包电芯。测试结果表明,腈类添加剂能够提高锂离子电池电解液的耐高压性能,其中对高温存储性能改善尤为显著。

标签:
加工技术
安徽 - 芜湖 来源:中冶有色网 2023-03-18
电动汽车用动力锂离子电池包及其制作方法

本发明公开了一种电动汽车用锂离子动力电池包及其制作方法,所述电动汽车用锂离子动力电池包,包括电池包壳体及与电池包壳体适配的电池包盖,在所述电池包壳体内部设有电池模块;在所述电池模块与所述电池包盖间设有绝缘层I,与电池包盖正对的电池包壳体面及电池模块间设有绝缘层II;所述电池包壳体上设有与电池模块连接的快接插件,位于电池包壳体内部相邻的电池模块相互卡接;所述电动汽车用锂离子动力电池包的制作方法,包括(1)提供电池单体并进行预处理;(2)并联数个电池单体组成电池模块;(3)串联数个电池模块组成电池包;(4)对电池包进行最终处理。本发明能够保证锂离子动力电池包充电均衡、安全性高、使用寿命长。

标签:
加工技术
安徽 - 芜湖 来源:中冶有色网 2023-03-18
报废锂离子电池的回收预处理方法

本发明的目的是提出一种报废锂离子电池的回收预处理方法,以避免在后续电池粉碎过程中发生爆炸等情况。本发明的报废锂离子电池的回收预处理方法的关键在于:首先将锂离子电池刺出泄流孔,然后利用碱性溶液对锂离子电池进行浸泡,使碱性溶液与锂离子电池中析出的锂进行反应,并中和锂离子电池中电解液遇水所产生的酸液。在水中浸泡可以对电池进行放电,由于锂金属活泼性强,在水中很快反应掉且在水中不会燃烧或爆炸;电解液遇水会产生HF酸,通过碱液中和电解液反应所产生的酸类,可以减少对环境的污染。

标签:
加工技术
安徽 - 芜湖 来源:中冶有色网 2023-03-18
锂电池发泡胶带与制备工艺及其制备装置

本发明公开一种锂电池发泡胶带与制备工艺及其制备装置,发泡胶带包括:复合层、粘黏层、发泡层和PET离型膜。制备工艺包括如下步骤:S1、选料;S2、制备复合层;S3、制备粘黏层;S4、粘黏成型;S5、制备发泡层并与PET离型膜固定;S6、合并成型;S7、裁剪收卷。制备装置包括:底板、分隔模块和裁剪模块。本发明提出的锂电池发泡胶带,主体为多层结构,与现有技术相比整体剥离力更大,并且防水性更好,表面更加光泽,具有较强的市场竞争力;制备装置能够根据实际需要对制备的发泡胶带进行裁剪,整个过程不需要人工参与,整体自主性高,具有较强的实用性。解决了现有技术中锂电池发泡胶带剥离力低,容易起泡的问题。

标签:
加工技术
安徽 - 芜湖 来源:中冶有色网 2023-03-18
限制锂电池极化现象的充电方法

本申请公开了一种锂电池的充电方法,在充电过程中监控极化现象,根据极化现象改变充电脉冲,进而减小极化现象对电池寿命的影响。将充电过程分成多个步骤,使用脉冲电流给电池充电,根据正负极之间的电压的变化速度,调节电流脉冲的幅度和脉冲的宽度以及相邻脉冲之间的时间间隔;根据电池温度情况调整充电电流。本方法自动适应锂电池的情况,既保证了最大的充电速度又减少了极化现象,延长了锂电池的寿命,缩短了在低温下的充电时间,避免了在高温下充电电流过大引起电池损坏。

标签:
加工技术
安徽 - 芜湖 来源:中冶有色网 2023-03-18
氮/石墨烯/碳载体复合材料的制备方法及其制备得到的正极材料、正极及锂离子电池

本发明公开了一种氮/石墨烯/碳载体复合材料的制备方法及其制备得到的正极材料、正极及锂离子电池,利用石墨烯和引入N元素改性碳载体,其具有高的比表面积和强的吸附能力,能为硫和多硫化物提供负载空间并对其产生吸附,减小多硫化物穿梭,从而提高电池的电化学性能,在其负载硫之后作为活性物质制备锂离子电池正极,进而组装成了循环性能和倍率性能优良的锂离子电池,其在0.2C电流密度下,该电池首次放电容量在955mAh/g以上,0.2C倍率下,循环100次后其容量保持率在60%以上。

标签:
加工技术
安徽 - 芜湖 来源:中冶有色网 2023-03-18
新能源汽车用的锂电池封盖环焊用的通用夹具

本发明公开了一种新能源汽车用的锂电池封盖环焊用的通用夹具,包括双向丝杆和两个平行设置的侧固定板,侧固定板的内侧设有轴承,侧固定板之间还设有导向杆,导向杆的中部固定有固定座,固定座的上端设有滑动连接的连接杆,连接杆的上端设有底板,双向丝杆的两端设有滑座,滑座的顶部设有支板,支板上设有滑轨及推杆电机,滑轨上设有滑块,滑块的侧面设有圆槽,圆槽内设有滑杆,滑杆的表面设有标识环,滑杆的一端设有弹簧,弹簧的一端固定在圆槽底部,滑杆的另一端设有关于双向丝杆中心对称的夹紧块,本装置适合不同锂电池的固定,通用性强,减少夹具制作成本,利用弹簧控制对锂电池的夹紧力,使其处在合适的区间内,有效保护电池外壳。

标签:
加工技术
安徽 - 芜湖 来源:中冶有色网 2023-03-18
高性能磷酸铁锂电池的制备方法

本发明公开了一种高性能磷酸铁锂电池的制备方法,包括以下步骤:将钴酸锂材料或镍钴锰酸锂材料掺杂到磷酸铁锂材料中,作为正极活性物质,制备出正极片;将正极片、负极片、隔离膜通过卷绕、组装、烘烤、注电解液液、封装制备出电芯;电芯经充电到钴酸锂材料或镍钴锰酸锂材料的上限电压进行化成之后可制备得到高性能磷酸铁锂电池;本发明通过优化正极材料配方,提高正极涂层的容量发挥、增加涂层导电性、提升涂层压实密度,且通过特殊化成流程实现首次补锂,适当降低了正负材料的平衡比,从而达到提高电芯能量密度的目的。

标签:
加工技术
安徽 - 芜湖 来源:中冶有色网 2023-03-18
梯次利用储能锂离子电池回收工艺

本发明公开了一种梯次利用储能锂离子电池回收工艺,包括以下步骤:构建密闭的拆解作业空间;将需要进行拆解作业的锂离子电池堆放在电池加料仓中,然后封闭拆解作业空间对拆解作业空间进行抽真空;通过两个挤压辊的挤压作用对锂离子电池进行破裂拆解,使锂离子电池内部的电解液从锂离子电池的固体外壳中流出;挤压破裂后的锂离子电池堆积在电池拆解仓底部,通过在电池拆解仓的底部接一根排液管即可将液体回收物引出,最后拆解作业完毕后打开电池拆解仓将电池拆解仓内的固体回收物取出。本发明提供的一种梯次利用储能锂离子电池回收工艺,能够自动完成锂离子电池的逐渐送料和拆解作业。

标签:
加工技术
安徽 - 芜湖 来源:中冶有色网 2023-03-18
锂离子电池中电解液的注入装置

本发明公开了一种锂离子电池中电解液的注入装置,涉及锂电池生产的技术领域,包括工作台、输送机构、定位机构、夹紧机构及注液机构,其中,输送机构设于工作台的上侧并用于实现对锂电池注液前后的输送,输送机构包括支撑板和驱动电机,定位机构设于输送机构的下侧并用于实现对锂电池注液时的定位,定位机构包括伸缩气缸、铰接条一、铰接条二及定位条,夹紧机构设于输送机构的上侧并用于实现对锂电池注液时的夹紧,夹紧机构包括悬伸条、夹紧板、铰接条三、联动柱及联动条,注液机构设于夹紧机构的上侧并用于实现对锂电池进行注液,注液机构包括液压缸和电解液箱。综上,本发明可实现对锂电池的自动输送、自动定位、自动夹紧及自动填充。

标签:
加工技术
安徽 - 芜湖 来源:中冶有色网 2023-03-18
螺旋状二氧化硅/氧化铁复合纳米材料及其制备方法和在锂离子电池中的应用

本发明公开了一种螺旋状二氧化硅/氧化铁复合纳米材料及其制备方法和在锂离子电池中的应用,利用价格低廉的原料制备得到螺旋状的二氧化硅,再以二氧化硅、二茂铁和过氧化氢为原料通过溶剂热反应合成螺旋状的二氧化硅/氧化铁复合纳米材料,并将其应用于锂离子电池负极材料。本发明有效解决了氧化铁材料固有的在充放电过程中剧烈的体积变化和颗粒团聚的难题,提供了一种工艺简单、产率高和成本低的螺旋状二氧化硅/氧化铁复合纳米材料的制备方法,获得具有良好的循环稳定性和高的比容量的锂离子电池负极材料。

标签:
加工技术
安徽 - 芜湖 来源:中冶有色网 2023-03-18
锂电池清洗装置
锂电池清洗装置 724     
 0

本发明公开了一种锂电池清洗装置,包括支撑架,所述支撑架为凹槽结构,所述支撑架的底端设有若干个均匀分布的支撑腿,所述支撑架的凹槽两端对称设有输送辊,对称所述输送辊通过输送带传动,所述输送辊的旋转轴均延伸至所述支撑架内,其中一个所述输送辊的旋转轴贯穿所述支撑架与位于所述支撑架一侧的皮带轮一连接,所述皮带轮一的一侧设有皮带轮二,所述皮带轮一与所述皮带轮二通过皮带传动,所述皮带轮二一侧的轮轴与旋转电机连接。有益效果:固定杆、活动杆、弹簧的设计则避免了因气缸伸缩强度较大对锂电池带来的损伤,减小了锂电池清洗的损耗率,设计简单合理,但是清洗效率高,清洗质量良好,有效解决了电解液残留的问题。

标签:
加工技术
安徽 - 芜湖 来源:中冶有色网 2023-03-18
车辆锂电池温度调节系统

本实用新型揭示了一种车辆锂电池温度调节系统设有内部填充有散热介质的电池箱,电池箱内竖直设有多个放置腔,所述放置腔呈行列矩阵结构固定在电池箱底部,所述放置腔之间均具有间隙,所述电池箱顶部设有封盖,所述封盖上下垂有多根注液支管,所述注液支管延伸至每相邻四个放置腔中间的间隙内,所述电池箱底部设有出液管,每根所述注液支管上均设有支管阀且与注液总管连通,所述出液管通过散热泵连接汽车散热器输入端,所述散热器输出端连接注液总管;本系统使用安全可靠,对于锂电池使用环境可控性强,不仅能够可靠的降温,还能在低温环境下给予锂电池加热,保证锂电池的工况环境,提高锂电池的使用安全性、可靠性以及使用寿命。

标签:
加工技术
安徽 - 芜湖 来源:中冶有色网 2023-03-18
充电和放电同端口的锂电池充放电功能测试柜

本发明公开了一种充电和放电同端口的锂电池充放电功能测试柜,该测试柜包括干扰信号生成单元、辅助电源、显示单元、锂电池固定装置、锂电池监控单元和控制单元,所述干扰信号生成单元、辅助电源、显示单元、锂电池监控单元分别控制单元连接,所用锂电池固定装置用于固定锂电池组。所述干扰信号生成单元通过功率放大单元和定向天线与锂电池组连接。所述锂电池通过BMS检测仪得到数据记录发送给故障分析单元。所述干扰信号生成单元包括高斯白噪声、单频正弦波、瞬时强脉冲以及线性调频波四种干扰信号。

标签:
加工技术
安徽 - 芜湖 来源:中冶有色网 2023-03-18
自修复水凝胶微胶囊复合材料及其制备方法及自修复锂硫电池正极、电池

本发明公开了一种自修复水凝胶微胶囊复合材料及其制备方法及自修复锂硫电池正极、电池,将吡咯与植酸溶解在异丙醇中得到的混合溶液A与硫酸铵水溶液和去离子水混合,得到前驱体溶液B;将2‑羟基‑2‑甲基苯丙酮与三甲醇丙烷乙氧酯三丙烯酸酯分散于无水乙醇中,再加热挥发除去无水乙醇,得到混合溶液C;以前驱体溶液B、混合溶液C、聚乙烯醇水溶液作为内相、外相、驱动相,利用液驱同轴流动聚焦技术制备得到微胶囊,洗涤后静置2~3天,烘干得到自修复水凝胶微胶囊复合材料,以其掺杂在硫粉中作为活性物质制备锂硫电池正极,在电极片发生裂痕时,微胶囊中的水凝胶被释放对锂硫电池的正极片的裂痕进行精准修复,从而可维持锂硫电池良好的性能。

标签:
加工技术
安徽 - 芜湖 来源:中冶有色网 2023-03-18
TFT-LCD玻璃耐化学性能的检测方法及该玻璃中锂含量的测定方法

本发明公开了一种TFT-LCD玻璃耐化学性能的检测方法及该玻璃中锂含量的测定方法,该TFT-LCD玻璃耐化学性能的检测方法包括:测定玻璃样品中锂元素的含量,在玻璃样品中,其它元素含量的比例一致的情况下,锂元素的含量越低,该玻璃耐化学性能越好。本发明的方法不仅能快速检测TFT-LCD玻璃中的锂含量,而且可以测定玻璃的耐化学性能,从而对料方开发过程中的玻璃配方进行调配。

标签:
加工技术
安徽 - 芜湖 来源:中冶有色网 2023-03-18
碳包覆的高镍锂离子电池及其制备方法

本发明涉及锂离子电池,公开了一种碳包覆的高镍锂离子电池及其制备方法,其中,碳包覆的高镍锂离子电池的正极材料作为锂离子电池的重要组成部分,具有较高的放电容量和良好的循环性能,在制备过程中不需要在碳源包覆的情况下长时间焙烧,有效控制材料的一致性,且该制备原料易得,制备方法简单,具有较高的推广应用价值。本发明克服现有技术中为了得到碳包覆的正极材料而采用在碳源存在的情况下长时间焙烧的工艺,并且克服了该由于超时间焙烧使得过渡金属离子被部分还原使得材料的一致性不易控制的缺陷。

标签:
加工技术
安徽 - 芜湖 来源:中冶有色网 2023-03-18
锂离子电池用耐溶剂性保护膜及其涂布设备、涂布方法

本发明提供一种应用于锂离子电池技术领域的锂离子电池用耐溶剂性保护膜涂布设备,所述的锂离子电池用耐溶剂性保护膜涂布设备的涂布光辊(2)下方设置胶液池(3),涂布光辊(3)的下端线(6)的水平高度位于胶液高位传感器(4)和胶液低位传感器(5)垂直距离之间的范围,胶液池(3)靠近底部设置的推板(7)下端和胶液池(3)底部之间设置气缸(8),胶液池(3)上端设置刮除定型轮(9),刮除定型轮(9)下方设置清洗槽(10),本发明的锂离子电池用耐溶剂性保护膜涂布设备,精准地对基材膜层经过胶液池粘附胶液后的厚度进行控制,避免控制胶液厚度的间隙越来越小,保障胶层厚度始终在设定范围之间,提高保护膜的整体质量。

标签:
加工技术
安徽 - 芜湖 来源:中冶有色网 2023-03-18
上一页 38 39 40 41 42 ... 48 下一页
共48页    到第

中冶有色为您提供最新的安徽芜湖有色金属加工技术理论与应用信息,涵盖发明专利、权利要求、说明书、技术领域、背景技术、实用新型内容及具体实施方式等有色技术内容。打造最具专业性的有色金属技术理论与应用平台!

全国热门有色金属设备推荐
展开更多 +
全国热门有色金属技术推荐
展开更多 +

 

江西省隆恩特环保设备有限公司
宣传

报名参会
更多+

报告下载

有色专家
更多+

中冶沈勘秦皇岛工程技术有限公司
原矿山院院长/教授级高工
有研资源环境技术研究院(北京)有限公司
副总经理/教授级高工
西安建筑科技大学
院长/教授
北京科技大学
副院长/教授
中铝检测科技(郑州)有限公司/国家轻金属质量检验检测中心
正高级工程师
赤泥综合利用研究报告2025
推广

热门技术
更多+

推荐企业
更多+

福建省金龙稀土股份有限公司
宣传

发布

在线客服

公众号

电话

顶部
咨询电话:
010-88793500-807