青岛垚鑫智能科技有限公司
宣传

位置:北方有色 >

有色技术频道 >

> 固/危废处置技术

分类:
全部
矿山技术
冶金技术
材料制备及加工技术
环境保护技术
分析检测技术
 
全部
废水处理技术
大气治理技术
固/危废处置技术
土壤修复技术
地区:
全部
北京
天津
上海
重庆
河北
山西
辽宁
吉林
黑龙江
江苏
浙江
安徽
福建
江西
山东
河南
湖北
湖南
广东
海南
四川
贵州
云南
陕西
甘肃
青海
内蒙
广西
西藏
宁夏
新疆
其他
其他
展开
 
全部
长沙
株洲
湘潭
衡阳
邵阳
岳阳
常德
张家界
益阳
娄底
郴州
永州
怀化
湘西土家族苗族自治州

湖南长沙有色金属固/危废处置技术理论与应用

免费发布技术信息>>
以稻谷加工副产物为原料生产饲用葡萄糖氧化酶的方法

以稻谷加工副产物为原料生产饲用葡萄糖氧化酶的方法,其包括以下步骤:(1)将高产葡萄糖氧化酶的点青霉接种装有PDA培养基的10cm微生物培养皿进行培养;(2)种子培养:液体种子培养基经115~121℃灭菌20~30min后,将步骤(1)培养皿中活化的点青霉转接液体种子培养基;(3)固体发酵培养基的配制:将节碎米与米糠按10∶1~3的重量比混合,90~100℃蒸煮25~40min;(4)接种培养:固体发酵培养基摊凉后,接种点青霉种子进行培养;(5)固体发酵结束后,将培养基置于100~120℃干燥2~4h,粉碎至40~80目。本发明原料来源广,无“三废”产生,工艺简单,产品葡萄糖氧化酶活力高达200U。

标签:
固废
湖南 - 长沙 来源:北方有色网 2023-03-19
造纸法生产烟草薄片的方法

本发明公开了造纸法烟草薄片生产工艺方法,其步骤是:a.将烟梗与烟叶碎片分别用热水浸泡萃取,经过固液分离,分别得到固体烟梗与固体烟叶碎片和烟梗萃取液与烟叶碎片萃取液;b.固体烟梗与固体烟叶碎片分别解纤,所得烟梗纤维与烟叶碎片纤维加入解纤后的外加纤维再与烟灰复合,经纸机抄造制成纤维薄片基片;c.烟梗萃取液直接舍弃不用,烟叶碎片萃取液经过蒸馏浓缩,再喷涂或浸涂到成型的纤维薄片基片上,干燥,打片,成型。本发明是采用添加烟灰的造纸法烟草薄片生产工艺方法,提高了造纸法烟草薄片的填充性能在内的物理性能,解决了造纸法烟草薄片评吸内在质量较差,木质气重,烟香平淡的问题,另外,解决了在卷烟加工过程中废弃的1mm-60目的烟灰资源利用问题,节约资源,减低卷烟成本。

标签:
固废
湖南 - 长沙 来源:北方有色网 2023-03-19
数控机床用排屑机
数控机床用排屑机 1065     
 0

本实用新型公开了一种数控机床用排屑机,包括排屑机本体,排屑机本体的固体出料口处设置有废屑出料嘴,排屑机本体的下方设置有循环泵、螺旋挤压式固液分离机、传动箱和离心外筒,循环泵的进料口通过水管连通排屑机本体的储液箱,出料口通过水管连通螺旋挤压式固液分离机的进料口,螺旋挤压式固液分离机的固体出料口下方设置有废屑收集箱,液体出料口下方设置有集液箱,离心外筒与水平面倾斜,且通过立架固定,废屑出料嘴的下端出料口位于离心外筒的上端口内部,离心外筒的下端口与传动箱连接,且离心外筒的下端口下方也设置有废屑收集箱。该种数控机床用排屑机过滤效果好,提高冷却液回收效率,降低后期无害化处理成本。

标签:
固废
湖南 - 长沙 来源:北方有色网 2023-03-19
高炉水淬渣的利用方法

本发明涉及两种固体废弃物的回收利用方法。其步骤为:将高炉水淬渣和阴极炭块分别破碎和过筛,将其按一定的重量配比(1:0.5‑2)混合均匀,得到固体混合物A;将混合物A加入酸溶液B中,得到固液混合物C,将C在一定温度下搅拌4h以上,然后过滤洗涤并干燥;将干燥物在惰性气氛或者还原性气氛下加热到1450℃‑1700℃并保温3‑10h,然后降温至600‑900℃并在氧化性气氛下保温3‑8h,最后降到常温;将样品进行酸洗后即可得到碳化硅粉体。本发明所得碳化硅纯度高,粒径小,具有良好的工业应用价值。同时,以高炉水淬渣和废旧阴极炭块为原料,对有效降低两种固体废弃物的环境污染以及资源回收综合利用具有积极的意义。

标签:
固废
湖南 - 长沙 来源:北方有色网 2023-03-19
改性硫酸钙晶须造纸填料的制备方法

本发明公开了一种改性硫酸钙晶须造纸填料的制备方法,其特征在于:包括如下步骤:(1)晶须煅烧;(2)有机溶解抑制改性;(3)干燥;(4)研磨解絮。本发明方法利用的硫酸钙晶须原料来源广、条件宽,可以有效解决多种工业石膏废渣或金属废渣带来的固体污染;制得的改性硫酸钙晶须填料具有白度高、磨耗低、留住率高等特性,能够有效替代目前的碳酸钙填料或植物纤维;同时制得的改性硫酸钙晶须填料溶解度得到有效控制,且在抄纸水性浆料中易分散,解决了硫酸钙晶须存在的水溶性高,用作造纸填料时留着率低、白水垃圾离子含量高、管道易结垢等难题,拓展了晶须应用领域,提高了晶须附加值。

标签:
固废
湖南 - 长沙 来源:北方有色网 2023-03-19
载能复合气体介质烧结的协同减排方法

本发明公开了一种载能复合气体烧结协同减排的方法,将烧结料面从烧结机的机头到机尾依次分成点火段、保温段、中间段、烟气升温段和机尾段,根据不同区段烟气组成和温度特征以及热量需求,在点火段导入热废气进行点火,在保温段导入热废气并同步梯级喷加富氢燃气,中间段在喷加富氢燃气的基础上耦合梯级喷加水蒸汽,将机尾段高温烟气与点火段和/或保温段的烟气循环至升温段。采用载能复合气体烧结协同减排的方法后,能够同步实现烧结过程固体化石燃料更大程度降耗和抑制污染物生成/分解生成污染物,相对常规空气烧结,可实现减排CO215~25%、CO40~50%、NOX20~40%、SOX5~20%、二噁英50~80%。

标签:
固废
湖南 - 长沙 来源:北方有色网 2023-03-19
铜铈改性二氧化钛催化剂及其制备方法和应用

本发明涉及一种铜铈改性二氧化钛催化剂及其制备方法和应用,所述催化剂是在二氧化钛中掺杂有铜和铈,铜、铈的掺杂量分别为二氧化钛重量的5~10%、10~20%。其制备方法是向反应容器中加入300~400份无水乙醇,5~8份乙酰丙酮,3~6份冰乙酸后混合均匀,再加入20~50份钛酸丁酯,搅拌混合得溶液A;(2) 在20~30份无水乙醇中,加入0.1~0.5M的可溶性铈盐1~3份、0.2~1M的可溶性铜盐2~3份,混合均匀后,再与溶液A混合得到溶液B;(3) 将溶液B加热至60~90℃,加入1~4份模板剂,反应0.5~2h,得到预聚体;(4) 将陶粒浸泡于所述预聚体中5~20秒,取出沥干,经干燥后,于400~500℃煅烧0.5~2h,得到铜铈改性二氧化钛催化剂。该催化剂对废水的催化处理效果好;同时催化剂的制备还可以利用固体废弃物市政污泥。

标签:
固废
湖南 - 长沙 来源:北方有色网 2023-03-19
母液循环的盐酸分解白钨矿的方法

本发明公开了一种母液循环的盐酸分解白钨矿的方法,该方法包括如下步骤:预处理:将粒度不大于150微米的白钨矿与盐酸溶液混合,在常温下搅拌,得到的预处理精矿,其中含WO3≥60%、P≤0.03%;并收集预处理酸母液;预处理母液的转化与净化:将得到的预处理酸母液,用CaCO3或CaO或Ca(OH)2将其中和,过滤,然后提取溶液中的钨或钼,并转化与净化预处理酸母液;酸分解:将得到的预处理精矿与盐酸溶液混合,过滤后得固体钨酸滤饼和酸分解母液;酸分解母液的转化与净化:将得到的酸分解母液用中性萃取剂在酸性条件下萃取钨和钼,并转化与净化酸分解母液。本发明方法能处理不同品位的白钨矿,对原料的适应性强,还能将废酸母液重新返回利用,解决了废酸母液处理的难题。

标签:
固废
湖南 - 长沙 来源:北方有色网 2023-03-19
真空热解技术
真空热解技术 872     
 0

本发明涉及一种真空热解技术。包括热解反应条件:真空密封;热解温度:低温,温度低于700℃。包括热解反应步骤:(1)破碎,(2)真空低温干燥,(3)真空低温热解。本发明技术整个过程真空密封,无废气/废水产生,无污染。反应机理为大分子结构有机物热解直接分解为小分子可燃气体直接被抽出,几乎不停留。本发明技术热解反应通式:→气体(CO、CH4、H2、)+固体(灰渣)。

标签:
固废
湖南 - 长沙 来源:北方有色网 2023-03-19
固定工业烟气中二氧化碳的方法

本发明涉及一种固定工业烟气中二氧化碳的方法,具体涉及一种使用含硫酸钙固体废弃物直接碳酸化固定工业烟气中二氧化碳的方法。本发明首先向含硫酸钙固体废弃物中加入水,得到固体粉末水溶液,向其中加入氨水并同时通入工业烟气,在20-40℃、常压下搅拌反应后,过滤、洗涤、干燥,获得产物。本发明实现了含硫酸钙固体废弃物的再利用,且为大规模二氧化碳减排提供一种更好的思路。

标签:
固废
湖南 - 长沙 来源:北方有色网 2023-03-19
利用耐火粘土尾矿制备透水砖的方法

本发明公开了一种利用耐火粘土尾矿制备透水砖的方法。所述利用耐火粘土尾矿制备透水砖的方法包括以下步骤:分别取耐火粘土尾矿及高硅型铁尾矿,加入适量水后磨浆,得混合料一;将建筑固体废弃物及废弃玻璃分别粉碎;将所述混合料一、粉碎后的所述建筑固体废弃物、粉碎后的所述废弃玻璃、赤泥及硅藻土按比例混匀后压制成型,得砖坯;将所述砖坯干燥至含水量为10~15%后焙烧1~2h,随炉冷却,即得透水砖。本发明提供一种利用耐火粘土尾矿制备透水砖的方法,提高了尾矿及废弃物的利用率,降低了对环境的污染,工艺简单易控、资源利用率高。

标签:
固废
湖南 - 长沙 来源:北方有色网 2023-03-19
零价铁协同飞灰水热处理生活污泥的方法

本发明提供了一种零价铁协同飞灰水热处理生活污泥的方法,包括步骤:S1,将生活垃圾焚烧飞灰与零价铁混合,得第一混合物料;S2,将所述第一混合物料与生活污泥混合,得第二混合物料;其中,所述生活污泥的含水率不小于50%;S3,对所述第二混合物料依次进行水热处理和固液分离处理,得固体产物和处理后的废水;将所述固体产物进行磁性分离,磁性固体产物和非磁性固体产物。本发明能够去除有机物并吸附重金属,还能降低产物的浸出毒性,另外,本发明的处理方法工艺简单、成本低、不产生二次污染、后续应用明确,达到了以废治废的效果,具有较高的社会效益和经济效益。

标签:
固废
湖南 - 长沙 来源:北方有色网 2023-03-19
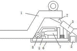
餐厨垃圾用固液分离装置

本实用新型公开了一种餐厨垃圾用固液分离装置,包括箱体,箱体的内部倾斜安装有处理箱,处理箱的底端固定连接有用于排出固体垃圾的落料管,处理箱的高端固定连接有进料口,处理箱的内部设有固液分离装置,所述固液分离装置包括两个空心轮、多个行星轴、传输管、滤水孔与防堵刷,本实用新型通过传输管的斜度使传输管内部的固体垃圾向靠近落料管的一端移动,且掺杂在固体垃圾中的废水会从滤水孔中流出,最终固体垃圾与液体垃圾(废水)在传输管中实现分离,继而固体垃圾从落料管处排出,废水被收集到积水箱的内部,使该装置具有较高的实用性,而且防堵刷可对滤水孔进行清扫,避免了滤水孔被固体垃圾堵住,提高了固液分离效率。

标签:
固废
湖南 - 长沙 来源:北方有色网 2023-03-19
制备氯化铁的方法
制备氯化铁的方法 887     
 0

本发明涉及以含氯离子含铜离子的物质作原料来制备含铜量很低的高质量氯化铁的方法。本发明的技术方案是,在含氯离子和铜离子的废液中,加入含铁单质的物质,直至其中没有铜单质析出,然后加入苯骈三氮唑盐酸液,过滤分离后,滤液浓缩即得氯化铁。利用本发明提供的方法使含氯离子和铜离子的这类废物中的氯离子被得到有效利用而转入氯化铁产品中,而这类废物中原含的重金属(如铜离子)也变成对环境无负面影响、可方便回收和再利用的金属态固体物质。

标签:
固废
湖南 - 长沙 来源:北方有色网 2023-03-19
可杀菌的自密实玻璃装饰砂浆制备方法

本发明是和目前的耐高温混凝土制备截然不同的思路,它是利用废弃玻璃替代砂浆中的细骨料,工业固体废弃物(粒化高炉矿渣)替代部分水泥,添加部分光催化材料TIO2制成可杀菌的自密实玻璃砂浆。可杀菌的自密实玻璃砂浆可以充分利用废弃玻璃,提高玻璃的回收利用率,同时对于掺和料采用大量的工业废弃料,可以减少环境污染。该砂浆还能通过光的催化来达到净化周围空气的效果,对环境保护起着非常大的作用。该砂浆实用性强,经济价值高,工艺简单,不产生有害物质,既有利于清洁砂浆的大规模推广,又可以解决废弃玻璃、工业固体废弃物的回收利用问题,一举两得。

标签:
固废
湖南 - 长沙 来源:北方有色网 2023-03-19
煤矸石-粉煤灰-脱硫石膏体系的高强度陶瓷砖及其制备方法

本发明公开了一种煤矸石‑粉煤灰‑脱硫石膏全废渣组成体系的高强度陶瓷板或陶瓷砖及其制备方法。本方法以煤矸石、粉煤灰和脱硫石膏为原料,通过组成设计、合理的废渣搭配和优化的制备工艺获得了综合性能优良的陶瓷砖,其废渣利用率高、制备工艺简单、成本低廉,且无需添加任何烧结助剂与粘结剂,该陶瓷砖的主要物相为钙长石相,具有密度低(1.475~2.013g/cm3)、强度高(107.8~346.5MPa)、耐腐蚀性能好(>99%)和不产生二次污染等特点。本发明固体废弃物的利用率高达100%,可有效地降低废渣对环境的污染,实现固体废弃物的循环利用和高附加值利用。

标签:
固废
湖南 - 长沙 来源:北方有色网 2023-03-19
堆肥化去除土壤中毒死蜱的方法

本发明公开了一种堆肥化去除土壤中毒死蜱的方法,包括以下步骤:将毒死蜱污染的土壤(浓度≤100MG/KG)除杂、风干,然后与种植业固体废物混合形成堆料,控制堆料的碳氮比及含水率,在堆料中接种一株鞘氨醇单胞菌的菌株,好氧堆置30D~40D即可。本发明的方法不仅能够快速去除土壤中残留的毒死蜱,而且利用种植业固体废物堆肥化处理的产品可作为有机肥料,是一种操作简单、成本低、能够在短时间内去除土壤中残留污染物毒死蜱的方法。

标签:
固废
湖南 - 长沙 来源:北方有色网 2023-03-19
修建垃圾填埋场的方法以及垃圾填埋场

本发明涉及固体废物的处理方法,修建一种生态安全型的垃圾填埋场来处理固体废物。本发明的技术方案是在选址时,满足两个条件,一是相对位置较高;二是开挖深度不低于地下水位。本发明通过有效减少天然雨水进入垃圾堆内而使垃圾处于相对干燥的状态,垃圾填埋场无富余的水外渗。从而严格控制垃圾污染的范围局限于填埋场内,不至于污染外界环境。

标签:
固废
湖南 - 长沙 来源:北方有色网 2023-03-19
修复2, 2’, 4, 4’-四溴联苯醚污染土壤的方法

本发明公开了一种修复2, 2’, 4, 4’?四溴联苯醚污染土壤的方法,包括以下步骤:将农业固体废物与2, 2’, 4, 4’?四溴联苯醚污染土壤混合得到堆肥原料;在堆肥原料中加入脂肪醇聚氧乙烯醚,并接种红球菌属RAH1菌株,进行堆肥,完成对2, 2’, 4, 4’?四溴联苯醚污染土壤的修复。本发明利用农业固体废弃物修复2, 2’, 4, 4’?四溴联苯醚污染土壤,激发了土壤中土著微生物的潜力,使其在较短的时间内大量繁殖,微生物活性大大上升;并接种RHA1菌株,使其降解污染物的能力得到极大的提高,具有操作维护简单,运行成本低,环境风险小等优势。

标签:
固废
湖南 - 长沙 来源:北方有色网 2023-03-19
轻质空心隔墙板
轻质空心隔墙板 865     
 0

本发明涉及建筑材料技术领域,具体公开了一种轻质空心隔墙板,包括以下组分:组份A:固体废渣及粉煤灰,水泥,矿粉,氟石膏,其中各物料的重量百分比为:固体废渣及粉煤灰57-65%,水泥13-18%,矿粉10-15%,氟石膏12-16%;组份B:45-55%重量份的无水硫酸钠与45-55%十二水合硫酸铝钾的混合物;组份C:二水石膏;组份A∶B∶C的重量比为:1000∶0.5~2∶30~50。本发明的轻质空心隔墙板低碳环保、轻质、成型时间短、毒副作用小且具有良好的使用性能。

标签:
固废
湖南 - 长沙 来源:北方有色网 2023-03-19
金矿尾砂的利用方法
金矿尾砂的利用方法 1068     
 0

本发明涉及两种固体废弃物的回收利用方法。其步骤为:按质量比,金矿尾砂:废阴极炭块=1:(0.5‑3)配取物料并混合均匀;得到混合物A;按质量比,混合物A:碱溶液B=1:5‑10,将混合物A置于碱溶液B中,在设定温度下均匀搅拌至少4h,过滤,清洗、干燥处理后,在保护气氛中升温至1300‑1600℃并保温3‑10h;然后降温至600‑900℃,并在氧化气氛下除去残余炭,再经过酸洗,得到高纯碳化硅粉体。本发明所得碳化硅纯度高,粒径分布窄小,具有较大的工业运用价值。同时,以固体废弃物金矿尾砂和废旧阴极炭块为原料,在降低工业固体废弃物污染和处理费用的同时,还实现了资源再生使用。

标签:
固废
湖南 - 长沙 来源:北方有色网 2023-03-19
部分氧化法制备聚合硫酸铁的方法

本发明是以含三价铁废渣为原料制备聚合硫酸 铁PFS的工艺,将含三价铁矿石或者废渣用硫酸溶解得到的酸浸液中加入FeSO4调节盐基度,使用氯酸盐、双氧水或者硝酸强氧化剂氧化Fe2+即部分氧化法制备聚合硫酸铁。它减少了氧化剂用量,降低了生产成本;利用FeSO4调整PFS盐基度,保证了产品质量;所制得液体PFS铁含量高达14%以上,易蒸发浓缩、干燥得到固体PFS;用本发明生产聚合硫酸铁(PFS)用于处理生活废水及重金属废水效果好。

标签:
固废
湖南 - 长沙 来源:北方有色网 2023-03-19
地下金属矿山无排放生产方法

本发明提供这种地下金属矿山无排放生产方法包括井巷掘进、采场回采、废石在井下转移到采空区、矿石输送、选厂选矿、选矿废水分段回用、选矿尾砂还原采空区等主体工序。本发明地下金属矿山无排放生产方法是一种闭环清洁生产模式,只有产品输送出来,在矿山生产过程中产生的废石、尾砂与废水结合矿产品采、选生产工艺被全部利用,取消了矿山地表尾砂库和废石场,实现矿山固体废物和废水零排放,彻底消除了矿山固体废物与废水排放占用土地和对地表环境的污染。

标签:
固废
湖南 - 长沙 来源:北方有色网 2023-03-19
养殖舍以及养殖系统
养殖舍以及养殖系统 767     
 0

本发明属于动物养殖技术领域,公开了一种养殖舍以及养殖系统,养殖舍包括舍栏,舍栏包括侧栏和底板,底板为承台式底板,承台式底板与舍栏底面构成容置空间,舍栏内设有清洗装置,承台式底板的侧部与所述侧栏之间设有排污口;容置空间内设有搅拌装置和传输泵,通过传输泵将容置空间内的废污输送至废污处理模块,废污处理模块至少包括离心装置、废水处理子模块和固体废渣处理子模块;舍栏内布置有换热管,换热管的端部设有转接头,换热管可通过转接头分别与热水管道和冷水管道相连,热水管道和冷水管道分别与固体废渣处理子模块和液体废水处理子模块相连。如此,充分利用分离并处理的废水和废渣,提高经济效益和环境效益。

标签:
固废
湖南 - 长沙 来源:北方有色网 2023-03-19
污染源自动监测和清除设备

本实用新型公开了一种污染源自动监测和清除设备,包括机架主体、监测组件以及清除组件,机架主体设置有入料口、出料口以及输料通道,输料通道中设置有传送机构,用于输送固体废料;监测组件包括PH检测仪和显示器,PH检测仪位于输料通道的上下两侧,显示器安装在机架主体的顶部,PH检测仪的探头与固体废料表面接触,用于监测固体废料表面的有机污染源,显示器用于显示有机污染源的PH值;清除组件设置于输料通道的上下两侧且位于监测组件与出料口之间,清除组件用于清除固体废料表面的有机污染源。本实用新型提供的污染源自动监测和清除设备能够自动对固体废料表面的有机污染源进行有效监测和清除,全程无需人为参与,提高了效率,降低了误差率。

标签:
固废
湖南 - 长沙 来源:北方有色网 2023-03-19
铁基砷钝化材料的制备方法、由该方法制备得到的铁基砷钝化材料及其用途

本发明涉及一种铁基砷钝化材料的制备方法、由该方法制备得到的铁基砷钝化材料及使用其处理土壤、废水、废渣中砷污染的方法。所述制备方法包括如下步骤:将硅铝酸盐矿物与复合盐混合后进行焙烧处理;将焙烧后得到的焙烧渣粉碎后,进行水洗浸出,固液分离得到固体和液体;将固体与铁基材料和水混合后,在温度100~400℃下进行水热活化处理;将水热活化处理后的固体干燥得到铁基砷钝化材料。本发明的铁基砷钝化材料成本低,但是能够有效降低废水砷含量,固化土壤及废渣中砷的形态,降低砷的溶出率。此外,通过优化处理技术参数开发一条在废水、土壤及废渣中兼具良好效果,处理成本低廉、工艺简单、环保的修复产品制备工艺及技术路径。

标签:
固废
湖南 - 长沙 来源:北方有色网 2023-03-19
低灰炭质原料在制造预焙阳极中的应用

低灰炭质原料在制造预焙阳极中的应用,将低灰炭质原料作为生产预焙阳极的辅助原料,所述的低灰炭质原料选自低灰无烟煤、烟煤、竹炭、木炭、废塑料或废橡胶炭化后的残炭;或直接使用各种废塑料、废橡胶作为生产预焙阳极的辅助原料。本发明改变了多年来预焙阳极生产仅使用一种石油焦固体原料的局面,增添了多种价格较低炭质固体辅助原料,在保证预焙阳极产品质量的前堤下生产成本有较明显的降低。本发明还具有明显的环保节能重要意义。

标签:
固废
湖南 - 长沙 来源:北方有色网 2023-03-19
球团焙烧法制备高强轻集料的方法

本发明属于固体废弃物综合利用技术领域,公开了一种球团焙烧法制备高强轻集料的方法,包括S1、将固体废弃物进行破碎、细磨处理;S2、将经S1处理后的固体废弃物按一定比例进行配料,并加水混匀,得到混合料;S3、将S2获得的混合料进行造球,得到轻集料生坯,将生坯再进行筛分,筛选出粒径为5~16mm的生坯;S4、在台车上铺底料及边料,将S3中获得的合格粒度生坯进行布料、干燥、焙烧、冷却,得到焙烧球团;S5、对焙烧制得的球团进行筛分,粒径为5~16mm的焙烧球团为轻集料;本发明能够大量消纳固体废弃物,减少固体废弃物的堆存,采用直接焙烧,解决现有制备轻集料的工艺流程长、设备生产能力低和使用成本高的问题,适用于固体废物的回收利用。

标签:
固废
湖南 - 长沙 来源:北方有色网 2023-03-19
基于矿物相结构特征和重金属同异质属性判断微观结合作用的方法

本发明提供了一种基于矿物相结构特征和重金属同异质属性判断微观结合作用的方法,包括步骤:对待测重金属固体废物进行X射线衍射测试,获得所述矿物相结构特征;获取所述重金属元素在所述待测重金属固体废物中的元素形式,以确定所述重金属元素特性为同质属性还是异质属性;根据所述矿物相的结构特征以及所述重金属元素的同异质属性判断所述待测重金属固体废物中重金属元素和矿物相二者之间的微观结合作用。本发明与传统的实验表征方法相比,具有普适性强,流程简便、快速、准确的优势。

标签:
固废
湖南 - 长沙 来源:北方有色网 2023-03-19
农村面源污染治理工艺
农村面源污染治理工艺 1014     
 0

本发明公开了一种农村面源污染治理工艺,属于环境保护污染防治领域,包括固体废弃物收集、粪便污泥处理、农业废物处理、生活垃圾处理、混合处理、炭砖制备六个步骤,通过对农村固体废弃物进行无害化和资源化处理,避免固体废弃物对农村水源和空气的污染,且将固体废弃物从污染物转化为资源,实现资源最大化,本发明在进行固体废弃物处理时,采用的燃料是工艺本身产生的沼气,节省了能源,在整个工艺过程中实现外来零能耗,节约了成本,将工艺步骤紧密联系在一起,形成一个整体,互相作用,防止资源外泄,提高了固体废弃物的利用率。

标签:
固废
湖南 - 长沙 来源:北方有色网 2023-03-19
上一页 35 36 37 38 39 ... 53 下一页
共53页    到第

北方有色为您提供最新的湖南长沙有色金属固/危废处置技术理论与应用信息,涵盖发明专利、权利要求、说明书、技术领域、背景技术、实用新型内容及具体实施方式等有色技术内容。打造最具专业性的有色金属技术理论与应用平台!

全国热门有色金属设备推荐
展开更多 +
全国热门有色金属技术推荐
展开更多 +

 

江西省隆恩特环保设备有限公司
宣传

报名参会
更多+

报告下载

有色专家
更多+

西安建筑科技大学
教授
中南大学
院长/教授
中南大学
教授、博士生导师
中铝检测科技(郑州)有限公司/国家轻金属质量检验检测中心
正高级工程师
中南大学
教授
赤泥综合利用研究报告2025
推广

热门技术
更多+

推荐企业
更多+

福建省金龙稀土股份有限公司
宣传

发布

在线客服

公众号

电话

顶部
咨询电话:
010-88793500-807