青岛垚鑫智能科技有限公司
宣传

位置:中冶有色 >

有色技术频道 >

> 固/危废处置技术

分类:
全部
矿山技术
冶金技术
材料制备及加工技术
环境保护技术
分析检测技术
 
全部
废水处理技术
大气治理技术
固/危废处置技术
土壤修复技术
地区:
全部
北京
天津
上海
重庆
河北
山西
辽宁
吉林
黑龙江
江苏
浙江
安徽
福建
江西
山东
河南
湖北
湖南
广东
海南
四川
贵州
云南
陕西
甘肃
青海
内蒙
广西
西藏
宁夏
新疆
其他
其他
展开
 
全部
昆明
曲靖
玉溪
昭通
保山
丽江
普洱
临沧
德宏傣族景颇族自治州
怒江傈僳族自治州
迪庆藏族自治州
大理白族自治州
楚雄彝族自治州
红河哈尼族彝族自治州
文山壮族苗族自治州
西双版纳傣族自治州

云南昆明有色金属固/危废处置技术理论与应用

免费发布技术信息>>
铝电解废旧阴极炭块微波-超声波-碱浸协同除氟的方法

本发明公开了一种铝电解废旧阴极炭块微波‑超声波‑碱浸协同除氟的方法,涉及铝电解废旧阴极处理技术。所述方法主要包括破碎、微波焙烧、磨料、超声水浴碱浸、过滤分离五大步骤,先将废旧阴极炭块进行破碎,筛选得到颗粒,将其放入坩埚中,置于高温微波反应器中,在升温过程中通入氧气去除氰化物,再通入保护气体,进行微波高温焙烧;将经焙烧后的阴极炭块进行细磨,将细磨后碳粉倒入碱液中,通过超声辅助进行碱液浸出处理;浸出完成后进行分离过滤,固体物料通过干燥后获得纯度90%以上的再生碳粉。本发明方法可有效除去阴极炭块中的氟化物,使得炭块能够重复利用,该方法操作简单高效,可实现铝电解固体废弃物的无害化利用。

标签:
固废
云南 - 昆明 来源:中冶有色网 2023-03-19
从废催化剂回收铂的方法

从废催化剂回收铂的方法。方法步骤是:废催化剂在高温下焙烧;烧渣在盐酸溶液中加入含氯氧化剂浸出;锌粉置换;置换渣在盐酸溶液中加入含氯氧化剂溶解;溶液加固体氯化铵沉淀,煅烧得纯铂,纯度~99.9%,回收率97.8%。

标签:
固废
云南 - 昆明 来源:中冶有色网 2023-03-19
利用磷石膏还原产物处理有色冶炼废水的方法

本发明公开了一种利用磷石膏还原产物处理有色冶炼废水的方法,所述方法包括以下步骤:将还原剂与磷石膏混匀后,加入到密闭气氛中加热还原反应,得到固体还原产物,将固体还原产物加入到有色冶炼废水中,加热反应,过滤、洗涤后得到滤液和硫化渣。本发明的方法具有磷石膏原料易得、还原工艺成熟、流程简单、污酸治理成本等优点,还原产物用于处置污酸,脱出有害金属效率高。实现以废治废的目的,产业化前景好。一方面实现了磷石膏变废为宝,另一方面使有色冶炼废水得到有效处置,摒弃了传统加硫化钠处置方法存在处置后液钠离子高不能返回有色冶炼系统使用和石灰中和方法造成渣量大和二次处置费用高等问题。

标签:
固废
云南 - 昆明 来源:中冶有色网 2023-03-19
废石膏增强白度的方法
废石膏增强白度的方法 1159     
 0

本发明公开了一种废石膏增强白度的方法,该方法废石膏经过高温碳化后,不冷却直接放入水中骤冷破碎,在磁场存在、搅拌条件下进行水洗45‑95min,然后电场存在下,再搅拌水洗15‑75min,固液分离,固体干燥即得高白度的废石膏;本发明方法可以使得废石膏的白度≥92,解决了由于白度低而在某些领域受限的问题,进而提高废石膏的附加值;本发明方法还能去除废石膏中的大部分杂质,对废石膏中杂质含量无选择性,适用性广,处理时间短,处理效果高,无二次污染物,高效实现废石膏的资源化利用。

标签:
固废
云南 - 昆明 来源:中冶有色网 2023-03-19
磷化工含氟废液制备低浓度氢氟酸的方法

本发明公开了一种磷化工含氟废液制备低浓度氢氟酸的方法。所述方在磷化工含氟废液中加入NaF搅拌,反应结束后过滤,滤饼为Na2SiF6,滤液为2.9~8.4%的氢氟酸;然后在Na2SiF6滤饼中加入无机碱溶液搅拌,反应结束后,由于NaF溶解度小,且与SiO2密度相差较大,澄清后,NaF固体沉降在溶液下层,SiO2悬浮在溶液上层,二者界面清晰。NaF固体作为原料循环使用。本发明采用磷复肥行业含氟废水作为氢氟酸的生产原料,原料来源广泛,同时也治理了含氟废水;另外采用的氟化钠能够循环利用,节约成本。本发明方法能耗低,氢氟酸的生产温度小于100℃;本发明工艺简单,仅仅需要简单的搅拌及过滤就可满足工业生产。

标签:
固废
云南 - 昆明 来源:中冶有色网 2023-03-19
固定废弃物回收转运装置

本实用新型涉及废弃物回收转运领域,具体涉及一种固定废弃物回收转运装置,通过转运箱体对固体废弃物进行填装和转运,通过活动盖板使得转运箱体的打卡时填装废弃物和关闭时运输的作用,通过液压构件驱动滑块的滑动从而带动推送板沿导轨的长方向进行移动,从而使得推送板在转运箱体内滑动,通过推送板推动转运箱体内填装的固定废弃物的向左移动,使得固体废弃物在转运完成后需对固定废弃物移除转运箱体内时,通过推送板推送出转运箱体内,从而减少人工对废弃物移除清理的时间,进而提高了转运的生产效率。

标签:
固废
云南 - 昆明 来源:中冶有色网 2023-03-19
废旧抽油杆全组分的分离回收方法

本发明提供了一种废旧抽油杆全组分的分离回收方法,属于复合材料回收技术领域。将废旧抽油杆机械切割后在保护气体中进行微波热裂解,得到固体产物、低沸点产物和高沸点产物,将固体产物剥离,得到碳纤维组分和玻璃纤维组分后分别进行裂解残余物清除处理,分别得到回收碳纤维和回收玻璃纤维;将低沸点产物和高沸点产物分别进行冷凝,得到液体和气体产物,将气体产物净化后收集;将液体进行梯级分离后,收集有机物。本发明通过微波热裂解对废旧抽油杆的穿透加热作用,高效快速地实现废旧抽油杆中树脂基体的裂解,回收纤维产物、有机产物和气体产物,实现了废旧抽油杆全组分的分离回收,资源利用率高。

标签:
固废
云南 - 昆明 来源:中冶有色网 2023-03-19
用餐厨废弃物无污染制取生物柴油、生物甘油、生物腐植酸、生物乙醇、有机肥的方法

本发明针对用餐厨废弃物无污染制取生物柴油、生物甘油、生物腐植酸、生物乙醇、有机肥的方法。包含所有餐厨废弃物、地沟油、炒菜废油、煎炸废油和餐厨废弃物的收集脱油设备、硅藻土过滤机、纳米硅、腐植酸脂交换器、蒸馏设备、甘油分离设备,纯化设备、溶解釜、糖化釜腐植质化设备、乙醇罐、固液分离设备、催化设备、聚缩设备、好氧发酵罐。相比用不同的植物分别制取生物柴油、生物甘油、生物腐植酸、生物乙醇。将餐厨废弃物收集集中进行脱油处理,分离得到的油再去除水和其它杂质后与用不含油的餐厨废弃物提取的乙醇进行脂交换,纯化时分离出生物甘油和生物柴油;油渣分离得到不含油餐厨废弃物经腐植质化,同时得到含乙醇,腐植酸固液混合物,混合物经蒸馏分离出生物乙醇,脱乙醇混合物经固液分离,去除固形物的液体经催化、聚缩、纯化,得到生物腐植酸;固形物经发酵、干燥得到有机肥料。解决餐厨废弃物被作为二次资源一次性彻底利用,且没有废水,固体废弃物排放,属生物技术、新材料、新能源、节能环保产业,循环经济范畴。

标签:
固废
云南 - 昆明 来源:中冶有色网 2023-03-19
协同处置矿山重金属废水的矿山充填材料及其制备方法

本发明公开一种协同处置矿山重金属废水的矿山充填材料及其制备方法,属于废水、工业固体废弃物处置技术领域。本方法先将磷石膏在110‑180℃下煅烧2‑12h,得到半水石膏,后将赤泥、磷石膏、半水石膏、粉煤灰、石灰、激发剂、矿山重金属废水放入水泥搅拌机中搅拌5~40min,即得到充填矿井矿坑的充填材料;本发明制备的矿山充填材料成本低廉,操作简单,达到矿山充填要求,能够较好的利用工业大宗固体废弃物赤泥和磷石膏并且处置矿山重金属废水,废水中的重金属被固化稳定化。该矿山充填材料制备方法具有较好的经济效益和环保效益。

标签:
固废
云南 - 昆明 来源:中冶有色网 2023-03-19
彻底治理蔗糖厂废水的方法

本发明提供一种彻底治理蔗糖厂废水的方法,它包括下列工艺步骤:废醪液→中和调节→水膜除尘,同时部分中和后的废醪液→冷却沉淀→用作稀释剂,其特征在于循环用于水膜除尘后的过量废醪液用洗滤布水稀释后再进行常规水处理,其稀释比为洗滤布水∶废醪液=10∶1-4。本发明利用糖厂现有设备及工艺,无需增加投资,即可使处理的废水达到排放标准而不污染环境,或者再次利用而节约宝贵的水资源,同时处理所得的固体料可作为理想的化肥,彻底改变糖厂的污染形象。

标签:
固废
云南 - 昆明 来源:中冶有色网 2023-03-19
人工加速矿业废弃地立地条件重构的方法

本发明公开了一种人工加速矿业废弃地立地条件重构的方法,所述方法包括以下步骤:收集矿业废弃地的废土石破碎处理,并将农林固体废物干燥,接着将二者充分混合备用;将混合物在缺氧状态下进行共热解风化;将矿业废弃地进行平整翻耕,接着在上方覆盖冷却后的共热解风化产物得到覆盖层;在所得覆盖层中加入硅酸盐细菌,混合均匀,最后进行植物种植,即可。本发明将生物质与废土石共热解,不仅有效增加土壤有机碳含量,提高土壤肥力,而且加速废土石的风化,再通过硫酸盐细菌促进次生矿物中营养元素的释放。本发明通过人工加速矿业废弃地立地条件重构的方法,提高了土壤的营养元素含量,固硫固碳、稳定重金属,为进一步矿山复垦提供立地条件。

标签:
固废
云南 - 昆明 来源:中冶有色网 2023-03-19
利用废烟梗制造烟草栽培用纸的方法

利用废烟梗制造烟草栽培用纸的方法,是将废烟梗送入萃取装置中进行萃取,然后将物料进行固液分离,将分离得到的固体部分进行碎浆,将所得烟梗浆料输送至混合浆池,加入重量百分数为10%~20%的长纤维木浆、2%~5%的抗水剂和15%~20%的碳酸钙填料,再加水稀释,得到浓度为3%~3.5%的混合浆料;再将混合浆料再次加水稀释后送入造纸设备抄造成形并进行前干燥处理得到纸幅,将纸幅涂布后干燥处理,即获得本发明的烟草栽培用纸。本发明充分综合利用打叶复烤厂的下脚料,制造得到不仅具有较好的保温、保湿、遮光、透气性,又能促进烟苗生长、可降解、绿色环保的可替代塑料薄膜的烟草栽培用纸。

标签:
固废
云南 - 昆明 来源:中冶有色网 2023-03-19
四丁基锡生产废水的处理工艺

本发明为一种对生产四丁基锡过程中所排出的废水进行处理的工艺。具体工艺为:预处理、光催化/化学氧化、蒸馏结晶、光催化/化学氧化、酸碱中和。该发明不但工艺和设备制造简单,并且出水水质可达《污水综合排放标准》(GB1978-1996)冶金类二级排放标准,还能从废水中得到具有很大实用价值的MgCl2·6H2O固体,含量为废水的25%-35%,本发明效率高、成本低、操作方便,适合用于采用烷卤化工艺生产四丁基锡的废水的处理。

标签:
固废
云南 - 昆明 来源:中冶有色网 2023-03-19
绿色处理氮氧化物废气的方法

本发明公开了一种绿色处理氮氧化物废气的方法,该方法包括NOx废气的富集处理和NOx废气的SCR处理,富集处理包括以下步骤:于浸泡容器中配制缩水甘油醚的水溶液,将聚酰亚胺制的填料板放入浸泡,经75~85℃烘干,得到富集用填料;于排放废气的管路中放入富集用填料,且富集用填料的横截面与排放废气的管路的横截面等同;SCR处理时,将富集废气后的富集用填料放入SCR体系中处理;SCR处理结束后,向SCR反应体系中通空气置换气体,取出聚酰亚胺制的填料板,调节SCR反应体系的pH为5.5并加入FeCl3和乙醇至完全析出固体,过滤取滤液滴NaOH水溶液至完全析出固体,能富集NOx废气再集中处理。

标签:
固废
云南 - 昆明 来源:中冶有色网 2023-03-19
处理含重金属废水膜过滤浓缩液的方法

本发明提出了一种含重金属废水膜浓缩液的处理方法,涉及环境保护技术领域,特别涉及冶金和矿山行业含重金属废水膜浓缩液的处理。含重金属废水膜浓缩液被收集后,进入到膜蒸馏系统循环处理,达到一定的浓缩倍数后进入高效蒸发系统。膜蒸馏系统和高效蒸发系统产生的淡水收集后回用,产生的结晶固体综合利用或再处理。该工艺操作方便、节能、占地面积小、环境污染小、处理成本较低,具有广泛的应用前景,能够实现含重金属废水膜浓缩液的“零”排放,从而真正达到含重金属废水处理的“零”排放。

标签:
固废
云南 - 昆明 来源:中冶有色网 2023-03-19
用于废旧电池物理放电及热收集的装置

本实用新型公开了一种用于废旧电池物理放电及热收集的装置,包括反应仓、分离仓和收集仓,其特征在于:所述反应仓下端固定连接分离仓,分离仓下端固定连接收集仓;所述反应仓内安装若干根集热管;所述反应仓和分离仓交界处设置有拆卸安装的活板,分离仓内拆卸安装筛网抽屉,收集仓内拆卸安装收集抽屉。本实用新型使用固体导电介质避免了使用溶液造成的污染;能够迅速吸收并带走产生的热量;安装了若干温度传感器,当温度过高时能够及时报警;通过分离仓能够将废旧电池与固体导电介质分离,分离后的固体导电介质进入收集抽屉内,可进行重复利用;本设计能够完成对废旧电池进行放电的任务,同时降低安全隐患,减少污染,对能量进行充分利用。

标签:
固废
云南 - 昆明 来源:中冶有色网 2023-03-19
铜冶炼高砷废水的处理方法

本发明涉及一种铜冶炼高砷废水的处理方法,属于环境保护与冶金化工技术领域。首先将铜冶炼高砷废水进行静置沉淀,向沉淀完成后的铜冶炼高砷废水中通入H2O2进行氧化反应,然后向经上述步骤处理过的铜冶炼高砷废水中加入石灰乳反应,继续加入絮凝剂反应3~5min,然后进行固液分离得到固体混合物和清液,清液加清水稀释至中性后排出,最后将得到的固体混合物进行压滤后得到滤液和污泥,污泥即能排出。本发明为酸性废水的处理提供一种新方法,减少环境污染,降低成本,简化工艺流程。

标签:
固废
云南 - 昆明 来源:中冶有色网 2023-03-19
钨废料回收制备钨酸钠的方法

本发明涉及一种钨废料回收制备钨酸钠的方法,属于钨的提纯技术领域。本发明所述方法首先将钨废料磨细,备用;将磨细后的钨废料与固体强氧化剂混合均匀,然后进行焙烧,焙烧后的物料用去离子水进行浸出,浸出后得到钨酸钠溶液和未溶含钨废料;过滤后得到钨酸钠溶液和未溶含钨废料。本发明所述方法采用固体强氧化剂对钨合金废料进行溶解,溶解后得到的钨酸钠存在于碱性条件中是较为稳定的,并且使用固体强氧化剂溶解钨合金废料反应过程比较温和、危险性小、易操作。

标签:
固废
云南 - 昆明 来源:中冶有色网 2023-03-19
铂贵金属废水零排放处理方法

本发明属于废水处理领域,具体涉及一种铂贵金属废水零排放处理方法。具体包括将所述酸三级废水缓慢滴加到碱液废水中,不断搅拌,控制pH,陈化,然后进行固液分离,得到固体A和废液B;所述固体A经过干燥、焙烧,得到催化剂;将催化剂分为催化剂C和催化剂D;将废液B在蒸发器中进行蒸发处理,其中将得到的催化剂C添加到蒸发器中,搅拌蒸发,得到的蒸气通入酸溶液中,经酸处理的蒸汽通入碱溶液中,经碱处理的蒸汽通过在换热器与冷却水换热后得到蒸汽冷凝水,将不凝气通入含有催化剂D的反应管中,溶液完全蒸发结晶得到杂盐;进而实现废气的完全净化。本发明的方法可以实现资源的有效利用,节约成本,实现废水的零排放。

标签:
固废
云南 - 昆明 来源:中冶有色网 2023-03-19
电渗析-高效蒸发处理矿冶废水膜过滤浓缩液的方法

本发明涉及一种电渗析-高效蒸发处理矿冶废水膜过滤浓缩液的方法,属于环境保护技术领域,特别是冶金和矿山行业含重金属废水膜浓缩液的处理。本发明技术特点是含重金属的矿冶废水深度处理过程中的膜浓缩液被收集后,进入到电渗析系统进行进一步浓缩处理,达到一定的浓缩倍数后再进入高效蒸发系统进行处理。电渗析和高效蒸发产生的淡水收集后回用或排放,产生的结晶固体物进行资源综合利用或再处理。该工艺操作方便、节能、占地面积小、无环境污染、处理成本较低,具有广泛的应用前景,能够实现含重金属膜处理浓盐水的“零”排放,从而真正达到含重金属废水处理的“零”排放。

标签:
固废
云南 - 昆明 来源:中冶有色网 2023-03-19
废砂炉渣复合材料及其生产方法

废砂炉渣复合材料及其生产方法,是使废砂、炉 渣、废纤维、废轮胎等工农业固体废弃物再生,活化后 作为骨料,以废塑料薄膜为粘接剂,配以少量添加剂, 经微塑化制团,在150-300℃温度下合成,再经表面 处理而成的一种贵金属材料。这种材料具有良好的 综合机械性能和锯、钻、钉等加工性能,能防水、防腐, 易成型。可用来制造建筑模板、波纹板、板材、管材、 型材以及各种工农业和生活用品。

标签:
固废
云南 - 昆明 来源:中冶有色网 2023-03-19
废旧三元锂离子电池正极材料中镍钴锰的回收方法

本发明涉及一种废旧三元锂离子电池正极材料中镍钴锰的回收方法,属于锂电池固体废物的资源化利用领域。本发明将干燥的晶硅废料与废旧三元锂离子电池正极材料共同研磨得到混合粉,混合粉压制成块状料;将块状料置于电阻炉中进行还原熔炼,熔炼结束后随炉冷却,分离金属合金锭与渣块。本发明采用晶硅废料还原废旧三元锂离子电池正极材料,充分回收了正极材料中的镍钴锰,其流程短,工艺简单可靠且易于操作,制备过程成本低,使用一种固体废物处理另一种固体废物,使废物得到充分利用,实现以废治废,能够用于大规模生产,具有工业化潜力,回收效果较好,回收得到的镍钴锰合金具有较高价值。

标签:
固废
云南 - 昆明 来源:中冶有色网 2023-03-19
有机废弃物的无害盐化处理方法

本发明提供一种有机废弃物的无害盐化处理方法,其特征在于包括以下步骤:1)将固体工业盐与有机废弃物按1‑2︰1的质量比混合均匀,之后静置24‑72小时;2)将混合物破碎至5‑50mm后筛分,分离出有机废弃物和工业盐,分离出的有机废弃物摊晾风干2‑7天,得风干物,分离出的工业盐返回步骤1)参与混合;3)将风干物于1000‑1400℃下焚烧处理,或者直接作为有机肥料使用。从源头保持易腐败、易发臭的有机废弃物呈固体形态,杜绝有机废弃物产生有毒、有害的废水、废气,消除二次环境污染的隐患,工艺流程简单、高效、操作性强、设备投资少、防腐剂可循环使用,大幅延长有机废弃物的储存时间,降低处理成本。

标签:
固废
云南 - 昆明 来源:中冶有色网 2023-03-19
微波处理废水的方法
微波处理废水的方法 1593     
 0

本发明是一种微波处理废水的方法,其特征在于在待处理的生活和工业废水中加入试剂进行预处理,使被处理废水pH=7,让其进入微波场中,在微波场的作用下使废水中的污染物迅速产生物化反应与水分离,经微波场出来的固液二相流经固液分离器将液体和固体分开。本发明能使废水处理工程小型分散化,堵住污染源头,大大减少现行废水处理工程占地面积,节省现行污水处理工程建设的巨大耗资,实现废水处理工程的实用、高效、节能、低运行费用。

标签:
固废
云南 - 昆明 来源:中冶有色网 2023-03-19
工业废酸与磷石膏综合利用的方法

本发明提供一种工业废酸与磷石膏制备硫酸钙晶须的方法,通过将磷石膏与工业废酸进行混合,并用氨水调节溶液的pH值后搅拌;再将溶液立即进行过滤,将滤液冷却,使晶体全部析出,对晶体的表面进行常规稳定化处理;然后干燥,即得到硫酸钙晶须。所得硫酸钙晶须直径为1~4μm,长度50~200μm,莫氏硬度为3~4,抗拉强度为20.5Gpa,弹性模量为178GPa,折光指数1.585。利用了工业废酸和固体废物磷石膏,两种工业中的废物都得到利用,达到以废治废的目的;减少了天然石膏的开采,节约了资源,同时还降低了硫酸钙晶须的生产成本;对于原料磷石膏与工业废酸的成分没有严格的限制,适用范围广、条件宽,工艺比较简单。

标签:
固废
云南 - 昆明 来源:中冶有色网 2023-03-19
蔬菜废弃物腐熟菌剂及其使用方法和所制有机基质

本发明提供了一种蔬菜废弃物腐熟菌剂及其使用方法和所制有机基质,该腐熟菌剂由以下重量百分比的原料制成:解纤维梭菌固体菌剂10‑15%、白地霉固体菌剂8‑12%、纳豆芽孢杆菌固体菌剂5‑10%、草酸青霉固体菌剂3‑6%、胶质芽孢杆菌固体菌剂2‑5%、产朊假丝酵母固体菌剂2‑5%,余量为辅料。腐熟菌剂的使用方法包括以下步骤:(1)蔬菜废弃物碎,然后加入秸秆粉碎料、油菜籽饼粉,碳氮比、含水量调整;加入腐熟菌剂,搅匀;(2)发酵,得发酵料;有机基质由以下方法所制备得到:将发酵料与草炭土、腐熟牛粪、膨胀珍珠岩粉、沼渣混合均匀;本发明腐熟菌剂中可使蔬菜废弃物快速分解,发酵周期短,降解率高,制备的有机基质可有效提高农作物的产量和品质。

标签:
固废
云南 - 昆明 来源:中冶有色网 2023-03-19
螺旋藻废水处理工艺
螺旋藻废水处理工艺 1019     
 0

本发明涉及水、含盐废水、污水或污泥的处理方法,特别涉及螺旋藻生产过程中产生的高盐废水的处理方法。本发明是通过以下步骤来实现:螺旋藻废水在调节池入口经粗滤网回收螺旋藻后进入调节池,在调节池内调节水质水量,通过泵到硅藻土过滤机,除去固体物质后,进入中间池,通过泵到过滤系统,进一步过滤除更小固体及生物,过滤后的螺旋藻废水进入消毒系统,杀灭微生物和藻类单孢,再进入电渗析装置,得到淡盐水和浓盐水,淡盐水流入淡盐水系统,浓盐水流入浓盐水池,经干化处理后渣外运填埋,螺旋藻废水的整个处理工艺之间通过输送管道连接。本发明主要是物理化学方法,该工艺能量消耗不高,水的利用率较高,药剂耗量少,对原水含盐量变化适应性强,操作简单,易于实现机械化、自动化,设备紧凑耐用,占地少,排放系统管线短,易于维护。

标签:
固废
云南 - 昆明 来源:中冶有色网 2023-03-19
同时脱除湿法炼锌废电解液中多种杂质离子的方法

本发明涉及一种同时脱除湿法炼锌废电解液中多种杂质离子的方法,属于有色金属冶金领域。将湿法炼锌废电解液通过换热器预冷,再将预冷后的溶液加入带搅拌装置的除杂反应釜中换热降温至‑15~0℃,降温过程中加入晶种,反应20~60min,将溶液中的铅、钙、硅、氟和锑等杂质成份以固体结晶产物的形式沉淀析出,反应结束后快速将含有杂质成份的固体产物分离,获得脱除杂质后的电解液。本方法是在不改变湿法炼锌废电解液主体成份的前提下,从含高浓度硫酸的废电解液中同时直接分离出铅、钙、硅、氟和锑等杂质,脱除杂质后的电解液满足锌电解沉积杂质浓度的要求,具有工艺流程短、操作简单、试剂消耗量少、杂质离子脱除效率高等优势。

标签:
固废
云南 - 昆明 来源:中冶有色网 2023-03-19
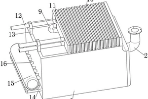
热法磷酸生产燃磷高效废热回收新设备

本实用新型提供热法磷酸生产燃磷高效废热回收新设备,涉及废热回收新设备技术领域,包括装置外壳,所述装置外壳的一侧固定连通有通气管,所述装置外壳的内部顶面固定连接有挡板。本实用新型中,在使用中,废气从通气管进入,然后通过挡板阻拦,废气到达装置外壳的内部底部位置,然后废气经过过滤板过滤,过滤之后的废气最后通过换热器主体从排气管排出,从而把废气运往其他设备上面进行使用,而经过过滤板过滤固体,从而防止换热器主体内部会残留固体杂质,解决现在废热通过换热器进行废热回收时废气中的固体会导致换热器损坏的问题,而挡板可以提供第一次过滤,当废气进入时,通过挡板阻拦一部非较大的固体。

标签:
固废
云南 - 昆明 来源:中冶有色网 2023-03-19
含砷废水的超临界水处理方法

本发明涉及一种含砷废水的超临界水处理方法,属于废水处理领域。本发明将氧化剂、含砷废水、添加剂加入到高温高压反应釜中得到反应体系,在密闭条件下,对反应体系升温加压至反应体系达到超临界状态,反应8~115min得到反应产物体系;当超临界状态的温度为460~630℃时,迅速泄压,反应产物体系气固液分离,釜体内固体产物为金属氧化物,气体产物冷却,三氧化二砷由气体转变成固体沉降下来,而液体产物为硝酸的溶液;当超临界状态的温度为385~460℃(不含460℃)时,高温高压反应釜内的反应产物体系降温至温度为100℃以下,通入二氧化硫废气反应得到固体产物和液体产物,固液分离得到固体三氧化二砷和液体产物,其中液体产物为含有金属阳离子的混合酸溶液。

标签:
固废
云南 - 昆明 来源:中冶有色网 2023-03-19
上一页 33 34 35 36 37 ... 41 下一页
共41页    到第

中冶有色为您提供最新的云南昆明有色金属固/危废处置技术理论与应用信息,涵盖发明专利、权利要求、说明书、技术领域、背景技术、实用新型内容及具体实施方式等有色技术内容。打造最具专业性的有色金属技术理论与应用平台!

全国热门有色金属设备推荐
展开更多 +
全国热门有色金属技术推荐
展开更多 +

 

江西省隆恩特环保设备有限公司
宣传

报名参会
更多+

报告下载

有色专家
更多+

昆明理工大学
教授
长沙矿冶研究院
总经理
中南大学
院长/教授
西北有色金属研究院、中国工程院
院士
长沙有色冶金设计研究院有限公司
党委书记、董事长
赤泥综合利用研究报告2025
推广

热门技术
更多+

推荐企业
更多+

福建省金龙稀土股份有限公司
宣传

发布

在线客服

公众号

电话

顶部
咨询电话:
010-88793500-807