青岛垚鑫智能科技有限公司
宣传

位置:中冶有色 >

有色技术频道 >

> 加工技术

分类:
全部
矿山技术
冶金技术
材料制备及加工技术
环境保护技术
分析检测技术
 
全部
功能材料技术
复合材料技术
新能源材料技术
合金材料技术
加工技术
地区:
全部
北京
天津
上海
重庆
河北
山西
辽宁
吉林
黑龙江
江苏
浙江
安徽
福建
江西
山东
河南
湖北
湖南
广东
海南
四川
贵州
云南
陕西
甘肃
青海
内蒙
广西
西藏
宁夏
新疆
其他
其他
展开
 
全部
南昌
九江
上饶
抚州
宜春
吉安
赣州
景德镇
萍乡
新余
鹰潭

江西宜春有色金属加工技术理论与应用

免费发布技术信息>>
具有净化除杂的碳酸锂生产用原料粉碎装置

本发明公开了一种具有净化除杂的碳酸锂生产用原料粉碎装置,包括箱体、转轴和磨盘,所述箱体的顶部固定有进料口,且进料口的左右两侧设置有电动伸缩杆,所述电动伸缩杆的底部安装有拉杆,且拉杆的底部连接有安装板,所述安装板的左右两侧通过卡槽与箱体相连接,且安装板的内侧设置有筛网,所述转轴贯穿箱体与电机相连接,且转轴的右侧固定有锥形齿轮,所述磨盘的顶部安装有连接杆,且磨盘的底部安装有凸块,所述箱体的内壁开设有凹槽,且箱体的底部设置有出料口。该具有净化除杂的碳酸锂生产用原料粉碎装置,设置有筛网,且筛网与安装板为卡合连接,不仅便于筛网的安装,还可以对放入的碳酸锂原料进行过滤除杂,使得原料更好的被粉碎。

标签:
加工技术
江西 - 宜春 来源:中冶有色网 2023-03-18
锂云母尾矿筛选装置
锂云母尾矿筛选装置 870     
 0

本实用新型提供一种锂云母尾矿筛选装置,属于矿石筛选技术领域,包括筛选机、操作面板、进料斗和支撑杆,操作面板固定连接于筛选机前端的一侧,进料斗连通设置于筛选机的顶部,支撑杆分别固定连接于进料斗的左右两侧,筛选机下端的左右两侧均设有焊接架,且焊接架的顶部分别与筛选机固定连接,焊接架的一侧均设有支撑座。该种锂云母尾矿筛选装置通过结构的改进,使本装置在实际使用时可对锂云母尾矿进行多层次的振动筛选,提升了对矿石筛选的细致层度,筛选质量高,并且本装置在实际使用时可有序的使矿石进行排出,可避免上端下落的矿石对下端的矿石造成极大的压迫,进而保护矿石不会被压碎,有利于对矿石的收集。

标签:
加工技术
江西 - 宜春 来源:中冶有色网 2023-03-18
多卷芯锂离子电池结构

本实用新型属于涉及锂离子电池的技术领域,尤其涉及一种多卷芯锂离子电池结构。本实用新型要解决的技术问题是提供一种充分利用空间,增加能量密度的多卷芯锂离子电池结构。一种多卷芯锂离子电池结构,包括有第一卷芯、活性物质层、胶纸层、离心纸层、第二卷芯和第三卷芯;所述第一卷芯为正极收尾,且一侧涂有活性物质层;所述第二卷芯为正极收尾,且两侧均涂有活性物质层;所述第三卷芯为负极收尾,且两侧均涂有活性物质层。本实用新型不会浪费活性物质,浪费空间,而又能最大限度的增加能量密度。

标签:
加工技术
江西 - 宜春 来源:中冶有色网 2023-03-18
锂电池制备用电解液收集处理装置

本实用新型公开了一种锂电池制备用电解液收集处理装置,包括工作台、伺服电机和紧固螺栓,所述工作台上开设有开孔,且开孔的内侧设置有隔离网,所述工作台的下方设置有安装块,且安装块的内侧设置有收集筒,所述工作台的上方安装有支撑环,且支撑环的上端开设有连接槽,所述驱动齿轮的下方安装有伺服电机,且驱动齿轮通过连接齿块与切割环相互连接,所述切割环的上方设置有横板,且横板的下方安装有安装套筒,并且安装套筒上设置有紧固螺栓。该锂电池制备用电解液收集处理装置,能够根据不同型号的锂电池的直径对其进行夹持固定,同时切割刀能够贴合在锂电池的外侧根据锂电池的直径进行自适应调整,因而方便对锂电池进行拆卸。

标签:
加工技术
江西 - 宜春 来源:中冶有色网 2023-03-18
锂离子电池生产用电解液注射装置

本发明公开了一种锂离子电池生产用电解液注射装置,涉及锂电池生产设备技术领域,具体为一种锂离子电池生产用电解液注射装置,包括承载架,所述承载架内腔底部的左侧设置有锂电池,所述承载架内腔左侧的顶部固定安装有固定框,所述固定框的内腔中安装有负压球,所述负压球的右端安装有负压管。该锂离子电池生产用电解液注射装置,通过转动转轮,能够使得第一驱动齿轮转动,从而带动辅助齿轮与联动齿轮转动,进而使得驱动板进行上升与下降的运动,通过与连接杆、驱动板之间相互配合,可以实现活塞吸取和注射新的电解液,利用两个注射管可以同时为锂电池的两个单元同时注入电解液,大大的提高了该装置的注射效率。

标签:
加工技术
江西 - 宜春 来源:中冶有色网 2023-03-18
高塑性锂电池软包薄膜及其制备方法

本发明涉及一种高塑性锂电池软包薄膜及其制备方法,所述高塑性锂电池软包薄膜包括铝箔层,所述铝箔层的上表面通过耐候性胶水层复合有PVDF薄膜层,铝箔层的下表面通过粘着剂层复合有普通PET薄膜层。本发明的高塑性锂电池软包薄膜采用热复合工艺将PVDF薄膜层和PET薄膜层复合在铝箔层的两个表面上,整体厚度薄,重量轻,延展性能好;改性耐酸碱PET薄膜作为内层,为锂电池提供了良好的热封性能、良好的剥离强度和耐化学特性,有效的保护铝箔不被电解液腐蚀;外层采用PVDF薄膜层,保护铝箔不被外界硬物等损坏;本发明的高塑性锂电池软包薄膜通过冷压成型工艺可制作成各种大小和形状的锂电池外壳,这就大大提高了该发明的广泛的应用范围。

标签:
加工技术
江西 - 宜春 来源:中冶有色网 2023-03-18
防破裂锂电池安全盖帽
防破裂锂电池安全盖帽 1052     
 0

本实用新型公开了一种防破裂锂电池安全盖帽,涉及电池技术领域,包括密封圈、顶盖和防裂片。所述密封圈的外侧设置有钢壳,密封圈的内部从上往下依次设置有顶盖、正温度系数热敏电阻、防裂片以及铝板,所述顶盖上环形分布数个排气孔,顶盖上表面连接数条加强筋,所述加强筋用来防止因气体压力过大造成的顶盖破裂,所述密封圈的内侧设置有挡块,所述挡块位于顶盖与密封圈连接处的上方,挡块用来阻止顶盖被气体冲出锂电池。当电池内部发生短路产生大电流以及气体时,本实用新型能够快速将气体排出锂电池并隔断电流,有效避免锂电池发生破裂。

标签:
加工技术
江西 - 宜春 来源:中冶有色网 2023-03-18
改良了连接结构的锂离子电池组

本实用新型涉及一种改良了连接结构的锂离子电池组,其包括:两个以上的锂离子电池、框体、多个弹性装置,所述框体由四个连杆相互铰接而成,两个以上的所述锂离子电池组位于所述框体内,所述弹性装置包括弹性板、固定板,所述弹性板连接在所述连杆上,所述弹性板的一个端部可滑动地连接在所述固定板上,所述固定板抵靠在所述锂离子电池上。

标签:
加工技术
江西 - 宜春 来源:中冶有色网 2023-03-18
锂电池极片分切设备
锂电池极片分切设备 1052     
 0

本实用新型公开了一种锂电池极片分切设备,包括限位板、上刀轴、下刀轴和电机,将限位板向内或向外推动,使第一板件和第二板件沿着第一导轨相互重合或分离开,从而将锂电池极片的位置限制在限位板之间,减少锂电池极片在切片过程中发生偏移,不需要人工将极片进行限位,从而减少人员的浪费和减少因为位置的偏移残次品的出现;将同一个分切刀两边的刀刃设置成不同宽度,这样可在同一个分切刀进行分切正负极极片,从而避免经常进行更换分切刀工作,使正负极极片分切工作更加便捷;本实用新型通过电机的输出轴通过皮带轮带动主动轮转动,从而上刀轴和下刀轴相向运动,通过刀刃与刀轴之间的剪切作用实现对锂电池极片的分切。

标签:
加工技术
江西 - 宜春 来源:中冶有色网 2023-03-18
连续化锂电池浆料搅拌装置

本实用新型涉及一种连续化锂电池浆料搅拌装置,其包括釜体、位于所述釜体内部沿竖直方向由上向下依次排列的能使流体产生斜向下流向的第一搅拌桨、能使流体产生径向流动的第二搅拌桨和能使流体产生斜向上流向的第三搅拌桨,和出料口,所述出料口位于所述釜体上第一搅拌桨和第三搅拌桨所处的平面之间;采用本实用新型所述连续化锂电池浆料搅拌装置能有效避免锂电池浆料混合过程中由于物料密度差出现的沉降问题,同时实现连续化操作,提高锂电池浆料搅拌混合的效率。

标签:
加工技术
江西 - 宜春 来源:中冶有色网 2023-03-18
电解熔融锂盐产生的氯气吸收前处理系统

本实用新型公开一种电解熔融锂盐产生的氯气吸收前处理系统,包括循环冷却洗涤系统和管道冷却系统,循环冷却洗涤系统和管道冷却系统均流通有循环液,循环冷却洗涤系统包括依次连接的循环液槽、循环液冷却器、洗涤冷却塔和沉降槽,管道冷却系统包括依次连接的氯气管道、循环冷却水管和循环冷却水器,氯气管道末端设有用于输出氯气的氯气出口。本实用新型的一种电解熔融锂盐产生的氯气吸收前处理系统经过前处理后的氯气大幅度降温,使吸收过程烧碱消耗量减少和能源消耗降低,次氯酸钠分解率降低,产品收率高;洗涤冷却塔能够沉降大量熔融盐、固体氯化锂和氯化钾,既避免腐蚀管道和污染次氯酸钠产品,也能回收含锂化合物,降低物料损失,节省成本。

标签:
加工技术
江西 - 宜春 来源:中冶有色网 2023-03-18
碳酸锂生产用的热解反应釜

本实用新型涉及碳酸锂生产领域,具体为一种碳酸锂生产用的热解反应釜,包括固定板和反应釜外壳,所述反应釜外壳的顶部分别固定连接有进料管和排气管,所述进料管的顶部活动连接有盖板,所述盖板的顶部固定连接有把手,所述盖板的底部固定连接有定位柱,所述反应釜外壳的顶部固定连接有定位筒。该碳酸锂生产用的热解反应釜,通过设置的反应釜外壳、进料管、加热块、反应釜内壳、电机板、电机杆、电机、搅拌轴和搅拌杆,搅拌杆可以使该热解反应釜具备搅拌结构,使碳酸锂在生产的过程中可以搅拌的更加均匀,有效的提高了碳酸锂生产的质量,使人们使用起来更加的省心,进一步的满足了人们的使用需求,给人们的工作带来了便利。

标签:
加工技术
江西 - 宜春 来源:中冶有色网 2023-03-18
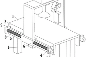
锂带厚度在线检测装置

本实用新型公开了一种锂带厚度在线检测装置,包括测量装置和显示控制装置,测量装置包括底座、C形架、至少两个上激光探头和至少两个下激光探头,C形架的纵向截面为“C”形,C形架可拆卸固定于底座上,上激光探头横向位置可调式左右间隔排列设置于C形架的上延伸臂的下表面上,下激光探头横向位置可调式左右间隔排列设置于C形架的下延伸臂的上表面上,上激光探头与下激光探头的位置上下一一对应,上激光探头和下激光探头均与显示控制装置连接,待检测锂带沿前后方向穿设于上激光探头与下激光探头之间。本实用新型的一种锂带厚度在线检测装置,能够有效地实现锂带厚度的多点在线检测,有效地控制锂带的生产质量。

标签:
加工技术
江西 - 宜春 来源:中冶有色网 2023-03-18
废旧锂电池回收拆解用分离装置

本实用新型公开了一种废旧锂电池回收拆解用分离装置,包括工作台、拆解壳体、推料机构、分料隔板和刮刀,所述工作台顶端的一侧安装有拆解壳体,且拆解壳体的内部设置有推挤通道,所述推挤通道的上方设置有进料斗,进料斗与拆解壳体相连通,且进料斗的底端的拐角位置处皆焊接有支架,支架的底端与工作台的顶端固定连接,所述底端的两侧皆固定有分料隔板,且分料隔板的顶端设置有锂电池本体,所述拆解壳体顶端的一侧设置有分离开口,且拆解壳体底端的一侧设置有落料口。本实用新型不仅提高了锂电池本体的拆解效率,实现了锂电池本体正负极的快速分离功能,而且实现了锂电池本体拆解时有害粉尘的处理功能。

标签:
加工技术
江西 - 宜春 来源:中冶有色网 2023-03-18
内置锂电式多功能照明装置

本实用新型适用于照明装置技术领域,公开了一种内置锂电式多功能照明装置,包括灯座,所述灯座的前端连接有透光罩,所述灯座的后端设置有螺旋连接座,所述灯座内设置有锂电池和电路板,所述灯座内设置有灯板,所述灯板上设置有多个LED芯片,所述灯板和所述锂电池均电连接于所述电路板,所述电路板通过导线连接于所述螺旋连接座,所述灯板的背面设置有散热器,所述散热器一体连接于所述灯座,所述灯座的一侧具有电源输出接口。本实用新型所提供的一种内置锂电式多功能照明装置,当停电时,锂电池除了给LED芯片供电,也可以通过电源输出接口给手机等充电,便于用户的使用。

标签:
加工技术
江西 - 宜春 来源:中冶有色网 2023-03-18
两用可调节式锂电池测试工装

本实用新型公开了一种两用可调节式锂电池测试工装,包括底座、上连接口和连接线,所述底座上设置有移动杆,所述移动杆两侧安装有固定扣,所述移动杆上印刷有刻度标记,所述移动杆上还连接有滑动块,所述滑动块上方设置有滑动轮,所述固定突起中间固定有弹簧顶块,所述控制PLC上设置有指示灯。该两用可调节式锂电池测试工装设有移动杆,能够使滑动块在其上任意移动,使该工装能够适用与各种长度的圆柱形锂电池的检测,连接杆为可拆卸装置,可将其从第二安装槽拆下装载第一安装槽内,从而使两侧固定突起呈水平分布,从而可以用来检测方形锂电池,使该测试工装能够对两种锂电池都能进行检测,无需另外购置专用工装,节约了生产成本。

标签:
加工技术
江西 - 宜春 来源:中冶有色网 2023-03-18
用于沉淀和清洗碳酸锂的装置

本实用新型公开了一种用于沉淀和清洗碳酸锂的装置,涉及碳酸锂技术领域,包括沉淀罐,所述沉淀罐的底部连接有底座,且沉淀罐的顶部插入有进料管,所述进料管的正面安装有水阀。本实用新型中,将碳酸锂与水放置进清洗罐内部后,启动搅拌电机,使得搅拌电机带动搅拌轴进行旋转,搅拌轴外侧的搅拌叶即可对碳酸锂与水进行一同搅拌,从而对碳酸锂进行清洗,清洗好后,停止搅拌电机,使得碳酸锂在清洗罐内部进行沉淀,沉淀时,碳酸锂内部密度较小的杂物则会浮在水面上,再将水塞取出,使得清洗罐上半部分的水从排水管流入蓄水槽,同时浮在水面上的杂物会一同流出,使得可以剔除碳酸锂内部的部分杂物,防止再次与碳酸锂混合。

标签:
加工技术
江西 - 宜春 来源:中冶有色网 2023-03-18
性能优异的宽温锂锰电池及其制备方法

本发明公开了一种性能优异的宽温锂锰电池及其制备方法,包括正极片和字壳,正极片固定套接在字壳的一端内壁,字壳的另一端内壁固定套接负极盖,负极盖的内壁固定连接负极锂带,正极片与负极锂带间的字壳内固定安装隔膜,隔膜两侧填充电解液,将二氧化锰在高温下进行晶转型改性,然后与聚四氟乙烯、石墨、乙炔黑、食用胶等按配比进行混合、造粒、打片,得到二氧化锰正极片;将锂盐、低粘度低熔点溶剂和高沸点低蒸汽溶剂按配比均匀混合,并加入阻燃剂,得到电解液;通过自动组装线装配将正极片、负极锂带、隔膜、电解液、字壳、负极盖进行组装,生产出锂锰扣式电池。增加了其宽温特性,使其在较低或者较高的温度还能保持容量。

标签:
加工技术
江西 - 宜春 来源:中冶有色网 2023-03-18
长循环锂离子电池负极材料的制备方法

本发明提供一种长循环锂离子电池负极材料的制备方法,其是以废弃的石墨化辅料为原材料,即以石墨化生产过程中产生的废弃辅材如报废电阻料、坩埚碎料、电极碎料等为碳材料,先对其进行破碎、磨粉、整形、除磁等工艺处理,从而可初步达到作为锂离子电池负极材料使用的标准。因其在作为石墨化辅材使用过程中一同经历了石墨化过程,因此在将其转化为锂离子电池负极材料的过程中不需要再次进行石墨化,这就使得材料具有极高的性价比,最终得到的低成本的长循环功能的锂离子电池负极材料,兼具有良好的充放电及长循环性能。本发明采用上述的原料与工序达到锂离子电池制造和使用的要求,并且用本工艺制造的电池还具有优良的循环性能,同时由于不需要经过高成本的石墨化工序,使得本材料具有不俗的性价比。

标签:
加工技术
江西 - 宜春 来源:中冶有色网 2023-03-18
锂离子电池负极材料及其制备方法

本发明涉及一种锂离子电池负极材料及其制备方法,属于锂电池制备领域。鉴于现有技术中锂电池负极材料的循环性能不佳以及寿命较短的技术不足,本发明提供一种锂离子电池负极材料及其制备方法。本发明所述的锂离子电池负极材料由硅酸铁锰、氯化锡、红磷以及石墨烯等原料制备得到,所制备得到的锂离子电池负极材料储锂性能优异,其电子导电率高从而使得其循环性能相对于现有的锂离子电池具有显著的提高,适合在锂电池制造领域推广应用。

标签:
加工技术
江西 - 宜春 来源:中冶有色网 2023-03-18
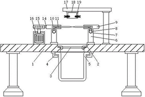
用于锂电池的抗压性能自动检测装置

本实用新型公开了一种用于锂电池的抗压性能自动检测装置,包括自动检测装置本体和固定板,所述自动检测装置本体的顶部固定连接有防护板,且防护板的端部固定安装有合页,并且合页的边侧固定有防护门,所述自动检测装置本体的顶部固定连接有滑杆,且滑杆的顶部固定安装有顶板,并且顶板的底部固定有电动推杆。该用于锂电池的抗压性能自动检测装置,将需要进行重力检测的锂电池放置在固定板顶部的安装槽中,以此来对锂电池进行初步限位,接着通过稳定板边侧的限位弹簧推动U型支架带动橡胶垫板来对锂电池进行贴合固定,使得该自动检测装置在对锂电池进行重力挤压时锂电池不会发生位移,降低了测试数据产生误差的情况发生。

标签:
加工技术
江西 - 宜春 来源:中冶有色网 2023-03-18
钽铌矿废石中锂云母的精制工艺方法

本发明涉及一种钽铌矿废石中锂云母的精制工艺方法,本发明以“磁选+高梯度磁选+重介质分选+浮选”的联合工艺方法,其中浮选采用“一粗二精一扫”工艺流程,提供一种从花岗岩型钽铌矿废石中精制锂云母的工艺方法。本发明将钽铌矿废石通过破碎、筛分、磨矿、高频筛分、螺旋分级、永磁磁选除铁、高梯度磁选、重介质分选、浮选获得锂云母精矿。本发明方法从钽铌矿废石中分选出锂云母精矿,精选后的锂云母精矿成分为:Li2O≥4.5%,K2O+Na2O≥8.0%,TiO2+Fe2O3≤0.10%,且锂云母精矿回收率> 80%,锂云母精矿品质达到国标要求,锂云母精矿回收率超过行业水平。

标签:
加工技术
江西 - 宜春 来源:中冶有色网 2023-03-18
碳酸锂生产用矿石原料筛分粉碎一体机

本实用新型公开了一种碳酸锂生产用矿石原料筛分粉碎一体机,包括进料斗,所述进料斗出料的一侧设有外层挡框,所述进料斗的底部铰接有液压顶升缸,且液压顶升缸的底部也铰接于设置在地面的底座上,所述外层挡框底部远离进料斗的一端铰接有支撑架,支撑架底部固定在地面上;所述进料斗的出料口外侧设有环形滑道。本实用新型通过设置可以转动的网筒,将锂辉石矿石和钢球放入网筒内,网筒转动时锂辉石矿石和钢球滚动碰撞,使得锂辉石矿石粉碎成焙烧时能受热均匀的体积,而一部分细小矿石能够甩出网筒,另一部分体积更大的粗矿石最后也能进行收集,将其筛分开来,再后续送入焙烧窑时可以放置在更合适的位置,使其都能受热均匀。

标签:
加工技术
江西 - 宜春 来源:中冶有色网 2023-03-18
不用点焊的锂电池组支架

本实用新型属于锂电池生产技术领域,尤其涉及一种不用点焊的锂电池组支架。本实用新型要解决的技术问题是提供一种安装方便且牢固的不用点焊的锂电池组支架。一种不用点焊的锂电池组支架,包括有支架本体和镍带;所述支架本体四个夹角处均倒圆角,且均设有弧形挡板;所述支架本体右侧中部设有第一挡块,且第一挡块外侧设有贯通的第一卡槽;所述支架本体左侧中部设有第二挡块,且第二挡块外侧设有第一卡块;所述支架本体顶部均布有多个第三挡块,且第三挡块外侧设有第二卡块;本实用新型相比当前技术而言,简单机械安装、拆卸、即方便成组、优化点焊等工步又简化了返修带来的繁琐和浪费。

标签:
加工技术
江西 - 宜春 来源:中冶有色网 2023-03-18
利用碳酸锂废液处理纯碱废液的方法

本发明提供一种利用碳酸锂废液处理纯碱废液的方法,具体步骤包括:S1.纯碱废液经沉降后,取上清液加入反应桶中;S2.外接碳酸锂废液管道连接反应桶,加入碳酸锂废液,进行搅拌反应;S3.反应生成的沉淀经过滤,得硫酸钙滤饼,滤液注入采卤井中;S4.在硫酸钙滤饼中加入转晶剂水溶液,搅拌使充分润湿;S5.将润湿后粉末送入蒸压釜,通0.2‑0.6MPa的蒸汽,控制反应温度120‑150℃,加热反应3‑9h,出料干燥后得到α型半水石膏晶须。本发明为纯碱废液的处理提供了一种新思路,通过合理利用纯碱废液中的氯化钙和碳酸锂废液中的硫酸钠,得到高附加值的α型半水石膏晶须,处理废液的同时合理利用废料资源不造成浪费。

标签:
加工技术
江西 - 宜春 来源:中冶有色网 2023-03-18
从锂云母原料中提取明矾的方法

本发明公开了一种从锂云母原料中提取明矾的方法,其包括如下工艺步骤:(1)以锂云母为原料,用硫酸溶液浸渍锂云母得固液混合溶液;(2)过滤分离所述混合溶液得母液1及滤渣1;(3)将母液1搅拌降温、冷冻;(4)冷冻液过滤,滤渣脱水即为明矾产品。该方法具有工艺条件温和,设备利用率高,能耗低,生产成本低,且不采用碚烧方法,环保,三废排放小。

标签:
加工技术
江西 - 宜春 来源:中冶有色网 2023-03-18
碳酸锂干燥器
碳酸锂干燥器 1021     
 0

本实用新型公开了一种碳酸锂干燥器碳酸锂干燥器,包括支撑柱、生产台、支撑板、螺纹板、活动槽、活动块、螺纹电机、螺纹杆、限位板、连接架、储存箱、导出管、抽取泵、传输管、抽取口、加热板、夹持件、旋转轴、监控主体和监控头。本实用新型属于干燥装置技术领域,具体是一种碳酸锂干燥器碳酸锂干燥器,有效的解决了目前市场上传统的碳酸锂干燥器大多功能简单、结构简陋的缺陷,在保证了基本的烘干效果的同时,还可以方便用户进行烘干效果的检查,进一步提高了生产效率,是一款非常优秀的碳酸锂干燥器。

标签:
加工技术
江西 - 宜春 来源:中冶有色网 2023-03-18
锂电池生产用壳体冲压成型装置

本实用新型涉及锂电池相关技术领域,且公开了一种锂电池生产用壳体冲压成型装置,包括外壳、电动升降套杆、复位弹簧、夹板、橡胶软垫和固定板,所述外壳的内部一侧设置有成型块,且成型块的一侧设置有卡块,同时卡块的一侧设置有卡槽,所述电动升降套杆设置在外壳的一侧,且电动升降套杆的下方一侧设置有底座,所述复位弹簧设置在外壳的一侧,且复位弹簧的一侧设置有第一固定螺栓,所述夹板设置在外壳的内部一侧,且夹板的一侧设置有电动推杆。该锂电池生产用壳体冲压成型装置,通过设置有夹板、电动推杆、伸缩套、滑动块、第二固定螺栓、滑块、滑槽、橡胶软垫与第一螺杆,在使用时可以起到有效的自动化固定作用。

标签:
加工技术
江西 - 宜春 来源:中冶有色网 2023-03-18
用于碳酸锂的提取装置

本实用新型涉及碳酸锂领域,具体为一种用于碳酸锂的提取装置,包括壳体,所述壳体的顶部开设有进料口,所述壳体的一侧固定连接有出料管,所述壳体的顶部开设有加热室,所述壳体的底部开设有烘干室,所述加热室的内壁固定连接有第一导料板,所述烘干室的内壁固定连接有第二导料板。该用于碳酸锂的提取装置,通过壳体、进料口、出料管、加热室、烘干室、第一导料板、第二导料板、第一电机、盛放盒、第二电机、丝杆、第一刮块、第二刮块、清理刷和过滤板,实现了对物料进行摊平的工作,从而有利于进行烘干的更加均匀,同时实现了自动翻转下料,提高了下料效率,从而提高了整体提取工作的效率,并有效的降低了劳动强度。

标签:
加工技术
江西 - 宜春 来源:中冶有色网 2023-03-18
具有除尘功能的锂云母矿提取开采用输送装置

本实用新型公开了一种具有除尘功能的锂云母矿提取开采用输送装置,包括底座、防护罩、气缸、分流管和挡板,所述底座的上方设置有传送带,且传送带的左右两侧安装有主动滚筒,所述防护罩的下方连接有底座,且底座的上方固定有滑槽,所述滑槽的上方通过滑块与连接板相连接,且连接板的上方连接有除尘风机,所述气缸通过伸缩杆连接于连接板的左侧,所述挡板的底部设置于传送带的两侧。该具有除尘功能的锂云母矿提取开采用输送装置,底座的上方设置有防护罩,在锂云母输送过程中,可以挡护灰尘,减小对周围环境的污染,连接板通过滑块与滑槽相连接,当启动气缸时,连接板可以在滑槽上左右移动,进而可以充分吸附传送带上的灰尘。

标签:
加工技术
江西 - 宜春 来源:中冶有色网 2023-03-18
上一页 27 28 29 30 31 ... 40 下一页
共40页    到第

中冶有色为您提供最新的江西宜春有色金属加工技术理论与应用信息,涵盖发明专利、权利要求、说明书、技术领域、背景技术、实用新型内容及具体实施方式等有色技术内容。打造最具专业性的有色金属技术理论与应用平台!

全国热门有色金属设备推荐
展开更多 +
全国热门有色金属技术推荐
展开更多 +

 

江西省隆恩特环保设备有限公司
宣传

报名参会
更多+

报告下载

有色专家
更多+

中南大学
常务副校长
武汉科技大学
校学术委员会主任 / 教授
中国瑞林工程技术有限公司
中国工程院院士
江西理工大学
教授
矿冶科技集团有限公司工程公司
副总经理
赤泥综合利用研究报告2025
推广

热门技术
更多+

推荐企业
更多+

福建省金龙稀土股份有限公司
宣传

发布

在线客服

公众号

电话

顶部
咨询电话:
010-88793500-807