青岛垚鑫智能科技有限公司
宣传

位置:中冶有色 >

有色技术频道 >

> 加工技术

分类:
全部
矿山技术
冶金技术
材料制备及加工技术
环境保护技术
分析检测技术
 
全部
功能材料技术
复合材料技术
新能源材料技术
合金材料技术
加工技术
地区:
全部
北京
天津
上海
重庆
河北
山西
辽宁
吉林
黑龙江
江苏
浙江
安徽
福建
江西
山东
河南
湖北
湖南
广东
海南
四川
贵州
云南
陕西
甘肃
青海
内蒙
广西
西藏
宁夏
新疆
其他
其他
展开
 
全部
南昌
九江
上饶
抚州
宜春
吉安
赣州
景德镇
萍乡
新余
鹰潭

江西宜春有色金属加工技术理论与应用

免费发布技术信息>>
锂电池生产表面耐热水性涂层干燥装置

本实用新型公开了一种锂电池生产表面耐热水性涂层干燥装置,包括机体、伺服电机和电加热丝,所述机体的左侧设置有伺服电机,且伺服电机的右侧设置有传动杆,所述传动杆上安装有皮带轮,所述活动块的右侧固定有不锈钢网,所述固定杆上安装有第一移动杆,所述第一移动杆的右侧设置有第二移动杆,所述插杆上设置有压块,且压块的下端设置有压缩弹簧,所述压块的下端左侧固定有连杆,所述第一风扇上安装有从动杆,所述从动杆的上端设置有传动锥齿轮。该锂电池生产表面耐热水性涂层干燥装置,在进行对锂电池干燥时,能够将锂电池进行良好的固定,能够提高对锂电池的干燥速率,从而节约了对锂电池干燥工作的工作时间。

标签:
加工技术
江西 - 宜春 来源:中冶有色网 2023-03-18
锂离子电芯的卷绕设备及其卷绕方法

本发明涉及锂离子电芯的卷绕设备及其卷绕方法,该锂离子电芯的卷绕设备,用于将锂离子电芯复合片的卷绕成电芯;包括底座、设置在底座上以储存锂离子电芯复合片的储料机构、可移动设置在底座上以从储料机构取出锂离子电芯复合片的取料机构、设置在底座上以给取出的锂离子电芯复合片导向的导向机构、设置在底座上且位于导向机构的导向方向上以对锂离子电芯复合片进行卷绕的卷绕机构;导向机构包括供锂离子电芯复合片放置以对锂离子电芯复合片进行定位导向且朝卷绕机构延伸设置的导向槽。该锂离子电芯的卷绕设备可提高卷绕效率,避免卷绕过程中极片发生偏移,隔膜变形、从而可提高产品合格率以及产品质量。

标签:
加工技术
江西 - 宜春 来源:中冶有色网 2023-03-18
碳酸锂生产用输送装置

本实用新型涉及碳酸锂领域,且公开了一种碳酸锂生产用输送装置,包括装置壳体,所述装置壳体的一侧固定连接有驱动电机,所述驱动电机的输出轴伸进装置壳体的内部通过联轴器固定连接连接有螺旋输送机构,所述装置壳体的一侧底部开设有出料口,所述装置壳体的另一侧顶部固定连接有进料仓,所述进料仓的内壁分别固定连接有支撑杆和固定板,所述支撑杆的顶部固定连接有粉碎电机。该碳酸锂生产用输送装置,有利于在进料时对碳酸锂进行一定程度上的粉碎工作,从而一定程度上避免了碳酸锂在输送过程总发生堵塞的现象,进而提高了输送工作的稳定性,满足了人们的工作需求,值得进行推广使用。

标签:
加工技术
江西 - 宜春 来源:中冶有色网 2023-03-18
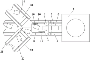
锂电池拆解用多工位限位引导送料机

本实用新型公开了一种锂电池拆解用多工位限位引导送料机,包括拆解机、电机、第二支架、锂电池和凸块,所述拆解机的左端表面固定连接有第一支架,且第一支架的内表面固定连接有电机,并且电机的输出端安装有滚筒,所述滚筒的外表面被第一传输带所包裹,且第一传输带的外表面开设有凹槽,所述第二支架的内表面固定连接有第二传输带。该锂电池拆解用多工位限位引导送料机,拆解机的前方设有一种能够将锂电池摆正的送料机传输带,从而具有多个传输带将锂电池传输过来,能够对多方位的锂电池进行限位摆正引导,再通过凹槽被传输到拆解机中,从而使得拆解机能够运行,不需要人工对锂电池进行摆正引导,大量的减小了人力物力。

标签:
加工技术
江西 - 宜春 来源:中冶有色网 2023-03-18
方便调节的锂离子电池生产裁片装置

本实用新型提供一种方便调节的锂离子电池生产裁片装置,涉及锂离子电池领域。该方便调节的锂离子电池生产裁片装置,包括底座,所述底座顶部的两侧均固定安装有竖杆,且两个竖杆远离底座的一端通过横板固定连接,所述横板的底部固定安装有两个伸缩杆,且两个竖杆相对的一侧开设有通槽。该方便调节的锂离子电池生产裁片装置,通过对电机、丝杆、滑轨、螺母、弹簧、通孔和套筒的设置,达到了方便对锂离子电池生产裁片装置进行调节的效果,从而方便了使用者的使用,以此也提高了锂离子电池生产裁片装置的使用效率,同时也便于在裁片过程中对裁片的长度进行控制,以此也提高了锂离子电池生产裁片装置的工作效率。

标签:
加工技术
江西 - 宜春 来源:中冶有色网 2023-03-18
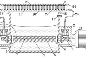
锂电池浆料混合机
锂电池浆料混合机 978     
 0

本实用新型公开了一种锂电池浆料混合机,属于锂电池加工技术领域,包括箱体,所述箱体内部开设有混合室,所述混合室底面内壁与旋转轴A的一端固定连接,所述旋转轴A外表面衔接有搅拌叶片A,所述箱体一侧外壁固定连接有电机B。本实用新型通过安装有的电机B驱动旋转轴B以及搅拌叶片B转动,并在吸泵A和连接管的配合下,可以将混合室中的锂电池浆料上下部分进行充分流通和混合,避免了锂电池浆料之间发生二次团聚,通过安装有的超声波发射器可以有效的使锂电池浆料充分振动混合,同时也去除了锂电池浆料中含有的气泡,通过安装有的摄像头以及显示器可以随时监控混合室中锂电池浆料的混合程度,设备实用性强,适合被广泛推广和使用。

标签:
加工技术
江西 - 宜春 来源:中冶有色网 2023-03-18
锂离子电池水性正负极浆料的制备方法

本发明公开了一种锂离子电池水性正负极浆料的制备方法,制备方法步骤如下:1)锂离子电池水性正极浆料包括水性粘结剂1‑2份、蒸馏水6‑8份、正极导电剂2‑4份、正极活性物质1‑3份、分散剂0.5‑0.8份、有机溶剂70‑80份和增稠剂3‑8份,2)锂离子电池水性负极浆料包括水性粘结剂2‑3份、蒸馏水7‑8份、负极导电剂3‑5份、负极活性物质0.8‑1.5份、分散剂0.2‑0.7份、有机溶剂75‑85份和增稠剂2‑4份,本方法制备的锂离子电池水性正负极浆料质地均匀,同时利用振动电机带动搅拌机的搅拌桶震动,便于浆料中气泡的排出,保证了锂离子电池水性正负极浆料浆料的品质。

标签:
加工技术
江西 - 宜春 来源:中冶有色网 2023-03-18
可调温式金属锂电解槽

本发明公开一种可调温式金属锂电解槽,包括外槽体、内衬体、阴极、阳极和盖合于外槽体和内衬体顶部的槽盖,槽盖上设置有供氯气排出的排氯口和供金属锂排出的出锂口,阴极环绕设置于阳极外侧,阳极均匀分布设置于内衬体中,阴极与阴极母排连接,阳极与阳极母排连接,阴极固定在内衬体内部,外槽体与内衬体之间形成密封夹层,密封夹层内上部设置有保温层,密封夹层下部形成通风腔,外槽体侧面开设有进风口,外槽体另一侧面开设有出风口,进风口外密封连接有送风装置,出风口外密封连接有排风装置。本发明一种可调温式金属锂电解槽结构简单、可根据环境温度调节电解槽温度,提高电解槽电流效率,降低金属锂生产成本。

标签:
加工技术
江西 - 宜春 来源:中冶有色网 2023-03-18
泡沫铜氧化物基的锂离子电池负极材料的制备方法

一种泡沫铜氧化物基的锂离子电池负极材料的制备方法,包括过硫酸铵及氢氧化钠溶液为原料,以泡沫铜为底层,将过硫酸铵溶液和氢氧化钠溶液混合为混合溶液,然后将泡沫铜置于混合溶液中浸泡相应时间,取出水洗若干次烘干为烘干泡沫铜;将烘干泡沫铜放入惰性气氛中,在一定温度下进行煅烧1‑3小时,获得生长氧化铜纳米棒的泡沫铜;之后,将制备的生长氧化铜纳米棒的泡沫铜置于正硅酸四丁酯溶液中,再加入氨水,于60‑80℃水浴加热1‑3小时,取出水洗烘干,即为泡沫铜氧化物基的锂离子电池负极材料。本发明易于大规模生产,而且所需原料价格便宜,具有很大的成本优势,其作为锂离子电池负极具有较高的充放电比容量和良好的循环稳定性。

标签:
加工技术
江西 - 宜春 来源:中冶有色网 2023-03-18
碳酸锂的沉淀配方、工艺及装置

本发明提供一种碳酸锂的沉淀配方、工艺及装置。所述碳酸锂的沉淀配方包括:铁锂云母矿石和辅料,所述辅料包括硫酸钙和碳酸钙,所述硫酸钙的质量为铁锂云母矿石质量的40‑60%,所述碳酸钙的质量为铁锂云母矿石质量的5‑18%。一种碳酸锂的沉淀工艺,所述以下步骤:S1:将铁锂云母矿石、硫酸钙和碳酸钙进行研磨后均匀混合,得到混合物A;S2:将混合物A置于回转窑焙烧,焙烧完成后进行过滤,得到焙烧混合物B;S3:将焙烧混合物B通入反应装置并搅拌均匀;S4:向反应装置内通入二氧化碳沉淀加压,得到碳酸锂沉淀。本发明提供的碳酸锂的沉淀配方、工艺及装置具有沉淀颗粒大、沉淀效率高的优点。

标签:
加工技术
江西 - 宜春 来源:中冶有色网 2023-03-18
单体锂电池的维护装置
单体锂电池的维护装置 1005     
 0

本实用新型公开了一种单体锂电池的维护装置,涉及锂电池维护领域,该种锂电池维护装置,包括维护装置主体和变流器,维护装置主体的上端贯穿固定连接有散热口,变流器的右侧通过连接线固定连接有处理器,维护装置主体的表面的中部嵌入固定连接有显示屏,维护装置主体的表面的中下方镶嵌固定连接有控制板。设置有一个变流器,且通过连接线与处理器固定连接,当需要检测单体锂电池的电量输出效果时,而变流器将正向电流改变成逆向电源,从而达到检测单体锂电池的电量输出效果,设置有显示屏,设置有一个,呈“矩形”形状,且显示屏与维护装置主体嵌入固定连接,使得人们在操作维护装置时能更直观和方便看到维护装置主体的使用情况。

标签:
加工技术
江西 - 宜春 来源:中冶有色网 2023-03-18
用于软包装锂离子电池的测试的平压装置

本实用新型公开了一种用于软包装锂离子电池的测试的平压装置,涉及锂离子电池加工技术领域,包括输送带和底板,所述输送带的上表面固定连接有多个放置盒,所述底板的顶部两侧对称固定连接有支撑腿,两个所述支撑腿的顶部固定连接有支撑板,所述支撑板的下表面中部两侧对称固定连接有限位板,所述支撑板的下表面中部固定连接有固定板,所述固定板的前端设有凸轮,所述固定板的后侧固定安装有电机该用于软包装锂离子电池的测试的平压装置,通过凸轮的转动,在凸轮的一端转动至底时,即带动下压板和平压头下压,使平压头与放置盒对接,将放置盒内的锂离子电池压平加工,配合输送带使多个放置盒依次与平压头对接,提高对锂离子电池的加工效率。

标签:
加工技术
江西 - 宜春 来源:中冶有色网 2023-03-18
锂电池生产用带有烘干功能的涂布设备

本实用新型公开了一种锂电池生产用带有烘干功能的涂布设备,包括设备箱,所述设备箱的顶部固定安装有进料口,且设备箱的顶部固定设置有固定电机,而且固定电机的输出轴通过联轴器固定连接有搅拌架,所述设备箱的里面固定安装有传送装置。该锂电池生产用带有烘干功能的涂布设备,通过设备箱、进料口、固定电机、搅拌架、传送装置、电池基材、驱动电机、螺杆、移动箱、喷管、连接管、涂布装置、吸料管和支撑板的相互配合使用下,通过搅拌架对物料的搅拌后,能够很好的避免物料沉淀,影响喷涂质量,同时涂布装置能够在螺杆上进行左右移动,便于提高喷涂的效果,进而提高了人们对锂电池基材喷涂质量,提高人们的喷涂工作效率,能够很好的满足人们对锂电池基材进行喷涂的需求。

标签:
加工技术
江西 - 宜春 来源:中冶有色网 2023-03-18
简易的锂云母矿提取设备

本实用新型公开了一种简易的锂云母矿提取设备,包括材料进料口、浸出桶、单向阀门、萃取罐和蒸汽进口管,所述材料进料口设置在第一电机的顶部,且第一电机底部螺纹安装搅拌杆,所述搅拌杆底部设置有出料口,且出料口与研磨箱相连通,所述研磨箱内部卡槽固定有研磨辊,且研磨辊后部螺纹设置有第三电机,所述浸出桶顶部设置有研磨辊,且浸出桶外部焊接固定有第二电机,所述第二电机底部设置有搅拌叶。该简易的锂云母矿提取设备采用一体式的提取装置,减少在提炼的过程中造成提炼质量不纯,提高了提炼的反应速率,采用研磨辊细化锂云母的结构,更加便捷的提炼锂云母内部的稀有材料。

标签:
加工技术
江西 - 宜春 来源:中冶有色网 2023-03-18
锂带卷盘
锂带卷盘 926     
 0

本实用新型公开了一种锂带卷盘,包括可盖合连接的盘盖、盘底和位于所述盘盖和所述盘底之间的用于卷绕锂带的卷芯,所述盘盖和所述盘底盖合后与所述卷芯之间形成封闭空间,所述卷芯设置于所述盘盖和所述盘底中央位置处,所述盘盖中央向下延伸设置有上卷轴,所述盘底中央向上延伸设置有下卷轴,所述卷芯套设于所述上卷轴和所述下卷轴外,所述上卷轴与所述下卷轴高度之和小于所述盘盖和所述盘底深度之和,所述卷芯高度小于所述盘盖和所述盘底深度之和,所述卷芯高度大于所述上卷轴与所述下卷轴的间距。本实用新型的一种锂带卷盘结构简单、装配容易、包装容量大、包装效果好、可避免外界冲击力导致锂带受损。

标签:
加工技术
江西 - 宜春 来源:中冶有色网 2023-03-18
锂电池安全性能检测装置

本发明提供了一种锂电池安全性能检测装置,属于锂电池检测技术领域,它解决了现有的一些锂电池检测装置功能较为单一,需要工厂企业置办多种不同功能的检测装置,造成设备成本和空间成本上涨的问题。本锂电池安全性能检测装置,包括底座和工业热风机,工业热风机的出风口连通设置有送风管,送风管贯穿至底座的内部,底座上方的前后两侧均设置有出风罩,出风罩的一侧连通设置有伸缩软管。本发明能够在对锂电池进行高温测试的过程中,对锂电池进行旋转,使锂电池的各个部位均匀受热,而且该装置能够对锂电的耐高温性、防水性、抗震性和耐压性进行检测,从而使该装置的功能更加多样化,提高了工作效率,降低了设备成本,而且还节约了空间。

标签:
加工技术
江西 - 宜春 来源:中冶有色网 2023-03-18
锂电池改性正极材料的制备方法

本发明公开一种锂电池改性正极材料的制备方法,以可溶性镍、钴、锰盐为原料,采用共沉淀反应工艺,全程自动化控制制备锂电池正极材料,包括原料机械活化处理、共沉淀反应制镍钴锰粗前驱体、制预处理前驱、制锂盐和预处理前驱体微细颗粒混合物、制粗锂电池正极材料、制锂电池改性正极材料产品,本发明通过多次的机械球磨活化处理对制备的镍钴锰酸锂型锂电池正极材料的性能有较好的改良与提高,大大改善的该锂电池正极材料的性能,使其容量性和循环性能更优异。

标签:
加工技术
江西 - 宜春 来源:中冶有色网 2023-03-18
处理锂云母原料的新方法

本发明就是要提供一种处理锂云母原料的新方法,是将锂云母原料通过等离子发生器进行煅烧并除氟,控制等离子发生器进行煅烧温度为1500-2000℃;然后将煅烧除氟后的锂云母在加压状态下与稀硫酸溶液酸浸反应,控制酸浸温度为85-95℃。其是将锂云母通过等离子发生器产生的高温差热反应,使锂云母结构发生转变,主要是单片锂云母层状片结构其打开解离蓬松,提高了锂云母原料中稀有金属原料的提取利用率,降低了能源消耗,提高了锂云母的经济效益。

标签:
加工技术
江西 - 宜春 来源:中冶有色网 2023-03-18
锂电池安全存放装置
锂电池安全存放装置 992     
 0

本实用新型公开了一种锂电池安全存放装置,属于锂电池技术领域,包括箱体和锂电池,箱体内设有支撑件和阻挡件,支撑件包括放置板,放置板内设有多个且等距分布的滑槽,滑槽的一端与放置板的侧壁设有间隔,滑槽的另一端与放置板的另一侧在同一平面,阻挡件包括挡板一和挡板二,挡板一和挡板二的一侧通过固定杆固定连接,固定杆与滑槽配合使用,阻挡件设有多个,多个阻挡件中的固定杆一端通过连杆固定连接,阻挡件和连杆为一组,且组合设有多组,最后一组中的连杆的两端均固定连接有固定块,两端固定块上均活动连接有螺栓,通过这样的设置,实现能够对多个锂电池进行存放,同时还能够根据不同种类的锂电池对装置进行调节,为装置提供了实用性。

标签:
加工技术
江西 - 宜春 来源:中冶有色网 2023-03-18
锂电池废料的回收处理装置

本实用新型公开了一种锂电池废料的回收处理装置。包括钴镍锰锂溶液的萃取处理装置,所述钴镍锰锂溶液的萃取处理装置包括除杂萃锰萃取釜,连接于所述除杂萃锰萃取釜的萃钴萃取釜,连接于所述萃钴萃取釜的萃镍萃取釜,以及连接于所述萃镍萃取釜的制氢氧化锂罐,所述除杂萃锰萃取釜、萃钴萃取釜和萃镍萃取釜分别连接有相应的萃取反萃釜以及分离干燥装置。该废锂电池粉料的回收处理装置其段系统构成简单、科学、合理,运行稳定可靠,其相应的物料分离脱水效果好,相对提高了回收产品的质量,处理回收效率高,能源消耗低。

标签:
加工技术
江西 - 宜春 来源:中冶有色网 2023-03-18
报废锂电池正负极的综合回收利用方法

本发明公开了一种报废锂电池正负极的综合回收利用方法,具体步骤如下:预处理将铝铜从电池中分离,烘干后加入物相重构剂混合均匀,低温催化焙烧,焙烧好的物料冷却粉碎,在中性盐体系下浸出反应,固液分离:可溶性锂进入液相,除杂后浓缩结晶,干燥粉碎得电池级碳酸锂,结晶的母液通入二氧化碳干燥粉碎得电池级碳酸锂;不溶性的镍、钴、锰、碳进入固相,洗涤后在含碳酸根环境下加入选矿药剂进行浮选,将碳与镍钴锰分离,经洗涤活化干燥分选,得到负极材料,分离出来的镍钴锰经纯水洗涤后直接作为镍钴锰多元前驱体材料原料使用。本发明的方法流程短、能耗适中、正负极有价元素综合收率高、产品品质好、环境友好并且成本低,适于产业化。

标签:
加工技术
江西 - 宜春 来源:中冶有色网 2023-03-18
提升锂离子电池荷电保持率的化成方法

本发明涉及一种提升锂离子电池荷电保持率的化成方法,包括以下步骤:首先对锂离子电池进行小电流短时间充电,然后进行高温存储,最后进行较大电流充电,其中小电流为20mA、时间为60min条件下充电,然后在45℃的高温环境中存储16小时,再0.2C充电至满电。本发明的提升锂离子电池荷电保持率的化成方法可有效降低在正极的单质金属杂质由于迁移至负极表面后堆积所引起的隔膜刺破并最终导致微短路的比例,从而降低锂离子电池自放电率,提升其荷电保持能力。

标签:
加工技术
江西 - 宜春 来源:中冶有色网 2023-03-18
镍钴锰酸锂材料及其制备方法

一种镍钴锰酸锂材料的制备方法,以可溶性镍、钴、锰盐为原料,采用共沉淀反应工艺,其特征是所述镍钴锰酸锂的分子式为LiNixCoyMnzO2, 其制备的具体工艺步骤如下,1)共沉淀反应制镍钴锰前驱体,于反应釜装置中,加水分别将硫酸镍、硫酸钴、硫酸锰制成混合水溶液,加入氢氧化钠水溶液作沉淀剂,加入氨水,在加热及保护气体存在条件下进行共沉淀反应,过滤得滤液及滤渣,滤渣清洗,制得氢氧化镍钴锰前驱体;2)反应制镍钴锰酸锂产品,将制备的氢氧化镍钴锰前驱体,经烘干干燥,过筛后和锂盐搅拌充分混合为氢氧化镍钴锰前驱体和锂盐混合物,将氢氧化镍钴锰前驱体和锂盐混合物装钵,高温烧制、破碎、过筛、混合、过筛、除铁,包装制得镍钴锰酸锂材料,本发明制备的镍钴锰酸锂产品制成锂离子电池,具有优异的安全性能、高温性能和长循环寿命。

标签:
加工技术
江西 - 宜春 来源:中冶有色网 2023-03-18
废旧锂电池放电装置
废旧锂电池放电装置 992     
 0

本发明公开了一种废旧锂电池放电装置,包括放电箱、防护罩、伺服电机和放电组件,放电箱的两侧均固定有防护罩,其中一个防护罩的侧面固定有伺服电机,放电箱的两侧均嵌入有防水轴承,放电箱的顶部套接有对接框,对接框的顶部固定有负极板,负极板的底部设置有橡胶片,负极板的上方设置有正极板,正极板的底部和负极板的底部开设有若干个对接槽,对接槽中间设置有锂电池。本发明中的负极杆和正极杆浸入氯化钠溶液中,既可以可以增加电极和氯化钠溶液的接触面积,增加电解效率,使锂电池快速放电,又无需锂电池接触氯化钠溶液,保证氯化钠溶液中不会混入杂质,从而进一步提高电解效率,使锂电池放电效率增加。

标签:
加工技术
江西 - 宜春 来源:中冶有色网 2023-03-18
锰酸锂用前驱体及其正极材料的制备方法

一种锰酸锂用前驱体及其正极材料的制备方法。本发明将金属锰片与硫酸反应得到的硫酸锰溶液,在氮气保护下用氨水连续沉淀出球形氢氧化锰,沉淀物用化学计量的氢氧化锂溶液浆化后加入到高压反应釜中,控制温度和氧分压反应一定时间,以便得到纯相二氧化锰,然后再通入二氧化碳反应一定时间使碳酸锂均匀沉淀在二氧化锰表面,反应完成后过滤,沉淀物经过微波干燥、烧结和粉碎分级,产出球形且振实密度高的锰酸锂正极材料。本发明采用控制形貌沉淀与加压氧化相结合的方法合成了均相球形二氧化锰前驱体,产物杂质含量少且不含氢氧根;合成的锰酸锂为球形形貌且粒度分布窄、振实密度高和比表面积小,电化学性能优良。

标签:
加工技术
江西 - 宜春 来源:中冶有色网 2023-03-18
电池级氢氧化锂的制备提纯装置

本发明公开了一种电池级氢氧化锂的制备提纯装置,属于电池级氢氧化锂制备提纯领域,本方案可以实现在电池级氢氧化锂制备提纯过程中,通过从进料管加注电池级氢氧化锂,随后向料液管出加注去离子水,快速的过滤除去电池级氢氧化锂中的不溶物,并且在提纯机构的作用下使去离子水能够充分的与电池级氢氧化锂相互交融,使得杂质过滤除去的更加彻底,而后电池级氢氧化锂与提纯机构之间摩擦,产生一定的温度,致使过滤杂质后的电池级氢氧化锂和杂质一起掉落至筛分机构内部,对杂质和过滤后的电池级氢氧化锂进行筛分处理,大大避免了因电池级氢氧化锂制备后仍具有微量或少量的杂质,以致于夹带到产品中从而引发产品杂质含量超标的问题。

标签:
加工技术
江西 - 宜春 来源:中冶有色网 2023-03-18
用于提纯碳酸锂浸取液的提纯塔

本实用新型公开一种用于提纯碳酸锂浸取液的提纯塔,其包括具有提纯腔的塔体、开设有进料口并安装于所述塔体顶端的封头、与所述封头连接并与所述提纯腔连通的进气组件以及开设有出料口且与所述塔体连接并与所述提纯腔连通的提纯组件,所述进料口用于将碳酸锂浸取液注入所述提纯腔内,所述进气组件用于往提纯腔内通入二氧化碳气体,以使二氧化碳气体与碳酸锂浸取液反应。本实用新型公开的用于提纯碳酸锂浸取液的提纯塔有效解决了碳酸锂浸取液的纯度不高的问题。

标签:
加工技术
江西 - 宜春 来源:中冶有色网 2023-03-18
用于硫酸锂溶液去杂的离子交换树脂再生方法

本发明属于碳酸锂生产术领域,具体涉及一种用于硫酸锂溶液去杂的离子交换树脂再生方法,包括:用纯水反冲洗吸附饱和后的离子交换树脂;用稀硫酸溶液解析离子交换树脂;用纯水冲洗解析完的离子交换树脂;用碳酸锂沉锂母液再生冲洗过的离子交换树脂;用纯水清洗再生后的离子交换树脂,得到再生离子交换树脂。本发明再生方法使用稀硫酸溶液进行解析,无氯离子引入,使用沉锂母液进行再生,可节省氢氧化钠的使用,该方法绿色环保、成本低,得到的再生离子交换树脂吸附效果好。

标签:
加工技术
江西 - 宜春 来源:中冶有色网 2023-03-18
从锂矿浆中分离回收钽、铌等重金属物的方法

本发明属于稀有金属回收技术领域,尤其涉及一种从锂矿浆中分离回收钽、铌等重金属物的方法。本发明要解决的技术问题是提供一种可以将细颗粒(100‑150目)的钽铌回收率提高至60%以上的从锂矿浆中分离回收钽、铌等重金属物的方法。一种从锂矿浆中分离回收钽、铌等重金属物的方法,包括如下步骤:S1、将从锂盐厂酸化调浆工段生成的锂矿浆料或锂精矿选矿厂球磨工段生成的锂矿浆料输送到缓冲池;本发明达到了可以将细颗粒(100‑150目)的钽铌回收率提高至60%以上的效果。

标签:
加工技术
江西 - 宜春 来源:中冶有色网 2023-03-18
超细弱磁性锂矿石尾泥的处理方法

本发明公开一种超细弱磁性锂矿石尾泥的处理方法,超细弱磁性锂矿石尾泥的处理方法包括将弱磁性锂矿石的原矿石头粗步破碎后过筛;将破碎后的筛下物输送至球磨机加水后进行湿式球磨;将球磨后的筛下物进行旋流分级,分离出超细尾泥物料;将超细尾泥物料打入具有超导磁场中进行超导磁选,以得到磁性矿物和非磁性矿物;将磁性矿物通过永磁磁选机,得到强磁性矿物和弱磁性矿物;将弱磁性矿物加入浮选药剂进行浮选,浮选过程中加入浮选抑制剂,从而得到弱磁性锂矿石精矿和高白度长石粉。本发明提供的超细弱磁性锂矿石尾泥的处理方法通过从超细弱磁性锂矿石尾泥中回收80%的金属锂,以提高锂资源的利用率,节约了资源并缓解了锂资源短缺的问题。

标签:
加工技术
江西 - 宜春 来源:中冶有色网 2023-03-18
上一页 29 30 31 32 33 ... 40 下一页
共40页    到第

中冶有色为您提供最新的江西宜春有色金属加工技术理论与应用信息,涵盖发明专利、权利要求、说明书、技术领域、背景技术、实用新型内容及具体实施方式等有色技术内容。打造最具专业性的有色金属技术理论与应用平台!

全国热门有色金属设备推荐
展开更多 +
全国热门有色金属技术推荐
展开更多 +

 

江西省隆恩特环保设备有限公司
宣传

报名参会
更多+

报告下载

有色专家
更多+

郑州大学
中国工程院 院士
有研科技集团有限公司
首席科学家
武汉工程大学
教授
中国矿业大学
副院长/教授
中国有色金属工业协会
副会长兼秘书长
赤泥综合利用研究报告2025
推广

热门技术
更多+

推荐企业
更多+

福建省金龙稀土股份有限公司
宣传

发布

在线客服

公众号

电话

顶部
咨询电话:
010-88793500-807