青岛垚鑫智能科技有限公司
宣传

位置:中冶有色 >

有色技术频道 >

> 加工技术

分类:
全部
矿山技术
冶金技术
材料制备及加工技术
环境保护技术
分析检测技术
 
全部
功能材料技术
复合材料技术
新能源材料技术
合金材料技术
加工技术
地区:
全部
北京
天津
上海
重庆
河北
山西
辽宁
吉林
黑龙江
江苏
浙江
安徽
福建
江西
山东
河南
湖北
湖南
广东
海南
四川
贵州
云南
陕西
甘肃
青海
内蒙
广西
西藏
宁夏
新疆
其他
其他
展开
 
全部
南昌
九江
上饶
抚州
宜春
吉安
赣州
景德镇
萍乡
新余
鹰潭

江西宜春有色金属加工技术理论与应用

免费发布技术信息>>
计数型锂带导轮装置
计数型锂带导轮装置 689     
 0

本实用新型公开了一种计数型锂带导轮装置,包括上导轮、下导轮、上支架、下支架和计米器,上支架的上部位置可调式固定设于锂带挤压机的挤出口的一侧,下支架的上部前后位置和角度旋转可调式连接于上支架上,上导轮位置可调式可旋转连接于上支架的一侧,计米器固定连接于下支架下部的前侧面上,下导轮位置可调式同轴可旋转连接于计米器的一侧,上导轮和下导轮沿前后方向平行设置于挤出口的下方,挤出口挤出的锂带从后至前依次经过上导轮和下导轮后与收卷器卷绕连接,锂带分别与上导轮的前侧面和下导轮的后侧面滚动式相抵。本实用新型的一种计数型锂带导轮装置,能辅助锂带产品收卷使收卷更紧密,有效计量锂带长度,进而控制每盘锂带产品重量。

标签:
加工技术
江西 - 宜春 来源:中冶有色网 2023-03-18
芳纶锂电池复合隔膜的制备方法

本发明公开了一种芳纶锂电池复合隔膜的制备方法,包括以下步骤:(1)常温下将氯化锂粉末加入到N,N‑二甲基乙酰胺里,配成N,N‑二甲基乙酰胺/氯化锂混合溶剂;(2)将干燥好的PMIA加入到N,N‑二甲基乙酰胺/氯化锂混合溶剂中,配制浓度为15‑25wt%的PMIA纺丝溶液,其中溶液中氯化锂的浓度为1‑3wt%;(3)将配制好的PMIA纺丝溶液进行静电纺丝,处理液处理过的PET无纺布基材接收;(4)将纺丝完成后得到的纤维膜浸入40℃乙醇溶液静置1‑3min,干燥,机械辊压得到PMIA/PET复合隔膜。本发明可以方便地调整电纺工艺参数,有效地改变膜的孔隙率、纤维直径、孔径、厚度等重要特性以适应应用中的实际需要,从而获得高孔隙率、高吸液量的锂离子电池隔膜。

标签:
加工技术
江西 - 宜春 来源:中冶有色网 2023-03-18
环保型废旧锂电池处理回收装置

本发明公开了一种环保型废旧锂电池处理回收装置,包括锂电池处理仓,所述锂电池处理仓内部的底部设有安装板,所述安装板顶部的中间设有驱动电机A,所述驱动电机A的输出端设有驱动轴,所述驱动轴的外侧设有外套管,所述外套管的顶部设有粉碎板A,所述粉碎板A底部的两侧对称铰接有铰接杆,所述铰接杆的底部设有滑球,所述安装板顶部非圆心位置处设有导向槽;本发明通过转杆、驱动电机C和切割刀的配合下,能对锂电池进行切割,使其内部的电解液流出,然后电解液通过分离网板流入至电解液储存槽内部,通过破碎辊、转轴、驱动电机B和齿轮的配合下,能够对切割后的锂电池进行破碎,进而将其内部粉状的负极材料分离出。

标签:
加工技术
江西 - 宜春 来源:中冶有色网 2023-03-18
沉淀法快速提锂设备
沉淀法快速提锂设备 860     
 0

本发明属于提锂领域,尤其涉及一种沉淀法快速提锂设备,它包括圆筒、渗漏板A、渗漏板B、渗漏板C、渗漏板D、搅拌板、电机A、浓缩槽、储液槽、电机B、结晶箱、刮板、电机C,其中通过支脚固定于地面的结晶箱的上方安装有与之相通且侧壁中空的圆筒,结晶箱底部及圆筒的侧壁均具有利用太阳能加热的结构。圆筒内被渗漏板A、渗漏板B、渗漏板C和渗漏板D分隔处的三层空间内通过被电机A驱动的三组搅拌板对卤水进行均匀搅拌,使得卤水的升温均匀且因升温后的浓缩浓度均匀,提高卤水中的锂料的提取效果,减小卤水中的锂料因卤水温度较低或不均匀时未有效析出而发生流失,提高卤水中锂料的提取效率。

标签:
加工技术
江西 - 宜春 来源:中冶有色网 2023-03-18
基于锂铝硅玻璃废料的耐热透光岩板及其制造方法

本发明涉及一种基于锂铝硅玻璃废料的耐热透光岩板及其制造方法。耐热透光岩板坯体,重量配比:锂铝硅废玻璃粉50%~70%、高塑性泥料20%~25%、钾钠石粉0%~3%、透锂长石7%~12%、锂霞石粉0%~7%、钡长石3%~8%。制造方法:锂铝硅废玻璃回收→坯体配料→坯料加工→喷雾干燥制粉→布料→压制成型→数码底釉装饰→数码图案装饰→数码面釉装饰→烧成→抛光与磨边。

标签:
加工技术
江西 - 宜春 来源:中冶有色网 2023-03-18
耐超低温圆柱锂离子电池的制备方法

本发明公开了一种耐超低温圆柱锂离子电池的制备方法,其包括如下步骤:(1)高倍率镍钴锰酸锂、石墨烯/碳纳米复合导电浆料、导电碳黑、聚偏二氟乙烯和氮甲基吡咯烷酮按比例制成浆料,涂在铝箔上面,通过辊压,分切、制片,完成正极片制作;(2)将石墨、碳黑、羧甲基纤维素纳、丁苯橡胶和去离子水按比例制成浆料,涂在铜箔上面,通过辊压,分切、制片,完成负极制作;(3)通过卷绕,封装,烘烤后的卷芯注入一种超低温电池专用电解液,然后封口、陈化、化成和分容,完成超低温型圆柱锂离子电池制作。本案通过正极采用高倍率镍钴锰酸锂,添加导电性能优良的石墨烯导电浆料,利用超低温专用锂离子电池电解液,使得电池低温性能特别优异。

标签:
加工技术
江西 - 宜春 来源:中冶有色网 2023-03-18
锂离子电池化成检测装置

本实用新型公开了一种锂离子电池化成检测装置,包括底板,底板底部表面的四角均固定连接有万向轮,底板顶部表面的中心处固定连接有柜体,柜体两侧表面的底部均固定连接有支撑板,支撑板顶部表面的中心处设置有升降螺杆。本实用新型通过设置固定安放板、升降槽口、L型活动压板、升降板、旋转螺杆、收纳凹槽、弹性导电铜块、连接杆、升降电机、L型限位框、滑杆和承载板的配合使用,可一次对多个锂离子电池同时进行化成检测,这样化成检测装置的检测效率更高,解决了化成检测装置在检测锂离子电池的过程中,因一次只能对少量锂离子电池进行检测,不能同时对多个锂离子电池同时进行检测,从而导致化成检测装置出现检测效率较低的问题。

标签:
加工技术
江西 - 宜春 来源:中冶有色网 2023-03-18
碳酸锂提取用盛放装置
碳酸锂提取用盛放装置 1126     
 0

本实用新型涉及碳酸锂领域,具体为一种碳酸锂提取用盛放装置,包括罐体,所述罐体的底部活动连接有连接轴,所述连接轴的外壁固定连接有活动块,所述罐体的顶部活动连接有盖板,所述罐体的顶部外壁开设有连接槽,所述盖板的内壁开设有容纳槽,所述容纳槽的内部活动连接有连接杆。该碳酸锂提取用盛放装置,通过罐体、连接槽、容纳槽、连接杆、复位弹簧、支撑块、把手和凸块,实现了多级锁死的功能,解决了现有的螺栓拧动关闭后容易发生意外转动的问题,继而避免了意外打开后导致的撒漏现象,进而避免了浪费,提高了盛放的稳定性,确保了盛放工作的有效进行,进一步满足了人们的工作需求,值得推广使用。

标签:
加工技术
江西 - 宜春 来源:中冶有色网 2023-03-18
锂云母焙砂尾气处理系统

本实用新型提供一种锂云母焙砂尾气处理系统。所述锂云母焙砂尾气处理系统包括窑尾烟室;散热箱,所述散热箱通过尾气输送管道与所述窑尾烟室相连接;余热锅炉,所述余热锅炉靠近所述窑尾烟室的一侧设有余热管道,所述余热管道与所述尾气输送管道相连通,所述余热锅炉与所述散热箱通过管道相连接;一级旋风收尘器,所述一级旋风收尘器通过管道与所述散热箱相连接;二级旋风收尘器,所述二级旋风收尘器通过管道与所述一级旋风收尘器相连接;布袋除尘器,所述布袋除尘器与所述二级旋风收尘器通过与所述二级旋风收尘器相连接。本实用新型提供的锂云母焙砂尾气处理系统具有尾气处理效果好、便于拆卸布袋的优点。

标签:
加工技术
江西 - 宜春 来源:中冶有色网 2023-03-18
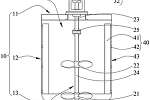
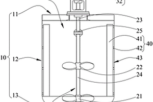
锂电池浆料循环搅拌装置

本实用新型涉及一种锂电池浆料循环搅拌装置,所述锂电池浆料循环搅拌装置包括釜体、位于所述釜体内底部一侧的用于将流体形成斜向上的流动形态的斜插式搅拌桨、位于所述釜体内部用于将流体形成径向的流动形态的竖直搅拌桨及循环管路;所述竖直搅拌桨的高度高于所述斜插式搅拌桨,所述循环管路的入口端和出口端分别连接在位于竖直搅拌桨上方的釜体处和位于斜插式搅拌桨下方的釜体处,本实用新型所述锂电池浆料循环搅拌装置能实现浆料中活性物质与导电剂之间的混合均匀性,同时提高浆料的搅拌效率。

标签:
加工技术
江西 - 宜春 来源:中冶有色网 2023-03-18
生产电池级碳酸锂的反应器

本实用新型公开了一种生产电池级碳酸锂的反应器,包括反应箱,反应箱的顶部设置有下料口、控制机箱和进气口机箱,下料口的正中位置设置有下料口阀门,下料口的顶部设置有搅拌筒.搅拌筒的顶部设置有放料口,搅拌筒的内部设置有搅拌轴和转换器,控制机箱的正面设置有显示面板和控制面板,显示面板的表面设置有工作指示灯和显示屏,控制面板的表面设置有电源开关、气压控制开关和温度控制开关,控制机箱的顶部设置有电机,电机的一侧设置有散热孔,电机的另一侧设置有电机转子,种生产电池级碳酸锂的反应器利用其强大的搅拌轴、气压控制器和下料支管实现了可控制碳酸锂结晶过程和使浓度场均匀分布的目的。

标签:
加工技术
江西 - 宜春 来源:中冶有色网 2023-03-18
废旧锂电池提取硫酸钴用节能型离心机

本实用新型公开了废旧锂电池提取硫酸钴用节能型离心机,包括机箱,所述机箱的顶部连通有加料斗,所述机箱内壁的一侧固定连接有隔板,所述隔板底部的中心处固定连接有保护箱,所述保护箱内壁的底部固定连接有电机。本实用新型通过设置隔板、保护箱、电机、转轴、转板、固定块、承载板、第一过滤网、半圆形漏孔、第二过滤网、收集箱、斜块、排料管、排料阀、挡板、支腿、防滑垫和控制器相互配合,达到了过滤效果好的优点,解决了现有的废旧锂电池提取硫酸钴用节能型离心机过滤效果不佳的问题,使废旧锂电池提取硫酸钴用节能型离心机在使用时,能够有效的过滤硫酸钴内的杂质,不影响后续加工。

标签:
加工技术
江西 - 宜春 来源:中冶有色网 2023-03-18
铜锂复合带的生产装置
铜锂复合带的生产装置 1016     
 0

本实用新型公开一种铜锂复合带的生产装置,包括主体柜、控制箱、放卷滚轴、左纠偏磁粉器、右纠偏磁粉器、收卷滚轴、第一辊轮第二辊轮和对辊平台,收卷滚轴固定在主体柜下侧中间,铜丝网带盘上的铜丝网带通过放卷滚轴可滑移于第一辊轮和第二辊轮之间,两个锂带卷上的金属锂带分别通过对应的左纠偏磁粉器和右纠偏磁粉器可滑移于第一辊轮和第二辊轮之间,铜丝网带中下端左右两侧分别通过第一辊轮和第二辊轮与对应的两个金属锂带贴合连接并可滑移于收卷滚轴内。本实用新型一种铜锂复合带的生产装置,减少金属锂带发生变形和粘连问题,提高产品合格率,减少环境污染,完成铜锂复合带生产作业,保证生产的连续性。

标签:
加工技术
江西 - 宜春 来源:中冶有色网 2023-03-18
方便收集物料的锂云母浸取液液固分离装置

本发明公开了一种方便收集物料的锂云母浸取液液固分离装置,包括外筒、缓冲杆、加热丝、固定块和竖板,所述外筒的上端左侧固定安装有进料口,所述齿轮的外侧啮合连接有内筒,所述齿轮的下方设置有第一连接盘,所述第二连接盘的下端焊接连接有连接杆,所述缓冲杆分别固定安装在内筒的上端四周,所述加热丝等间距安装在外筒的内侧,所述固定块位于外筒的下端,所述竖板位于内筒的外侧。该方便收集物料的锂云母浸取液液固分离装置,解决了大多数锂云母液固分离装置不方便物料收集的问题,且一般的锂云母浸取液液固分离装置不具有减震缓冲功能的问题,并且普通的锂云母浸取液液固分离装置过滤效率不高的问题。

标签:
加工技术
江西 - 宜春 来源:中冶有色网 2023-03-18
氯化锂水溶液的制备方法

本发明公开了一种氯化锂水溶液的制备方法,包括以下步骤:1)锂云母用盐酸浸出,得到盐酸浸出液和含硅滤渣,对盐酸浸出液进行喷雾干燥,得到喷雾料,对喷雾料进行煅烧,得到煅烧料;2)煅烧料用乙醇浸出,得到乙醇浸出液1和铝渣;3)含硅滤渣用乙醇浸出,得到乙醇浸出液2和硅渣;4)乙醇浸出液1和乙醇浸出液2的合并、蒸干,得到氯化锂粗产物;5)氯化锂粗产物溶于水,过滤,得到氯化锂水溶液和三氧化二铁滤渣。本发明可以制备高浓度的氯化锂水溶液,且氯化锂的浓度可以灵活调节,氯化锂水溶液的纯度高,氟离子的含量极低,锂离子的收率高,所使用的盐酸和乙醇可以回收循环利用。

标签:
加工技术
江西 - 宜春 来源:中冶有色网 2023-03-18
安全绝缘锂电池拆装夹手

本实用新型提供一种安全绝缘锂电池拆装夹手。所述安全绝缘锂电池拆装夹手包括上钳头、下钳头和连接轴,所述上钳头与下钳头之间通过连接轴转动连接,所述上钳头的一侧开设有槽孔,所述槽孔内壁的顶部转动连接有起子,所述槽孔内壁的底部固定连接有第一弹簧,所述第一弹簧的顶部固定连接有移动块,所述上钳头和下钳头的底部均固定连接有钳把,两个所述钳把的表面分别套设有第一绝缘橡胶套和第二绝缘橡胶套,所述第一绝缘橡胶套的一侧开设有刀鞘,所述刀鞘的内部转动连接有刀片。本实用新型提供的安全绝缘锂电池拆装夹手具有操作简单,对锂电池的咬合力度更高,并且增加设置了多种拆装工具,使工作人员在拆装使更加安全省力。

标签:
加工技术
江西 - 宜春 来源:中冶有色网 2023-03-18
碳酸锂生产用防潮保护装置

本发明公开了一种碳酸锂生产用防潮保护装置,包括顶盖、有齿轨道和传动齿轮,所述顶盖设置在外筒的顶端,所述有齿轨道安装在内筒的外侧,且有齿轨道与主动轮和从动轮相互连接,所述主动轮安装在电机上,且电机固定在箱体的顶端,所述从动轮与第一轴承的内侧相互连接,所述传动齿轮与主动轮和从动轮相互连接,所述伸缩杆的底端安装有安装架,且安装架上固定有翻动板。该碳酸锂生产用防潮保护装置,采用新型结构对生产出来的碳酸锂进行妥善的保存,而且使得碳酸锂在进入保存容器的过程中,专门设计的结构可以除去碳酸锂中含有的水分,并且设计了具有翻动碳酸锂功能的结构,有利于碳酸锂中水分的散失。

标签:
加工技术
江西 - 宜春 来源:中冶有色网 2023-03-18
利用沉锂烧结微晶泡沫保温装饰板的制备方法

本发明公开了一种利用沉锂烧结微晶泡沫保温装饰板的制备方法,依次包括如下步骤:沉锂母液的处理;高浓度锂离子溶液的烘干;高温熔化;水淬;烘干粉碎;晶化和发泡热处理;退火脱模;加工处理。该利用沉锂烧结微晶泡沫保温装饰板的制备方法能够大量消耗沉锂母液,从而能够对沉锂母液进行充分的回收再利用,便可以有效的减轻沉锂母液原生产过程中的经济损失,同时能够利用沉锂母液进行微晶泡沫保温装饰板的制备工作,便能够有效的凸显出该微晶泡沫保温装饰板制备工序的环保效果,从而凸显了该微晶泡沫保温装饰板制备方法的使用价值。

标签:
加工技术
江西 - 宜春 来源:中冶有色网 2023-03-18
耐超低温锂离子电池用电解液

本发明公开了一种耐超低温锂离子电池用电解液,其由溶质和溶剂组成,所述溶质与溶剂的比例为(10‑16):1,所述溶质为二元体系,由六氟磷酸锂和四氟硼酸锂组成,其质量比为(7~9):1,所述溶剂为四元体系,由碳酸乙烯酯、丙酸乙酯、乙酸乙酯和碳酸亚乙烯酯构成,其体积比为(25~30):(30~35):(30~35):(1~3),所述电解液的整体浓度为0.9~1.3mol/L。本案通过采用乙酸乙酯作为电解液溶剂降低电解液熔点,乙酸乙酯的熔点为‑84℃,极大地提高电解液低温特性,在六氟磷酸锂溶质中添加少量四氟硼酸锂,提高了电解液的低温特性和安全特性。

标签:
加工技术
江西 - 宜春 来源:中冶有色网 2023-03-18
锂渣生产早强水泥的方法

本发明公开了一种锂渣生产早强水泥的方法,属于工业废渣利用及水泥建材技术领域。本发明采用硫酸盐焙烧工艺法锂矿水浸提取碳酸锂后的锂渣作为水泥混合材,与普通水泥或熟料、石膏、石灰石互掺即得一种性能优异的早强水泥。本发明锂渣掺量可达30%,因此能够大幅度降低生产制作成本。本发明工艺方法制得的早强水泥凝结时间短,各时期水泥强度均接近于市售普通42.5R早强水泥,具有良好的应用前景。

标签:
加工技术
江西 - 宜春 来源:中冶有色网 2023-03-18
用于磷酸铁锂自动除磁的装置

本实用新型公开了一种用于磷酸铁锂自动除磁的装置,包括筒体,所述筒体的顶端安装有伺服电机,且筒体的顶部位于伺服电机的一侧设置有进料口,所述筒体的两侧设置有支撑座,所述支撑座的内侧安装有电动液压推杆,所述电动液压推杆的输出端连接筒体底部的挡板,所述伺服电机的输出端连接有搅拌轴。本实用新型通过设置的磁性棒、圆形块、连接板与刷毛,当筒体内的磷酸铁锂进行转动时,磁性棒与磷酸铁锂充分的接触,并对其中的磁性物质进行吸附,有效提高了除磁效果,避免磷酸铁锂中的磁性物质产生自放电大或负极沉积,当拉动连接板时,连接板内部是刷毛对磁性棒上的磁性物质进行清扫,有效解决了磁性棒上的磁性物质不便清除的问题。

标签:
加工技术
江西 - 宜春 来源:中冶有色网 2023-03-18
用于搅拌锂云母浸取液的搅拌装置

本实用新型公开一种用于搅拌锂云母浸取液的搅拌装置,其包括机架,所述机架具有搅拌腔,所述机架形成有均与所述搅拌腔连通的进料口以及出料口;搅拌组件,所述搅拌组件设置于所述搅拌腔内;驱动组件,所述驱动组件设置于所述机架上并于所述搅拌组件连接,以驱动所述搅拌组件在所述搅拌腔内将从所述进料口进入所述搅拌腔内的锂云母浸取液搅拌至所述出料口并从所述出料口处排出;所述搅拌组件包括第一搅拌件以及第二搅拌件,所述第一搅拌件位于所述搅拌腔的底部,所述第二搅拌件位于所述第一搅拌件上方。本实用新型公开的用于搅拌锂云母浸取液的搅拌装置有效解决了搅拌腔底部的锂云母浸取液容易沉积、凝固和结晶的问题。

标签:
加工技术
江西 - 宜春 来源:中冶有色网 2023-03-18
锂离子电池卷绕机
锂离子电池卷绕机 1058     
 0

本实用新型公开了一种锂离子电池卷绕机,包括卷绕机本体,所述卷绕机本体的前侧活动连接有卷筒,所述卷绕机本体前侧的顶部固定连接有支撑板,所述支撑板的前侧固定连接有驱动箱,所述驱动箱内腔的顶部固定连接有电机,所述电机的转轴固定连接有丝杆,所述丝杆的表面螺纹套设有螺纹套。本实用新型具备除尘功能及可对物料进行跑偏检测的优点,解决了现有的锂离子电池卷绕机,在使用过程中,无法对卷绕机表面进行吸尘处理,导致卷绕机表面容易粘附粉尘和物料碎屑,从而影响锂离子电池的加工质量,且由于结构单一,不具有跑偏报警功能,不能对物料进行跑偏检测,降低了锂离子电池卷绕机适用性的问题。

标签:
加工技术
江西 - 宜春 来源:中冶有色网 2023-03-18
氟化锂的提取方法
氟化锂的提取方法 783     
 0

本发明提供一种氟化锂的提取方法,是以锂云母粉经处理提取后的废渣为原料,即将锂云母粉碎后和硫酸溶液浸渍混合反应, 形成固液混合物料,经过滤,冷冻,分离提取钾铷铯矾及锂盐后得到的废渣混合物1,其是向所述混合物1中加水洗涤形成固液混合溶液,将固液混合溶液过滤分离得含氟化锂的混合物2,将混合物2进行加碱除铝处理后过滤分离,得固体氟化锂产品及滤液含铝酸盐的溶液循环利用。在对锂云母原料中的稀有金属元素提取后,生成的废渣再进行充分利用,提取出氟化锂,提高了锂云母原料的综合利用效率,保护环境,变废为宝。?

标签:
加工技术
江西 - 宜春 来源:中冶有色网 2023-03-18
碳纳米管掺杂锂离子电池负极材料制备方法

本发明公开了一种碳纳米管掺杂锂离子电池负极材料制备方法,以多壁碳纳米管掺杂改性天然石墨为原料,制备碳纳米管掺杂锂离子电池负极材料,包括多壁碳纳米管的提纯,制打开端帽碳纳米管,分散处理,制碳纳米管掺杂锂离子电池负极活性材料;其增强了离子电池负极材料表面强度、提高了导电性能和循环性能。碳纳米管端帽打开又大幅度提高了碳纳米管的储锂性能。制备工艺简单,有利于工业产业化应用。

标签:
加工技术
江西 - 宜春 来源:中冶有色网 2023-03-18
用于搅拌锂云母浸取液的搅拌装置

本发明公开一种用于搅拌锂云母浸取液的搅拌装置,其包括机架,所述机架具有搅拌腔,所述机架形成有均与所述搅拌腔连通的进料口以及出料口;搅拌组件,所述搅拌组件设置于所述搅拌腔内;驱动组件,所述驱动组件设置于所述机架上并于所述搅拌组件连接,以驱动所述搅拌组件在所述搅拌腔内将从所述进料口进入所述搅拌腔内的锂云母浸取液搅拌至所述出料口并从所述出料口处排出;所述搅拌组件包括第一搅拌件以及第二搅拌件,所述第一搅拌件位于所述搅拌腔的底部,所述第二搅拌件位于所述第一搅拌件上方。本发明公开的用于搅拌锂云母浸取液的搅拌装置有效解决了搅拌腔底部的锂云母浸取液容易沉积、凝固和结晶的问题。

标签:
加工技术
江西 - 宜春 来源:中冶有色网 2023-03-18
含锂废料高值利用的系统工艺方法

本发明涉及一种含锂废料高值利用的系统工艺方法,属于废料回收领域,包括如下步骤:1)将含锂废料研磨至粒度60‑325目;2)将含锂废料和辅料按一定比例进行混合,得到混料;3)将所得混料放入高温炉进行高温焙烧,得到熟料;4)将所得熟料和水按一定比例进行浸出,得到浸出液;5)将所得浸出液进行除杂净化,得到净化液;6)将所得净化液进行蒸发浓缩,得净化浓缩液;7)净化浓缩液与纯碱按、氢氧化钠或氯化钙一定比例进行沉锂,分别得到电池级碳酸锂产品、氢氧化锂产品或氯化锂产品。本发明可以实现不同含锂废料同时回收利用,变废为宝,且工序简洁,易于操作,成本低廉,产品品质稳定。

标签:
加工技术
江西 - 宜春 来源:中冶有色网 2023-03-18
具有防护结构的可拼接式锂电池用存放装置

本实用新型公开了一种具有防护结构的可拼接式锂电池用存放装置,包括转运箱壁、锂电池本体和固定底座,所述转运箱壁的底部开设有卡槽,且转运箱壁的外壁螺纹连接有紧固栓,并且转运箱壁的内壁焊接有隔板。该具有防护结构的可拼接式锂电池用存放装置,设置有隔板对转运箱壁内部空间进行分层,并在每一层设置有固定卡座,方便了锂电池卡接,固定卡座内壁设置有橡胶垫,在起到增大摩擦作用的同时,起到了缓冲保护的作用,并在锂电池顶部设置有海绵垫,对锂电池的顶部进行保护,具有分层保护机构,使得锂电池在运输过程中不易发生震荡和磕碰,减少了锂电池的损坏,降低了锂电池的报废率,有利于锂电池的转运工作,使得装置的实际使用效果较好。

标签:
加工技术
江西 - 宜春 来源:中冶有色网 2023-03-18
制备含有锂离子的溶液的方法、设备及应用

本申请提供了一种制备含有锂离子的溶液的方法,并利用制备的该含有锂离子的溶液制备碳酸锂,此外,本申请还提供一种多级逆流固液接触设备。在制备含有锂离子的溶液的方法中,所用原料可以是各种含锂回收原料,锂的回收率达到了94%以上,不仅节约了宝贵的锂资源,还能通过进一步制备碳酸锂来满足国内电动车电池及大型储能电池旺盛的市场需求。

标签:
加工技术
江西 - 宜春 来源:中冶有色网 2023-03-18
用于单体锂电池的筛选机构

本实用新型公开了一种用于单体锂电池的筛选机构,涉及污水净化技术领域,该种单体锂电池筛选机构,包括筛选机和电线,筛选机的表面焊接有多个固定板,皮带的内部安装有传动轴。设置双开板的结构呈,两个长方形的板子拼凑而成,当工作人员将锂电池放置在固定板中,锂电池如果电流相通,设置在筛选机底部的活动轴承将会旋转,使得双开板打开,使得相通的电池掉落下去,设置皮带且设置有一条,且安装在筛选机下侧,当筛选机将电池筛选过,通过双开板掉落下去,设置在底部的皮带,就能通过传动轴带动皮带,使得掉在皮带上的锂电池能够快速的运送出去,适用于锂电池的筛选机构生产和使用,具有良好的发展前景。

标签:
加工技术
江西 - 宜春 来源:中冶有色网 2023-03-18
上一页 28 29 30 31 32 ... 40 下一页
共40页    到第

中冶有色为您提供最新的江西宜春有色金属加工技术理论与应用信息,涵盖发明专利、权利要求、说明书、技术领域、背景技术、实用新型内容及具体实施方式等有色技术内容。打造最具专业性的有色金属技术理论与应用平台!

全国热门有色金属设备推荐
展开更多 +
全国热门有色金属技术推荐
展开更多 +

 

江西省隆恩特环保设备有限公司
宣传

报名参会
更多+

报告下载

有色专家
更多+

郑州大学
副院长/教授
矿冶科技集团江苏北矿金属循环利用科技有限公司
书记 / 总经理
中国矿业大学
教授
江西理工大学
副校长/教授
长沙矿冶研究院
总经理
赤泥综合利用研究报告2025
推广

热门技术
更多+

推荐企业
更多+

福建省金龙稀土股份有限公司
宣传

发布

在线客服

公众号

电话

顶部
咨询电话:
010-88793500-807