青岛垚鑫智能科技有限公司
宣传

位置:中冶有色 >

有色技术频道 >

> 加工技术

分类:
全部
矿山技术
冶金技术
材料制备及加工技术
环境保护技术
分析检测技术
 
全部
功能材料技术
复合材料技术
新能源材料技术
合金材料技术
加工技术
地区:
全部
北京
天津
上海
重庆
河北
山西
辽宁
吉林
黑龙江
江苏
浙江
安徽
福建
江西
山东
河南
湖北
湖南
广东
海南
四川
贵州
云南
陕西
甘肃
青海
内蒙
广西
西藏
宁夏
新疆
其他
其他
展开
 
全部
杭州
宁波
温州
绍兴
湖州
嘉兴
金华
衢州
台州
丽水
舟山

浙江湖州有色金属加工技术理论与应用

免费发布技术信息>>
芳香族聚酰胺多孔膜、其制备方法及锂离子二次电池

本发明提供一种芳香族聚酰胺多孔膜、其制备方法及锂离子二次电池,其整体为三维网络状多孔结构;所述孔的尺寸为微米级。本发明芳香族聚酰胺多孔膜的网络状多孔结构从内部到表面连通,为一个整体,非常适合用于锂电池隔膜,且该多孔膜制备方法简单,适用于大工业化生产需求。

标签:
加工技术
浙江 - 湖州 来源:中冶有色网 2023-03-18
锂离子电池正极匀浆方法

本发明涉及一种电池正极材料的匀浆方法,特别涉及一种锂离子电池正极匀浆方法。一种锂离子电池正极匀浆方法,该方法包括以下步骤:a、将包括粘结剂、导电剂、主料在内的电极正极干粉料一次性全部投入至V型搅拌机内,搅拌45-60分钟得到混合料;b、将混合料转至匀浆锅内,根据电极正极的配方加入部分溶剂,搅拌30-40分钟;c、向匀浆锅内加入剩余溶剂,继续搅拌3小时以上。该方法通过引入V型搅拌机改变匀浆工艺,简化操作步骤、缩短匀浆周期、提高生产效率和产品质量。

标签:
加工技术
浙江 - 湖州 来源:中冶有色网 2023-03-18
锂离子动力电池水性浆料及其制造方法

本发明公开了一种锂离子动力电池水性浆料,由粉料、溶剂、粘结剂和添加剂组成,其质量百分比为:粉料:40%~55%;溶剂:40%~55%;粘结剂:4~5%;添加剂:0.02%~2%。制造所述锂离子动力电池水性浆料的方法,包括以下步骤:预处理;预混合;胶的配制;浆料配制。本发明由于采用了上述技术方案,通过在配方中添加了活性物质,有效改善了电池的循环寿命;相对于油性配方,本发明中使用了去离子水作为溶剂降低了电池制造成本;本发明中使用了水性胶,是一种具有胶粘性和增塑性的一种物质,改善浆料的性能和极片制造性能。

标签:
加工技术
浙江 - 湖州 来源:中冶有色网 2023-03-18
锂电池中羧甲基纤维素钠的溶解方法

本发明属于锂电池技术领域,公开了一种提高锂电池中浆料分散效果的羧甲基纤维素钠的溶解方法,依次包括以下步骤:A.将羧甲基纤维素钠加入盛有去离子水的容器中,进行初步搅拌;B.将容器放入-30~-10℃低温环境下静置15~25min,用玻璃棒搅拌后,得到羧甲基纤维素钠冰晶体;C.将得到的羧甲基纤维素钠冰晶体放入去离子水中,抽真空高速搅拌,充分溶解。本发明打破传统CMC钠盐溶解方法,采用低温环境下水和CMC钠盐形成冰晶体,提高CMC的溶解性,防止其团聚,进而提高其溶解效果和分散效果。与此同时,低温环境下的CMC钠盐与水的固相混合物可长时间存储和随时取用,解决了微生物对CMC钠盐的危害。

标签:
加工技术
浙江 - 湖州 来源:中冶有色网 2023-03-18
锂电池正极材料生产工艺

本发明公开了一种锂电池正极材料生产工艺,其步骤分为上料→烘干→研磨→分装,通过正极材料生产一体机可实现了锂电池正极材料的自动化生产,大大提高工作效率,降低劳动强度,所述正极材料生产一体机包括有干燥设备,所述干燥设备通过移动驱动机构调整搅拌杆的位置从而能够实现出料状态和进料状态自动切换,结构紧凑,合理,操作简单,通过分层搅拌单元的设置使得进入的原材料能够在分层搅拌单元阻挡下被分散与分流,逐层缓慢地下落,搅拌更加充分,能够均匀且充分地吸收热量,同时通过搅拌单元的设置使得搅拌杆在旋转的过程中其稳定性更佳,不会晃动,无噪声。

标签:
加工技术
浙江 - 湖州 来源:中冶有色网 2023-03-18
锂电池组加工使用的分条机

本发明公开了一种锂电池组加工使用的分条机,涉及锂离子电池生产技术领域,包括工作台,所述工作台的上表面固定连接有U型板,所述U型板的内顶壁安装有两个第一电动伸缩杆,所述工作台的上方设有移动板,两个所述第一电动伸缩杆的伸缩端固定连接于移动板的上表面,所述移动板的底面开设有第一滑槽。本发明设计结构合理,它能够通过卡块、第一支撑板、工型滑块、通槽、滑板、第一电动伸缩杆、第二电动伸缩杆和移动板的配合设计,第一电动伸缩杆的伸缩端伸长带动卡块下移从而夹住刀具,在工型滑块、通槽和连杆的配合设计之下,第二电动伸缩杆的伸缩端伸缩带动三个滑板在第一滑槽内等距移动。

标签:
加工技术
浙江 - 湖州 来源:中冶有色网 2023-03-18
串联锂离子电池组均衡控制电路

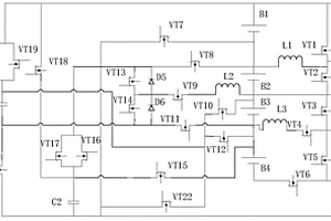
本发明涉及电池均衡技术领域,具体为一种串联锂离子电池组均衡控制电路,包括电池组以及与电池组连接的均衡控制器,所述电池组包括四个依次串联的电池单体B1、B2、B3和B4,均衡控制器包括:晶体二极管D1、D2、D3、D4、D5和D6;功率MOS管VT1、VT2、VT3、VT5、VT13和VT14;电感L1、L2和L3;电容C1和C2;通过本发明提供的串联锂离子电池组均衡控制电路,与传统开关电感均衡控制电路不同的地方在于增加了VT4、VT6、VT8、VT9、VT11五个功率MOS管,目的是为了相邻与非相邻单体电池之间的均衡控制,降低均衡损耗,提高均衡速度和效率,具有突出的实质性特点和显著的效果。

标签:
加工技术
浙江 - 湖州 来源:中冶有色网 2023-03-18
氢氧化锂产品储装设备

本发明公开了氢氧化锂储装技术领域的一种氢氧化锂产品储装设备,包括置放板、撑架和限位撑杆,所述置放板为方形板,所述置放板的左右两侧的底壁设置有脚撑,所述置放板的中部均匀设置有副脚撑,所述置放板的左右两侧的顶部皆均匀开设有限位插孔,且限位插孔贯穿脚撑的底壁,所述脚撑和副脚撑的底壁皆均匀开设有限位脚槽,脚撑和副脚撑的设置方便将置放板支撑在地面上,使置放板位于地面的上方,以便叉车的货叉插入,限位插孔和限位撑柱的插装配合,方便撑架的安装或拆卸,限位脚槽、上撑板插槽和限位撑杆的配合,方便置放板的码放堆叠。

标签:
加工技术
浙江 - 湖州 来源:中冶有色网 2023-03-18
锂离子电池硅碳复合负极材料的制备方法及其产品

本发明涉及一种锂离子电池硅碳复合负极材料的制备方法及其产品。属于锂离子电池负极材料技术领域。该方法包括以下步骤:将硅合金粉末加入到酸液中,待合金完全溶解,去离子水洗涤,置于HF溶液中搅拌,再次用去离子水洗涤,真空干燥,再分散至分散剂中,制得硅粉分散液;将石墨、粘结剂、硅粉分散液混合均匀;二次真空干燥;炭化;炭化产物置于分散剂中,加入包覆剂,拌匀;三次次真空干燥;二次炭化。本发明所述双层粘结包覆模型结构缓解了硅在充放电过程中因体积膨胀和收缩产生的机械应力,消除体积效应。

标签:
加工技术
浙江 - 湖州 来源:中冶有色网 2023-03-18
生产钽酸锂的研磨双面抛光机

本发明公开了一种生产钽酸锂的研磨双面抛光机,涉及钽酸锂研磨抛光技术领域,包括放置工作台、放置台、外侧立板、转动器和打磨抛光头,所述放置工作台的顶部外表面上设置有放置台,所述放置工作台的左右两侧外表面上可拆卸式安装有外侧立板,所述外侧立板的一侧顶部外表面上设置有转动器。本发明空气经过导气立管的内部,配合排气软管对空气进行分化,导向延伸管的内部,再通过雾化口将空气进行雾化排放出去,利用颗粒的重量在水源的内部进行稀释、沉降,具备了对空气中残留的颗粒进行过滤的特点,解决了一些颗粒比较小、细致,普通的过滤层无法过滤干净的问题,达到了对空气中残留的颗粒进行水源过滤的效果。

标签:
加工技术
浙江 - 湖州 来源:中冶有色网 2023-03-18
可冷却灭火型阻燃锂离子电池铝塑膜及电池

本发明涉及一种可冷却灭火型阻燃锂离子电池铝塑膜及电池,本发明通过在铝塑膜外层涂布一种可降温灭火型涂料,或复合一层可降温灭火型预制膜层,所述涂料或预制膜内所含有阻燃、冷却灭火功能的微胶囊粉体附着于铝塑膜的最外层,当锂离子电池发生热失控或火灾时,涂料中的微胶囊破裂,释放出阻燃、灭火和冷却成分,起到迅速灭火和降温电池效应,阻止电池着火和爆炸概率,特别是对于动力及储能中的电池组,可迅速降低单一电芯温度失控对电池组的整体破坏,可保护整体电池组的整体安全。

标签:
加工技术
浙江 - 湖州 来源:中冶有色网 2023-03-18
用于锂二次电池电解液的酰胺化合物的合成方法、酰胺化合物及非水电解液

本发明提供一种用于锂二次电池电解液的酰胺化合物的合成方法、酰胺化合物及非水电解液。所述酰胺化合物的合成方法包括:羧酸酯与仲胺反应得到酰胺化合物其中,R1选自卤素取代烷基或氰基取代烷基;R2,R3分别选自烃基,或R2,R3分别选自含有硼、硅、氮、磷、氧、硫、氟、氯、溴及碘中至少一种元素的有机基团;其中,所述R1、R2、R3为独立取代基团;或所述R1、R2与R3中至少两个联合成环。使用本发明合成的酰胺化合物中残留的有害物质少,杂质含量少,产率高,不仅能够适用于路易斯酸存在的以LiPF6为电解质盐的非水电解液体系,也能够适用于含有高价态的过渡金属元素的正极材料的碱金属离子二次电池。

标签:
加工技术
浙江 - 湖州 来源:中冶有色网 2023-03-18
锂离子电池硅碳复合材料及其制备方法

本发明公开了一种锂离子电池硅碳复合材料及其制备方法,属于锂离子电池技术领域。所述复合材料包括:包含纳米硅、碳材料、纳米惰性金属或金属硅化物的复合颗粒,以及包覆在所述复合颗粒表面的碳层,所述复合材料为具有微米尺寸的多孔二级结构,由纳米硅、碳材料、金属盐和有机碳源溶液混合,经喷雾热解和烧结碳化制得。该复合材料可以充分发挥出硅、碳和金属材料的协同效应,硅材料的电化学容量高,碳材料增加导电性,惰性金属或金属硅化物可以进一步增加导电性并减少体积变化;多孔二级结构有效地提高了振实密度并适应了硅的体积膨胀以减轻机械应力。

标签:
加工技术
浙江 - 湖州 来源:中冶有色网 2023-03-18
废旧三元聚合物锂离子动力电池材料的高效回收方法

本发明公开了一种废旧三元聚合物锂离子动力电池材料的高效回收方法,包括以下步骤:步骤一、先对废旧三元聚合物动力锂电池进行放电;步骤二、物理拆解获得电池单元,微生物碱浸法剥离集流体Cu;步骤三、微生物酸浸法将正、负电极相互剥开;步骤四、将剥离的正极片加入到丙酮中恒温处理,然后用抽滤漏斗进行抽滤,烘干后用纱筛筛选出正极材料;步骤五、将剥离的负极片进行粉碎后过40‑160目筛,再加入到丙酮中恒温处理,然后用抽滤漏斗进行抽滤,100℃烘干,得到碳负极材料。本发明加入耐碱微生物可以提升生产效果,而加入耐酸微生物可以有效提升铜、铬、锰、钴、镍等各种重金属在酸中的溶解效果,使后续回收的正负极材料更加安全。

标签:
加工技术
浙江 - 湖州 来源:中冶有色网 2023-03-18
圆柱型锂离子电池PACK生产工艺

本发明公开了一种圆柱型锂离子电池PACK生产工艺,包括以下步骤:A.修剪铝带、B.铝带点焊、C.铝带加固、D.修剪镍带、E.镍带点焊、F.镍带加固、G.正负极加锡、H.圆柱形电芯的串联、I.PCB加锡、J.PCB的固定、K.焊接B+B-、L.半成品检测、M.组装成品、N.成品检测、O.打码贴防伪标记、P.包装出货,本发明通过采用合理的锂电池PACK工艺流程,从而有效的避免了电池组的导电不良与电池组电芯漏液情况的发生;本发明还通过对焊接在电芯正负极耳上的铝带和镍带进行了加固,从而有效的增加了焊接在电芯正负极耳上的铝带和镍带的抗拉强度。

标签:
加工技术
浙江 - 湖州 来源:中冶有色网 2023-03-18
含有离子液体电解质的锂离子二次电池

本发明提供一种锂离子二次电池,包含正极、负极、隔膜和电解质,其中电解质为离子液体电解质,隔膜为极性多孔隔膜。离子液体电解质与极性多孔隔膜相结合应用于锂离子二次电池,使得电池的性能得到明显改善,包括提高电池大电流高倍率充放电性能、非常明显地延长了电池的循环寿命性能。

标签:
加工技术
浙江 - 湖州 来源:中冶有色网 2023-03-18
焊接锂离子电池盖帽用的工装及焊接机构

本实用新型公开了一种焊接锂离子电池盖帽用的工装及焊接机构,属于锂电池生产技术领域。所述工装包括可水平向往复移动的压块,所述压块上具有与正对焊接工位供激光束通过的焊接孔,所述焊接孔呈圆锥形,孔径自焊接口向另一端逐渐增加,所述焊接孔的孔壁上开设有出渣口。所述焊接机构包括所述工装以及向所述工装的焊接孔吹气的吹气装置。本实用新型工装设计成锥形,避免了在盖帽焊接时产生的火花落入电芯中,焊渣沿着焊接孔孔壁滑落从出渣口排出,避免了焊渣堆积产生的虚焊,同时使焊接位置更接近电芯,降低折极耳过程碰壁短路的风险,进一步提高了电池的安全性。

标签:
加工技术
浙江 - 湖州 来源:中冶有色网 2023-03-18
带有GPS/GPRS模块的金属外壳锂电池系统

本实用新型公开了一种带有GPS/GPRS模块的金属外壳锂电池系统,其包括:设置于一金属盒上的GPS/GPRS模块,所述的GPS/GPRS模块与一处理器连接,所述的处理器分别与应用数据模块、监控模块和显示模块连接,所述的处理器还与一服务器连接,其中,还有一给上述各个模块供电的供电模块;本实用新型结构简单合理,使用方便,功能简洁,稳定性好,可以及时的监控获得锂电池的运行状态,这样便于进行监控管理,也可实施远程控制。

标签:
加工技术
浙江 - 湖州 来源:中冶有色网 2023-03-18
锂离子动力电池验漏装置

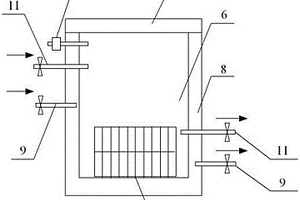
本发明公开了一种锂离子动力电池验漏装置,涉及电池加工技术领域。该锂离子动力电池验漏装置,包括承重板、夹持机构和验漏机构,夹持机构包括设置于承重板上的纵向调整组件和设置于纵向调整组件上的限位组件,限位组件上设置有吸盘,验漏机构包括设置于承重板上的密封组件和设置于密封组件上的抽气组件。该装置可以对不同型号尺寸大小的电池进行夹持固定,一方面可以避免在抽气过程中,由于吸力影响导致电池晃动且堵塞抽气孔,导致真空抽气泵无法继续往外抽气电池无法处于真空状态,从而导致验漏工作正常运作的情况出现,同时限位组件与验漏机构组合使用可以使得电池处于密封的状态,利于对夹持在限位组件上的电池进行验漏。

标签:
加工技术
浙江 - 湖州 来源:中冶有色网 2023-03-18
锂电池模块自动组装设备

本发明公开了一种锂电池模块自动组装设备,包括点焊机,点焊机包括外箱体、报警器、控制器、工作台、第一直线导轨电机、第二直线导轨电机、电池夹座、激光焊接头和滑槽,外箱体固定安装在底座顶部,外箱体顶部固定安装有报警器,外箱体一侧固定安装有控制器,外箱体内部固定设置有工作台,工作台顶部固定安装有第二直线导轨电机。该种锂电池模块自动组装设备,结构简单合理,设计新颖,通过设置激光点焊接头和电池夹座的配合使用,解决解决传统的人力焊接电池的问题,实现对电池焊接的基本无人化操作,减少人员的使用,减轻工作人员的劳动强度,提高人员的使用效率,提升工作效率,同时也避免在生产流程中存在危险隐患,提升安全性。

标签:
加工技术
浙江 - 湖州 来源:中冶有色网 2023-03-18
废旧镍钴锰三元锂离子电池中有价金属的回收方法

本发明公开了一种废旧镍钴锰三元锂离子电池的正极材料的回收方法,该方法将正极材料加碱溶解,分离获得溶解液I和不溶物;将不溶物酸解,得到溶解液II,调节pH值至碱性,形成沉淀,得到滤液I和沉淀物I;将沉淀物I酸解,得到溶解液III,向其中加入氨水进行络合,调节pH值至碱性后,再加入可溶性碳酸盐,过滤,获得滤液II和沉淀物II;向滤液II中加入可溶性碳酸盐,加热,得到沉淀物III;再酸解后,调节pH值至3.0~3.5,再加入次氯酸盐调节pH值至2.0~3.0,过滤,获得滤液III和沉淀物Ⅳ。本发明方法不采用任何萃取剂和其他有机溶剂回收废旧锂离子电池中的多种有价金属,回收效率高,污染小、成本低,适合工业化推广。

标签:
加工技术
浙江 - 湖州 来源:中冶有色网 2023-03-18
长循环寿命锂电池及其生产设备

本发明公开了一种长循环寿命锂电池生产设备,包括混合箱与装料箱,所述混合箱的上端面固定连接有驱动电机,所述驱动电机贯穿混合箱下端面的一端固定连接有传动轴,所述混合箱的内腔壁通过衔接管连通有环形喷管,所述衔接管的内腔壁固定连接有漏槽板,所述漏槽板的上端面滑动连接有挡板,所述竖板的前端面滑动连接有刮环,所述混合箱的内腔壁开设有螺旋槽,解决了现有的长循环寿命锂电池生产设备在制作完混合负极和正极浆液时需要人工对混合箱内壁进行清洗,不然会造成电池溶剂粘连在混合箱内壁,长期粘连会造成结痂越厚的现象,以及不便将所需添加的溶剂进行少量多次的加入混合桶内,降低了整个混合生产设备的工作效率的问题。

标签:
加工技术
浙江 - 湖州 来源:中冶有色网 2023-03-18
锂电池铝塑膜用复合胶黏剂及其制备方法

本发明提供一种锂电池铝塑膜用复合胶黏剂,胶黏剂包括组分A;组分A包括:3%‑10%的马来酸酐改性的聚烯烃弹性体;1%‑5%的羧基封端聚酯;0%‑1%的偶联剂;余量为有机溶剂。本发明还提供了一种锂电池铝塑膜用复合胶黏剂的制备方法。本发明通过马来酸酐改性聚烯烃,增加活性基团,提高与AL层粘合力,同时加入羧基封端聚,通过固化反应,提高整体交联程度,从而提高耐电解液水平;此外,本发明加工工艺简单,满足铝塑膜应用需求。

标签:
加工技术
浙江 - 湖州 来源:中冶有色网 2023-03-18
一次锂电池的电解液及其制备方法和应用

本发明涉及一种一次锂电池的电解液及其制备方法和应用,所述电解液包括电解质,有机溶剂和除水剂;所述除水剂包括对甲苯磺酰异氰酸酯和/或含氟异氰酸酯。本发明所述一次锂电池的电解液在不使用分子筛的前提下,在电解液配制时,所述除水剂与其他组分短时间内混合,电解液的含水量即可达到较低的水平。

标签:
加工技术
浙江 - 湖州 来源:中冶有色网 2023-03-18
适用于锂离子电池的多孔硅碳负极材料的制备方法

本发明提供了一种适用于锂离子电池的多孔硅碳负极材料的制备方法,属于锂离子电池技术领域。该方法包括以下步骤:a.将多孔硅加入水溶性碳基材料水溶液搅拌均匀;b.将所得悬浊液干燥后粉碎;c.将所得粉末与可软化的碳基材料均匀混合后热处理;d.将热处理后的材料粉碎后进行炭化处理;e.炭化后的材料经粉碎后分级或筛分取细度为200目以上的颗粒,即得到所需的多孔硅碳负极材料。本发明通过在多孔硅的内部及表面复合碳材料,进一步改进了多孔硅基材料的结构强度、首次库伦效率和循环性能。此外,本发明所涉及的原料成本低廉,工艺设备简单,易于工业化生产,具有较好的市场潜力。

标签:
加工技术
浙江 - 湖州 来源:中冶有色网 2023-03-18
锂离子电池硅基负极用粘结剂及其制备方法和应用

本发明公开了一种锂离子电池硅基负极用粘结剂及其制备方法和应用,属于能源材料技术领域。所述粘结剂以质量百分比计,其组成包括:线型高分子10‑80%、导电高分子10‑60%、自修复高分子10‑60%。本发明提供的复合粘结剂通过对线型高分子,导电高分子和自修复高分子进行交联改性,得到由刚柔结合的链和键组成的三维网络结构,其在具有较好粘附性和机械性能的同时兼备导电性和自修复性,将其运用在锂离子电池硅基负极材料中可以增加电极材料和集流体之间的粘附性,容纳材料在充放电循环过程中的大的体积变化,而且可使硅颗粒在多次循环和粉化后仍能保持导电性和循环后产生的裂纹实现自修复,提升整个电极结构的导电性和稳定性。

标签:
加工技术
浙江 - 湖州 来源:中冶有色网 2023-03-18
多孔态锂离子电池相分离装置

本发明为一种多孔态锂离子电池相分离装置,设有三级萃取室、底座以及控制机构,三级萃取室固定在底座上,底座与三级萃取室之间设有与控制机构相连接的振动机构,所述反应釜设有釜体、与釜体相连接的密封盖、水浴夹套、真空排气机构以及溶剂交换机构,其中釜体位于水浴夹套中,水浴夹套上还设有与外部储水容器相连接的循环水管,真空排气机构中设有固定在釜体上的真空控制阀,采用此发明的相分离设备可以有效提高萃取效率,获得相分离充分的锂电池单元,从而保证隔膜的多孔态结构,为电池性能的发挥提供保证。

标签:
加工技术
浙江 - 湖州 来源:中冶有色网 2023-03-18
锂离子电池模组加热结构

本发明公开了一种锂离子电池模组加热结构,旨在解决锂离子电池加热装置结构复杂,加热不均,加热效率低的不足。该发明包括电池盒,电池盒内安装有若干个电池单体,电池单体之间连接汇流排,电池盒上端安装有加热膜,加热膜包括上覆层、下覆层、热压在上覆层和下覆层之间的电热丝,电热丝的两端均连接引出导线,引出导线一部分热压在热压在上覆层和下覆层之间,另一部分延伸出加热膜,上覆层和下覆层之间设有若干个和汇流排对应设置的电压采集焊接片,电压采集焊接片均电连接采集导线,采集导线热压在上覆层和下覆层之间,采集导线端部延伸出加热膜并且均连接到引出端子,电压采集焊接片露出下覆层外表面并与汇流排焊接。

标签:
加工技术
浙江 - 湖州 来源:中冶有色网 2023-03-18
大容量高倍率方形锂离子动力电池及其制造方法

本发明公开了一种大容量高倍率方形锂离子动力电池及其制造方法,其包括电芯,所述电芯包括一侧设有若干空白铜箔)的负极片、一侧设有若干空白铝箔的正极片、隔膜,负极片与正极片之间设置隔膜,并使负极片上的所有空白铜箔在隔膜的一侧伸出,正极片上的所有空白铝箔在隔膜的另一侧伸出,负极片、隔膜和正极片叠放卷绕后形成电芯,所有空白铜箔整齐重叠,所有空白铝箔整齐重叠。本发明采用新的涂布方法和新的极片分切方式,既实现了叠片与卷绕的组合,又减少了连接条的使用,提高了生产效率,降低了生产成本,减小了电池内阻,提升了电池的放电平台,提高了电池的安全性。

标签:
加工技术
浙江 - 湖州 来源:中冶有色网 2023-03-18
新型保护片及含有新型保护片的锂电池盖板

本发明涉及一种新型保护片及含有新型保护片的锂电池盖板,包括塑料基材以及涂敷在塑料基材上的胶层,胶层由遇热硬化材料制备而成;所述塑料基材为PP、PE、PVC、PET,厚度为0.05‑0.1mm;所述胶层为聚氨酯层、丙烯酸层或丙烯酸聚氨酯层,厚度为0.02‑0.1mm;所述胶层中含有3‑6%的封闭型异氰酸酯固化剂MF‑K60X,在温度>120℃时固化;一种含有上述新型保护片的锂电池盖板,包含基板、与基板一体的正极柱、置于基板上的负极柱、置于正极柱上的正极转接片、置于负极柱上的负极转接片以及绝缘胶纸,绝缘胶纸与基板相粘贴,正极柱中心与正极转接片凸起部位的中心同轴对应;基板上设置有排气孔,所述新型保护片与排气孔同轴对应、盖于排气孔上。新型保护片遇热固化,新型保护片脱落。

标签:
加工技术
浙江 - 湖州 来源:中冶有色网 2023-03-18
上一页 27 28 29 30 31 ... 57 下一页
共57页    到第

中冶有色为您提供最新的浙江湖州有色金属加工技术理论与应用信息,涵盖发明专利、权利要求、说明书、技术领域、背景技术、实用新型内容及具体实施方式等有色技术内容。打造最具专业性的有色金属技术理论与应用平台!

全国热门有色金属设备推荐
展开更多 +
全国热门有色金属技术推荐
展开更多 +

 

江西省隆恩特环保设备有限公司
宣传

报名参会
更多+

报告下载

有色专家
更多+

云南锡业集团(控股)有限责任公司
副总经理
中科院过程工程研究所循环经济技术中心
主任
常州大学
教授
武汉科技大学
党委副书记、校长
重庆科技学院
特聘教授
赤泥综合利用研究报告2025
推广

热门技术
更多+

推荐企业
更多+

福建省金龙稀土股份有限公司
宣传

发布

在线客服

公众号

电话

顶部
咨询电话:
010-88793500-807