青岛垚鑫智能科技有限公司
宣传

位置:中冶有色 >

有色技术频道 >

> 加工技术

分类:
全部
矿山技术
冶金技术
材料制备及加工技术
环境保护技术
分析检测技术
 
全部
功能材料技术
复合材料技术
新能源材料技术
合金材料技术
加工技术
地区:
全部
北京
天津
上海
重庆
河北
山西
辽宁
吉林
黑龙江
江苏
浙江
安徽
福建
江西
山东
河南
湖北
湖南
广东
海南
四川
贵州
云南
陕西
甘肃
青海
内蒙
广西
西藏
宁夏
新疆
其他
其他
展开
 
全部
杭州
宁波
温州
绍兴
湖州
嘉兴
金华
衢州
台州
丽水
舟山

浙江湖州有色金属加工技术理论与应用

免费发布技术信息>>
锂离子电池连续焊接工装

本实用新型公开了一种锂离子电池连续焊接工装,其特征在于:包括焊接支架、焊接设备平台、长条定位部、定位条、焊接圆孔、基座、升降轴;所述的基座中安装有升降轴;所述的焊接设备平台一侧设有焊接支架;所述的焊接支架上设有多个焊接圆孔;所述的焊接设备平台上固定有定位条;所述的焊接支架一侧设有长条定位部;本实用新型的锂离子电池连续焊接工装,焊接支架上设有定位凹部,焊接圆孔位于定位凹部中,焊接圆孔成对设置,且与电池的电极相匹配,定位条通过螺栓固定在焊接设备平台上,定位条上设有三角形凸起定位部,焊接设备平台上安装有传送带可以让焊接更加流畅,焊接支架的长条定位部与移动底托的长条定位部配合,实现多个位置定位焊接。

标签:
加工技术
浙江 - 湖州 来源:中冶有色网 2023-03-18
软包锂电池铝塑膜折边装置

本实用新型公开了一种软包锂电池铝塑膜折边装置,包括用于铺放铝塑膜的操作台,所述操作台的表面上设有V型槽,所述操作台的上方设有可竖直升降的与所述V型槽配合的折边磨具。本实用新型软包锂电池铝塑膜折边装置使用时将待折边的铝塑膜铺放在操作台上,待折边一侧放在V型槽上方,然后将操作台上方的折边磨具向下压下,折边磨具与V型槽配合压出折痕,结构简单,使用时非常方便。

标签:
加工技术
浙江 - 湖州 来源:中冶有色网 2023-03-18
平放软包锂离子电池模块

本实用新型公开了一种平放软包锂离子电池模块,包括若干水平堆叠的子模块以及夹紧固定所有子模块的夹具,所述子模块包括电芯和固定电芯的支架,所述支架为框板式结构,中心具有放置电芯的空腔,支架的一侧具有供电芯的正、负极耳穿过的通孔,所有子模块的正、负极耳位于电池模块的同一侧,并通过汇流组件连接。本实用新型平放软包锂离子电池模块通过将子模块水平堆叠,然后用夹具将所有子模块夹紧固定,子模块包括框板式结构的支架,电芯固定在支架中心的空腔中,从而电池模块的高度不受电芯高度的限制,使得电池模块的适应性更好。

标签:
加工技术
浙江 - 湖州 来源:中冶有色网 2023-03-18
可变输出的锂电池
可变输出的锂电池 1160     
 0

一种可变输出的锂电池,包括电池盒,装在电池盒的空腔中的电池组,电池组包括正极,负极,隔膜,电解液;空腔的宽度大于正极和负极的宽度总和,并由空腔上方的盖板封闭,盖板上有与电池组的正极数量相同的滑槽;负极和隔膜叠放,正极的正极耳通过绝缘卡扣穿出滑槽。通过滑槽,实现了正极与负极之间叠加面大小的不同,从而改变锂离子在正负极之间的往返嵌入和脱嵌,从而改变输出电流的大小,不仅实现了输出电流的可变,还能在电池非工作的空闲状态时,减少自放电,提高电池寿命。

标签:
加工技术
浙江 - 湖州 来源:中冶有色网 2023-03-18
优化的锂离子电池结构

本实用新型公开了一种优化的锂离子电池结构,包括壳体和若干电芯,所述壳体上设有正极极柱和负极极柱,壳体内安装有若干隔板,所述隔板将壳体分成若干腔体,每个腔体内安装有一个电芯,所述电芯包括若干正极片和若干负极片,若干正极片焊接形成正极极耳,若干负极片焊接形成负极极耳,所有电芯的正极极耳连接后采用正极连接带与正极极柱相连接,所有电芯的负极极耳连接后采用负极连接带与负极极柱相连接,所述电芯上方安装有支撑架,支撑架上设有铝基散热板,所述铝基散热板的两侧分别设置有绝缘挡条。本实用新型的锂离子电池结构比能量高,性能稳定,循环寿命长,比功率大。

标签:
加工技术
浙江 - 湖州 来源:中冶有色网 2023-03-18
高安全型锂离子电池
高安全型锂离子电池 990     
 0

本实用新型公开了一种锂离子电池,尤其是一种层叠结构的高安全型锂离子电池。该电池为叠片结构,其特征特点是所述叠片结构的叠放顺序依次正极单元、隔膜、负极单元、隔膜和正极单元,其中正极单元为单面热合有正极活性物质的铝网,负极单元为双面热合有负极活性物质的铜网;正极单元上热合有正极活性物质的一面与隔膜相接触。本实用新型具有耐高温、大倍率、过充及穿刺后仍能长时间待机的优点。

标签:
加工技术
浙江 - 湖州 来源:中冶有色网 2023-03-18
锂电池用石墨复合材料及其制备方法

本发明公开了一种锂电池用石墨复合材料及其制备方法,这种石墨复合材料包括石墨主体材料、位于所述石墨主体材料表面的包覆层。所述石墨主体材料为石墨和纳米硅组成的复合材料,所述包覆层为改性沥青、分散剂、有机碱组成的包覆材料。该石墨复合材料中石墨可均匀的分散于二氧化硅的纳米孔道内,碳化后更为细密,所制备的纳米级多孔石墨主体材料,具有高比表面积、高导电性、低成本的特性、由于孔道致密均匀,锂离子可在球的各个方向插入和放出,可有效解决石墨片层溶胀、坍塌和不能快速大电流充放电的问题。采用改性沥青包覆石墨主体材料的核‑壳结合方式,制备的电池负极材料具有高可逆容量、化学稳定性强、导电率高、首次充放电效率高等特点。

标签:
加工技术
浙江 - 湖州 来源:中冶有色网 2023-03-18
回收并修复正极材料的方法、修复的正极材料及锂离子电池

本发明提供了一种回收并修复正极材料的方法、修复的正极材料及锂离子电池。一种回收并修复正极材料的方法,包括如下步骤:1)将废旧电池中回收的正极材料和含锰的盐溶液混合;2)将碱的水溶液加入到上述混合物中反应,得到氢氧化锰包覆的正极材料;3)将所述的氢氧化锰包覆的正极材料与锂源烧结,得到修复的正极材料。本发明所述修复的正极材料无明显的杂相,结晶性好,首次充放电效率高及循环性能好。

标签:
加工技术
浙江 - 湖州 来源:中冶有色网 2023-03-18
锂电池组固定装置
锂电池组固定装置 1033     
 0

本发明涉及一种锂电池组固定装置,它包括设有中心孔的支架,设于支架外同样设有中心孔由左壳和右壳组成的盘状绝缘外壳,支架外边缘设有轴向凹槽,与绝缘外壳侧壁设有的轴向凸条嵌合,左、右壳通过螺钉穿过凸条及设于中心孔周围的固定桩固连,固定桩还用于固定电池保护板,其上设有弹性垫圈以确保保护板在轴向稳固。本发明结构紧凑、有利于电池组散热,且可有效提高电池组和保护板稳定性及安全性,延长电池组使用寿命。

标签:
加工技术
浙江 - 湖州 来源:中冶有色网 2023-03-18
采用复合导电剂的磷酸铁锂电池及其制造方法

本发明公开了一种采用复合导电剂的磷酸铁锂电池的制造方法,将正极粘结剂聚偏氟乙烯溶入N-甲基吡咯烷酮中进行搅拌,制备正极胶,将碳纳米管/导电聚合物复合材料加入正极胶进行分散,最后加入正极活性物质LiFePO4进行搅拌,制得正极浆料,将正极浆料均匀地涂覆于铝箔的两面,干燥后,辊压分切得到正极片;将负极活性物质石墨,碳纳米管/导电聚合物复合材料,负极粘结剂,去离子水混合均匀制成负极浆料,均匀地涂覆于铜箔的两面,干燥后,辊压分切得到负极片;卷绕、平压、封边后在65℃真空中干燥8小时,干燥后的电池注电解液,注电解液后化成得到磷酸铁锂电池成品。本发明大幅提高了电池的容量、倍率、循环和安全性能。

标签:
加工技术
浙江 - 湖州 来源:中冶有色网 2023-03-18
用于软包锂离子电池的过充测试装置

本实用新型公开了一种用于软包锂离子电池的过充测试装置,所述软包锂离子电池包括电池本体和正、负极耳,所述过充测试装置包括带有操作平台的充放电柜,所述操作平台带有可连接固定的正、负极柱;所述过充测试装置还包括两块用于夹持固定待测电池本体的夹板,所述夹板与电池之间还有设有弹性层;测试时,待测电池的正、负极耳与操作平台的正、负极柱分别电连接。该装置通过夹持固定的方式,避免因温度升高导致电池体积变化影响测试结果,从而获得更加可靠的过充测试结果。

标签:
加工技术
浙江 - 湖州 来源:中冶有色网 2023-03-18
锂电池保护板的防水结构

本实用新型属于锂电池保护板技术领域,公开了一种锂电池保护板的防水结构,包括相互配合的底壳和壳盖,且所述底壳与壳盖的内部配合形成有一密封安装腔,所述密封安装腔内安装有电路板;所述壳盖上相邻的三侧边缘均向下延伸形成有侧板,且三个所述侧板首尾相连构成U型结构,并包覆于所述底壳的外侧,三个所述侧板的内壁上均设有密封卡条;所述底壳上相邻的三侧外壁上均开设有密封槽,且三个所述密封槽分别于三个密封卡条相配合;所述壳盖的底部设有密封挡条,且所述密封挡条与底壳上未开设密封槽的一侧内壁相配合;综上,基于密封卡条和密封挡条的设置,以实现其连接处的密封,由此使得整体结构具有良好的密封防水性。

标签:
加工技术
浙江 - 湖州 来源:中冶有色网 2023-03-18
具有加热功能的锂电池模块

本实用新型公开了一种具有加热功能的锂电池模块,包括单体电池、夹持固定单体电池的支架及贴靠在支架上串联或并联单体电池的汇流组件,还包括贴靠汇流组件的加热膜以及位于加热膜外侧的绝缘板。本实用新型锂电池模块通过在汇流排组件的外面设置贴靠汇流排组件的加热膜来进行加热,覆盖到所有的单体电池,加热效果好,传热快,同时在加热膜外侧再设置绝缘板,保护内部结构安全。

标签:
加工技术
浙江 - 湖州 来源:中冶有色网 2023-03-18
圆柱形锂离子动力电池
圆柱形锂离子动力电池 1116     
 0

本实用新型公开了一种圆柱形锂离子动力电池,包括壳体和固定在壳体顶部的正极组件,所述正极组件上焊接有正极螺母,所述正极螺母上螺纹连接有正极端面螺栓,还包括负极组件,所述负极组件上螺纹连接有负极端面螺栓。本实用新型在壳体两端分别设置正极端面螺栓和负极端面螺栓,对锂离子动力电池进行串并联时,只需要用导线分别连接铜质的正极端面螺栓和负极端面螺栓,并与正极螺母、负极螺母拧紧即可。这种结构不仅对电池组的串并联操作方便,而且使导线与正负极间的电阻降到最低,有助于电池较高倍率的放电和较长的循环寿命。对电池组进行维修工序简化,并避免了对电池的损伤。

标签:
加工技术
浙江 - 湖州 来源:中冶有色网 2023-03-18
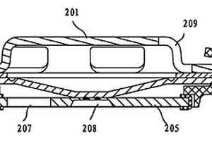
圆柱型锂离子电池的组合盖帽

本实用新型公开了一种圆柱型锂离子电池的组合盖帽,包括密封圈以及固定在密封圈内的顶盖、限流片、防爆片和铝片,限流片夹在顶盖和防爆片之间,防爆片中心向背离顶盖一侧凹陷并与铝片焊接,所述的铝片周缘包覆有环形的绝缘套。本实用新型圆柱型锂离子电池的铝片周缘包覆有环形的绝缘套,即使铝片脱离防爆片,铝片也不会与筒体内壁接触,避免了正负极短路引起的电池爆炸。

标签:
加工技术
浙江 - 湖州 来源:中冶有色网 2023-03-18
具有温度传感器的圆柱锂电池模块

本实用新型公开了一种具有温度传感器的圆柱锂电池模块,包括单体电池、夹持固定单体电池的支架、贴靠在支架上串联或并联单体电池的汇流组件以及检测电池模块温度的温度传感器,所述电池模块内部具有固定所述温度传感器的固定块,所述固定块位于相邻四个单体电池之间的间隙内,四个侧面均为与单体电池侧面贴合的弧面。本实用新型圆柱锂电池模块通过将温度传感器固定在固定块内,固定块位于相邻四个单体电池之间的间隙内,且四个侧面均为与单体电池侧面贴合的弧面,从而温度传感器能够检测到电池模块内部的温度,便于准确采集温度信息,从而有利于对电池模块进行准确的管理,优化电池模块的使用。

标签:
加工技术
浙江 - 湖州 来源:中冶有色网 2023-03-18
用于锂电池正极材料生产的加热炉

本实用新型公开了一种用于锂电池正极材料生产的加热炉,包括基座,支撑架,转轴,底座,炉体,排气管,加热腔和加热装置;两个支撑架固定安装于基座上,基座上安装有底座,底座上放置有炉体,支撑架的上部安装有转轴,转轴的一端与炉体固定连接,转轴的另一端与支撑架旋转式连接,炉体为椭圆型结构,炉体上方设置有顶盖,顶盖内设置有排气管,顶盖和炉体旋转式连接,炉体的底部有加热装置,安装炉体的四周安装有加热装置。本实用新型的优点在于使加热炉的温度均匀稳定,锂电池正极材料的受热均匀,在热传递过程中,炉胆材质的阻热系数低,提高加热腔的导热性能,加快热量从加热装置传导至加热腔内部,提高加热炉的工作效率。

标签:
加工技术
浙江 - 湖州 来源:中冶有色网 2023-03-18
锂离子电池正极材料生产的后处理装置

本实用新型提供一种锂离子电池正极材料生产的后处理装置,该后处理装置包括喷淋装置、相互连通的除尘装置以及设置于所述喷淋装置顶部的排气装置,所述喷淋装置包括依次连通的喷淋塔和供液装置,所述喷淋塔内腔设置有过滤器,所述供液装置依次连通的储液罐、隔膜泵和水泵,所述供液装置通过水泵与所述喷淋塔的喷淋口连通。该后处理装置可针对锂离子电池正极材料生产过程中产生的废气进行处理,循环利用金属原料,节能环保。

标签:
加工技术
浙江 - 湖州 来源:中冶有色网 2023-03-18
生产锂电池石墨负极材料的原料预粉碎装置

一种生产锂电池石墨负极材料的原料预粉碎装置,涉及锂电池负极材料生产领域,包括机体、电机套、碎块槽、碾压轮、筛滤层和储料框,在所述电机套中放置电机,电机的转动轴向上,所述碎块槽的底面间隔分布着竖直穿孔,所述碎块槽通过直杆固接于所述电机套的表面,所述碾压轮位于所述碎块槽内,所述碾压轮通过压轮连杆连接电机的转动轴,所述筛滤层由实体板、小孔板和适孔板拼接而成,所述小孔板上的通孔孔径小于所述适孔板上的通孔孔径,在所述小孔板和所述适孔板下侧分别布置所述储料框,该装置将生产石墨微粉的碎块原料预先进行处理,得到尺寸合适的碎块原料,提高雷蒙磨设备粉磨的高效性。

标签:
加工技术
浙江 - 湖州 来源:中冶有色网 2023-03-18
锂电池的自动化生产装置

本发明公开的一种锂电池的自动化生产装置,包括支撑固定架,所述支撑固定架的上表面固定安装有安装台面,所述安装台面的上表面固定安装有支撑柱,所述固定底板的上表面固定安装有加工台面,所述加工台面的上表面固定安装有底部刀板和底部加工板,所述底部刀板位于底部加工板的前方位置,所述固定底板的上表面位于加工台面的后方位置固定安装有支撑立板。本发明所述的一种锂电池的自动化生产装置,能够在升降结构下降对电池加工时,将电池边缘的外漏表皮进行切除,从而对电池表皮多余的部分进行切除,提高电池加工的整体整洁度,能够在对电池进行加工时,对需要加工的电池进行左右压紧定位,防止加工时容易出现误差。

标签:
加工技术
浙江 - 湖州 来源:中冶有色网 2023-03-18
氯化锂高效浓缩和连续结晶装置

本发明公开了一种氯化锂高效浓缩和连续结晶装置,包括蒸发器、结晶器和加热室,蒸发器的底部设有中央管,中央管穿设在结晶器的内部,结晶器的一侧设有循环管道,结晶器通过循环通管道连接有加热室,加热室的顶部通过循环管道连接在蒸发器的一侧,蒸发器的顶部设有蒸汽出口,蒸发器的一侧设有循环液进口,结晶器的一侧设有循环液出口,结晶器的底部一侧设有氯化锂晶体出口,循环管道上设有循环泵,加热室的一侧上部设有蒸汽进口,加热室的一侧下部设有冷凝水出口,本发明结构简单,使用方便,保证生产的连续性和产品质量的稳定性,能够高效浓缩,降低劳动强度,提高生产效率,有效降低能耗。

标签:
加工技术
浙江 - 湖州 来源:中冶有色网 2023-03-18
背包式锂电绿篱机专用瓦楞纸箱

本实用新型涉及绿篱机包装技术领域,且公开了背包式锂电绿篱机专用瓦楞纸箱,包括两侧均活动连接有连接板的主限位板和围板,其中一个所述连接板的一侧活动连接有副限位板,所述副限位板的一侧活动连接有挡板,所述副限位板的顶部活动连接有盖板,所述主限位板的顶部活动连接有托板,所述主限位板外表面的一侧卡接有用于支撑的垫板。该背包式锂电绿篱机专用瓦楞纸箱,通过盖板和托板的配合设置,可以直接在绿篱机的顶部形成双层保护,因此避免顶部的冲击直接对绿篱机造成损坏,通过垫板的设置,可以对绿篱机的底部进行支撑和托举,避免下方的冲击对绿篱机造成损坏,从而整体提高该装置的保护能力。

标签:
加工技术
浙江 - 湖州 来源:中冶有色网 2023-03-18
锂电池外壳及内部结构

一种锂电池外壳及内部结构,它涉及锂电池技术领域;上盖与下盖通过固定螺丝和超声波一体固定连接,上盖上设置有内凹式充放电接口和提手,提手通过提手点扣和锁止螺丝与上盖固定;所述的下盖内设置有支架,支架之间通过卡扣连接,支架上设置有固定孔,支架的外侧设置有导向柱,支架与下盖通过螺丝和导向柱连接,支架的一侧通过卡点纤维和螺丝连接有保护板,支架的外周连接有连接片。本实用新型和以往相比在采用更加节省人工时间和物料的方案,在工序上省略6个,物料更加精简,达到同样的效果,由保护板分离式的排线采集改成固定式的PCB板一体式采集,杜绝了电池一致性差,返修高等问题。

标签:
加工技术
浙江 - 湖州 来源:中冶有色网 2023-03-18
锂离子电池连体注液装置

本实用新型公开了一种锂离子电池连体注液装置,包括电解液容纳装置,所述的电解液容纳装置的下方设置有若干电解液定量装置,所述的电解液定量装置的下端设置有注液嘴,所述的电解液定量装置内部设置有控流装置,所述的控流装置包括浮球、压力感应器和分流片,所述的压力感应器设置在电解液定量装置上端的进液口处,所述的分流片活动密封设置在电解液定量装置下端的出液口处。该锂离子电池连体注液装置,可以沿电解液容纳装置设置有多个相同容量规格的电解液定量装置,或者设置多个不同容量规格的电解液定量装置,保证多个电芯同时注液,提高了生产效率,节约成本。通过控流装置能够精确的定量电解液,提高了产品质量。

标签:
加工技术
浙江 - 湖州 来源:中冶有色网 2023-03-18
具有电位传感功能的锂离子电池隔膜

本发明提供了一种具有电位传感功能的锂离子电池隔膜,所述锂离子电池隔膜为多层结构,包括基材层、检测层和功能层,所述检测层涂覆在基材层上,所述功能层涂覆在检测层上;所述检测层为Cu纳米线材料层。所述功能层包括陶瓷绝缘层、伯姆石涂层、PVdF涂层中的一项或多项混合涂层。所述基材层为PP材料层或者PE材料层。本发明具有实时采集正负电位信息、实时监测电池内部温度和监测负极材料锂离子嵌入嵌出情况的优点。

标签:
加工技术
浙江 - 湖州 来源:中冶有色网 2023-03-18
锂电池用氧化铁红的制备方法

本发明提供的一种锂电池用氧化铁红的制备方法,其特征在于,包括如下步骤:将硫酸亚铁废液进行溶解,去除杂质和重金属,沉淀后得硫酸亚铁澄清溶液;晶种制作;一次氧化;二次氧化;将氧化铁红前驱体进行压滤、漂洗、烘干、破碎,得到锂电池用氧化铁红。本发明制得的锂电池用氧化铁红,热稳定性好、安全性能好,相对于传统方法生产的氧化铁红,无论在纯度上还是粒径上都有很大的优势,且可见光范围内,吸光度明显降低,色泽鲜明。

标签:
加工技术
浙江 - 湖州 来源:中冶有色网 2023-03-18
含铯锂电池正极材料的制备方法

本发明公开了一种含铯锂电池正极材料的制备方法,包括以下步骤:先制备具有明显的层状结构的铯铁锰氧化物前躯体,然后将其和锂源化合物混合并研磨,得到第二混合物;最后再进行热处理,得到含铯锂电池正极材料;该材料具备较高的纯度和良好的高温和大电流循环特性;同时,由于将钴元素全部替换为铯元素,环保性能显著提高。

标签:
加工技术
浙江 - 湖州 来源:中冶有色网 2023-03-18
锂离子电池焊接装置
锂离子电池焊接装置 1030     
 0

本实用新型涉及锂离子电池辅助设备技术领域,具体涉及一种锂离子电池焊接装置,包括底座,所述底座上设有第一支撑板,所述第一支撑座与所述第一气缸下端连接,所述第一支撑座下方连接上焊接夹具,在所述上焊接夹具上夹有贯穿设置在所述第二支撑座下方的焊针导向块的上焊针,所述上焊针包括:固定端,所述固定端通过连接块与连接端连接,所述连接块呈圆锥状,所述焊针导向块内设有内孔,焊接时,所述连接块处于所述内孔内,所述焊针导向块还设有焊接孔;通过连接块呈圆锥状,可减小应力集中,降低焊针断裂风险,延长使用寿命,同时焊接时,连接块处于所述内孔内,可将焊接所产生的作用于连接处横向剪切力抵消,降低焊针断裂风险。

标签:
加工技术
浙江 - 湖州 来源:中冶有色网 2023-03-18
锂电池自动化生产设备

本实用新型公开了一种锂电池自动化生产设备,属于电池制造技术领域,针对现有锂电池生产中存在的效率低、人工成本高、设备占用面积大等缺点,该设备包括真空封边装置、二次封边装置、切边装置和折边烫边装置等加工装置,还包括控制装置和将电芯依次传输至各加工装置的传送装置,加工装置跨接在传送装置上,传送装置包括第一转盘、移料装置、第二转盘和收料装置,转盘上设置有容纳电芯的电芯托盘,真空封边装置、二次封边装置和移料装置绕第一转盘设置,移料装置、切边装置和折边烫边装置绕第二转盘设置。本实用新型的电池生产设备,将多道工序集中到一台设备中,提高自动化程度,减少操作人员数量,提高生产效率,同时减少占用空间。

标签:
加工技术
浙江 - 湖州 来源:中冶有色网 2023-03-18
锂电池加工用的分条机
锂电池加工用的分条机 1051     
 0

本实用新型公开了锂电池加工用的分条机,包括用于支撑的机架装置,还包括用于分条的裁切装置,所述裁切装置下方设置有送料装置,所述送料装置前面安装有快换装置。本实用新型所述的锂电池加工用的分条机,通过快换装置的设置,便于快速拆装更换原料辊和成品辊,提高效率,同时保证了同轴度,通过张紧辊的滑动设置,利用张紧辊自身重力进行张紧,通过滑动随时自动调节张紧,通过裁切电机和送料电机的单独设置,增加了裁切的独立性,保证了裁切的质量。

标签:
加工技术
浙江 - 湖州 来源:中冶有色网 2023-03-18
上一页 25 26 27 28 29 ... 57 下一页
共57页    到第

中冶有色为您提供最新的浙江湖州有色金属加工技术理论与应用信息,涵盖发明专利、权利要求、说明书、技术领域、背景技术、实用新型内容及具体实施方式等有色技术内容。打造最具专业性的有色金属技术理论与应用平台!

全国热门有色金属设备推荐
展开更多 +
全国热门有色金属技术推荐
展开更多 +

 

江西省隆恩特环保设备有限公司
宣传

报名参会
更多+

报告下载

有色专家
更多+

东北大学
院长/教授
武汉工程大学
教授
昆明理工大学
教授
中国有色金属工业协会
副会长兼秘书长
国家钨与稀土产品质量检验检测中心
主任
赤泥综合利用研究报告2025
推广

热门技术
更多+

推荐企业
更多+

福建省金龙稀土股份有限公司
宣传

发布

在线客服

公众号

电话

顶部
咨询电话:
010-88793500-807