青岛垚鑫智能科技有限公司
宣传

位置:中冶有色 >

有色技术频道 >

> 加工技术

分类:
全部
矿山技术
冶金技术
材料制备及加工技术
环境保护技术
分析检测技术
 
全部
功能材料技术
复合材料技术
新能源材料技术
合金材料技术
加工技术
地区:
全部
北京
天津
上海
重庆
河北
山西
辽宁
吉林
黑龙江
江苏
浙江
安徽
福建
江西
山东
河南
湖北
湖南
广东
海南
四川
贵州
云南
陕西
甘肃
青海
内蒙
广西
西藏
宁夏
新疆
其他
其他
展开
 
全部
郑州
开封
洛阳
平顶山
安阳
鹤壁
新乡
焦作
濮阳
许昌
漯河
三门峡
商丘
周口
驻马店
南阳
信阳
济源

河南洛阳有色金属加工技术理论与应用

免费发布技术信息>>
含锂二氧化锰有色玻璃的颜色调节方法

一种含锂二氧化锰有色玻璃的颜色调节方法,该有色玻璃由氧化硅、氧化钙、氧化锂、二氧化锰和硝酸钠制成,所述颜色调节方法是在二氧化锰含量确定的情况下,通过控制氧化锂的量在0-15%的范围内变化以调节玻璃的颜色。本发明通过不改变锰的含量而改变氧化锂的含量来获得一系列颜色不同的紫色玻璃,避免了熔制过程中由于气氛不同导致锰的价态发生变化,从而导致同一批玻璃的颜色产生色差,不仅操作简单而且通过加入硝酸钠确保熔制气氛为强氧化性,保证了着色效果的稳定性。

标签:
加工技术
河南 - 洛阳 来源:中冶有色网 2023-03-18
锂电池端板加工用水洗设备

本实用新型公开了一种锂电池端板加工用水洗设备,包括承重台、马达、物料载具、高压输出头、伸缩柱,所述承重台下端四个角均设置有承重块,所述承重台上端均匀设置有六个连接柱,前侧三个所述连接柱一端内部设置有所述马达,所述马达输出端设置有传动轴,所述传动轴一端设置有轴承,所述传动轴外围设置有转轮,所述转轮外围设置有传送带,所述传送带外表面设置有载具槽,所述载具槽上端设置有所述物料载具,所述物料载具上表面内部均设置有十二个端板槽,所述物料载具上端均匀设置有四个固定板,所述承重台上端设置有两个限位板;装置可以一次性对十二个锂电池端板进行水洗处理,大大提高了锂电池端板水洗的效率。

标签:
加工技术
河南 - 洛阳 来源:中冶有色网 2023-03-18
用于锂电模组极柱导电排焊接的多工位焊接装置

本实用新型涉及锂电模组焊接装配设备领域,具体的说是一种用于锂电模组极柱导电排焊接的多工位焊接装置。包括工作台、激光焊接头以及多辆载有模组夹具的推车;工作台上间隔设有多个供推车插入工作台中的插槽,在插槽内位于插槽槽口两侧的位置分别设有成列分布的多个滚轮,在推车的两侧分别设有定位凸条;激光焊接头设置在一个位移机构上,位移机构包括固定在工作台上并与插槽方向平行的第一水平线轨、滑动设置在第一水平线轨上并与第一水平线轨垂直的第二水平线轨以及滑动设置在第二水平线轨上的竖直线轨,在竖直线轨上滑动设有用于固定激光焊接头的滑块。本实用新型用于提高锂电模组的装配焊接效率并提高焊接质量。

标签:
加工技术
河南 - 洛阳 来源:中冶有色网 2023-03-18
电池装夹夹具及使用该装夹夹具的锂电池钢珠封口装置

本实用新型提供一种电池装夹夹具及使用该装夹夹具的锂电池钢珠封口装置,锂电池钢珠封口装置包括装夹夹具和用于进行封口操作的钢珠封口机构,装夹夹具包括用于支撑电池的支撑底座,支撑底座上设有用于夹紧电池的夹持机构,夹持机构包括沿左右方向间隔分布的定压板和动压板,夹持机构沿左右方向依次布置有两套以上,所有的定压板及动压板沿左右方向依次间隔布置,任意相邻的两套夹持机构中的两定压板的间距与两动压板的间距相同,各夹持机构的动压板通过同步联动机构沿左右方向同步往复移动。各夹持机构中动、定压板间距的一致性,控制各锂电池厚度尺寸一致,提高装夹效果,通过同步联动机构实现各夹持机构的同步夹持,提高装夹效率。

标签:
加工技术
河南 - 洛阳 来源:中冶有色网 2023-03-18
以电荷量差值为均衡判据的锂电池组均衡控制方法

以电荷量差值为均衡判据的锂电池组均衡控制方法,该方法首先将相邻各单体电池包差值和各单体电池包中各单体电池差值降序排序,针对不同的组合状态,系统发出不同的控制信号控制均衡电路中对应场效应晶体管(Mosfet)的通断,从而实现各电池荷电荷量的再分配,当各相邻单体电池包差值在阈值允许范围内,则表示第β层均衡实施完成,当各单体电池包内相邻单体电池间的差值

标签:
加工技术
河南 - 洛阳 来源:中冶有色网 2023-03-18
碳包覆氟掺杂改性的磷酸铁锂正极复合材料的制备方法

本发明公开了一种碳包覆氟掺杂改性的磷酸铁锂(LiFePO4‑xFx/C)正极复合材料的制备方法,以氟化锂、醋酸亚铁、磷酸氢铵、氟化锂为原料,加入无水乙醇和无水葡萄糖,进行超声处理后干燥;干燥产物一次烧结后研磨,然后进行二次烧结,得到LiFePO4‑xFx/C正极复合材料,该复合材料在0.1C下循环30次后,比容量保持率大于90%。

标签:
加工技术
河南 - 洛阳 来源:中冶有色网 2023-03-18
风力发电机组的锂电储能控制器

风力发电机组的锂电储能控制器,包括整流电路和与其相连接的降压斩波电路,降压斩波电路通过一个换流开关管接入锂电池,还包括电容缓冲电路及相应的控制电路,电容缓冲电路接入降压斩波电路的输出端;所述的相应的控制电路包括PLC控制单元,所述PLC控制单元包括分段充电控制电路,用以控制锂电池充电先恒流再恒压的充电过程的进行;动态补偿缓存控制电路,用以对缓冲电路进行蓄能和补偿的工作过程进行控制,还包括逻辑判断单元,用以控制整个主干路换流开关的通断。使用本发明不仅可以保证锂电池充电的安全有效的进行,而且可以在低风速风机输出功率过小的时候也对能量进行缓冲储存,大大提高了风力发电机组的能量转换效率。

标签:
加工技术
河南 - 洛阳 来源:中冶有色网 2023-03-18
石墨烯基磷酸铁锂复合材料及应用

本发明涉及一种石墨烯基磷酸铁锂复合材料及应用。该复合材料的制备方法为:将锂化合物、磷酸盐、铁盐、石墨、插层剂与水混合,制备石墨烯浆料;向石墨烯浆料中加入双氧水、氮源混合,配制前驱体浆料;将前驱体浆料进行水热反应,得到水凝胶;将水凝胶浸泡于有机碳源溶液中,分离,再在还原气氛下烧结,即得。该复合材料中,氮源起到掺杂改性的作用,可以与石墨烯形成C‑N键而改进复合材料的导电性;通过水凝胶的吸水作用,可使复合材料内部和表面吸附有机碳源,经烧结后形成多孔炭,具有提高导电率和吸液保液能力的作用,以上物质的综合作用使该复合材料具有导电率好、振实密度高的特点,显著改善了磷酸铁锂复合材料的倍率性能和克容量发挥。

标签:
加工技术
河南 - 洛阳 来源:中冶有色网 2023-03-18
用于全固态薄膜锂离子电池的氧化镍阳极薄膜的制备方法

本发明提出的用于全固态薄膜锂离子电池的氧化镍阳极薄膜的制备方法,是采用真空蒸镀方法在基片上沉积NI薄膜,然后结合氧离子发生器辅助的热氧化方法制备氧化镍(NIO)薄膜材料。本发明提出的用于全固态薄膜锂离子电池的氧化镍阳极薄膜的制备方法氧化温度低,成本低,工艺、设备简单,沉积速率高于传统方法,易于获得颗粒尺寸分布均匀、结构完整的纳米晶NIO薄膜,具有良好的电化学性能,可作为全固态薄膜锂离子电池的阳极材料。

标签:
加工技术
河南 - 洛阳 来源:中冶有色网 2023-03-18
锂离子电池负极材料及其低成本制备方法

本发明公开了锂离子电池负极材料以及低成本制备方法,其中,锂离子电池负极材料的低成本制备方法包括如下步骤:将置于旋转式煅烧炉中的氧化亚硅粉末在高纯氮气气氛中加热至900~1200℃并保温0.5~1h,然后通入高纯氮气与天然气的混合气对翻转中的氧化亚硅粉末进行碳包覆,最后进行粉碎分级处理,即得到锂离子电池负极材料。本发明的制备方法简单,适合连续化、规模化生产,生产成本低,利用锂离子电池负极材料制成的扣式电池的首次容量高、首次效率高,50周容量保持率高。

标签:
加工技术
河南 - 洛阳 来源:中冶有色网 2023-03-18
高镍三元正极材料作为催化剂在制备碳纳米管方面的应用、正极材料及其制备方法、锂电池

本发明涉及一种高镍三元正极材料作为催化剂在制备碳纳米管方面的应用、正极材料及其制备方法、锂电池,属于锂离子电池技术领域。本发明的应用,包括以下步骤:将高镍三元正极材料置于反应气氛中在300~490℃恒温1~10h;所述反应气氛包括碳源气体;所述高镍三元正极材料为LiNiaCobMn1‑a‑bO2、LiNixCoyAl1‑x‑yO2中的至少一种;其中,0.6<a<1、0<b<0.3且a+b<1,0.6<x<1、0<y<0.3且x+y<1。本发明的应用,利用高镍三元正极材料对碳源气体裂解的催化,可以简化在高镍三元正极材料表面生长碳纳米管的工艺,相较于现有技术,能够降低生产成本,提高所得的三元材料纯度。

标签:
加工技术
河南 - 洛阳 来源:中冶有色网 2023-03-18
锂离子通信后备电源及其电源箱

本实用新型公开了一种锂离子通信后备电源及其电源箱,锂离子通信后备电源电源箱包括具有容纳电池模块的容纳腔的电源箱本体,电源箱本体内设有至少一个沿前后方向延伸的隔板,隔板将所述容纳腔分隔成左右间隔布置的、对电池模块左右限位的安装空间,隔板的前侧、后侧中的至少一侧上设有用于对电池模块的前后移动进行挡止的挡止结构,电源箱本体内于所述隔板的上方设有用于对电池模块的向上移动进行限位的上限位结构。所述锂离子通信后备电源包括上述的电源箱及电池模块。本实用新型的电源箱内部设置隔板将其内部空间分隔开,隔板能起到定位的作用,便于电池的模块化安装。安装好后,由于隔板上设有限位结构,电池不容易发生移动,保证电池模块电池之间的连接的可靠性。

标签:
加工技术
河南 - 洛阳 来源:中冶有色网 2023-03-18
便于装卸的圆柱型单体锂电池负极保护罩

一种便于装卸的圆柱型单体锂电池负极保护罩,由电池外壳、保护罩、弹簧卡箍、电池负极导线组成;本实用新型所述便于装卸的圆柱型单体锂电池负极保护罩,在电动汽车上的安装应用,可以避免单体锂电池与导线的直接焊接,有效保护电池内部电芯结构,可以有效避免对单体电池的破坏;在完成成组后,既不增加外电路接触电阻,保证正常的电流输出,又非常方便单体电池的装卸;在对每个单体电池进行维护检修或更换过程中,特别是在执行换电模式的电动汽车电池成组中,具有方便、快捷的积极效果。

标签:
加工技术
河南 - 洛阳 来源:中冶有色网 2023-03-18
异型叠片式锂离子电池及电芯

本发明提供一种异型叠片式锂离子电池及其电芯,锂离子电池包括电芯及包覆在电芯外侧的包装膜,电芯包括呈叠片结构布置的正、负极片及隔膜,正、负极片及隔膜均为板片结构,所述的板片结构的正、负极片及隔膜的中部分别开设有对应贯通的中心孔以使得所述电芯呈环形,环形电芯的中部具有由所述正、负极片及隔膜的中心孔对接形成的散热孔。环形电芯的中部具有由正、负极片及隔膜的中心孔对接形成的散热孔,这样可以有效扩大电芯中部的散热空间,提高电芯中部的散热性能,有利于叠片式电池进行高倍率充放电,提高锂离子电池的功效。

标签:
加工技术
河南 - 洛阳 来源:中冶有色网 2023-03-18
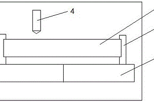
锂电池激光焊接夹具
锂电池激光焊接夹具 797     
 0

本实用新型涉及动力电池制造领域,目的是提供一种锂电池激光焊接夹具。一种锂电池激光焊接夹具,包括底座,所述底座上设有用于定位锂电池的电芯的电芯定位结构,底座上还设有供锂电池的盖板以内侧面向上的方式定位放置并使盖板位于锂电池的转接片下方的定位凹槽,锂电池激光焊接夹具还包括用于遮盖锂电池的防护板,所述防护板上设有供激光穿过以焊接转接片和盖板的避让槽。护板可以有效阻挡激光焊接产生的飞溅金属屑,避免金属屑溅到锂电池电芯上,防护板上的镂空避让槽能够让激光顺利穿过,定位凹槽可以固定盖板的位置,使得焊接定位更准确。

标签:
加工技术
河南 - 洛阳 来源:中冶有色网 2023-03-18
利用钾长石制备碳酸锂/白炭黑复合材料的方法

本发明涉及利用钾长石制备碳酸锂/白炭黑复合材料的方法,主要包括以下步骤:首先利用钾长石、氟化铵、浓硫酸为原料制取白炭黑浆液,然后依次向所述白炭黑浆液中加入氢氧化锂水溶液和碳酸钠水溶液进行反应,经陈化、过滤、洗涤、烘干后获得碳酸锂/白炭黑复合材料。本发明制备的复合材料在赋予了白炭黑材料导电性的同时,使得碳酸锂作为电解质时具有吸附杂质的能力,从而提高了碳酸锂的电导率。

标签:
加工技术
河南 - 洛阳 来源:中冶有色网 2023-03-18
锂离子电池回收过程中正负极片的分离方法

本发明涉及一种锂离子电池回收过程中正负极片的分离方法,属于锂离子电池回收技术领域。本发明的锂离子电池回收过程中正负极片的分离方法,包括以下步骤:采用磁感应强度大于9000Gs的磁场对锂离子电池回收过程中得到的正极碎片和负极碎片的混合碎片进行磁选,选出正极碎片;所述正极碎片的正极材料含有钴、锰、铁和镍中的至少一种元素。本发明的锂离子电池回收过程中正负极片的分离方法,简单、高效,并且回收成本低,不会有任何污染物产生。采用该分离方法对混合极片进行一次磁选,正极碎片的分离率能达到95%以上;进行两次以上磁选,正极碎片的分离率能达到98%以上,能显著提高后续正负极粉和铜铝颗粒的回收率和回收纯度。

标签:
加工技术
河南 - 洛阳 来源:中冶有色网 2023-03-18
锂离子动力电池启动电源

本实用新型涉及一种锂离子动力电池启动电源,包括采集控制电路和功率MOSFET电路,该采集控制电路由差分运放电路、MOSFET驱动电路和微处理器CPU构成,CPU内部设置有集成的AD电路,差分运放电路由不少于单体电池个数的运放支路构成,各运放支路的输入分别通过接口J1与单体电池的两端连接,输出端与微处理器CPU的输入端口连接,CPU的控制输出上连有MOSFET驱动电路,MOSFET驱动电路的控制输出与功率MOSFET电路的控制端口连接,功率MOSFET电路的控制端口串接于电池组的充放电主回路中;本实用新型避免了锂离子动力电池启动电源对锂离子动力电池的过充电和过放电,能够延长锂离子动力电池和锂离子动力电池启动电源的使用寿命。

标签:
加工技术
河南 - 洛阳 来源:中冶有色网 2023-03-18
碳纤维增强铝锂合金复合材料及其制备方法

本发明公开了一种碳纤维增强铝锂合金复合材料及其制备方法。该复合材料是由经过预先处理的碳纤维与铝锂合金粉末混合烧结而成,碳纤维体积分数含量1~10%。本发明的制备方法主要包括碳纤维的灼烧、粗化、中和处理、球磨混料以及真空热压烧结。通过调控碳纤维的体积分数,能降低铝锂合金的密度,提升铝锂合金的强度、韧性并改善其各向异性。本发明特别适用于要求材料具有轻质、较高强度综合性能良好的航空航天飞行器零部件。

标签:
加工技术
河南 - 洛阳 来源:中冶有色网 2023-03-18
锂电池极片分条机电控系统

本发明公开了一种锂电池极片分条机电控系统,属于锂电池生产领域,其特征在于包括触摸屏、开关量输入模块、开关量输出模块、PLC控制器、纠偏模块、张力模块、驱动模块、纠偏控制器、张力控制器和变频器;其中,触摸屏、开关量输入模块、开关量输出模块、纠偏模块、张力模块和驱动模块都与PLC控制器相连,纠偏控制器与纠偏模块相连,张力控制器与张力模块相连,变频器与驱动模块相连,本锂电池极片分条机电控系统满足企业对分条机分切精度的要求,分切精度高,分切宽度精度可达±0.05mm,极片分切方向的弯曲度为±0.3mm/1000mm,可靠性好,抗干扰能力强,操作灵活、方便,通过触摸屏人机界面可对设备的各工艺参数进行实时监控。

标签:
加工技术
河南 - 洛阳 来源:中冶有色网 2023-03-18
锂离子电池用含镁氧化硅负极材料及其制备方法

本发明涉及锂电池材料领域,具体的说是一种锂离子电池用含镁氧化硅负极材料及其制备方法。主要包括原料准备、硅化镁制备以及含镁氧化硅负极材料制备。本发明中的制备方法可实现批量生产,易于产业化应用,采用本发明提供的制备方法得到负极材料制备的锂离子电池具有比容量高、循环性能好等优异的电化学性能。

标签:
加工技术
河南 - 洛阳 来源:中冶有色网 2023-03-18
复合导电剂及其制备方法、极片、锂离子电池

本发明涉及一种复合导电剂及其制备方法、极片、锂离子电池,属于锂离子电池材料制备领域。本发明的制备方法,包括以下步骤:将催化剂与柠檬酸的混合液A与炭黑混合,然后于25~200℃、1~10MPa浸泡2‑48h,得材料B;将材料B升温至600~1200℃,然后于600~1200℃保温2h后通氢气10~350min,之后于600~1200℃保温2h,保温后通入碳源混合气10~300min,冷却得复合材料C;将复合材料C与氧化石墨烯溶液于150~200℃反应1~12h后干燥,然后于800~900℃碳化2~6h,冷却即得。本发明所得复合导电剂,振实密度高、导电性能好,在锂电池领域具有好的应用前景。

标签:
加工技术
河南 - 洛阳 来源:中冶有色网 2023-03-18
含钯锂离子二次电池负极复合材料的制备方法

本发明公开了一种含钯锂离子二次电池负极复合材料的制备方法。所述的制备方法包括:首先通过球磨法和高温热处理得到纳米碳掺杂的纳米钛酸锂(Li4Ti5O12-C);其次把制备好的Li4Ti5O12-C和含钯源的配比溶液,通过简单的水热处理便得到钯量子点均匀包覆在Li4Ti5O12-C表面的复合材料(Li4Ti5O12-C-Pd复合材料)。从而构成了Li4Ti5O12-C-Pd纳微米两级三维导电网络结构,明显提高了钛酸锂的导电性能,使其具有优异的倍率特性、循环性能和充放电性能。本发明制备方法工艺简单,生产成本低,降低了能源消耗。

标签:
加工技术
河南 - 洛阳 来源:中冶有色网 2023-03-18
锂离子电池负极复合微球

本实用新型涉及一种锂离子电池负极复合微球,属于锂离子电池技术领域。该锂离子电池负极复合微球包括第二包覆碳壳层及被第二包覆碳壳层包覆的两个以上的负极球核,所述负极球核包括处于中心的负极微球和包覆在负极微球外表面的第一包覆碳壳层。本实用新型有效地缓冲了负极材料在锂离子插入过程中较大的体积膨胀,解决了金属球在嵌脱锂时的巨大的体积膨胀和收缩造成的电极恶化问题。

标签:
加工技术
河南 - 洛阳 来源:中冶有色网 2023-03-18
防火锂离子电池模块
防火锂离子电池模块 826     
 0

本发明公开了一种防火锂离子电池模块。作为电能存储装置,本模块包括外壳、并联或串联的多个锂离子单元、循环冷却剂和其他辅助组件。循环冷却液是不可燃且绝缘的,具有隔绝空气的功能,当单个锂离子单元破损或泄漏时,不会与空气发生反应,也不会与冷却液发生反应。循环冷却剂可以降低电池模块经历物理损失后着火的风险,而且有助于保持整个电池模块的温度恒定。

标签:
加工技术
河南 - 洛阳 来源:中冶有色网 2023-03-18
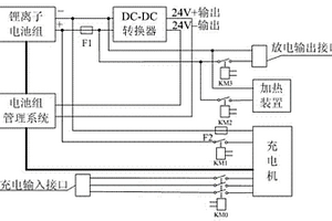
锂离子电池组供电电源

本实用新型涉及一种锂离子电池组供电电源,包括箱体及箱体内设置的至少一组锂离子电池模块组成的锂离子电池组和电池组管理系统,其特征在于:该箱体内还设有对锂离子电池组进行升温的加热装置,所述电池组管理系统的控制输入端与锂离子电池组的信号输出端连接,锂离子电池组的输出通过加热控制开关与加热装置相连,电池组管理系统的控制输出端与加热控制开关控制连接。本实用新型的锂离子电池组供电电源设置了通过由电池组管理系统控制的加热装置,在低温状态下对锂离子电池组进行升温加热,调整电阻的外部使用温度,使锂离子电池组在适宜的环境温度下工作,解决了其在低温环境下的应用。

标签:
加工技术
河南 - 洛阳 来源:中冶有色网 2023-03-18
18650锂电模组专用的电极片激光焊接辅助夹具工装

本实用新型涉及锂电模组激光焊接设备领域,具体的说是一种18650锂电模组专用的电极片激光焊接辅助夹具工装。包括下槽板、可升降设置在下槽板上方的上槽板以及用于固定上槽板和下槽板之间相对位置的锁紧元件,在上槽板和下槽板的相对面上分别设有相同数量的多个插槽,上槽板和下槽板上的插槽一一对应成组分布以供单体锂电池的两端插接配合,上槽板上任意相邻的插槽之间以及下槽板上任意相邻的插槽之间均具有连通缺口,以通过连通缺口在上槽板底部或下槽板顶部铺设贯穿相邻插槽分布的电极片;本实用新型方便焊接操作,简化焊接步骤并提高焊接质量。

标签:
加工技术
河南 - 洛阳 来源:中冶有色网 2023-03-18
锂电池真空干燥炉
锂电池真空干燥炉 1128     
 0

本实用新型涉及锂电池生产装置领域,特别涉及一种锂电池真空干燥炉。该锂电池真空干燥炉包括具有炉腔的炉体,炉体上开设有用于与设于炉体外部的抽真空装置对接的抽真空口和用于向炉腔内输入干燥气体的进气口,抽真空口处设有抽气控制阀,进气口处设有进气控制阀,炉腔内设有加热器,锂电池真空干燥炉还包括用于驱动干燥气体流动的鼓风机,鼓风机包括被炉体封闭于炉腔内的风扇和被炉体隔离于炉腔外部的电机,电机的输出轴和风扇的输入轴被炉体隔离而分别设于炉腔内、外,电机的输出轴与风扇的输入轴之间通过磁流体磁性传动连接。本实用新型可以提高炉腔内的升温速度,使炉腔内加热温度均匀,从而可以提高对电池的烘烤质量。

标签:
加工技术
河南 - 洛阳 来源:中冶有色网 2023-03-18
锂离子电池正极材料的回收方法

本发明涉及一种锂离子电池正极材料的回收方法,属于锂离子电池回收技术领域。本发明的锂离子电池正极材料的回收方法,包括以下步骤:1)将锂离子电池进行放电和排出废液处理后,整体破碎或拆除外壳后破碎,得粉料;所述锂离子电池的正极材料中含有镍、钴、锰或铁中至少一种元素;2)采用磁感应强度小于5000Gs的弱磁场对粉料进行磁选,去除选出物质,得到由弱磁性物质和无磁性物质组成的粉料;3)采用磁感应强度大于9000Gs的强磁场对步骤2)所得粉料进行磁选,选出磁性较弱的正极材料。本发明的回收方法,工艺简单,不需要任何化学试剂,将锂电池回收过程中正极材料的回收率提高5~10%,并增加了混合物料的价值。

标签:
加工技术
河南 - 洛阳 来源:中冶有色网 2023-03-18
管状锂靶材的制备方法

本发明涉及一种管状锂靶材的制备方法,采用3D打印方法制备所述管状锂靶材,在真空环境或惰性气体保护环境下,以锂丝为原料,采用电弧熔丝的方式在所述金属背管上打印出所需厚度的锂层,打印完成后还进一步对靶材进行滚压,所述制备方法过程简单、工艺可控性强,原材料利用率高、制备效率高,制备得到的锂靶材纯度高、探伤合格率高,且厚度可控,尺寸精度高,具有很好的应用前景。

标签:
加工技术
河南 - 洛阳 来源:中冶有色网 2023-03-18
上一页 20 21 22 23 24 ... 31 下一页
共31页    到第

中冶有色为您提供最新的河南洛阳有色金属加工技术理论与应用信息,涵盖发明专利、权利要求、说明书、技术领域、背景技术、实用新型内容及具体实施方式等有色技术内容。打造最具专业性的有色金属技术理论与应用平台!

全国热门有色金属设备推荐
展开更多 +
全国热门有色金属技术推荐
展开更多 +

 

江西省隆恩特环保设备有限公司
宣传

报名参会
更多+

报告下载

有色专家
更多+

武汉科技大学
校学术委员会主任 / 教授
广东省科学院工业分析检测中心
副主任
国家钨与稀土产品质量检验检测中心
主任
长沙有色冶金设计研究院有限公司
正高级工程师/中国铝业首席工程师/全国有色金属行业设计大师/国家注册采矿工程师
中国铝业股份有限公司
总裁 党委副书记
赤泥综合利用研究报告2025
推广

热门技术
更多+

推荐企业
更多+

福建省金龙稀土股份有限公司
宣传

发布

在线客服

公众号

电话

顶部
咨询电话:
010-88793500-807