青岛垚鑫智能科技有限公司
宣传

位置:中冶有色 >

有色技术频道 >

> 加工技术

分类:
全部
矿山技术
冶金技术
材料制备及加工技术
环境保护技术
分析检测技术
 
全部
功能材料技术
复合材料技术
新能源材料技术
合金材料技术
加工技术
地区:
全部
北京
天津
上海
重庆
河北
山西
辽宁
吉林
黑龙江
江苏
浙江
安徽
福建
江西
山东
河南
湖北
湖南
广东
海南
四川
贵州
云南
陕西
甘肃
青海
内蒙
广西
西藏
宁夏
新疆
其他
其他
展开
 
全部
合肥
芜湖
蚌埠
淮南
马鞍山
淮北
铜陵
安庆
黄山
阜阳
宿州
滁州
六安
宣城
池州
亳州

安徽芜湖有色金属加工技术理论与应用

免费发布技术信息>>
锂离子电池密封性检测设备及其检测方法

本发明涉及一种锂离子电池密封性检测设备及其检测方法,其特征在于:被测电池固定密封装置、检测装置(2)、抽真空装置(3)和补气装置通过连接管路分别和四通管接头(6)的四个端口连接;固定在被测电池固定密封装置(1)上的被测电池(5)的注液口(51)通过被测电池固定密封装置(1)上的连接头(13)、第一连接管路(7)、所述四通管接头(6)、第二连接管路(8)与检测装置(2)的数显真空压力表(21)连通形成密闭检测通路;检测时,抽真空装置(3)对检测通路抽真空,检测完毕后,补气装置(4)对检测通路进行补气便于被测电池(5)与连接头(13)分离;控制系统控制各装置配合工作。

标签:
加工技术
安徽 - 芜湖 来源:中冶有色网 2023-03-18
锂电池能量均衡控制系统及方法

本发明公开了一种锂电池能量均衡控制系统及方法,包括依次连接驱动电路、控制电路、电池单元、电压采集电路、电压放大电路和MCU微处理器,在MCU微处理器输出端连接控制电路上的MOS管,在MCU微处理器输出端还包括CELL1、CELL2和CELL3端口分别连接所述控制电路上的MOS管,在MCU微处理器输出端还包括连接一MOS管,该MOS管连接系统负载,本发明利用MCU微处理器输入端口连接的电路能够对电池组中的各个电池单元实时信号采样、处理、放大、比较和控制充电,MCU微处理器连接的BLEED_DRIVER端口可以调控电流占空比、根据检测电量的信息实行电路的自动开合,对电池组起到保护的作用;微处理器内部设有的A/D和D/A端口,减少转化电路,降低整个系统电路复杂程度;采用本发明的技术方案避免了能源浪费,缩短了充电时间。

标签:
加工技术
安徽 - 芜湖 来源:中冶有色网 2023-03-18
锂离子电池极柱密封结构

本发明涉及一种锂离子电池极柱密封结构,包括极柱、螺母、金属密封垫圈、电池盖板,所述极柱包括紧固螺栓、密封柱、密封台,所述紧固螺栓依次穿过所述电池盖板、所述金属密封垫圈与所述螺母,所述密封台设在所述电池盖板下方,所述电池盖板的至少一侧设有绝缘密封垫圈,所述绝缘密封垫圈上设有凸起的封闭环。本发明实施例中扭力扳手将螺母上紧使所述密封结构达到密封效果所需的力矩小于相同情况下现有技术所需的力矩,电池盖板受到的挤压力小,电池盖板边缘不易翘起,易于焊接,且焊接后焊接处不易开裂,电池盖板厚度小于相同情况下采用现有技术密封的电池盖板厚度。

标签:
加工技术
安徽 - 芜湖 来源:中冶有色网 2023-03-18
废旧锂电池无害化处理装置

本实用新型公开了一种废旧锂电池无害化处理装置,包括预热箱,预热箱中设有输送机构,且安装架位于预热箱的底部,安装架的两侧均设有挡板,转轴一和转轴二转动连接于安装架的两端,转轴一上对称设有链轮一,转轴二上对称设有链轮二,同一侧的链轮一和链轮二通过链条一连接,篦板两条链条一之间,链条一在驱动装置的带动下运动,预热箱的顶部和底部分别设有进料机构和出料机构,预热箱上还设有进烟管和出烟管。本实用新型解决了现有技术中废旧电池无害化处理时人工对电池中的电解液进行释放再进行后端处理,增加用工成本且存在安全隐患的问题。

标签:
加工技术
安徽 - 芜湖 来源:中冶有色网 2023-03-18
可扩展通信后备电源锂电池管理系统

本实用新型涉及一种可扩展通信后备电源锂电池管理系统,该系统包括至少两个分管理模块,分管理模块相互并联后分别与充电机、负载连接,分管理模块之间通过串口通信,所述分管理模块包括主控单元、以及分别与主控单元连接的充放电器反接单元、主通道单元、外部控制单元、通信单元、前级控制单元、前级信号采样单元、分管理模块供电单元;所述前级控制单元还与前级信号采用单元连接,本实用新型适应了现代通讯设备对后备电源的要求,具有极低的待机功耗、系统可自动切换电池组使系统稳定性极大提高。

标签:
加工技术
安徽 - 芜湖 来源:中冶有色网 2023-03-18
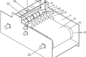
锂电池极片分条机去毛刺装置

本实用新型公开了一种锂电池极片分条机去毛刺装置,涉及极片去毛刺技术领域,包括底架和横梁,横梁安装于底架的侧壁上,且横梁的两侧安装有气杆一,气杆一的输出端安装有摩擦辊一,摩擦辊一的外侧壁转动连接有辊轮且辊轮外侧壁抵接有极片,底架的侧壁安装有平行于摩擦辊一的摩擦辊二,摩擦辊一通过气杆一推动与摩擦辊二相卡合并打磨极片的两侧,且极片通过放卷机构移动并通过分切机构分切。本实用新型通过气缸一推动摩擦辊一下移,将辊轮抵接于极片的上端并推动极片分层,随后摩擦辊一与摩擦辊二相卡合,上层极片的两侧边通过摩擦辊一进行打磨,下层极片的两侧通过摩擦辊二打磨,避免极片边缘的毛刺在后续绕卷操作时再次竖起影响电池质量。

标签:
加工技术
安徽 - 芜湖 来源:中冶有色网 2023-03-18
锂电池破碎系统自动外排循环装置

本实用新型提供了一种锂电池破碎系统自动外排循环装置,包括机架,机架顶端设有一级破碎部,一级破碎部的排料口底端连接有筛分部,筛分部底端连接设有二级破碎部,筛分部上端一侧开设有筛分口,外循环输送部一端连接于筛分口处,另一端连接于一级破碎部顶端进料口处,一级破碎部顶端具备斜开口,用于进料破碎,初步破碎后的物料经由一级破碎部底端排料口下漏,以落至筛分部筛分,以向下筛出小颗粒物料,小颗粒物料继续经由二级破碎部精细破碎,而筛分部上筛分剩下的余料,即大颗粒物料则经由筛分口、外循环输送部自动输送回一级破碎部再破碎,以自动完成破碎过程中的自动再循环。

标签:
加工技术
安徽 - 芜湖 来源:中冶有色网 2023-03-18
锂电池涂布垫片
锂电池涂布垫片 1125     
 0

本实用新型公开了一种锂电池涂布垫片,包括长边板、设于长边板上的中间板和设于中间板两侧且位于长边板两端的短边板,所述垫片还包括设于长边板与中间板、短边板及短边板折弯端的内侧边所形成围合空间内的侧边板,且侧边板设有第一导流结构。本实用新型的垫片安装在挤压头的内部时,能让供料腔内的浆料流动性更加活跃,避免浆料长时间不流动导致沉淀或凝胶,这样可以改善涂布重量一致性以及颗粒划痕问题。

标签:
加工技术
安徽 - 芜湖 来源:中冶有色网 2023-03-18
锂离子电池托盘
锂离子电池托盘 1038     
 0

本实用新型公开了一种锂离子电池托盘,包括外框架和设于外框架内的连接梁,所述连接梁与外框架的内侧边围合形成用于固定电池的定位凹槽,所述外框架的周向侧壁设有定位支撑结构。将电池收纳在对应的凹槽中,可以固定电芯,防止电池短路,在托盘四周设置有支撑、固定的机械结构,便于托盘的多层叠加,可以最大化的包装、运输。

标签:
加工技术
安徽 - 芜湖 来源:中冶有色网 2023-03-18
锂离子电池用耐溶剂性保护膜

本发明公开了一种锂离子电池用耐溶剂性保护膜,包括基膜和混合胶层,混合胶层通过将混合胶液涂至在基膜表面上进行烘干成型,混合胶层的混合胶液为三甲氧基硅烷、丙烯酸树脂、聚氨酯丙烯酸酯以及聚丙烯腈的混合液。处理工艺为:放卷的基膜通过设在涂胶槽顶部边缘一对导入辊通过涂胶槽的上方,基膜的下表面与设在涂胶槽中涂胶转辊上缘接触;外部冷却胶液输送至位于涂胶槽中胶液喷头中,通过胶液喷头将胶液喷至涂胶转辊的下缘上,涂胶转辊旋转将胶液涂至基膜下表面上;涂胶后的基膜进入保护膜烘干处理箱,基膜通过一组导辊在烘干处理箱烘干处理,烘干后的保护膜从保护烘干处理箱出来进行收卷操作。提高耐溶剂性,并且产品一致性好。

标签:
加工技术
安徽 - 芜湖 来源:中冶有色网 2023-03-18
锂电池模组转运装置
锂电池模组转运装置 1091     
 0

本发明提出了一种锂电池模组转运装置,包括盒体,所述盒体的下部滑动安装有支撑板,所述支撑板上安装有左夹持板与右夹持板,所述支撑板的中部安装有传动齿条,所述竖腔的一侧开设有通槽,所述竖腔的一侧安装有转轴,所述转轴的一端安装有第一传动轮,所述转轴的另一端安装有第二传动轮,所述第二传动轮的上下两侧分别安装有上齿条与下齿条,所述上齿条与所述左夹持板相连接,所述下齿条与所述右夹持板相连接,所述盒体的上部安装有提升盖板,所述提升盖板的两侧安装有提拉组件,本发明通过电池模组的自重带动左夹持板与右夹持板进行夹持固定,保证了电池模组固定的牢固性,在支撑板的下部安装第一弹簧,减缓了电池模组转运时的振动。

标签:
加工技术
安徽 - 芜湖 来源:中冶有色网 2023-03-18
锂电池外壳体封包装置
锂电池外壳体封包装置 1127     
 0

本发明公开了一种锂电池外壳体封包装置,包括底座、支撑柱和顶板,底座的顶端一侧边设有支撑柱,支撑柱的顶端设有顶板,顶板的顶端远离支撑柱的一侧边设有电机,电机的输出轴与转轴一连接,转轴一的底端设有皮带轮一,皮带轮一的一侧边设有皮带轮二,且皮带轮一与皮带轮二之间通过皮带连接,皮带轮二的内部贯穿设有连接轴,连接轴的顶端通过固定套固定在顶板的底端,连接轴的底端设有连接盘一和连接盘二,连接盘一的一侧边设有凸柱一,连接盘二远离连接盘一的一侧边设有凸柱二,凸柱一和凸柱二的底端均设有连接柱一,连接柱一的底端远离连接盘一和连接盘二的一侧边均设有伸缩杆一。

标签:
加工技术
安徽 - 芜湖 来源:中冶有色网 2023-03-18
家用锂电池电动车充电器

本发明的目的是提供一种家用锂电池电动车充电器,包括有外框,所述外框内设置有充电器本体;充电器本体左侧连接有插电线,插电线伸出外框;充电器本体右侧连接有充电线,充电线伸出外框;外框底部连接有支撑柱,支撑柱底部设置有底座;所述插电线左端设置有插电头,充电线右端设置有充电头。充电头插在电动车上进行充电,充电头挂在挂钩上,充电线通过收线杆进行收线,插电头插在插座上接电,插电头插在挂环上对插电线进行放置,外框设置在底座上可移动,充电头可通过遮盖进行挡雨,整个装置操作简单,适合家庭操作。

标签:
加工技术
安徽 - 芜湖 来源:中冶有色网 2023-03-18
基于钳压式均衡的锂电池管理装置

本发明涉及电池管理技术领域,具体地说是一种基于钳压式均衡的锂电池管理装置,其特征在于包括控制器、与控制器相连接的充电电路、与控制器相连接的钳压均衡电路、与控制器相连接的过压保护电路、与控制器相连接的过流保护电路以及与控制器相连接的温度检测电路,其中所述充电电路中设有变压电路、与变压电路输出端相连接的降压整流电路、与降压整流电路输出端相连接的至少两路子充电回路,每个子充电回路中均设有与控制器相连接的用于控制相应子充电回路通断的继电器,所述钳压均衡电路中包括至少两路电压均衡回路以及用于向每路电压均衡回路送入电压阈值的参考电源,本发明与现有技术相比,具有结构合理、安全可靠等显著的优点。

标签:
加工技术
安徽 - 芜湖 来源:中冶有色网 2023-03-18
用于锂离子电池生产的涂布设备

本发明公开了一种用于锂离子电池生产的涂布设备,包括进布槽、送料装置、涂布装置、升降装置和调节装置,所述装置主体底部一侧设有进布槽,且装置主体顶部另一侧设有出布槽,所述装置主体内部安装有送料装置,所述送料装置一侧设有涂布装置,物料通过输料管输送至送料装置内部,从而通过第一电机的带动绞龙进行转动,进而有利于在对物料进行充分搅拌的同时能够有效避免搅拌的过程中会有气泡进入,从而大大减少了物料中的气泡,通过真空泵使送料装置内部处于真空环境,当送料装置内部处于真空环境时,物料中其余残留的气泡会变大浮出,从而通过真空泵将空气抽出,从而充分使物料中的气泡进行消泡处理,有利于提高涂布的质量。

标签:
加工技术
安徽 - 芜湖 来源:中冶有色网 2023-03-18
提高锂电池负极片质量的方法

本发明公开了一种提高锂电池负极片质量的方法,对经过标准生产工艺得到的未老化电池进行化成工艺,其过程及其技术参数为:搁置:‑80kPa,5min;CC:‑80kPa,120~150min,0.04~0.08C,截止电压3.4V;搁置:0~‑80kPa,5min;CC:‑80kPa,100~120min,0.3~0.5C,截止电压3.6V;搁置:0kPa,5min;结束。采用上述技术方案,可有效释放卷绕后极片间的应力,及时做到裸电芯平梳整理,进而有效克服负极片褶皱;工艺成本低、无毒、环保;操作简单,效果明显,可以实现量产化;能极大提高产品的质量及优率,给企业和客户带来最大的利益。

标签:
加工技术
安徽 - 芜湖 来源:中冶有色网 2023-03-18
锂离子电池用低表面能胶带

本发明公开了一种锂离子电池用低表面能胶带,胶带基带上设有软性涂层和丙烯酸酯复合层,软性涂层先在胶带基带上胶成型,丙烯酸酯复合层再涂胶在软性涂层上成型,软性涂层位于胶带基带和丙烯酸酯复合层之间。处理工艺,包括以下步骤:通过胶带基带放卷辊进行胶带基带放卷操作,胶带基带进入净化室净化处理;从净化室出来的胶带基带进入上胶室进行软性涂层的上胶操作,再通过中间加热处理室进行加热处理;加热处理后的胶带基带进入涂胶室进行丙烯酸酯复合层的涂胶操作,涂胶后的胶带进入尾部加热处理室内再次进行加热处理,从尾部加热处理室出来的胶带通过胶带收卷辊进行胶带收卷操作。洁净度高以及表面能相对较低,提升了胶带产品性能。

标签:
加工技术
安徽 - 芜湖 来源:中冶有色网 2023-03-18
用于锂电池负极的氧化铬及碳纳米管复合材料的制备方法

本发明公开了一种用于锂电池负极的氧化铬及碳纳米管复合材料的制备方法,所述负极材料为氧化铬及碳纳米管复合材料,其制备方法包括如下步骤1)碳纳米管加入无水乙醇中,加入少量分散剂,进行超声搅拌,形成悬浊液;2)将Cr(NO3)2溶于去离子水中,并加入所述悬浊液,同时加入一定量的氨水溶液,使PH值调整到10,超声搅拌30min‑1小时混合;之后进行过滤,无水乙醇和去离子水反复清洗,之后置于干燥箱中70‑80℃干燥箱12小时形成块体;然后放入管式炉中,在密闭的真空环境下550‑650℃下热处理5‑6小时,然后自然冷却;得到氧化铬及碳纳米管复合材料。制得的氧化铬及碳纳米管复合材料中,碳纳米管呈网状分布,氧化铬纳米颗粒在碳纳米管的管壁表面上分散。该材料具有高的能量密度和良好的循环稳定性。

标签:
加工技术
安徽 - 芜湖 来源:中冶有色网 2023-03-18
锂离子电池极片的干燥方法

本发明提出了一种锂离子电池极片的干燥方法,通过该方法对正极片和负极片进行干燥,可以充分干燥极片,从而获得性能良好的极片。该干燥方法包括如下步骤:A:将电池极片放入干燥箱内;B:利用抽真空设备使干燥箱内的气压降至预定低压,并保持在预定低压状态下第一预定时间,然后关闭抽真空设备;C:利用加热设备对干燥箱进行加热,使干燥箱的温度升至预定高温,并保持第二预定时间;D:向干燥箱内充入纯净干燥惰性气体,第三预定时间后利用抽真空设备使干燥箱内的气压降至预定低压,并保持在预定低压状态下第一预定时间,然后关闭抽真空设备;E:重复执行C~D步骤若干个循环后,关闭加热设备;待干燥箱的温度降至室温后取出极片。

标签:
加工技术
安徽 - 芜湖 来源:中冶有色网 2023-03-18
方型动力锂离子电池及其保护方法

本发明公开了一种方型动力锂离子电池及其保护方法,所述方法包括:1)在钢壳电池(1)的壳体上安装形变感应器(2);2)在钢壳电池(1)充满电后设定初始控制量;3)形变感应器(2)实时检测壳体的形变;4)当壳体发生的形变大于控制量时,形变感应器(2)发出报警信号给电池管理系统,电池管理系统切断电池的进一步使用,报警器发出报警声。本发明通过在壳体上安置形变感应器,可以减少电池或电池包发生过充和过温现象的机率,大大提高了电池或电池包的安全性,使形变感应器成为电池的二级保护,延长使用寿命,减少投入。

标签:
加工技术
安徽 - 芜湖 来源:中冶有色网 2023-03-18
新能源锂离子电池用粘结剂及其应用

本发明提供了一种新能源锂离子电池用粘结剂及其应用,包括以下重量份的原料:羟甲基纤维素20‑30份、改性聚丙烯酸16‑24份和改性海藻酸钠13‑18份,与现有技术相比,本发明提供的粘结剂不仅粘结性高,长时间使用后不掉粉,而且经过改性复配的原料能够提高电极的充放电性能及循环稳定性。

标签:
加工技术
安徽 - 芜湖 来源:中冶有色网 2023-03-18
锂离子动力电池储能系统

本发明涉及一种锂离子动力电池储能系统,动力电池由多个电池模组联接组成,动力电池设置于壳体内,其特征在于:动力电池设有快充电极,快充电极接快充高压插接件,快充高压插接件位于壳体外部,外接电源可通过快充高压插接件对动力电池进行充电;设有电池信息采集模块BMU,BMU用于采集动力电池电压和温度信号;设有电池管理模块BMS,BMU信号输出端接BMS,BMS通过CAN总线与整车控制器通讯连接,BMS用于对动力电池充电进行控制;BMU和BMS位于壳体内,BMU和BMS均与动力电池固定支架固定。本发明结构设计简单合理,充电方便,工作性能更加可靠。

标签:
加工技术
安徽 - 芜湖 来源:中冶有色网 2023-03-18
手机锂电池极板刷粉装置

本发明提供一种手机锂电池极板刷粉装置,包括运输轨道,所述运输轨道上设置有粉料刷,所述粉料刷通过两端的支撑架设置在运输轨道上,所述粉料刷右侧设置有粉料刷制确认装置,所述粉料刷制确认装置右端设置有补粉刷,所述补粉刷通过上端设置的升降气缸进行升降,所述补粉刷右端设置有刮料板。通过运输轨道对极板进行运输,并且通过粉料刷对极板进行刷粉工作,设置粉料刷制确认装置控制补粉刷对未刷部位进行补刷,并且通过刮料板对刷粉过后的极板上多余粉料进行刮下,设置高度调整杆对刮料板的高度进行调节,以适应不同规格的极板。

标签:
加工技术
安徽 - 芜湖 来源:中冶有色网 2023-03-18
新型方形锂离子动力电池极柱

本实用新型涉及一种新型方形锂离子动力电池极柱,包括极柱本体,极柱本体由上部和下部组成,所述的极柱本体的上部、下部之间设置扁台状的极柱台,极柱台的周边轮廓为非圆形,极柱台的周边轮廓由至少两段相异曲率的边缘构成。本实用新型中的极柱台的周边轮廓为非圆形,可有效防止极柱转动,减小了电池漏液的可能性,具有自锁性能。同时,极柱台周边轮廓由至少两段相异曲率的边缘构成,大大降低了锐度,有效地避免极耳被割断现象的发生,保证了电池组的安全性。此外,采用这种形状的极柱台结构简单、成本低、大电流放电性能较好。

标签:
加工技术
安徽 - 芜湖 来源:中冶有色网 2023-03-18
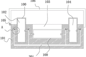
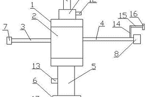
锂电池质量检测装置
锂电池质量检测装置 991     
 0

本说明书一个或多个实施例提供一种锂电池质量检测装置,包括:机座,所述机座中设有第一安装腔、第二安装腔与第三安装腔,第一安装腔、第二安装腔与第三安装腔中分别安装电池外壳,第一安装腔、第二安装腔与第三安装腔中安装的电池外壳方向各不相同,所述第一安装腔、第二安装腔与第三安装腔中分别安装有可伸缩的充水管,充水管与所述上的充水口相配合,所述充水管连接有分水管,分水管连通有主水管,所述机座上安装有铰接轴,铰接轴上安装有防护盖。能够清楚的得出电池外壳每个面的承压能力,爆破时,冲击力朝向同一个面,能够提高安全性。

标签:
加工技术
安徽 - 芜湖 来源:中冶有色网 2023-03-18
负应变材料包覆硅碳的负极材料及其制备方法、锂离子电池

本发明提供了负应变材料包覆硅碳的负极材料及其制备方法、锂离子电池,所述负应变材料为经过热机械方法处理后的聚氨酯泡沫、具有微孔结构的聚四氟乙烯、微孔陶瓷、碳纤维、超高分子量聚乙烯、具有多孔结构的沸石或α方英石。利用上述负应变材料包覆硅碳材料;利用负应变材料在使用过程中晶胞体积收缩的特性,来抑制硅碳材料的体积膨胀。与现有技术相比,本发明不仅提高了电池的电性能(包括循环性能),还提高了电芯的安全性能,对过充、短路、针刺等均有改善效果。

标签:
加工技术
安徽 - 芜湖 来源:中冶有色网 2023-03-18
锂离子动力电池的单体均衡化系统

本发明涉及一种锂离子动力电池的单体均衡化系统,包括至少两个相串连的电池单体B,任意两个相邻的电池单体B上各自并联一个可控开关K,两个可控开关K之间串联一个电容C,两个可控开关K处于与其中的任意一个电池单体B接通或断开的两种电连接状态,电压采集控制模块采集电池的电压并经处理后输出控制信号驱动相应的可控开关K,使电容C与待处理的电池单体B连通。本发明通过控制可控开关K与电池单体B的通断使电池单体B对电容C充电或使电容C放电,成功地实现了电荷从电压高的电池单体B向电压低的电池单体B的转移,提高了电池的性能,延长了电池的寿命,既适用于静态均衡化管理,也适用于动态均衡化管理。

标签:
加工技术
安徽 - 芜湖 来源:中冶有色网 2023-03-18
锂电池原料混合搅拌装置

本发明公开了一种锂电池原料混合搅拌装置,涉及物料混合技术领域,包括:第一箱体、第二箱体、盖体、转轴、第一电机、多个第一搅拌叶片、多个第二搅拌叶片、多个万向球和驱动部,其中,第一箱体设置在第二箱体内;多个万向球分别设置在第二箱体的内底部和内侧壁上,万向球与第一箱体的外表面接触;盖体设置在第一箱体的顶部;转轴转动设置在第一箱体内;第一电机的转动轴与转轴传动连接;多个第一搅拌叶片设置在转轴上;多个第二搅拌叶片设置在第一箱体的内侧壁上;驱动部与第一箱体传动连接,用于驱动第一箱体转动,第一箱体的转动方向与转轴的转动方向相反。本发明通过两个方向上的搅拌可以提升原料混合的均匀度。

标签:
加工技术
安徽 - 芜湖 来源:中冶有色网 2023-03-18
锂离子电极材料碳包覆材料的搅拌装置

本实用新型公开了一种锂离子电极材料碳包覆材料的搅拌装置,包括呈阶梯型分布的第一反应釜、第二反应釜和第三反应釜,所述第一反应釜、第二反应釜和第三反应釜均包括釜体、釜盖、进料管和出料管;所述釜盖固定于釜体上,釜盖上设有电机,电机的传动轴穿过釜盖伸入到釜体内,电机的传动轴上设有推进式叶片,所述进料管设置在釜盖上,其管口朝上,所述出料管设置在釜体上,其管口朝下。本实用新型采用多个反应釜搅拌的方式,进料,搅拌,出料可以同时进行,保证后续干燥烧结过程的连续性,且不需要停机等待,全程自动化,节省人力物力,增加生产效率。

标签:
加工技术
安徽 - 芜湖 来源:中冶有色网 2023-03-18
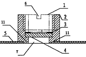
方形锂离子电池安全防爆装置

一种方形锂离子电池安全防爆装置,包括防爆阀外丝、防爆阀内丝以及防爆阀密封件,所述防爆阀内丝和所述防爆阀密封件都位于所述防爆阀外丝中,防爆阀外丝下部开有一小孔,小孔与电池内部相通。防爆阀密封件位于所述防爆阀内丝下方,防爆阀密封件与防爆阀内丝之间设有防爆阀密封件垫片,防爆阀内丝和防爆阀外丝密封连接。本实用新型由于设有专门的防爆阀密封件,当该处防爆密封件破裂后,更换防爆密封件即可,防爆阀可多次使用,节约了资源。

标签:
加工技术
安徽 - 芜湖 来源:中冶有色网 2023-03-18
上一页 20 21 22 23 24 ... 48 下一页
共48页    到第

中冶有色为您提供最新的安徽芜湖有色金属加工技术理论与应用信息,涵盖发明专利、权利要求、说明书、技术领域、背景技术、实用新型内容及具体实施方式等有色技术内容。打造最具专业性的有色金属技术理论与应用平台!

全国热门有色金属设备推荐
展开更多 +
全国热门有色金属技术推荐
展开更多 +

 

江西省隆恩特环保设备有限公司
宣传

报名参会
更多+

报告下载

有色专家
更多+

中南大学
中国工程院院士
武汉理工大学
外籍院士/教授
湖南有色金属研究院
教授级高工/原总工程师
矿冶科技集团有限公司工程公司
副总经理
中国矿业大学(北京)
教授
赤泥综合利用研究报告2025
推广

热门技术
更多+

推荐企业
更多+

福建省金龙稀土股份有限公司
宣传

发布

在线客服

公众号

电话

顶部
咨询电话:
010-88793500-807