青岛垚鑫智能科技有限公司
宣传

位置:北方有色 >

有色技术频道 >

> 固/危废处置技术

分类:
全部
矿山技术
冶金技术
材料制备及加工技术
环境保护技术
分析检测技术
 
全部
废水处理技术
大气治理技术
固/危废处置技术
土壤修复技术
地区:
全部
北京
天津
上海
重庆
河北
山西
辽宁
吉林
黑龙江
江苏
浙江
安徽
福建
江西
山东
河南
湖北
湖南
广东
海南
四川
贵州
云南
陕西
甘肃
青海
内蒙
广西
西藏
宁夏
新疆
其他
其他
展开
 
全部
北京

北京北京有色金属固/危废处置技术理论与应用

免费发布技术信息>>
脱硫废水中固废减量化与石膏脱氯联合处理装置

本发明公开了一种脱硫废水中固废减量化与石膏脱氯联合处理装置,包括:第一真空皮带脱水装置、第二真空皮带脱水装置、石膏清洗箱与工艺水进水管,其特征在于:第一真空皮带脱水装置包括有一级真空皮带脱水机、脱硫废水集水罐、脱硫废水输送管与废水收集管,在一级皮带脱水机上安装有第一石膏输送皮带,在一级真空皮带脱水机的上部开设有一级真空皮带脱水机真空槽,在一级真空皮带脱水机的上端设置有石膏浆液进入管,石膏浆液进入管的出口端位于一级真空皮带脱水机真空槽的上方。本发明可将滤除石膏的滤液作为脱硫废水的源水,从而去除水中的悬浮物,减少了环境污染与污泥的处理成本,同时将去除的悬浮物转化为石膏,增加了产出及效益。

标签:
固废
北京 - 北京 来源:北方有色网 2023-03-19
具有废气净化的畜禽养殖固废处理装置

本实用新型公开了一种具有废气净化的畜禽养殖固废处理装置,包括机体,所述机体内部由上到下均匀的设有若干托盘,所述机体内部底端设有加热丝,所述机体顶端设有顶罩,所述顶罩和机体通过螺栓连接在一起,所述顶罩内部设有过滤箱,所述过滤箱和顶罩插接在一起,所述顶罩顶部安装有风机,本实用新型解决现有的粪便烘干设备都是一些大型的设备,不便于普通小型养殖户使用,且现有的粪便烘干机使用不方便对设备产生的废气进行净化,从而导致废气污染空气的问题,通过对小型烘干设备的结构进行改良和优化,使得小型烘干设备能够适用于对粪便的烘干,且这种烘干设备带有废气净化装置。

标签:
固废
北京 - 北京 来源:北方有色网 2023-03-19
有机固废超高效资源化装置

本申请公开了有机固废超高效资源化装置,包括放置箱、处理结构和预处理结构,所述放置箱顶端固定有进料口;所述处理结构包括搅拌轴和放置管,所述放置箱内部通过轴承连接有搅拌轴,且搅拌轴上均等固定有搅拌桨叶,所述搅拌桨叶一端与减速机固定。通过搅拌桨叶对破碎的废料进行搅拌,同时进行加热,加快废料发酵速度,再通过排气风机将放置箱内部气体抽出,同时通过第一过滤层、第二过滤层和第三过滤层对废气进行过滤处理,从而使得废料处理更加全面,且避免异味影响人们生活,通过破碎辊对进入放置箱内部的垃圾废料进行破损,避免较大的垃圾在放置箱内部影响搅拌,同时破碎后的垃圾废料在加热时更加均匀,从而进一步加快了发酵速度。

标签:
固废
北京 - 北京 来源:北方有色网 2023-03-19
用于含汞固废及土壤处理的间接热解吸修复系统及方法

本发明提供了一种用于含汞固废及土壤处理的间接热解吸修复系统及方法。系统包括进料单元、热解吸单元、高温除尘单元、尾气处理单元、工艺水处理单元和出料单元;所述热解吸单元分别连接进料单元、高温除尘单元和出料单元,高温除尘单元连接尾气处理单元和出料单元,工艺水处理单元连接尾气处理单元。该系统处理能力大、汞及其化合物去除率高、便于运输和安装,并且此系统可灵活控制含汞物料热解吸温度及停留时间,充分利用系统余热及处理后达标水,高效经济的修复汞污染物料,同时最大限度的回收汞单质,实现废水达标回用、尾气达标排放的目的。

标签:
固废
北京 - 北京 来源:北方有色网 2023-03-19
用于含汞固废及土壤处理的间接热解吸尾气处理系统

一种用于含汞固废及土壤处理的间接热解吸尾气处理系统,属于热解吸尾气处理系统技术领域。热解吸设备的热解气出口端与热过滤器的热解气入口端相连通,热过滤器的热解气出口端与急冷洗涤塔的热解气入口端相连通,急冷洗涤塔的气体出口连接文丘里洗涤器进口,文丘里洗涤器的出口连接填料洗涤塔进口,填料洗涤塔及制冷机组与冷凝盘管连接,冷凝盘管末端连接除雾器,除雾器的出口与载硫活性炭吸附罐的入口相连通,载硫活性炭吸附罐的出口与引风机的进风口相连通,引风机的出风口与烟囱相连通,急冷洗涤塔、填料洗涤塔和冷凝盘管的出水口均与工艺水处理单元的进水口相连通,工艺水处理单元的出水口均与急冷洗涤塔和填料洗涤塔内部的喷淋装置相连通。

标签:
固废
北京 - 北京 来源:北方有色网 2023-03-19
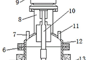
脱硝固废提纯实验装置反应釜

本实用新型提供了一种脱硝固废提纯实验装置反应釜,包括釜体、设置在釜体底部的封头和设置在釜体顶部通过法兰固定连接的釜盖;所述釜体外围与封头的底部套设焊接固定有夹套筒体;所述夹套筒体外表面设有陶瓷纤维的保温材料,在夹套筒体内设有保温层;所述釜盖上沿水平方向依次设有进料口、电机支架和放空口;所述电机支架上端面设有搅拌电机;所述搅拌电机的输出端联动连接有搅拌轴;所述搅拌轴沿竖直方向伸入釜体内,且在搅拌轴外围设有浮动桨;在浮动桨下方搅拌轴上设有三叶推进式搅拌桨;本实用新型结构紧凑,通过设置浮动桨和三叶推进式搅拌桨,确保搅拌过程中物料的均匀性,促进反应过程中的最佳状态。

标签:
固废
北京 - 北京 来源:北方有色网 2023-03-19
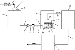
废水、固废金属熔融气化反应发电系统

一种废水、固废金属熔融气化反应发电系统,它包括有破碎搅拌机、金属熔融气化反应器、冷却净化器、燃气发电机,破碎搅拌机设有一个进料料斗并通过一根全封闭的传输带与破碎搅拌机进料口相接,在破碎搅拌机的下侧壁设有泥浆排料管,该排料管与螺杆泵连接,该螺杆泵的输出管与加压泵连接,该加压泵的加压输出管与金属熔融气化反应器的侧壁进料口连接;所述的金属熔融气化反应器内设有铁液罐,在铁液罐的铁液上部侧壁设有排渣口,在铁液罐顶部设有出气孔,该出气孔通过气管与冷却净化器连接,该冷却净化器的排气管与燃气发电机的燃气进气口连接。本实用新型具有:保护环境,节省处理费用,投资相对少,运营成本低,投资回报快等优点。

标签:
固废
北京 - 北京 来源:北方有色网 2023-03-19
基于固废利用的建筑基坑肥槽回填简易方法

本发明公开了一种基于固废利用的建筑基坑肥槽回填简易方法,具体包括以下步骤:(1)现场踏勘准备,施工设备进场、就位、安装和调试;(2)料场规划,临水临电接通;(3)配制水泥土浆液;其中,水泥土浆液包括以下重量份的原料:黏土、粉土或砂土800‑900份,水泥100‑200份,发泡剂0.5‑2份,水500‑900份,以及外加剂0‑2份;(4)将水泥土浆液输送至浇筑地点进行浇筑,待建筑基坑肥槽内水泥土浆液凝固成为带气泡的水泥土固化物,即可。本发明配方简单,就地取材,不受材料限制;设备小型化,利用现有设施,不受场地限制;工艺简易实用,减少辅助时间,提高效率,降低劳动强度,深受人们喜爱。

标签:
固废
北京 - 北京 来源:北方有色网 2023-03-19
基于钢厂固废熔融还原的泡沫渣稀相干法粒化方法

本发明涉及一种基于钢厂固废熔融还原的泡沫渣稀相干法粒化方法,该方法包括:1)将含碳球团加入液态高炉渣中,混合进行熔融还原;2)底吹气体使熔渣形成均质化的泡沫渣,并使泡沫渣稀相涌入粒化室;3)采用高压气流冲击泡沫渣粒化并完成一次风淬换热;4)粒化渣进入流化床,通入气体完成粒化渣的二次对流换热后,排出粒化渣;5)研磨破碎;6)干式磁选。采用该方法粒化高炉渣能够省略机械粒化装置,降低熔渣粒化所需高压气体流量,提高熔渣的换热强度及换热后炉渣的玻璃相含量,具有良好的粒化换热效果。

标签:
固废
北京 - 北京 来源:北方有色网 2023-03-19
固废复合材料提升排土场边坡稳定性的方法

本发明涉及一种固废复合材料提升排土场边坡稳定性的方法。一种提高排土场边坡稳定性的方法,包括下列步骤:向排土场边坡表面铺设一层秸秆;在所述秸秆之上铺设修复土壤层,所述修复土壤层主要由粉煤灰和黑黏土以1~3:1~3的质量比混合而成;在所述修复土壤层上种植作物。本发明就地取材,将农业和工业废弃物回收利用来修复排土场的边坡,降低了排土场边坡发生山体滑坡的风险。

标签:
固废
北京 - 北京 来源:北方有色网 2023-03-19
厂区固废液废循环综合利用装置及使用方法

本发明适用于废水处理技术领域,提供了一种厂区固废液废循环综合利用装置及使用方法,包括过滤池,所述过滤池的内部通过拆卸结构连接第一过滤结构和第二过滤结构,所述过滤池的底部和上部还分别连接消毒结构和沉降结构。借此,本发明能够对厂区废水进行沉降、过滤和消毒,使废水重复利用,节约水资源,缓解现阶段缺水的问题,同时能够避免厂区废水污染环境,提高环境质量。

标签:
固废
北京 - 北京 来源:北方有色网 2023-03-19
用于危废含油泥砂转化为固废的催化处理工艺及系统

本发明公开了一种用于危废含油泥砂转化为固废的催化处理工艺及系统,处理工艺包括以下步骤:S1、将油泥砂和含碳有机物的混合原料在准备罐中进行超声和破碎混匀预处理;S2、将预处理后得到的混合物料和具有破乳降粘功能的表面活性剂放入反应罐中进行升温升压处理;S3、收集所述反应罐中产生的混合气体。这种含油泥砂的催化处理工艺,采用低温水热碳化热解和表面活性剂联用的方法,以含油泥砂和含碳有机物为主要原料,通过物理、化学和工程手段对含油泥砂进行结构转变、激活和促进活化能较高的裂解反应,可高效的降低含油泥砂的含油率,使处理后的油泥沙达到国家规定的无害化排放标准,并实现整个生产过程的零排放。

标签:
固废
北京 - 北京 来源:北方有色网 2023-03-19
建筑业用工业固废分选装置

本实用新型公开了建筑业用工业固废分选装置,包括轴承座、主轴、驱动机构以及套筒组件,套筒组件包括内套筒、外套筒、连接板、端部挡板、分隔板、导料板以及支撑板,内套筒套设在主轴上,主轴通过花键将动力传递给内套筒;外套筒套设在内套筒上,其之间形成环空,连接板一侧与内套筒连接,其另一侧与外套筒;端部挡板有两个,分别位于外套筒两端并套接在外套筒上;分隔板一侧与外套筒的外壁连接;导料板为圆柱弧形板,导料板位于外套筒的轴线下方的一侧,其两侧分别各与一个端部挡板连接,其通过支撑板固定在底板的上方,在导料板上设置有多个漏粉孔。本实用新型自动分选建筑垃圾,无需人工手动操作,降低了工人劳动强度,提高了分选效率。

标签:
固废
北京 - 北京 来源:北方有色网 2023-03-19
用于城市固废焚烧过程仿真平台的仪表装置

本实用新型公开一种用于城市固废焚烧过程仿真平台的仪表装置包括:工控机处理器、第一研华板卡、第二研华板卡、第三研华板卡、第一PCB端子板、第二PCB端子板、第三PCB端子板、可编程控制器、监控计算机;所述工控机处理器连接第一研华板卡、第二研华板卡、第三研华板卡;所述可编程控制器包含:第一PLC模块、第二PLC模块、第三PLC模块、第四PLC模块、第五PLC模块、第六PLC模块、第七PLC模块、第八PLC模块、第九PLC模块。采用本实用新型技术方案,能够实时地监测、获得模拟对象过程变量。

标签:
固废
北京 - 北京 来源:北方有色网 2023-03-19
固废衍生燃料热解实验装置

本实用新型涉及一种固废衍生燃料热解实验装置,包括进料电机、料斗、气化仓、加热器、布气板、出料机构、灰仓、出气口、进气口;通过控制气化固定床的温度,实现分段气化;气化产生的可燃气体经出气口接入碳氢化合物分析仪、硫化物分析仪及氮氧化物分析仪,分别分析碳氢化合物、硫化物及氮氧化物含量;本实用新型的有益效果是:密封性好,无二次污染,反应均匀,安全性高,与中央自动控制系统配合,可实现升温、载气、进料速率自动化控制。

标签:
固废
北京 - 北京 来源:北方有色网 2023-03-19
全固废软基淤泥固化粉料及其制备方法

本发明属于材料制备领域,公开了一种全固废软基淤泥固化粉料及其制备方法。该粉料包括以重量分数计的以下组分:电石渣粉、矿渣粉、石膏、硅酸钠、无机增效剂和阳离子醇胺型高分子活化剂。本发明的目的就是采用钙矾石反应机理选择原材料和改性原材料,进而大大提高软土的承载力。

标签:
固废
北京 - 北京 来源:北方有色网 2023-03-19
建筑固废混合水泥土搅拌机

本实用新型公开了建筑固废混合水泥土搅拌机,涉及搅拌机设备技术领域。包括第一箱体,以及设在第一箱体上的第一入料口和第一出料口;在第一箱体的外部设有第一电机,在第一箱体的内部设有第一搅拌轴,第一电机的输出轴转动连接第一搅拌轴,在第一搅拌轴上设有第一搅拌叶片;在第一箱体的下方设有第二箱体,第二箱体设有第二入料口和第二出料口,第二入料口与第一出料口联通;在第二箱体上面并排设有第二电机和第三电机,第二电机和第三电机分别转动连接一个第二搅拌轴,两个第二搅拌轴上均设有搅拌叶片;在第一箱体的四个角上设有四个可调节支腿。本实用新型结构简单,搅拌效果好,易安装,安全性能高。

标签:
固废
北京 - 北京 来源:北方有色网 2023-03-19
高温处理含碳固废、液废的装置

本实用新型公开了一种高温处理含碳固废、液废的装置,包括高温粉碎搅拌罐、放置于高温粉碎搅拌罐一侧的密封罐、放置于高温粉碎搅拌罐一侧的高温活化罐和放置于高温粉碎搅拌罐一边的废料罐,所述高温粉碎搅拌罐顶部中心位置安装有第一电动机,且第一电动机的输出轴焊接有传动杆,所述传动杆外壁焊接有若干个均匀分布的粉碎刀片。本实用新型通过使用高温搅拌粉碎装置,即能进行固液分离,且能够收集高温的活化剂,不仅仅降低了制取活性炭的成本,同时能够节约资源对资源合理高效的利用;通过将密封罐和高温活化罐进行活化剂循环使用,极大的提高了活化剂的使用效率,同时能够利用高温的活化剂加快了活性炭的制取,提高了活性炭的制取效率。

标签:
固废
北京 - 北京 来源:北方有色网 2023-03-19
雾化喷淋除臭装置及带该装置的固废垃圾收集运输车

本实用新型涉及一种雾化喷淋除臭装置,包括混合药箱、高压喷淋主机、喷淋管路、多个雾化喷嘴和微型电控箱;所述的混合药箱内灌装有用于除臭的药液,所述高压喷淋主机包括电机和由该电机驱动的喷淋泵,所述喷淋泵抽取混合药箱内的药液并将药液经喷淋管路输送至各雾化喷嘴,所述多个雾化喷嘴分散安装在喷淋管路上,所述喷淋管路固定在异味气体释放通道的周围,所述微型电控箱内设控制电路,控制电路连接并控制所述电机,控制电路包括手动控制电路和自动控制电路,微型电控箱上设置自动控制与手动控制的切换开关和喷淋启停开关。本实用新型还涉及一种带前述雾化喷淋除臭装置的固废垃圾收集运输车,解决垃圾收集运输车装卸垃圾时产生的异味。

标签:
固废
北京 - 北京 来源:北方有色网 2023-03-19
城市固废焚烧过程二噁英排放浓度预测系统

本发明公开一种基于潜在特征提取与选择的城市固废焚烧过程二噁英排放浓度预测系统,包括:潜在特征提取模块,采用主元分析(PCA)提取MSWI过程高维输入变量的潜在特征;潜在特征选择模块,采用互信息方法和预设定特征选择比率对所提取的潜在特征按其与DXN间互信息值的大小进行选择;软测量模型构建模块,基于所选择的潜在特征,采用具有模型超参数自适应选择策略的最小二乘‑支撑向量机(LS‑SVM)算法构建DXN排放浓度预测模型。

标签:
固废
北京 - 北京 来源:北方有色网 2023-03-19
基于工业固废制备的土壤修复剂的制备方法、土壤修复剂及其应用

本发明涉及一种本发明涉及土壤重金属污染治理技术领域,特别是涉及一种基于工业固废制备的土壤修复剂的制备方法、土壤修复剂及其应用。所述土壤修复剂的制备方法,包括以下步骤:将铁尾矿、低品位菱镁矿和焦炭混合,所得混合物进行第一次煅烧;将第一煅烧的产物经磁选分离得到磁性产物和非磁性产物;将所述非磁性产物通过酸溶得到可溶溶液和难溶组分;向所述可溶溶液中加碱得到沉淀物;将所述磁性产物和所述沉淀物混合,混合物进行第二次煅烧。

标签:
固废
北京 - 北京 来源:北方有色网 2023-03-19
有机固废发酵滚筒端板固定装置

本实用新型公开了一种有机固废发酵滚筒端板固定装置,其设置于所述发酵滚筒端板与钢制支架之间,所述固定装置包括与发酵滚筒端板连接的拉伸轴和固定于钢制支架上的轴承座,所述拉伸轴可沿轴向滑动,其穿过所述轴承座而设,所述轴承座内安装有直线轴承,所述直线轴承与所述拉伸轴之间通过设置于直线轴承内的多个钢球滑动连接,以使所述拉伸轴高精度平稳滑动,所述拉伸轴末端通过压簧与所述轴承座弹性连接。本固定装置避免了传统固定方式对端板密封结构的损耗,增强了发酵滚筒的密封效果,同时有效延长端板密封结构的使用寿命。

标签:
固废
北京 - 北京 来源:北方有色网 2023-03-19
处理村镇有机固废的系统

本实用新型公开了处理村镇有机固废的系统,包括:预处理单元、干燥机和热解机,干燥机包括干燥机内筒体、干燥机外筒体和干燥机内管,伸入到干燥机内筒体内的干燥机内管端部敞开,干燥机内管的另一端部设有第一干燥热风入口,干燥机外筒体套设在干燥机内筒体上,干燥机外筒体上设有第二干燥热风入口和干燥冷风出口;热解机包括热解机内筒体、热解机外筒体和热解机内管,热解机外筒体上设有高温热风入口和热风出口,热解机内管从热解机窑尾伸入到热解机内筒体内且贯穿热解机窑头,靠近热解机窑尾的热解机内管的端部设有热风入口,靠近热解机窑头的热解机内管的端部设有干馏冷风出口,干馏冷风出口与第一干燥热风入口和第二干燥热风入口相连。

标签:
固废
北京 - 北京 来源:北方有色网 2023-03-19
城市固废焚烧过程二噁英排放浓度预测模型构建方法

本发明公开一种基于粒子群算法和虚拟样本生成的城市固废焚烧过程二噁英排放浓度预测模型构建方法;首先,基于改进整体趋势扩散技术对原始小样本输入及输出进行域扩展;然后,采用等间隔插值方式生成虚拟样本输入,再结合映射模型获得虚拟样本输出,并结合扩展空间对虚拟样本进行删减;接着,基于PSO对删减后的虚拟样本进行优化选择;最后,使用优化选择后的虚拟样本与原始小样本组成的混合样本构建得到DXN预测模型。

标签:
固废
北京 - 北京 来源:北方有色网 2023-03-19
大宗固废制砂制粉用高压辊磨机

本发明公开了大宗固废制砂制粉用高压辊磨机,包括:辊磨腔,其内设有两个高压辊;打散筛分腔,其设于辊磨腔的下方并与其连通,打散筛分腔的侧壁下部设有环形开口;导流收集槽,其套设于环形开口的外侧并与其连接;打散筛分组件,其设于打散筛分腔内,包括水平设置的第一打散板,第二打散板和筛分板,第二打散板由第二驱动组件驱动上下滑动,筛分板与环形开口的下边缘转动连接;回料腔,其设于打散筛分腔的一侧,并分别与导流收集槽的底部和辊磨腔的顶部连通,回料腔内设有物料提升组件;其中,第二打散板与筛分板之间沿打散筛分腔的轴向设有相互螺合的螺纹套杆和螺杆。本发明具有能有效降低了机旁扬尘,能耗低,效率高的优点。

标签:
固废
北京 - 北京 来源:北方有色网 2023-03-19
基于类脑模块化神经网络的城市固废焚烧过程氮氧化物软测量方法

本发明涉及一种基于类脑模块化神经网络的城市固废焚烧过程氮氧化物软测量方法,实现了对NOX浓度的实时准确获取,包括以下步骤:首先,获取数据;对获取的数据进行预处理,确定模型的输入变量和输出变量;然后,采用类脑模块化神经网络建立软测量模型;最后,将测试数据作为模型的输入,验证了模型的有效性。本发明有效地实现了NOX浓度的实时精准检测,具有重要的理论意义和应用价值。

标签:
固废
北京 - 北京 来源:北方有色网 2023-03-19
撬装式有机固废热解装置

一种撬装式有机固废热解装置,包括双壳密封炉体(11)、物料输送装置(21)和多个辐射管(4),其中,双壳密封炉体(11)上壁上依次设有进料口(1)、蒸汽出口(2)和热解油气口(3),双壳密封炉体(11)下壁上设有出料口(6),物料输送装置(21)在双壳密封炉体(11)内中间位置,物料输送装置(21)的上部的链板(211)的上方和下方均匀分布多个辐射管(4),其特征在于,在上部的链板(211)上表面靠近进料口(1)处设有布料器(5),在链板(211)下方设有刮渣装置(31)。本发明使物料处于最高效的热解温度场内,加热充分,本发明具有热解品质高、使用物料范围广、粒径要求低、热解效率高,并且操作安全可靠的特点。

标签:
固废
北京 - 北京 来源:北方有色网 2023-03-19
用于有机固废好氧发酵的布料翻抛一体机

本发明公开了一种用于有机固废好氧发酵的布料翻抛一体机,所涉及的布料翻抛一体机由翻抛装置、主行架、布料装置和接料装置组合而成,所述布料装置固定安装于前横梁内部,前横梁一端设有布料装置接料口,另一端安装一台物位计,物料通过接料装置落入布料装置中,布料装置的布料段底部是敞口的,物料首先从布料段前端落入发酵槽,再顺序逐渐落入发酵槽中,将布料段下部发酵槽堆满,完成布料。主行架横跨在发酵槽上,翻抛装置带动高速旋转的翻抛转轮横向和纵向移动,完成对发酵槽内物料的破碎、充氧和移位。本发明的有益效果:结构简单,故障率低,布料平整,占地小,造价低,运行可靠。

标签:
固废
北京 - 北京 来源:北方有色网 2023-03-19
利用城市固废修复砷污染土壤的稳定化药剂及方法

本发明涉及一种利用城市固废修复砷污染土壤的稳定化药剂,按重量份计,包括:生石灰100份,粉煤灰10~50份,红砖粉30~80份。经过吸附、络合、沉淀后,可使土壤重金属污染明显降低,满足相关环保标准。同时,修复剂的制备原料采用建筑垃圾以及工业废物,来源广,成本低,且制备方法简单、操作方便,在此基础上还起到了一定垃圾处理的环保效果。

标签:
固废
北京 - 北京 来源:北方有色网 2023-03-19
固废瓦斯灰、含锌铁钒渣综合回收工艺

本发明提供一种固废瓦斯灰、含锌铁矾渣综合回收的工艺。其利用瓦斯灰含铁低、碳富余的优点,结合铁矾渣含铁高、稀贵金属富集的特点进行优势互补,采用成熟的回转窑火法烟化富集技术对所述物料进行综合回收,配备余热锅炉、负压布袋收尘器、气动乳化脱硫塔等先进设备对烟气高效回收及无害化环保处理,达到清洁生产的目的;并运用联合选矿技术对含铁窑渣进行高附加值开发,不但解决了资源处置的环保难题,也达到了低能耗、高收率、高附加值综合利用的效果。本发明技术能够解决铁矾渣处理过程中窑龄短、能耗高、低浓度SO2危害的问题,也能消除瓦斯灰回收过程中选铁效果差、次ZnO含氟氯过高的难题,具有良好的经济效益和较高的推广、实用价值。

标签:
固废
北京 - 北京 来源:北方有色网 2023-03-19
上一页 199 200 201 202 203 ... 226 下一页
共226页    到第

北方有色为您提供最新的北京北京有色金属固/危废处置技术理论与应用信息,涵盖发明专利、权利要求、说明书、技术领域、背景技术、实用新型内容及具体实施方式等有色技术内容。打造最具专业性的有色金属技术理论与应用平台!

全国热门有色金属设备推荐
展开更多 +
全国热门有色金属技术推荐
展开更多 +

 

江西省隆恩特环保设备有限公司
宣传

报名参会
更多+

报告下载

有色专家
更多+

中国瑞林工程技术有限公司
中国工程院院士
紫金矿业信息化研发中心
副总经理
中国矿业大学(北京)
教授
西安建筑科技大学
教授
云南锡业集团(控股)有限责任公司
副总经理
赤泥综合利用研究报告2025
推广

热门技术
更多+

推荐企业
更多+

福建省金龙稀土股份有限公司
宣传

发布

在线客服

公众号

电话

顶部
咨询电话:
010-88793500-807