青岛垚鑫智能科技有限公司
宣传

位置:中冶有色 >

有色技术频道 >

> 新能源材料技术

分类:
全部
矿山技术
冶金技术
材料制备及加工技术
环境保护技术
分析检测技术
 
全部
功能材料技术
复合材料技术
新能源材料技术
合金材料技术
加工技术
地区:
全部
北京
天津
上海
重庆
河北
山西
辽宁
吉林
黑龙江
江苏
浙江
安徽
福建
江西
山东
河南
湖北
湖南
广东
海南
四川
贵州
云南
陕西
甘肃
青海
内蒙
广西
西藏
宁夏
新疆
其他
其他
展开
 
全部
济南
青岛
淄博
枣庄
东营
烟台
潍坊
济宁
泰安
威海
日照
滨州
德州
聊城
临沂
菏泽

山东济南有色金属新能源材料技术理论与应用

免费发布技术信息>>
新能源电池回收拆解设备

本实用新型涉及一种拆解设备,尤其涉及一种新能源电池回收拆解设备。本实用新型要解决的技术问题是提供一种可对电池进行固定,避免拆解时电池移动的新能源电池回收拆解设备。为了解决上述技术问题,本实用新型提供了这样一种新能源电池回收拆解设备,包括有:基座,其顶部连接有下料板;旋转组件,其连接在基座的顶部一侧;移动组件,其连接在基座顶部的两侧之间;驱动组件,其连接在旋转组件上,旋转组件与驱动组件传动连接。本实用新型通过旋转组件、移动组件和传动组件能够对电池进行拆解,拆解时能够方便对电池进行固定,而且能够方便对拆解后的碎料进行收集。

标签:
新能源
山东 - 济南 来源:中冶有色网 2023-03-18
五位一体新能源销售示范中心用加油监督器

本实用新型属于加油站配套设备领域,尤其涉及一种五位一体新能源销售示范中心用加油监督器。包括底座以及设置在底座上方的调节杆,所述调节杆的上方设置有具有顶板和底板的固定架,所述调节杆贯穿底板伸入到固定架内,所述固定架内设置有进油管,所述进油管一端伸出固定架的顶板、另一端从固定架的一侧伸出,所述进油管上设置有流量表,所述固定架远离进油管的一侧设置有计量桶,所述计量桶的一侧设置有用于插入进油管的计量管。实用新型提供一种五位一体新能源销售示范中心用加油监督器,利用计量桶和流量表的设置,使加油者对油量有着清晰的认识,进而使加油者对五位一体新能源销售示范中心认可,提高企业的形象和地位。

标签:
新能源
山东 - 济南 来源:中冶有色网 2023-03-18
新能源并网的无功优化方法

一种新能源并网的无功优化方法,包括以下步骤:先进行场景生成,然后对场景消减,再建立无功优化模型。本发明采用场景生成思想,用可能出现的场景来近似模拟随机变量,采样可利用较少的采样次数反应随机变量的整体分布,保证采样点分布在所有的采样区域;采样过程中可避免抽取已经出现的样本,在小概率区域也可以保证有采样点。本发明将新能源的不确定性用场景进行模拟,通过场景生成和场景消除得到计算场景,并采用联合优化计算模型获得各场景的无功输出值Qk,在满足物理和运行约束的条件下达到各场景无功费用和网损最小。

标签:
新能源
山东 - 济南 来源:中冶有色网 2023-03-18
新能源废水处理利用装置

本实用新型公开了一种新能源废水处理利用装置,包括废水处理再利用结构和支撑结构。本实用新型的有益效果是:通过将废水处理筒内部分成两个独立密封腔,方便分别控制废水和处理后的污水,通过在废水处理筒下方设立由排管、检测连接管、多重滤片、碱筒和处理药袋共同组成该废水处理再利用结构,对废水进行处理和再运用,并对新能源废水内的酸性粒子进行中和收集,防止废水再利用出现酸度过高的情况,并通过承重架和支脚共同组成支撑结构保证该装置的稳定性,且通过辅助抽水管方便加快该装置的排水速率。

标签:
新能源
山东 - 济南 来源:中冶有色网 2023-03-18
新能源汽车线束用组装台

本实用新型公开了一种新能源汽车线束用组装台,涉及新能源汽车领域,主要为了解决绕接装置的开口问题;该装置包括面板,面板的表面插接安装有底托装置,底托装置的内部插接安装有绕接装置,绕接装置包括插接安装在底托装置表面的安装板,底座的内部固定插接安装有弹簧,弹簧的顶部固定安装有弹珠,安装板的顶部中间位置固定安装有气缸,气缸的中间部位顶部固定安装有主推杆,主推杆的顶部固定安装有滑块,滑块的两侧固定安装有连杆,连杆的两端固定安装有铰链,铰链的顶部铰接安装有撑杆,撑杆的顶部固定安装有第二铰链,第二铰链的表面固定安装有卡环,卡环的底部铰接安装有第三铰链,撑杆接触部位的立柱表面开设有滑槽。

标签:
新能源
山东 - 济南 来源:中冶有色网 2023-03-18
新能源汽车动力电池换电系统

本发明涉及新能源汽车换电技术领域,具体涉及一种新能源汽车动力电池换电系统,包括换电车、电动汽车、换电装置、动力电池单元、转运板单元和辅助支撑滚轮系统,所述动力电池单元外部设有触点锁扣装置,所述触点锁扣装置包括光电控制开关,所述动力电池单元通过触点锁扣装置固定悬挂安装在所述电动汽车底部,所述换电车用于停放在所述电动汽车的前进方向左侧进行换电操作,所述换电装置下沉式安装在所述换电车的下部,所述换电车的后端设有电池库系统。本发明采用的平行板同步运动机构,不但能在机构运转过程中保持水平状态,而且巧妙利用了杠杆原理提高了承重能力,提高运动的平稳性和可靠性。

标签:
新能源
山东 - 济南 来源:中冶有色网 2023-03-18
新能源供热采暖用连接管道

本发明公开了一种新能源供热采暖用连接管道,包括主管体、第一副管体和第二副管体,所述主管体的外侧设置有第一副管体和第二副管体,且第一副管体和第二副管体与主管体之间设置有密封圈,所述密封圈上设置有对接管,且对接管的外侧连接有腔体,所述安装框安装于主管体的内壁表面,且安装框和安装环上均开设有槽轨,所述槽轨的内侧设置有滚珠,且滚珠位于安装框和安装环之间,并且安装框通过滚珠与安装环相互连接。该新能源供热采暖用连接管道,能够在水分通过主管体进行流动时,水分会推动涡旋叶片带动安装环进行同步旋转,而此时的安装环则通过滚珠在安装框的内侧进行旋转运动,方便涡旋叶片通过横轴带动第一传动轮进行同步旋转运动。

标签:
新能源
山东 - 济南 来源:中冶有色网 2023-03-18
利用新能源的公交站
利用新能源的公交站 793     
 0

本发明公开了一种利用新能源的公交站,包括:站牌,其用于指引公交线路;站台,其用于供乘客等候公交车;候车亭,其设置在所述站台上,所述候车亭具有顶棚以为乘客提供遮蔽;光伏发电组件,其包括设置于所述顶棚上并用于发电的太阳能板、与所述太阳能板电连接并用于存储电能的蓄电池、与所述蓄电池电连接的用电系统;其中,所述用电系统至少包括用于照明的照明系统以及用于为乘客供暖和制冷的空调系统。本发明的新能源公交站利用太阳能可以在公交亭乘凉或取暖,并无需使用火力发电的电能,保护了环境,节约了传统的煤、油等能源。

标签:
新能源
山东 - 济南 来源:中冶有色网 2023-03-18
基于新能源汽车的节能型充电桩

本发明公开了一种基于新能源汽车的节能型充电桩,包括充电桩主体和遮雨棚套板,所述充电桩主体的上端设置有遮雨棚套板,且遮雨棚套板上端的中间设置有避雷针,所述避雷针的左侧安置有雨滴传感器,且避雷针的右侧安装有警报器,所述充电桩主体的前端面设置有显示屏,且显示屏的内部设置有PLC控制器,所述PLC控制器的下侧设置有收纳槽,且收纳槽的内部设置有收纳轴承。该基于新能源汽车的节能型充电桩设置有遮雨棚套板,能够对充电桩主体进行遮挡,避免雨水淋湿充电桩主体,导致充电桩主体发生漏电现象,并且折叠棚能够通过电动推杆调整折叠棚的长度,在雨天时能够将打开折叠棚,不需要时可将折叠棚进行收纳折叠进遮雨棚套板的内部。

标签:
新能源
山东 - 济南 来源:中冶有色网 2023-03-18
基于动态策略分析的新能源电能质量控制系统及方法

本发明涉及新能源技术领域,具体涉及基于动态策略分析的新能源电能质量控制系统及方法。用电网络、传感器组和电能控制系统;所述传感器组包括若干个传感器,均匀安置于用电网络中,采集用电网络中的电能参数,将采集到的电能参数发送至电能控制系统;所述电能控制系统根据采集到的电能参数调节用电网络的运行,进行电能质量控制。其使用基于动态策略的实时分析算法,能够及时有效地发现用电网络中的问题,进而控制用电网络的运行,提升电能的质量。具有实时性强、准确率高和效率高的优点。

标签:
新能源
山东 - 济南 来源:中冶有色网 2023-03-18
运用新能源汽车自重发电的悬挂系统

本发明公开了一种运用新能源汽车自重发电的悬挂系统,包括连接主销和滑动导轨,连接主销上的两端均设置有车轮,连接主销的表面且位于车轮的内侧依次套设有第一承重臂和第二承重臂,滑动导轨设置于车体上,滑动导流的一侧滑动连接有负压减震筒,第一承重臂和第二承重臂的一端分别与负压减震筒的两端转动连接,涉及汽车技术领域。该运用新能源汽车自重发电的悬挂系统,通过两个承重臂将汽车行驶过程中悬挂产生的上下浮动的动能,传递至负压减震筒,通过负压减震筒对震动进行吸收缓冲的同时,可以将传动件将动能传递至发电装置,通过发电装置将机械能转化为电能,供汽车使用,极大的利用了汽车浮动所产生的机械能,更加的节能环保。

标签:
新能源
山东 - 济南 来源:中冶有色网 2023-03-18
社区清洁新能源综合利用供暖系统

本发明涉及一种社区清洁新能源综合利用供暖系统,为采暖区供热,包括变压器、地热提取装置、板式换热器、水源热泵、空气源热泵、太阳能系统、生物质气化系统和循环水泵,所述太阳能系统包括太阳能发电系统和太阳能热水器,所述太阳能发电系统电连接到变压器,所述变压器电连接到所述地热提取装置、板式换热器、水源热泵、空气源热泵、太阳能热水器、生物质气化系统和循环水泵,所述生物质气化系统包括生物质气化炉和热水炉。本发明提供一种社区清洁新能源综合利用供暖系统,为新型社区提供一种利用太阳能、地热能、空气能、生物质能和储能技术综合一体的供暖新模式,投资小、安全性能好、运行维护成本低廉、节约能源降低污染物排放。

标签:
新能源
山东 - 济南 来源:中冶有色网 2023-03-18
新能源汽车用自动释压氢能源储气瓶

本实用新型公开了一种新能源汽车用自动释压氢能源储气瓶,属于新能源汽车配件技术领域,包括瓶体和连接管,连接管固定安装在瓶体的一端,且瓶体的内部两侧分别开设有储存腔和释压腔,储存腔与释压腔之间固定安装有连通管,连通管的一端固定安装有释压阀,且释压阀的出气端固定安装有汽笛,且汽笛位于释压腔的内部,通过在储存腔的内部安装圆盘且在圆盘上开设有圆孔,进而避免在车辆行走时,导致氢能源在储存腔内部晃动幅度过大,导致压力增高,通过释压阀,当储存腔内部压力过高时,将氢能排放至释压腔的内部,且通过汽笛报警,便于释压,且通过输送泵,便于在压力降低后,将释压腔内部的氢能重新抽入到储存腔的内部,进行利用。

标签:
新能源
山东 - 济南 来源:中冶有色网 2023-03-18
新能源电动车辅助充电系统

本发明公开的属于新能源电动汽车电气系统技术领域,具体为一种新能源电动车辅助充电系统,包括电动汽车车顶安装有太阳能光伏板,所述电动汽车内部设置有配电系统,所述配电系统连接有光伏转换控制器,所述光伏转换控制器连接太阳能光伏板,所述电动汽车驾驶室内部设置有两个控制开关S1和S2。该发明,提供一种改良光伏充电切换控制的方案,利用太阳能来给动力电池与低压蓄电池供电使用方便,而且在使用过程中环保无污染、无噪音。可帮助电动汽车的使用人员在诸多的使用场景下无需充电站随时随地就可以实现充电来提高电量,提升整车续驶里程,这样既提高了续航里程又节省了用户的电费支出。

标签:
新能源
山东 - 济南 来源:中冶有色网 2023-03-18
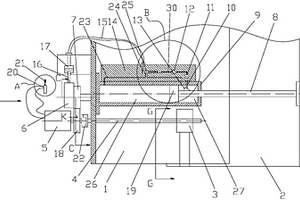
安全防护式新能源模组
安全防护式新能源模组 1191     
 0

本实用新型公开了一种安全防护式新能源模组,包括前端板、后端板、电芯、上钢带和下钢带,所述前端板和后端板之间放置有电芯,所述前端板和后端板的外表面缠绕有上钢带和下钢带,所述电芯的上表面铺设有绝缘膜,靠近所述前端板和后端板的电芯的电极柱连接有输出片,所述前端板与电芯之间设置有橡胶绝缘板,所述后端板与电芯之间设置有橡胶绝缘板。该安全防护式新能源模组,通过铝材和PTC材料复合形成的复合母排,采用中间PTC加两侧铝片的模式,当模组出现短路时,利用PTC材料的热阻断性,可有效的在电芯温度异常升高时把电芯与电芯的连接阻断,温度恢复正常时,又能通过复合母排进行正常的电连接。

标签:
新能源
山东 - 济南 来源:中冶有色网 2023-03-18
新能源塔式起重机
新能源塔式起重机 1157     
 0

本实用新型公开了一种新能源塔式起重机,包括箱体,所述箱体底壁中心位置开设有凹槽,所述凹槽内顶壁中心位置固定连接有连接杆,所述连接杆底壁呈前后对称固定连接有安装架,两个所述安装架相向一侧侧壁之间呈对称转动连接有导向筒,所述凹槽下方两侧对称设置有电机输出轴,所述电机输出轴外侧壁固定套接有卷筒。本实用新型,设置有稳固可靠高效的起重机构,实际进行起重工作时,采用双驱动机构设计,其牵引力良好,且设置有起重机构的加固机构,实际起重机构的耐用性良好,此外设置有良好的新能源储存机构,实际进行室外工作时,可以进行自动能源补充工作,实际环保性能良好,整体实际应用价值高。

标签:
新能源
山东 - 济南 来源:中冶有色网 2023-03-18
新能源汽车中电子真空泵用排气管消音器

本实用新型公开了一种新能源汽车中电子真空泵用排气管消音器,包括支架和排气管消音器,排气管消音器的一端安装有同轴心的消声器连轴,消声器连轴架装在支架上,支架包括底板、弧板、边板、第一横轴和垫块,消声器连轴的另一端安装有调节组件,调节组件包括调节缸、过渡块、夹块和第二横轴;本新能源汽车中电子真空泵用排气管消音器,支架用于给排气管消音器提供支撑,使排气管消音器的尾端能朝向不同的方向,调节组件用于调节消声器连轴的角度,其中整个装置运行时,调节缸根据需求工作,调节缸带动第二横轴,此时夹块被迫转动带动消声器连轴,从而达到调节排气管消音器尾端倾斜角度的作用,整个装置结构稳定,实用性佳。

标签:
新能源
山东 - 济南 来源:中冶有色网 2023-03-18
新能源车辆用缓冲装置
新能源车辆用缓冲装置 1161     
 0

本发明涉及新能源车辆防护技术领域,具体涉及新能源车辆用缓冲装置,包括上支撑钢架、侧支撑竖架、侧壁缓冲机构和电池箱,所述上支撑钢架固定安装在新能源车辆的底部,所述上支撑钢架包括顶部的呈弧形的安装顶壳和底部的水平式的安装底板,所述安装顶壳与安装底板之间通过竖向和斜向的拉杆焊接为一体,所述安装底板的下部固定连接有悬吊释放机构,所述电池箱的顶部设有横向的承载板,所述电池箱内部安装有电池模组。本发明通过悬吊释放机构、冲击释放机构和侧壁缓冲机构分阶段实现了对于电池箱的固定悬吊支撑释放以及释放后避免刚性挤压冲击并进行半脱离式弹性缓冲过程。

标签:
新能源
山东 - 济南 来源:中冶有色网 2023-03-18
自适应电动按摩新能源汽车颈枕装置

本发明提供一种自适应电动按摩新能源汽车颈枕装置。自适应电动按摩新能源汽车颈枕装置包括水套、按摩机构、往复机构和束缚机构,水套的两端侧壁上均固定安装有壳体和单向阀,压杆滑动连接在壳体与水套的侧壁上,胶塞板滑动连接在水套的内侧壁上,且胶塞板还与压杆位于水套内部的一端固定连接,连接筒固定安装在水套的外侧壁上,往复机构安装在壳体的内部,束缚机构安装在水套的侧壁上。本发明提供的自适应电动按摩新能源汽车颈枕装置具有能够对司机的颈部起到撑托作用,也能对司机颈部进行按摩,缓解压力较好的优点。

标签:
新能源
山东 - 济南 来源:中冶有色网 2023-03-18
新能源逆变器及其使用方法

本发明为一种新能源逆变器及其使用方法,该新能源逆变器中摆阔布置成阵列形式的电容,在电容阵列间隙之中设置有水冷管道,水冷管道壁面的外周与电容的外侧紧贴,同时在水冷管道内设置有可被冷却液水流推动转动的涡轮,通过检测涡轮的转速对电容鼓包进行检测,在每个水冷管内还设置有四根金属杆,在水冷管道柔性壁的内侧设置有导电层,当电容发生鼓包达到警戒位置时,水冷管道的柔性壁面的内层会同时接触到相邻的两根金属杆。本发明在保证新能源逆变器电解电容低温工作的同时,还能对电容的膨胀、鼓包进行及时的检测,以保证损坏的电容能够及时得到更换,尽可能的降低光伏太阳能电池系统的宕机时间,提高太阳能能量的转化效率。

标签:
新能源
山东 - 济南 来源:中冶有色网 2023-03-18
应用于新能源方面的秸秆生物质燃烧棒及其制备方法

本发明公开了一种应用于新能源方面的秸秆生物质燃烧棒,包括以下重量份的原料:麦秆40‑60份、稻壳20‑40份、烟草废弃物10‑30份、石蜡2‑8份、煤粉20‑30份、树叶10‑30份、污泥5‑15份、酵母1‑3份、竹屑1‑5份、三氧化二铁4‑10份;本发明还提出了一种应用于新能源方面的秸秆生物质燃烧棒的制备方法,包括以下步骤:S1,将麦秆通过打磨机粉碎为2‑4mm的碎料,并与竹屑混合,放入烘干炉,50‑70℃的条件下烘干3‑6h,得到混合物A;S2,将稻壳与烟草废弃物混合均匀,粉碎至1‑3mm,在60‑80℃的条件下烘干1‑3h,得到混合物B。本发明制备方法简单,制备的燃烧棒燃烧充分,可以有效缓解环境污染问题,发热值大,适合推广。

标签:
新能源
山东 - 济南 来源:中冶有色网 2023-03-18
新能源汽车电动空调系统实训台

本实用新型公开了一种新能源汽车电动空调系统实训台,包括第一装置外壳、系统安装板、第三传动杆、第二电机,所述第一装置外壳底端的四角位置处皆安装有自锁轮,所述第一装置外壳一端的顶端安装有把手,所述第一装置外壳一侧的底端开设有第一通孔,所述第一装置外壳内部两端顶端的两侧皆安装有第一固定块,且第一固定块的内部皆开设有第二通孔,所述第二通孔内部底端皆安装有与第二通孔底端滑动连接的丝杆螺母,且丝杆螺母的顶端皆安装有第三锥形齿轮。该新能源汽车电动空调系统实训台通过锁紧杆将第二固定块带动进行移动将系统安装板与第三固定块的位置进行固定,使得装置在使用的时候可以调小装置的大小,提高装置运输的效率。

标签:
新能源
山东 - 济南 来源:中冶有色网 2023-03-18
新能源太阳能板保护装置

本实用新型涉及新能源设备技术领域,尤其是一种新能源太阳能板保护装置,包括倾斜设置的支撑板,所述支撑板的底面安装有支撑架,所述支撑板的顶面开设有放置凹槽,所述放置凹槽的两侧内部均嵌设有太阳能板,所述放置凹槽的中部开设有安装孔,两个太阳能板分别位于安装孔的两侧,所述安装孔内固定插设有与支撑板垂直的安装管,所述安装管内插设有转轴,所述转轴与安装管之间设置有轴承。本实用新型能够借助风的力量使转轴转动,进而使安装条和清理刷整体转动并对两侧的太阳能板的表面进行清理,避免沙尘、落叶或者其它污染物覆盖在太阳能板的表面,使太阳能保持较好的吸收光能的能力,便于实际的使用。

标签:
新能源
山东 - 济南 来源:中冶有色网 2023-03-18
利用太阳能和风能的新能源监控摄像机

本实用新型公开了一种利用太阳能和风能的新能源监控摄像机,包括监控杆,所述监控杆的顶部设置有监控摄像机,所述监控杆的顶部固定有电池板支架,且电池板支架远离监控杆的一端固定有太阳能电池板,所述监控杆的顶部固定有发电机支架,且发电机支架远离监控杆的一端固定有风力发电机,所述太阳能电池板和风力发电机分别通过相应的控制模块连接有蓄电池。本实用新型在监控杆的顶部设置有太阳能电池板和风力发电机,在光线较好时,利用太阳能电池板将太阳能转换为电能储存在蓄电池,在晚上或光线不佳时,可利用附带的风力发电机将风能转换成电能储存于蓄电池,太阳能发电与风力发电可同时工作,从而有效保证新能源供电长时间的使用。

标签:
新能源
山东 - 济南 来源:中冶有色网 2023-03-18
应用在新能源特种车辆上的太阳能发电设备

本实用新型属于新能源特种车辆技术领域,尤其为一种应用在新能源特种车辆上的太阳能发电设备,包括保护箱、太阳能板、两个升降机构、两个限位机构、太阳能板出口和两个保护板,所述太阳能板、两个所述升降机构和两个所述限位机构均设于所述保护箱内,所述出口设于所述保护箱的顶部内壁上,两个所述保护板均设于所述保护箱的上方。本实用新型能够在冰雹天气将太阳能板收到保护箱内并通过保护板进行保护,避免了太阳能板被冰雹砸坏,避免了一些不必要的损失。

标签:
新能源
山东 - 济南 来源:中冶有色网 2023-03-18
车辆的等电位管理系统及新能源矿车

本实用新型公开了一种车辆的等电位管理系统及新能源矿车,涉及新能源矿车技术领域。车辆包括车体和电气系统,电气系统固定于车体上,电气系统包括多个控制器,等电位管理系统包括绝缘底座、搭铁线集中处理单元和负极集中处理单元,每个控制器均通过绝缘底座与车体连接;搭铁线集中处理单元能与车体导电连接或断开连接;每个控制器的搭铁点均与搭铁线集中处理单元连接;负极集中处理单元能与车体导电连接或断开连接;每个控制器的负极端均与负极集中处理单元连接。当需要增加附加电气系统时,只需要将搭铁线集中处理单元和负极集中处理单元与车体断开连接即可,能够避免附加电气系统对车辆本身的电气系统的影响。

标签:
新能源
山东 - 济南 来源:中冶有色网 2023-03-18
新能源汽车EPS转向助力系统实训台

本实用新型公开了一种新能源汽车EPS转向助力系统实训台,包括底座、安装框、丝杆、电机和滚珠,所述底座内部的两端安装有安装框,且安装框的内部开设有第二凹槽,所述底座两端侧壁的上端皆安装有固定板,且固定板的顶端安装有电机,所述底座的顶端安装有支撑台,且支撑台内部的两端皆开设有第一凹槽,所述底座内部的底端皆开设有通孔,所述底座内部底端的中间位置处开设有安装仓。该新能源汽车EPS转向助力系统实训台通过丝杆与套筒螺纹连接,使丝杆在旋转的同时在套筒内部进行往复升降移动,便于使丝杆带动支撑台进行升降,便于老师可以根据汽修工人的身高情况来调节实训台的高度,使教学效果更好。

标签:
新能源
山东 - 济南 来源:中冶有色网 2023-03-18
新能源汽车充电桩识别装置

本实用新型属于新能源汽车技术领域,尤其为一种新能源汽车充电桩识别装置,包括充电桩主体和人脸识别装置,所述人脸识别装置的侧面安装有显示屏,所述人脸识别装置的顶部固定安装有摄像头,所述充电桩主体的侧面设置有充电枪,所述充电桩主体的侧面设置有高度调节组件,丝杆的转动在丝孔的作用下从而使矩形滑块在方形滑槽的内部竖直移动,矩形滑块的移动从而带动人脸识别装置的移动,有利于根据使用者的身高不同调整人脸识别装置的高度进行人脸识别,提高人脸识别装置的使用范围,有利于保证人脸识别装置竖直移动过程中的稳定性,同时减少人脸识别装置竖直移动过程中与方形滑槽的内壁产生的摩擦力。

标签:
新能源
山东 - 济南 来源:中冶有色网 2023-03-18
新能源汽车的防撞液压系统

本实用新型涉及新能源汽车技术领域,具体涉及一种新能源汽车的防撞液压系统,包括脚踏板,所述脚踏板连接有第一油池与第二油池,所述第一油池上设有制动泵,所述制动泵连接有制动缸,所述制动缸内设有制动片,所述第二油池连接有加压缸,所述加压缸连接有伺服阀,所述伺服阀连接有放大器与辅助泵,所述辅助泵连接有溢流阀,所述放大器连接有中央处理器,所述中央处理器连接有速度传感器,所述制动泵与放大器相连接,本实用新型采用的自动防撞装置能从根本上解决汽车相撞事故的发生,研究和开发汽车防撞系统主动安全驾驶自动防撞装置,减少司机的负担和判断错误,对解决交通安全,提高运输能力,降低恶性交通事故发生率有着积极的作用。

标签:
新能源
山东 - 济南 来源:中冶有色网 2023-03-18
新能源汽车换电收费方法

本发明涉及新能源汽车领域,尤其是一种新能源汽车换电收费方法。步骤包括:(1)检测电池当前使用电池比值,通过总电池比值减去当前使用电池比值得到用户使用电池比值,以用户使用电池比值乘以电量单价得到电费,电费=(总电池比值‑使用电池比值)*电量单价;(2)检测电池在该次使用中用户是否进行过充电,如果未进行过充电,则换电费用为电费加固定服务费;与现有技术相比,本发明的有益效果是:计费合理,同时也鼓励了用户在电池低电量时及时进行换电,避免自行充电对电池造成损耗,浪费电池资源。

标签:
新能源
山东 - 济南 来源:中冶有色网 2023-03-18
上一页 18 19 20 21 22 ... 25 下一页
共25页    到第

中冶有色为您提供最新的山东济南有色金属新能源材料技术理论与应用信息,涵盖发明专利、权利要求、说明书、技术领域、背景技术、实用新型内容及具体实施方式等有色技术内容。打造最具专业性的有色金属技术理论与应用平台!

全国热门有色金属设备推荐
展开更多 +
全国热门有色金属技术推荐
展开更多 +

 

江西省隆恩特环保设备有限公司
宣传

报名参会
更多+

报告下载

有色专家
更多+

南方科技大学
外籍院士
广西大学
处长/教授
石家庄铁道大学
团委书记/副教授
中南大学
院长/教授
中南大学
教授、博士生导师
赤泥综合利用研究报告2025
推广

热门技术
更多+

推荐企业
更多+

福建省金龙稀土股份有限公司
宣传

发布

在线客服

公众号

电话

顶部
咨询电话:
010-88793500-807