青岛垚鑫智能科技有限公司
宣传

位置:北方有色 >

有色技术频道 >

> 固/危废处置技术

分类:
全部
矿山技术
冶金技术
材料制备及加工技术
环境保护技术
分析检测技术
 
全部
废水处理技术
大气治理技术
固/危废处置技术
土壤修复技术
地区:
全部
北京
天津
上海
重庆
河北
山西
辽宁
吉林
黑龙江
江苏
浙江
安徽
福建
江西
山东
河南
湖北
湖南
广东
海南
四川
贵州
云南
陕西
甘肃
青海
内蒙
广西
西藏
宁夏
新疆
其他
其他
展开
 
全部
合肥
芜湖
蚌埠
淮南
马鞍山
淮北
铜陵
安庆
黄山
阜阳
宿州
滁州
六安
宣城
池州
亳州

安徽马鞍山有色金属固/危废处置技术理论与应用

免费发布技术信息>>
用湿法炼锌产生的固体废物制备实心砖的方法

本发明公开了一种用湿法炼锌产生的固体废物制备实心砖的方法,采用的原料组分及各组分的质量百分含量为:骨料15.5~18.5%,粉煤灰4.7~6.5%,高炉渣4.7~6.5%,水泥12.4~16.0%,碱激发剂12.4~16.0%,湿法炼锌铁矾渣+湿法炼锌污水处理污泥40.0~50.0%,湿法炼锌铁矾渣与湿法炼锌污水处理污泥的质量配比为:4:1~5:1。本发明“以废治废”,整体、大宗量处理和利用湿法炼锌铁矾渣和污水处理污泥,可实现湿法炼锌铁矾渣和污水处理污泥零排放,同时达到湿法炼锌铁矾渣和污水处理污泥减量化、无害化、资源化的目的。

标签:
固废
安徽 - 马鞍山 来源:北方有色网 2023-03-19
基于固体废弃物煤渣的水体钼酸盐吸附剂的制备方法

本发明公开了一种基于固体废弃物煤渣的水体钼酸盐吸附剂的制备方法,属于水体污染物吸附材料领域。该制备方法具体包括以下步骤:(1)将煤渣进行磨碎、漂洗,并自然干燥;(2)粒径筛选后将得到的固体进行改性,分别进行硫酸、氯化镧,及十六烷基三甲基溴化铵改性;(3)用去离子水洗净、烘干即得到La‑CTMAB改性煤渣吸附材料。钼酸盐浓度为5mg/L的地表污水经本发明吸附材料处理后,水体钼酸盐含量达到地下水质量标准(GB/T 14848‑9)IV类(≤0.5mg/L)。本发明具有成本低,吸附效率高,应用广泛等特点,不仅实现了废弃物的资源化利用,同时也带来了良好的社会效益和经济效益。

标签:
固废
安徽 - 马鞍山 来源:北方有色网 2023-03-19
全部以固体废物为原料制备的超轻陶粒

本发明公开了一种全部以固体废物为原料制备的超轻陶粒,采用的原料组分及总份数按100份计的各组分质量分数、含水率、粒度要求为:粘土性含铁尾矿?40~45份,含水率< 5%,粒度为0.08mm方孔筛筛余量≤5%;煤矸石42~49份,含水率< 5%,粒度为0.08mm方孔筛筛余量≤5%;城镇污水处理厂脱水污泥?10~13份,含水率< 5%,粒度为0.08mm方孔筛筛余量≤5%。其制备过程中,预热温度500~600℃、焙烧温度1250~1350℃、升温速率10~15℃/min,制备出的超轻陶粒堆积密度为390kg/m3、筒压强度为1.2MPa、吸水率为3.8%,达到GB/T?17431.1-2010要求,为尾矿、煤矸石和脱水污泥的大宗利用开辟一条新的途径,具有显著的经济效益、环境效益和社会效益。

标签:
固废
安徽 - 马鞍山 来源:北方有色网 2023-03-19
工业固体废物打包封装装置

本实用新型公开了一种工业固体废物打包封装装置,包括底座以及设在底座顶部中间位置的支撑板,所述底座顶部一侧设置有第一电机,所述第一电机输出轴贯穿底座底部连接有第一齿轮,且所述底座底部中间位置设置有丝杆轴,所述丝杆轴顶部通过轴承与所述底座底部相连接,所述丝杆轴一侧设置有第二电机。本实用新型通过设置打开第一电机,使得丝杆轴外壁的丝杆螺母能够带动包装辊轴进行自动高度调节,进而加快了装置对于固体废物的打包封装效率,从而使得装置的使用效果更好,且通过设置托盘、固定轴、固定螺孔、固定盘以及固定螺杆方便了使用者对于包装辊轴的安装使用以及更换工作,进而提高了装置使用的便捷性。

标签:
固废
安徽 - 马鞍山 来源:北方有色网 2023-03-19
便于调节的固体废弃物回收用干燥机

本实用新型属于垃圾处理技术领域,尤其为一种便于调节的固体废弃物回收用干燥机,包括筒体,所述筒体的内部安装有隔音复合层,隔音复合层的一侧开设有输气腔,所述输气腔的表面开设有出气孔,所述筒体内壁的表面连接有输送桨,所述筒体底部的表面安装有减震机构。该固体废弃物回收用干燥机,通过入料口使固体垃圾放入筒体内,在伺服电机带动输送桨进行旋转时,会带动固体垃圾进行移动,从而使固体垃圾与筒体和输送桨进行碰撞,从而产生持续的噪音,该装置通过设置的隔音棉对筒体的噪音进行隔绝,在通过隔音板和隔音钢板的作用下,使筒体内部的噪音难易穿透隔音复合层,从而对装置进行降噪和减噪,使工作人员在工作时没有噪音的污染。

标签:
固废
安徽 - 马鞍山 来源:北方有色网 2023-03-19
工业固体废料处理用配料机料斗结构

本实用新型公开了一种工业固体废料处理用配料机料斗结构,包括料斗主体、支架、出料组件和震动过滤组件,所述料斗主体的一侧外壁上焊接固定有支架,所述支架的一侧内部固定有出料组件,所述料斗主体的顶端内壁上固定有震动过滤组件;所述出料组件包括导向口、双向螺杆、第一电机、齿轮、齿带、移动板、挡板和螺纹孔,所述支架之间的外壁上对称转动连接有双向螺杆;该实用新型采用了出料装置,可以在出料时,自动控制废料的出料速度,避免废料进入配料机内部保持在一定量,这样可以确保废料的处理效果;还采用了震动过滤装置,在进料时,可以经过震动过滤处理,使过大的废料留下,避免进入配料机内部不易处理,提高处理效果。

标签:
固废
安徽 - 马鞍山 来源:北方有色网 2023-03-19
固体废弃物填埋处理用固化装置

本实用新型公开了一种固体废弃物填埋处理用固化装置,涉及到废弃物处理领域,包括底箱,所述底箱内部开设有混合腔,所述混合腔顶部两侧分别安装有水泥塔以及废弃物储存塔,所述混合腔内部安装有混合机构,所述混合腔底部设有卸料机构,所述混合腔底部设有落料通道,所述落料通道内部安装有第一电动阀,所述混合机构包括混合驱动电机。本实用新型通过多个分隔板,能够将混合物分成多个小块,方便进行移动和填埋,再通过卸料驱动电机的输出轴转动带动卸料螺杆转动,卸料螺杆转动带动移动底座移动,将养护箱移至一侧,然后将养护箱从移动底座上拉出,再将围板从养护箱上取下,方便将硬化后的混合物取出,提高使用便捷性。

标签:
固废
安徽 - 马鞍山 来源:北方有色网 2023-03-19
厂区内固体有机废弃物粉碎再利用装置及方法

本发明公开了一种厂区内固体有机废弃物粉碎再利用装置及方法,包括粉碎装置、上料装置和回收利用装置,所述粉碎装置固定安装在上料装置的进料端,回收利用装置固定安装在粉碎装置的出料端;所述粉碎装置包括粉碎箱,粉碎箱的内部设置有第一粉碎器、第二粉碎器、下料板和出料装置。本发明提出的厂区内固体有机废弃物粉碎再利用装置及方法,在粉碎前固体有机物进行分类,大块状的固态有机物粉碎颗粒状的固态有机物收集在对应的存储箱内,做到了分类存放,便于固体有机物的回收再利用,提高了利用率,避免出现因不同种类有机物混杂而降低利用率的现象发生。

标签:
固废
安徽 - 马鞍山 来源:北方有色网 2023-03-19
基于固体废弃物钢渣的水体钼酸盐吸附剂的制备方法

本发明公开了一种基于固体废弃物钢渣的水体钼酸盐吸附剂的制备方法,属于水体污染物吸附材料领域。该制备方法具体包括以下步骤:(1)将钢渣进行磨碎、漂洗,并自然干燥;(2)粒径筛选后将得到的固体进行改性,分别进行硫酸、氯化镧,及十六烷基三甲基溴化铵改性;(3)用去离子水洗净、烘干即得到La‑CTMAB改性钢渣吸附材料。钼酸盐浓度为5mg/L的地表污水经本发明吸附材料处理后,水体钼酸盐含量达到地下水质量标准(GB/T 14848‑9)IV类(≤0.5mg/L)。本发明具有成本低,吸附效率高,应用广泛等特点,不仅实现了废弃物的资源化利用,同时也带来了良好的社会效益和经济效益。

标签:
固废
安徽 - 马鞍山 来源:北方有色网 2023-03-19
便于移动的固体废弃物过滤机

本实用新型公开了一种便于移动的固体废弃物过滤机,涉及过滤机技术领域。本实用新型包括基板,基板的上侧设置有过滤机本体、输送机、两限位组件、电机,限位组件包括:两支撑柱,两支撑柱之间设置有第一限位块、第二限位块、第一固定杆,其中一个第一固定杆的周侧转动配合有过滤板;第一限位块的内部转动配合有第一转动杆,基板的上侧转动配合有第二转动杆。本实用新型通过设置的转动组件,当启动电机时,电机的输出端带动转动组件转动,从而可以快速方便的对过滤机本体内的固体废弃物及时清理,减少了过滤板上的通孔堵塞的情况发生,进而提高了过滤机本体的使用寿命。

标签:
固废
安徽 - 马鞍山 来源:北方有色网 2023-03-19
固体废物再生利用的清理装置

本实用新型公开了一种固体废物再生利用的清理装置,涉及到固体废物处理领域,包括支撑吸盘,所述支撑吸盘顶部通过轴承转动连接有底座,所述底座顶部设有支撑盘,所述支撑盘与底座之间设有多个导向立柱和往复丝杆,多个所述导向立柱一端与支撑盘固定连接,多个所述导向立柱另一端与底座固定连接,所述往复丝杆顶端固定连接有驱动电机。本实用新型通过支撑吸盘吸附住装置内壁的底面,然后转动转动盘清洁朝向进行调整,并且拉动活动杆,调整活动杆与固定清洁杆的总长,以得到不同宽度的清洁范围,然后驱动电机带动移动盘在导向立柱上往复运动,从而带动清洁块和活动弹性清洁块对装置内壁进行有效清洁,有效降低劳动强度以及提高清洁效率。

标签:
固废
安徽 - 马鞍山 来源:北方有色网 2023-03-19
固体废物用的筛选装置
固体废物用的筛选装置 1181     
 0

本实用新型公开了一种固体废物用的筛选装置,包括横梁架、机壳、挡料板、投料台、除烟组件、分料仓、筛分组件、分选组件、支撑架和承重底板,所述横梁架的顶部端面通过螺栓固定安装有机壳,所述机壳的内部开设有分料仓,所述分料仓的一侧安装有挡料板,且挡料板与机壳的内壁之间安装有除烟组件,所述分料仓的另一侧设置有筛分组件,所述机壳的顶部端面一侧通过螺栓固定安装有投料台所述横梁架的底部端面安装有分选组件;该固体废物用的筛选装置,投料方便,操作简单;在使用时,能够具有良好的筛选效果,而且,能够有效将物料进行分选,便于收集处理;同时,能够有效降低使用过程中产生的烟尘,降低了粉尘污染。

标签:
固废
安徽 - 马鞍山 来源:北方有色网 2023-03-19
提高回收固体废弃物工作效率的螺杆压缩机

本实用新型属于固体废弃物技术领域,尤其为一种提高回收固体废弃物工作效率的螺杆压缩机,包括工作板,所述工作板的底部设置有支撑腿,所述工作板的顶部设置有第一支撑座,所述第一支撑座的顶部设置有粉碎仓,所述粉碎仓的顶部设置有进料口,所述粉碎仓的侧面设置有防护罩,所述防护罩的侧面设置有第一电机,所述第一电机的输出端连接有第一主动齿轮。通过固体废旧物在进行压缩之前进行粉碎进而提升装置的压缩效果,提高了装置的压缩效率,通过第一主动齿轮带动第一从动齿轮进行转动,提高了装置的传动效果,通过转动轴带动粉碎轮进行转动对粉碎仓内部的固体废旧物进行粉碎,提高了装置的粉碎效果。

标签:
固废
安徽 - 马鞍山 来源:北方有色网 2023-03-19
建筑固体废物处理设备
建筑固体废物处理设备 1211     
 0

本实用新型涉及固体废物处理领域,尤其涉及一种建筑固体废物处理设备。其技术方案:一种建筑固体废物处理设备,包括机架,机架上固定有锤击机构,锤击机构上设置有锤击进料口和锤击出料口;锤击出料口连接有研磨机构,研磨机构包括内筒和外筒,内筒和外筒通过轴承连接,内筒上设置有输送螺旋,外筒安装于机架上,机架上还安装有转动电机,转动电机的输出轴与内筒的一端通过皮带传动连接;转动电机的输出轴固定有排料机构,排料机构与内筒和外筒之间的空腔之间连通有输料管,排料机构内安装有排料螺旋,排料机构上设置有排料口,排料机构安装于机架上。本实用新型可对建筑废物进行分级碎解、研磨混料以保证经处理的建筑废物粒度均匀。

标签:
固废
安徽 - 马鞍山 来源:北方有色网 2023-03-19
利用固体废弃物制备保温砂浆

本发明公开了一种利用固体废弃物制备保温砂浆,其是由下述重量份的原料制得:粉煤灰5-7、硅酸盐水泥55-65、废弃聚苯乙烯泡沫7-9、聚丙稀纤维1-2、水玻璃2-4、明矾0.8-1.2、石英粉4-6、紫外线吸收剂1-2、硫酸铝1-2、聚乙烯醇1-2、AEA高效膨胀剂0.3-0.5、石膏粉5-8、FDN高效减水剂0.3-0.5、聚苯颗粒3-5、填充料15-17。

标签:
固废
安徽 - 马鞍山 来源:北方有色网 2023-03-19
在铸造砂处理固体废弃物中提取煤粉的方法

本发明公开了一种在铸造砂处理固体废弃物中提取煤粉的方法,首先将铸造砂固体废物加入至粉碎装备中粉碎成小颗粒,再将其加入至搅拌设备中与酸性溶剂混合后静置,将静置后的混合物中的固体部分提取出来,加入至筛选箱中的筛选套管中,通过振动泵驱动筛选套管振动,同时由补水组件向筛选套管中添加去离子水,使含有的煤粉与去离子水混合,并向下运动至蒸发提取组件中,通过加热电阻加热,将混合物中的水分蒸发,并将蒸汽从蒸汽排放口处排出,而煤粉则残留于内筛网表面,工作人员可将内筛网取下并回收烘干煤粉后储存,有效实现了铸造砂固体废物中的煤粉分离与提取,且提取的煤粉内金属杂质的含量较低。

标签:
固废
安徽 - 马鞍山 来源:北方有色网 2023-03-19
利用固体废弃物制备保温装饰一体化墙体材料的方法

本发明公开了一种利用固体废弃物制备保温装饰一体化墙体材料的方法,以钨尾矿和空心玻璃微珠副产品为原材料采用球磨机湿磨至颗粒粒径<75μm制得料浆:将45%~83%的料浆与起泡剂、固化剂、促凝剂高速搅拌发泡,然后装入模具中固化,制备保温层坯体;然后将余下料浆与固化剂、促凝剂、发泡剂混合均匀,铺入装有固化保温层坯体模具的上层,经固化、干燥制得素坯,最后经高温玻化烧结一次成型。本发明制备的保温装饰一体化墙体材料之装饰层和保温层一体固化、干燥、烧结成型,工艺简单,具有优良的保温、隔热、防火、力学性能,且不产生二次污染;全部采用固体废弃物为原材料,实现废弃物无害化利用的同时,显著降低了材料的制作成本。

标签:
固废
安徽 - 马鞍山 来源:北方有色网 2023-03-19
固体废弃物的回收再利用装置及方法

本发明公开了一种固体废弃物的回收再利用装置,涉及废物回收利用装置相关技术领域,包括支撑架,支撑架的上方固定有压型筒,支撑架的底部固定有收集板,压型筒的上端固定有搅拌筒,搅拌筒的上端固定有支撑筒,支撑筒的上端固定有粉碎筒,粉碎筒的上端固定有进料口,进料口的上端转动有盖板,支撑筒的外侧壁固定有电机,电机的上方传动设有粉碎装置,电机的下方传动设有回收装置。通过将废料到粉碎筒内进行粉碎,然后将粉碎后的废料与水之间粘合,紧接着将其放到搅拌筒充分搅拌粘合,并将其传递到压型筒压制成型,实现规则的大小的废物原料,最后将其用于燃料使用,从而实现废弃物的回收利用,同时也起到节约资源的效果,实现变废为宝的功能。

标签:
固废
安徽 - 马鞍山 来源:北方有色网 2023-03-19
钢铁尘泥转底炉法固体危废物料造球方法

本发明公开了一种钢铁尘泥转底炉法固体危废物料造球方法,涉及冶金技术领域。该钢铁尘泥转底炉法固体危废物料造球方法,其特征在于:包括如下步骤:在皮带头轮与造球盘之间增设平料器,布料器安装必须满足不改变物料原落料点位置这一基本原则。该钢铁尘泥转底炉法固体危废物料造球方法,通过增设平料器,实现均匀布料,稳定造球,同时采用六级扇形层级给水,梯度改变给水量,提高生球的各项质量指标,特别是生球粒级得到较好控制,6.3~16mm比例达到95%以上,生球流量波动也减小到±2t以内,为稳定转底炉焙烧气氛、提升脱锌率提供了保证。

标签:
固废
安徽 - 马鞍山 来源:北方有色网 2023-03-19
环保型固体废弃物熔炼炉

本实用新型公开了一种环保型固体废弃物熔炼炉,涉及熔炼炉技术领域。本实用新型包括保温壳体,保温壳体上侧开设有燃烧腔,燃烧腔内放置有燃烧内胆,保温壳体内部开设有位于燃烧腔周侧的保温腔,保温壳体的一侧装设有过滤箱,过滤箱内部开设有过滤腔,过滤腔内壁上侧装设有环形喷头,过滤箱内壁一侧镶嵌有与环形喷头相连通的抽水管,且抽水管进水口的一端从过滤腔一侧的下部伸出。本实用新型通过设置的过滤箱,能将燃烧腔熔炼固体废弃物产生的废气进行收集,并通过抽水管抽取过滤腔内的过滤液从环形喷头处喷出,对废气进行过滤,从而达到废气净化的效果,实现了在对固体废弃物进行熔炼过程中的环保效果。

标签:
固废
安徽 - 马鞍山 来源:北方有色网 2023-03-19
使用工业固体废弃物的水工模袋混凝土

本发明公开了一种使用工业固体废弃物的水工模袋混凝土,它是由粗集料、细集料、胶结料、增强纤维、水五部分经搅拌混合、注入模袋等工序制备而成,各组分的重量配比及含量范围为:粗集料∶细集料∶胶结料=3~4∶0.5~2∶1,水∶胶结料=0.35~0.85,增强纤维为外加,加入量为胶结料总量的0.1~5%;所述的粗集料为钢渣或尾矿;所述的细集料为尾矿砂或粉煤灰粗渣或河砂组成;所述的胶结料是由钢渣、粉煤灰、硅酸盐水泥熟料、矿渣、工业废石膏外加所述组分总量0.1~3%的碱性激发剂经混合磨细而成,或经胶结料的各组分原料分别磨细后再混合而成。本发明具有较强的可施工性能、机械强度、水下稳定性以及成本低廉的优点,可广泛用于江、河、湖、海的护岸固堤材料的加工、施工等领域。

标签:
固废
安徽 - 马鞍山 来源:北方有色网 2023-03-19
工业固体废物回收挤压装置

本实用新型公开了一种工业固体废物回收挤压装置,包括机架、电动导轨、调节组件、横梁架、挤压组件、承重顶板、送料组件、投料台、热烘组件和下料罩,所述机架的顶部端面中央安装有横梁架,所述横梁架的顶部端面通过螺栓固定安装有承重顶板,所述承重顶板的顶部端面安装有送料组件,且送料组件的顶部一端设置有投料台,所述横梁架的内部一侧设置有调节组件,且调节组件的一端连接安装有电动导轨;该工业固体废物回收挤压装置,结构牢固,支撑稳定性好;在使用时,能够对固体废料进行软化处理后,再进行挤压操作,挤压宽度便于调节,能够大大提高挤压效率,也能够降低挤压过程中对设备造成的损伤,延长设备使用寿命。

标签:
固废
安徽 - 马鞍山 来源:北方有色网 2023-03-19
工业固体废物简易贮存场所污染阻隔系统

本发明公开一种工业固体废物简易贮存场所污染阻隔系统。包括场地隔水层以及设置在场地隔水层周侧的垂直防渗层,所述的场地隔水层以及垂直防渗层组成一堆体容置空间;在容置空间内设置有气体注射系统和气体抽提系统;在场地隔水层上设置有渗沥液收集系统;在堆体顶部设置有渗沥液回灌装置。本发明通过优化调整传统污染阻隔系统的结构,加速工业固体废物尤其是强碱性废渣类工业固体废物的稳定化,兼顾场地污染风险控制和污染治理修复,减少场地内渗沥液的产生量,缩短场地后期运行维护周期,降低污染阻隔系统运行和监测费用,提高经济性。同时,本发明所采用的稳定化方式简单易行,安全经济,亦不存在二次环境污染风险。

标签:
固废
安徽 - 马鞍山 来源:北方有色网 2023-03-19
降解有机固体废弃物的专用设备

本发明公开了一种降解有机固体废弃物的专用设备,包括降解设备本体,所述降解设备本体包含固定箱本体、降解罐、过滤箱、滤器、支撑板和粉碎机构,所述固定箱本体的一侧安装有支撑板和粉碎机构,所述支撑板位于粉碎机构的下方;本发明中通过设置的滤器对降解过程中产生的废气进行处理,降低了环境污染,营造有利于微生物繁殖的环境,将有机固体废弃物粉碎成固体颗粒增大了接触面积,提高了降解速率;通过设置的驱动电机一、轴杆、第一叶片结构和第二叶片结构配合使用,将降解罐的内部空间进行隔离分区,解决了无法对多种有机固体废物进行分离降解的问题,解决了因各种有机固体废物降解时间不同而导致的无法降解完全的问题。

标签:
固废
安徽 - 马鞍山 来源:北方有色网 2023-03-19
固体废物用的快速焚烧装置

本实用新型公开了一种固体废物用的快速焚烧装置,包括承重底架、送料台、安装架、输料组件、点火器、破碎组件、竖梁架、焚烧炉体、助燃组件、鼓料组件和排气管,所述承重底架的顶部端面一侧通过焊接固定安装有送料台,所述送料台的顶部端面一侧通过螺栓固定安装有安装架,所述安装架的内侧设置有点火器,且点火器通过螺钉固定安装在送料台的顶部端面,所述送料台的顶部上方设置有输料组件,所述安装架的顶部上方设置有破碎组件;该固体废物用的快速焚烧装置,结构稳定,整体支撑牢固性好;在使用时,能够有效避免固体废料堵塞输料管的情况,同时,能够根据燃烧效果调节燃烧速率,使得固体废料的燃烧质量大大提高。

标签:
固废
安徽 - 马鞍山 来源:北方有色网 2023-03-19
用于固体废弃物回收的便于安装的干燥机

本实用新型公开了一种用于固体废弃物回收的便于安装的干燥机,涉及废弃物回收技术领域。本实用新型包括箱体,箱体内部依次开设有第一槽体、第二槽体、第三槽体,第一槽体内依次放置有鼓风组件、两个加热板,第二槽体内转动配合有调节组件,第三槽体内放置有限位组件,调节组件周侧缠绕有绳索,绳索周侧套设有固定组件。本实用新型通过在第一槽体内放置鼓风组件增加热空气的的流动性,降低距离干燥机较近的废弃物因局部温度过高燃烧的概率,通过绳索将干燥机吊至悬空,降低人或动物接触到干燥机造成的烫伤,通过固定组件降低干燥机掉落的概率,通过加热板提高周围环境温度,蒸发固体废弃物的含水量。

标签:
固废
安徽 - 马鞍山 来源:北方有色网 2023-03-19
在铸造砂处理固体废弃物中分选原砂的方法

本发明公开了一种在铸造砂处理固体废弃物中分选原砂的方法,属于砂型铸造技术领域,包括如下步骤:S1:分选仓通过阻挡机构固定在快速分选机构上,且将固体废弃物放置在分选仓内;S2:分选仓通过快速分选机构在分选箱内往复移动,使分选仓内的固体废弃物快速分选;S3:固体废弃物内的大颗粒杂质残留在分选仓内,固体废弃物内的原砂通过分选仓而落至收集仓内。本发明的在铸造砂处理固体废弃物中分选原砂的方法,通过旋转的搅拌轴和搅拌叶片可对固体废弃物进行搅拌,使分选原砂效果好,不需要操作人员手动分选原砂,可减轻操作人员的工作负担,且使分选原砂效率高,原砂分选后,便于将分选仓内的固体废弃物取下。

标签:
固废
安徽 - 马鞍山 来源:北方有色网 2023-03-19
冰冻固体废弃物破碎处理装置

本发明公开了一种冰冻固体废弃物破碎处理装置,涉及废弃物处理设备技术领域;而本发明包括箱体,箱体的内部设置有收集箱,箱体的顶面贯穿设置有进料口,收集箱的内部设置有破碎组件,收集箱的上方设置有承托组件,箱体包括凸腔和腔板,凸腔的内部设置有驱动组件;本发明,设置的驱动组件可以使得破碎辊进行转动以对冰冻固体废弃物进行破碎,且设置的驱动组件可以使得合拢状态下的直角腔向下运动,从而来对冰冻固体废弃物进行推压,以辅助破碎辊对冰冻固体废弃物进行破碎,避免冰冻固体废弃物出现向上颠动,影响破碎效率,设置的直角腔可以对冰冻固体废弃物进行盛装,避免了量过小而发生空转,避免了量过多而发生堵塞状况。

标签:
固废
安徽 - 马鞍山 来源:北方有色网 2023-03-19
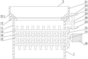
固体废物处理用分段投料粉碎装置

本实用新型公开了一种固体废物处理用分段投料粉碎装置,包括粉碎机组和投料组件,投料组件与粉碎机组接触连接,所粉碎机组包括外壳、主动轴、从动轴、主动齿轮、第一从动齿轮、电机和顶板,投料组件包括堆料仓、滚珠、第二从动齿轮、驱动齿轮、竖轴和维稳架;其中在电机的带动下,从动轴和主动齿轮均会转动,转动的粉碎块从而对固体废物进行粉碎,同时第二从动齿轮间接带动第二从动齿轮转动,第二从动齿轮间接带动驱动齿轮与堆料仓,堆料仓就会平稳转动,这样堆料仓内堆积的固体废料就会有时间间隔的情况下落入外壳中,这样粉碎机组就能高效的对废物进行粉碎,避免挤压的废物相互搭接从而影响整体粉碎效率。

标签:
固废
安徽 - 马鞍山 来源:北方有色网 2023-03-19
建筑固体废弃物分拣破碎装置

本发明公开了一种建筑固体废弃物破碎装置,涉及建筑废弃物处理技术领域。本建筑固体废弃物破碎装置通过在第一传送皮带内设置电磁场发生装置,将第二传送皮带上的磁性废弃物分离至铁类物料收集平台,又通过在第二传送皮带下方依次设置挤压锤和振动筛,将非磁性物料挤压破碎,最终将其根据不同粒径完成分离。相比于现在的垃圾外运,直接场内处理有着明显的经济效益,同时也解决了场外填埋、既占用土地又污染环境的现实问题,避免垃圾占据城市的局面,将废弃物进行分离破碎收集,达到无害化可循环的建筑废弃物回收利用。

标签:
固废
安徽 - 马鞍山 来源:北方有色网 2023-03-19
上一页 16 17 18 19 下一页
共19页    到第

北方有色为您提供最新的安徽马鞍山有色金属固/危废处置技术理论与应用信息,涵盖发明专利、权利要求、说明书、技术领域、背景技术、实用新型内容及具体实施方式等有色技术内容。打造最具专业性的有色金属技术理论与应用平台!

全国热门有色金属设备推荐
展开更多 +
全国热门有色金属技术推荐
展开更多 +

 

江西省隆恩特环保设备有限公司
宣传

报名参会
更多+

报告下载

有色专家
更多+

郑州大学
副院长/教授
蒙纳士苏州校区
中国工程院外籍院士/校长
有研科技集团有限公司
中国工程院 院士
江西理工大学
教授
任灵宝金源矿业股份有限公司
技术发展部经理
赤泥综合利用研究报告2025
推广

热门技术
更多+

推荐企业
更多+

福建省金龙稀土股份有限公司
宣传

发布

在线客服

公众号

电话

顶部
咨询电话:
010-88793500-807