青岛垚鑫智能科技有限公司
宣传

位置:中冶有色 >

有色技术频道 >

> 新能源材料技术

分类:
全部
矿山技术
冶金技术
材料制备及加工技术
环境保护技术
分析检测技术
 
全部
功能材料技术
复合材料技术
新能源材料技术
合金材料技术
加工技术
地区:
全部
北京
天津
上海
重庆
河北
山西
辽宁
吉林
黑龙江
江苏
浙江
安徽
福建
江西
山东
河南
湖北
湖南
广东
海南
四川
贵州
云南
陕西
甘肃
青海
内蒙
广西
西藏
宁夏
新疆
其他
其他
展开
 
全部
广州
韶关
深圳
珠海
汕头
佛山
江门
湛江
茂名
肇庆
惠州
梅州
汕尾
河源
阳江
清远
东莞
中山
潮州
揭阳
云浮

广东深圳有色金属新能源材料技术理论与应用

免费发布技术信息>>
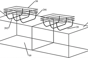
空心母排结构
空心母排结构 812     
 0

本实用新型公开了一种空心母排结构,涉及新能源电池散热技术领域,包括若干中空管道、用于连接所述中空管道和电池组的连接片,所述中空管道与冷却液管线连通。以解决现有的散热装置无法使电池内部和外部温度一致,造成电池组发挥不出最佳的性能和寿命的问题。

标签:
新能源
广东 - 深圳 来源:中冶有色网 2023-03-18
小功率便携式直流充电桩

本实用新型公开了一种小功率便携式直流充电桩,包括底板,所述底板的右端面上端分别设有电源开关、进线PG接头和出枪PG接头,所述底板的顶端面前后两侧分别设有模块插框和挡板,所述底板的顶端面前侧通过熔断器导轨设有直流熔断器,所述底板的顶端面左侧设有第一辅助电源,所述底板的顶端面右侧设有直流接触器,所述模块插框和挡板的左端之间设有电源模块,所述模块插框和挡板的上端左侧设有前面板,所述前面板的后侧设有监控单元,所述监控单元右侧设有第二辅助电源,所述第二辅助电源的上端通过防雷器导轨设有防雷器,所述防雷器的右侧设有电源转接板。本实用新型整体结构小巧轻便随车携带,可直接插到220V的交流插座上就可以给新能源汽车充电。

标签:
新能源
广东 - 深圳 来源:中冶有色网 2023-03-18
可利用导电带进行电池识别的充电装置

本实用新型涉及电池电阻识别领域,特别涉及一种可利用导电带进行电池识别的充电装置。该充电装置包括充电器,所述充电器上设有电池槽,所述电池槽设有正极和负极,所述电池槽上设有多个弹性触点,所述弹性触点与电池外皮的阻性材料接触连接,所述弹性触点测量电池的阻值。本实用新型主要充电器读取电池表面印刷的电阻值对电池的充电选择针对性的充电方案。本实用新型结构简单,容易实施;充电器对适合快充的电池进行快充,不适合快充的进行低速充电;对配合新能源电池发挥性能提供完美的解决方案。

标签:
新能源
广东 - 深圳 来源:中冶有色网 2023-03-18
新型表带式连接端子
新型表带式连接端子 831     
 0

本实用新型提供了一种新型表带式连接端子,涉及新能源汽车充电技术领域,该方案针对现有技术中连接端子保持力差、电流不稳定等问题,而利用固定带作为整体的框架支撑件,充电时,由其提供一定的保持力,使得充电枪的公针可以和连接端子间接触稳定。同时,再将导电叶片连接于固定带上,作为充电过程中主要的电流传导件,保证该充电过程电流的稳定性。

标签:
新能源
广东 - 深圳 来源:中冶有色网 2023-03-18
恒压式沼气池
恒压式沼气池 833     
 0

本实用新型涉及新能源技术领域,且公开了一种恒压式沼气池,包括池体,所述池体的池内左侧壁连通有贯穿并延伸至池外的排水管,排水管远离池体的一端固定安装有阀门,所述池体的池内右侧壁连通有贯穿并延伸至池外的出气管,出气管远离池体的一端连通有位于池体右侧干燥箱,所述池体的右侧固定安装有底台,所述干燥箱的右侧连通有位于底台顶部的集气罐,所述池体的池内两侧壁均开设有条形槽,所述池体的顶部开设有气孔,所述池体的顶部卡接有顶盖,顶盖的顶部开设有进料口,进料口内卡接有密封盖,所述顶盖的前表面和背面均固定安装有矩形滑块。该恒压式沼气池,安全性更高,稳压效果好,方便了人们使用。

标签:
新能源
广东 - 深圳 来源:中冶有色网 2023-03-18
逆向成型三方向插拔大电流端子结构

本新型涉及新能源电子连接器方法,具体涉及到一种逆向成型三方向插拔大电流端子结构,所述衔接片衔接包线端口和卡臂;所述两个卡臂内侧分别铆接两个逆向成型端子;所述公端插针插在两个逆向成型端子中间;所述插口一、插口二和插口三设在逆向成型端子一端。所述接触支片的弹性增加了导电面积,增加了导电性能。所述卡臂与逆向成型端子利用电镀焊接片通过凸点铆接的方式结合起来,形成铆接铆接鳞片。所述插口一、插口二和插口三满足不同角度的转接。所述卡臂与逆向成型端子内表面的铆接鳞片,增加了公端与母端之间的接触面积,降低了公端与母端之间的接触电阻。有益效果:其灵巧的结构组合既减小了连接器的体积,增加了产品运用灵活性和稳定性。

标签:
新能源
广东 - 深圳 来源:中冶有色网 2023-03-18
用于汽车锂电池的高效电芯入壳设备

本实用新型涉及新能源领域,公开了一种用于汽车锂电池的高效电芯入壳设备,包括电芯转运模块、外壳上料模块,绝缘片冲裁模块、绝缘片上料模块、极片折叠模块与入壳模块;可绕自身轴心的转盘以及CCD装置;若干执行模块安装在转盘上并沿转盘均匀分布,转盘不停歇的转动带动执行模块逐一的经过CCD装置的检测范围,电芯转运模块持续为各执行模块供给电芯,外壳上料模组持续为各执行模块供给外壳,执行模块在转盘转动一周的过程中执行电芯上料、绝缘片的冲裁、绝缘片的上料、极片的折叠、外壳上料以及电芯的入壳,成品由所述电芯转运模块进行下料。本实用新型可以一体的进行电芯入壳的多个步骤,全过程自动进行,无需人工管控,有助于节约人力成本。

标签:
新能源
广东 - 深圳 来源:中冶有色网 2023-03-18
动力电池模组
动力电池模组 973     
 0

本实用新型实施例公开了一种动力电池模组。该动力电池模组包括多个动力电池,在动力电池的侧面设置有至少一个热管,热管具有吸热部和散热部,散热部连接至少一个散热片。本实用新型提供的动力电池模组包括多个动力电池,在动力电池的侧面设置至少多个热管,该热管具有吸热部和散热部,散热部连接至少一个散热片,从而提升电池的散热性能,提升新能源电动汽车的性能。

标签:
新能源
广东 - 深圳 来源:中冶有色网 2023-03-18
混合逆变器系统
混合逆变器系统 952     
 0

本申请公开了一种混合逆变器系统,母线电容组、双向逆变器和多组开关串联连接,母线电容组的输入端分别连接新能源发电组件和双向DC/DC变换器,双向DC/DC变换器的另一端与储能电池组连接,多组开关包括用于连接电网的第一组开关和用于连接负载的第二组开关,控制器用于根据侦测到的数据控制双向DC/DC变换器和双向逆变器的工作模式及控制第一组开关和第二组开关的通断。本申请的混合逆变器系统可单独工作于并网模式或离网模式,也可以根据电网情况自动在并离网模式之间无缝转换。

标签:
新能源
广东 - 深圳 来源:中冶有色网 2023-03-18
内嵌式铜排结构及电池包

本实用新型公开了一种内嵌式铜排结构及电池包,涉及新能源电池加工技术领域。该内嵌式铜排结构安装于电池包内,电池包包括下箱体,下箱体上设有安装槽,该内嵌式铜排结构包括第一铜排和第二铜排,第一铜排和第二铜排均嵌设安装于安装槽内。本实用新型通过将第一铜排和第二铜排均嵌设安装于安装槽内,从而减少铜排在电池包内的空间占用,提高空间利用率、结构紧凑,同时无需在电池包上部起凸包,减少工序、降低电池包物料数量、减轻整包重量,提高系统能量密度,同时提高用户体验。

标签:
新能源
广东 - 深圳 来源:中冶有色网 2023-03-18
用于锂电池的盖帽压焊装置

本实用新型公开一种用于锂电池的盖帽压焊装置,涉及新能源电池技术领域。该用于锂电池的盖帽压焊装置包括操作台,操作台的正面开设有第一滑槽,操作台的内部滑动连接有焊接机构,操作台的一侧固定连接有电机,电机的输出端活动插接有第二齿轮,操作台的上表面开设有第二滑槽,第二滑槽的内部转动连接有丝杆,丝杆的正面固定连接有把手,丝杆的外表面螺纹连接有固定机构,操作台的上表面固定连接有定位槽。该用于锂电池的盖帽压焊装置通过设置操作台,该装置具有可以快速精准的对电池进行定位,使焊接头和电池之间没有偏差的作用。

标签:
新能源
广东 - 深圳 来源:中冶有色网 2023-03-18
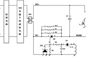
新型双面液晶显示屏的充电桩

本实用新型涉及新能源汽车充电桩技术领域,更具体地说,它涉及一种新型双面液晶显示屏的充电桩,包括由上挡板、下挡板、左侧板和右侧板组成的矩形框、设有显示屏的前门板和设有显示屏的后门板,所述前门板、所述后门板均与所述矩形框密封连接,所述矩形框设置有元件安装板,所述元件安装板上安装有独立用于显示屏的漏电保护开关、防雷器、接触器、电表,所述矩形框可拆卸与底座连接,所述底座设置有电源线通道。本实用新型的目的在于解决充电桩不达标、低安全性、高故障率、防水等级低、难运维的问题,提供一种新型双面液晶显示屏的充电桩。

标签:
新能源
广东 - 深圳 来源:中冶有色网 2023-03-18
锂离子电池极片清洗装置

本实用新型涉及一种锂离子电池极片清洗装置,包括激光器、振镜、聚焦透镜、用于夹紧极片并使极片表面保持平整的极片夹具以及用于将圆形激光光斑整形为线状准直光斑的激光整形单元,激光器出射的激光依次经过激光整形单元、振镜和聚焦透镜从而形成激光光路,聚焦透镜的焦点位于由极片夹具所限定的极片表面上。本实用新型将激光光斑整形为线状准直光斑并使激光的线状准直光斑聚焦在极片表面,整形后的线形光束是平顶光光束,降低了激光峰值功率,减少激光能量对极片集流体造成的损伤,因此能有效地提高极片质量和良品率,这种质量改善在正极极片上更为显著;采用线形光束进行极片清洗能显著地提高清洗效率,实现新能源行业的降本增效目的。

标签:
新能源
广东 - 深圳 来源:中冶有色网 2023-03-18
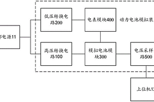
动力电池模拟装置
动力电池模拟装置 811     
 0

本实用新型涉及新能源技术领域,公开了一种动力电池模拟装置。动力电池模拟装置包括高压转换电路、低压转换电路、模拟电池模块、电表模块及电压采样电路,高压转换电路用于产生高压直流电源。低压转换电路用于产生低压直流电源。模拟电池模块用于根据高压直流电源,产生模拟电压。电表模块用于根据低压直流电源进行工作,并显示模拟电压。电压采样电路用于采样所述模拟电压,并将所述模拟电压传输至上位机。本实施例能够模拟真实动力电池的电压,无需采样真实动力电池的电压,有利于开展测试作业和提高测试效率,并且本实施例还能够显示模拟电压,以便测试人员能够针对性更强地进行测试工作,进一步提高测试人员的测试效率。

标签:
新能源
广东 - 深圳 来源:中冶有色网 2023-03-18
电池箱体、电池包及车辆

本实用新型涉及新能源车辆领域,提供一种电池箱体、电池包及车辆。电池箱体包括下箱体和结构加强件,所述结构加强件包括第一梁体和第二梁体,所述第一梁体与所述第二梁体交叉设置,所述第一梁体与所述下箱体连接,所述第一梁体设置有翻边,所述翻边与所述下箱体连接,和/或所述第二梁体与所述下箱体连接,所述第二梁体设置有翻边,所述翻边与所述下箱体连接。电池箱体可通过翻边的设置增加了结构加强件与下箱体之间的接触面积,从而提高了结构加强件与下箱体之间的连接强度。

标签:
新能源
广东 - 深圳 来源:中冶有色网 2023-03-18
燃油机械尾气分化器
燃油机械尾气分化器 1104     
 0

本实用新型涉及汽车尾气处理技术领域,且公开了一种燃油机械尾气分化器,包括管状聚热仓,管状聚热仓的两端内壁分别固定连接有前外圆内孔引流板和后外圆内孔引流板,管状聚热仓的两端侧壁分别固定连接有前管头和后管头,前外圆内孔引流板的内壁固定连接有前孔状圆锥形分化进气口和后孔状圆锥形分化排气口。本实用新型能够使汽车尾气二次燃烧和二次分化,能够保护三元催化器的正常功能和延长使用寿命,更好的辅助尾气处理系统发挥更大的分化作用,为移动清洁新能源奠定坚实的基础,同时提高了汽车的环保性能和使用安全性。

标签:
新能源
广东 - 深圳 来源:中冶有色网 2023-03-18
基于摄像头和车位锁的车位管理系统

本实用新型公布了一种基于摄像头和车位锁的车位管理系统,涉及车位管理技术领域,包括:用于识别车位内和车位前方车辆车牌颜色的车牌识别摄像头;与车牌识别摄像头连接,用于接收车牌识别摄像头信号实现打开和/或关闭的车位锁;与车牌识别摄像头连接,用于接收车牌识别摄像头信号实现启动和关闭的报警器;所述车牌识别摄像头安装于车位的后方或侧后方;所述车位锁安装在车位中;所述报警器安装在车位侧边或后方或上方。本实用新型可以有效阻止燃油车占用新能源车位,实现单车位单套管理,无感进场,自动落锁。

标签:
新能源
广东 - 深圳 来源:中冶有色网 2023-03-18
电池包托盘、电池包及车辆

本实用新型适用于新能源车辆技术领域,提供了一种电池包托盘、电池包及车辆,该电池包托盘包括用于承载电池模组的托盘和安装于托盘上的防护板,防护板的外围一圈与托盘连接固定,且防护板与托盘底部之间还设置有连接结构,连接结构包括设于防护板的第一固定件和设于托盘底部的第二固定件,第一固定件和第二固定件卡接配合来限制防护板抖动。本实用新型所提供的一种电池包托盘、电池包及车辆,能提高电池包托盘中护板模态,以增加整个电池包的机械强度,从而提高电池包的安全性。

标签:
新能源
广东 - 深圳 来源:中冶有色网 2023-03-18
交流充电桩侧面固定进线的机构

本实用新型涉及新能源充电桩技术领域,且公开了一种交流充电桩侧面固定进线的机构,包括后盖,所述后盖的内部栓接有PCBA板子,所述PCBA板子的底部栓接有第一动力线;本实用新型通过将右侧小盖的第二螺钉扭开,将外面第二动力线和外部网线直接穿过第二格兰头,分别接在接线端子,并用第一螺钉固定,及将外部网线插在网线对接头上,然后把右侧小盖用第二螺钉拧紧,从而实现了安装进线线缆更加方便,快捷,只需要一个人操作即可,而且将进线口设计在侧面装取,也保证了产品正面的美观度,解决了目前交流桩固定进线一般需要取出来,把线材固定好才能安装,这样操作即浪费时间又操作麻烦的问题。

标签:
新能源
广东 - 深圳 来源:中冶有色网 2023-03-18
太阳能发电的充电桩
太阳能发电的充电桩 959     
 0

本实用新型涉及新能源汽车充电技术领域,尤其涉及一种太阳能发电的充电桩,包括机体,所述机体的前端底部开设有广告槽,所述机体的前端中部显示器,所述机体的前端固定连接有按键盘,所述机体的顶端开设有收纳口,所述机体前端开设有刷卡槽,所述机体的底端固定连接有底座,所述机体的前端上部设置有屏幕,所述机体的前端固定连接有摄像头,所述机体的前端固定连接有雷达,所述广告槽的内部设有贴片,通过设置在机体顶端的收纳口和升降装置,可在夜晚光照不充足的情况下,通过开启调节键可使一号调节杆和二号调节杆相互配合,收起太阳能电池板,可避免在夜间阳光照射不充分的情况下继续开启太阳能充电,可有效的避免在夜间一些偷盗事故发生。

标签:
新能源
广东 - 深圳 来源:中冶有色网 2023-03-18
直流充电机的控制应用电路

本实用新型公开了一种直流充电机的控制应用电路,包括多组充电单元,充电单元设置有充电线路,充电线路包括控制单元、充电模块及充电桩,控制单元经充电模块连接充电桩,同一充电单元的充电线路之间设置有子接触器,子接触器连接母接触器,子接触器与母接触器之间设置有功率切换板,功率切换板连接控制单元,功率切换板控制子接触器和母接触器。本实用新型实现一机多桩输出,可以同时对多台新能源汽车进行充电,比现有的一机单桩(单枪)或一机双桩(双枪)输出能力高出一倍以上,且不影响高压直流主电路的工作,输出效率高,充分利用充电桩的总功率,资源利用率高,成本回收快,能够有效地减缓充电车位的紧张,具有良好的市场经济效应。

标签:
新能源
广东 - 深圳 来源:中冶有色网 2023-03-18
立体停车楼
立体停车楼 775     
 0

本实用新型适用于汽车停车库领域,提供了一种立体停车楼,该立体停车楼由多层停车库组成。其中,底部至少一层停车库为自走式停车库,顶部至少一层停车库为机械式停车库。该立体停车楼由自走式停车库与机械式停车库共同组成,克服了自走式停车库楼层数超过4层以后用户体验性差,停车时间长的缺点;并且克服了机械式立体车库无法同时停放多种类型车辆,并且无法给新能源汽车充电的缺点。

标签:
新能源
广东 - 深圳 来源:中冶有色网 2023-03-18
绝缘件结构
绝缘件结构 1035     
 0

本实用新型公开了一种绝缘件结构,包括绝缘件的本体,本体的宽度在19mm到71mm内,本体的中部设有减重孔,减重孔的横截面为椭圆或者异形;减重孔中设有加强件,加强件为异形的加强筋,该加强筋包括横筋和竖筋,所述横筋和竖筋分别与减重孔的长轴和短轴重合。本体的两侧设有对称于减重孔的两组连接孔,每组连接孔中设有两个通孔,该两个通孔之间设有加强结构强度用的连接柱,本体的一侧设有固定用的异形孔。本实用新型使新能源动力电池内部结构件简化及体积的缩小,使电池内部空间增加;采用热熔胶塑模成型以减少加工步骤提高加工效率,降低加工成本。对产品的性能,质量的管控及产品结构的可造性有较大的提升。

标签:
新能源
广东 - 深圳 来源:中冶有色网 2023-03-18
带行程反馈凸轮自锁机械锁

本实用新型属于新能源汽车技术领域,具体涉及一种带行程反馈凸轮自锁机械锁,锁舌组件、微动开关和凸轮驱动减速电机组件安装在上盖与底座之间的相应安装位上,锁舌组件至少包括压缩弹簧、锁舌主体、第一卡簧、销钉和滚子,销钉用于将所述滚子固定至所述锁舌主体上,压缩弹簧套至锁舌主体的锁舌部位上,凸轮驱动减速电机组件至少包括微型减速电机、凸轮和第二卡簧,所述凸轮与微型减速电机通过凸轮上带有定位扁位的轴孔与微型减速电机上带有定位扁位的减速轴配合实现径向旋转定位,微动开关分布在所述锁舌组件的尾端及锁舌组件的侧边,通过锁舌主体触发微动开关,实现锁舌行程限位反馈。

标签:
新能源
广东 - 深圳 来源:中冶有色网 2023-03-18
纳米二氧化钛锂电池
纳米二氧化钛锂电池 1227     
 0

本实用新型适用于新能源技术领域,提供了一种纳米二氧化钛锂电池,所述纳米二氧化钛锂电池由正极片、负极片、隔膜、电池外壳、电池底盖、电池顶帽、断电防爆层、有机电解液组成,其特殊之处在于:所述负极片为若干个纳米二氧化钛粉末凝胶成的微小纳米二氧化钛管。本实用新型负极采用微小纳米二氧化钛管取代原来的石墨碳管,2分钟内就能达到70%的电量,电动汽车充电只需5分钟,使用寿命长达20年,能够充电数千次。

标签:
新能源
广东 - 深圳 来源:中冶有色网 2023-03-18
弱光弱风充电控制电路

本实用新型为一种弱光弱风充电控制电路,属于电控节能技术领域。光伏发电及风力发电都配置蓄电池,但在光线减弱或风力减弱的情况下,发出的电低于蓄电池电压不能充电。这时光能或风能没有得到利用。本实用新型弱光弱风充电控制电路由窗口比较器,升压器,同步控制三部分组成,当发出的电高于蓄电池电压时,不影响蓄电池正常充电;而发出的电低于蓄电池电压时,则启动一个升压电路,继续给蓄电池充电,充分利用了弱光弱风能量。因弱光弱风情况下发出的电本就微弱,增加同步控制电路能提高电能传输效率。特别适用于作为无人值守的小型供电系统,例如光伏发电及风力发电新能源供电的路灯、高层铁塔的监控系统使用等。

标签:
新能源
广东 - 深圳 来源:中冶有色网 2023-03-18
功率电感的固定结构
功率电感的固定结构 763     
 0

本实用新型涉及电子零部件领域,其提供了一种功率电感的固定结构,包括底座、功率电感和固定卡簧,所述的固定卡簧呈“几”字形,所述的功率电感固定于固定卡簧的内部,固定卡簧的两侧底端为与底座固定的安装平面,固定卡簧的顶部的中间为凹陷的弹性区域,固定卡簧的顶部的弹性区域的周围为接触散热区,接触散热区为一平坦的水平面。本新型在现有的电感固定方案上,结合了新能源车的大功率的要求和整车恶劣的工况下,摒弃常规功率电感焊接在PCB板上的方案,改进为利用弹性区域和散热区域,最终降低了卡簧的尺寸要求和加工成本,同时散热区域充分接触顶盖,改善了电感的散热效果,更为提升电感的可靠性。

标签:
新能源
广东 - 深圳 来源:中冶有色网 2023-03-18
低能耗限流电路
低能耗限流电路 1113     
 0

本实用新型公开了一种低能耗限流电路,包括正极馈电线路、负极馈电线路,串接在正极或负极馈电线路中的限流电阻,该限流电阻两端之间连接一可控硅;在开机瞬间,可控硅截止,限流电阻起限流保护作用;在电源正常工作时,可控硅导通,限流电阻短接退出运行,以降低能耗。本实用新型性能稳定,可靠性强、性能优良、操作简单、安全系数高、对电源本身无破坏性,提高了电源的整机工作效率。可适用于开关电源、线性稳压电源、新能源光伏逆变器或类似产品。

标签:
新能源
广东 - 深圳 来源:中冶有色网 2023-03-18
电芯模组辅助上盖夹具
电芯模组辅助上盖夹具 1129     
 0

本实用新型提供了一种电芯模组辅助上盖夹具,属于新能源电池电芯模组自动化生产线技术领域,为解决上盖操作不便,手动上盖困难的技术问题而设计,包括型材支撑机构上设有夹具机构,型材支撑机构对夹具机构进行支撑和移动,支撑夹具机构用于夹持模组上盖;支撑夹具机构上设有扳手;在使用时,正向扭动扳手,模组上盖被夹紧在模组U壳的上方;型材支撑机构和夹具机构之间设有弹簧平衡器,反向扭动扳手使得夹具机构松开电芯模组,在弹簧平衡器的拉力和型材支撑机构上的导轨的导向的作用下,夹具机构上下或水平移动。针对电池模组,能快速调节、定位夹具位置,方便人工上盖安装,提高生产效率,节省劳动力成本。

标签:
新能源
广东 - 深圳 来源:中冶有色网 2023-03-18
汽车安全拉手组件
汽车安全拉手组件 884     
 0

本实用新型公开一种汽车安全拉手组件,属于汽车配件技术领域,其包括第一安全拉手,第一安全拉手包括拉手主体及若干磁块,拉手主体的背侧设有拉线锁紧结构以及若干磁块安置位,拉线锁紧结构对应锁紧汽车内安全拉线开关的拉线端,若干磁块安置位与若干磁块一一对应设置,且每一磁块与相应的磁块安置位之间磁性吸附连接。本技术方案,其可配合某厂商的新能源汽车上的安全拉线开关使用,以有效提高其使用便捷性。

标签:
新能源
广东 - 深圳 来源:中冶有色网 2023-03-18
上一页 13 14 15 16 17 ... 116 下一页
共116页    到第

中冶有色为您提供最新的广东深圳有色金属新能源材料技术理论与应用信息,涵盖发明专利、权利要求、说明书、技术领域、背景技术、实用新型内容及具体实施方式等有色技术内容。打造最具专业性的有色金属技术理论与应用平台!

全国热门有色金属设备推荐
展开更多 +
全国热门有色金属技术推荐
展开更多 +

 

江西省隆恩特环保设备有限公司
宣传

报名参会
更多+

报告下载

有色专家
更多+

西北稀有金属材料研究院宁夏有限公司
党委书记 / 董事长
矿冶科技集团有限公司
党委书记 / 董事长
昆明理工大学
校长
赣州有色冶金研究所有限公司
副主任/高级工程师
北京工业大学、中国工程院
中国工程院 院士
赤泥综合利用研究报告2025
推广

热门技术
更多+

推荐企业
更多+

福建省金龙稀土股份有限公司
宣传

发布

在线客服

公众号

电话

顶部
咨询电话:
010-88793500-807