青岛垚鑫智能科技有限公司
宣传

位置:中冶有色 >

有色技术频道 >

> 加工技术

分类:
全部
矿山技术
冶金技术
材料制备及加工技术
环境保护技术
分析检测技术
 
全部
功能材料技术
复合材料技术
新能源材料技术
合金材料技术
加工技术
地区:
全部
北京
天津
上海
重庆
河北
山西
辽宁
吉林
黑龙江
江苏
浙江
安徽
福建
江西
山东
河南
湖北
湖南
广东
海南
四川
贵州
云南
陕西
甘肃
青海
内蒙
广西
西藏
宁夏
新疆
其他
其他
展开
 
全部
南京
无锡
徐州
常州
苏州
南通
连云港
淮安
盐城
扬州
镇江
泰州
宿迁

江苏南京有色金属加工技术理论与应用

免费发布技术信息>>
用于锂金属电池的改性负极及其制备方法

本发明公开了一种用于锂金属电池的改性负极及其制备方法,属于锂金属电池技术领域,本发明通过在氧化后的铜片进行氮化,在复合铜集流体上生成多孔氮化亚铜,有利于促进电荷转移,诱导锂均匀沉积,抑制锂枝晶的存在。本发明制备的负极为Cu3N/Cu复合负极,首先将酸洗后的铜片置于空气中进行氧化,再利用氨气在高温下与氧化后的铜片进行反应,处理后得到改性的复合电极,以改性后的铜片作为负极组装锂铜半电池进行电化学性能测试,结果证明改性后的铜片作为负极能有效的抑制锂枝晶的存在,提高电池的循环性能。

标签:
加工技术
江苏 - 南京 来源:中冶有色网 2023-03-18
快速制备锂纳米结构的方法

本发明公开了一种快速制备锂纳米结构的方法,使用锂化合物作为原料,经过干燥后置于高真空环境,随后使用电子束对其进行辐照,当电子束的强度超过一定值后锂化合物发生分解,分解过程中产生出不同的锂纳米结构。本发明提供的快速制备锂纳米结构的方法,可以快速获得不同类型的锂纳米结构,且获得的产物纯度较高、形态多样,且制备过程可控性高。

标签:
加工技术
江苏 - 南京 来源:中冶有色网 2023-03-18
盐卤氯化锂的提取方法及装置

本发明涉及一种盐卤氯化锂的提取方法及装置,其具体步骤包括:第1步、将含锂盐湖老卤池中的盐卤通过铝盐吸附剂对锂离子进行吸附,再用水进行解吸之后,得到解吸液;第2步、将解吸液使用粗过滤器进行过滤;第3步、将粗过滤器透过液使用纳滤膜进行过滤,得到纳滤膜透过液;第4步、将纳滤膜透过液使用反渗透膜进行浓缩,得到反渗透浓缩液;第5步、将反渗透浓缩液进行晒盐或者蒸发,得到含锂浓缩卤水。该方法可以解决传统卤水提锂工艺中,反渗透工段的浓缩倍数不能提高、晒盐效率低、沉淀耗用大量试剂的问题,得到的氯化锂溶液的收率高、纯度高。

标签:
加工技术
江苏 - 南京 来源:中冶有色网 2023-03-18
退役动力锂电池的梯次利用系统

本实用新型公开了一种退役动力锂电池的梯次利用系统,该系统包括计算机、外观检测模块、电池筛选模块、分档重组模块和传送模块;所述外观检测模块用于采集锂电池的外观数据并发送至计算机分析;所述电池筛选模块包括第一充放电测试仪,所述第一充放电测试仪用于采集电池的剩余容量、内阻和充放电电压数据并发送至计算机存储;所述分档重组模块用于重组锂电池,包括预排序模块和焊接模块,所述预排序模块包括第二充放电测试仪以及若干固定连接的可插拔电池夹,用于将待重组的锂电池预先组成临时的电池模块并测试其容量,所述焊接模块采用焊接机焊接锂电池。本实用新型减少了退役电池对环境带来的污染,降低电池使用成本,具有双重环境与经济效益。

标签:
加工技术
江苏 - 南京 来源:中冶有色网 2023-03-18
锂离子固体电解质及其制备方法与应用

一种锂离子固体电解质及其制备方法与应用,属于电池技术领域。所述锂离子固体电解质包括含有四价锗离子的NASICON型锂离子固体电解质片和Ge膜,所述Ge膜镀在含有四价锗离子的NASICON型锂离子固体电解质片表面,镀膜厚度为10~200 nm。本发明通过在固体电解质LAGP表面镀上一定厚度的Ge薄膜,一方面抑制四价锗的还原,保护电解质;另一方面使得电解质和金属锂接触更紧密,减小固态电池界面阻抗。此外,该表面被保护的固体电解质还可以有效抑制锂枝晶的生产,从而提高电池的循环稳定性以及库伦效率,对固态电池起到减小界面阻抗及提高界面稳定性的效果。

标签:
加工技术
江苏 - 南京 来源:中冶有色网 2023-03-18
溴化锂溶液中清除溴酸盐的方法

一种溴化锂溶液中清除溴酸盐的方法属无机化学碱金属类,涉及锂的溴化物技术领域,是在含溴酸盐的溴化锂溶液中,用HBr调整pH小于6,加入足量还原剂卤族元素,控制温度在100~150℃情况下用以清除溴化锂溶液中溴酸盐,其特点是操作方便、效率高、成本低、效益高,可适用凡溴化锂溶液中含有溴酸盐所有场合清除溴酸盐之用。

标签:
加工技术
江苏 - 南京 来源:中冶有色网 2023-03-18
多重安全防护锂电池模组保护结构

本发明属于锂电池技术领域,尤其是一种多重安全防护锂电池模组保护结构,针对现有的技术中存在对锂电池模组的保护效果较差,且在需要使用锂电池模组时,锂电池模组不方便从保护结构中拿取的问题,现提出如下方案,其包括箱体,所述箱体的内壁滑动连接有升降板,箱体的顶部活动接触有箱盖,所述箱盖与箱体转动连接有同一个转轴,箱体的前侧设有定位孔,箱盖的前侧固定连接有把手,箱盖的内壁设有控制机构,通过控制箱盖带动升降板推动锂电池模组升降,实现了在需要使用锂电池模组时,打开箱盖锂电池模组自动上升方便拿取的效果,通过锁定机构与箱体、箱盖的配合,起到了保护锂电池模组的效果。

标签:
加工技术
江苏 - 南京 来源:中冶有色网 2023-03-18
锂离子电池的故障检测方法及装置

本发明涉及锂离子电池测试技术领域,具体提供了一种锂离子电池的故障检测方法及装置,包括:获取锂离子电池组中各电池单体的充放电循环中的放电段电压数据;分别对所述锂离子电池组中各电池单体的充放电循环中的放电段电压数据进行信号分解,得到所述各电池单体的分解信号中最低频信号分量;基于所述各电池单体的分解信号中最低频信号分量对所述锂离子电池组进行故障检测。本发明提供的技术方案,在不干扰锂离子电池系统运行的情况下,实现锂离子电池故障的快速检测,为电池系统的安全稳定运行与电池更换提供理论依据。

标签:
加工技术
江苏 - 南京 来源:中冶有色网 2023-03-18
熔融碱电解再生废旧锂离子电池正极材料的方法

本发明提供了一种熔融碱再生废旧锂离子电池正极材料的方法,包括如下步骤:1)废旧锂离子电池正极材料预处理:将废旧锂离子电池机械拆解之后,分离正极材料的混合物,经氩氢气氛还原处理废旧锂离子电池正极材料;2)熔融碱电解:使用氢氧化物混合熔融碱,以步骤1)的预还原的废旧锂离子电池正极材料为原料,通过一步电解法制备出高质量的锂离子电池正极材料。本发明具有如下技术效果:1、通过预还原处理,降低了废旧锂电池中过渡金属元素价态,增加了过渡金属元素的溶解量,解决了高价态正极材料不溶解的难题,与现有技术相比,避免了双氧水和有机酸的使用,降低了回收成本。

标签:
加工技术
江苏 - 南京 来源:中冶有色网 2023-03-18
便于将圆柱状锂电池放入盛装结构内的装置

本实用新型公开了一种便于将圆柱状锂电池放入盛装结构内的装置,包括第一传送框、第一传送带、计数传感器、锂电池本体、微型气泵、分气管、承载吊板、电动转盘、T型圆台、电动推杆、条形凹槽、条形夹块、U型条板、推板、条形滑槽、塑料筐、第二传送带、第二传送框、条形气囊、限位条块、圆形铁块、圆杆、第一电磁阀、第二电磁阀、连接块和导气管。本实用新型设计合理,实现了一次夹取多个锂电池的功能,解决了逐个取放锂电池而耽误时间的问题,结构紧凑,有利于循环夹持放置锂电池,保证了取放锂电池的连续性,运行稳定,实现了将全部锂电池整齐放置在盛装结构内的功能,解决了人工摆放的不便性。

标签:
加工技术
江苏 - 南京 来源:中冶有色网 2023-03-18
锂矿石光谱分析用标准样品的制备装置

本实用新型公开了一种锂矿石光谱分析用标准样品的制备装置,包括支座、上保持加压机构、下加压机构、底模、空心上模、挤压柱、冲头以及漏斗器,所述漏斗器包括内通管、外通管、漏斗环形限位座。本实用新型通过将粉末状的锂矿石样品压制成块状的锂矿石光谱分析用标准样品,使得得到的锂矿石光谱分析用标准样品表面光滑、不易破裂,可以用于锂矿石检测。

标签:
加工技术
江苏 - 南京 来源:中冶有色网 2023-03-18
便携式锂电池充电器
便携式锂电池充电器 991     
 0

本实用新型公开了一种便携式锂电池充电器,涉及锂电池包充电技术领域,具体为一种便携式锂电池充电器,包括前防护外壳、后防护外壳,所述前防护外壳、后防护外壳的内部卡接有大容量电池组,所述前防护外壳、后防护外壳的内部设置有位于大容量电池组上方的电路板,所述前防护外壳的正面开设有充电卡槽,且充电卡槽的内部设置有充电接头。该便携式锂电池充电器,通过在前防护外壳、后防护外壳的内部设置大容量的大容量电池组,在户外等无市电环境下,可直接将锂电池包卡在充电卡槽上进行充电,降低对力电池包数量的限制,只需携带两个交替进行使用即可,降低了携带的难度,保证了电动工具的续航能力。

标签:
加工技术
江苏 - 南京 来源:中冶有色网 2023-03-18
基于等压升能量和改进GRU的锂电池健康状态估计方法

本发明提供了一种基于等压升能量和改进GRU的锂电池健康状态估计方法,包括获取锂电池每个充放电循环的健康状态数据和充电能量数据;从每个充放电循环的充电能量数据中提取等压升间隔能量序列,绘制等压升能量充电曲线,并计算出每个充放电周期所对应的等压升能量充电曲线的峰值序列;将等压升能量充电曲线的峰值序列与健康状态序列进行归一化预处理后作为输入数据;在GRU网络中增加翻转层和概率层,改进GRU网络,构建锂电池健康状态的网络估计模型;应用构建的锂电池健康状态网络估计模型对锂电池健康状态进行估计。本发明通过电池外部特性表征内部复杂和剧烈的电化学反应,能有效反应电池的衰退老化,具有快速、准确等优势的健康状态估计方法。

标签:
加工技术
江苏 - 南京 来源:中冶有色网 2023-03-18
片状的磷酸铁锂电极材料的制备方法

本发明公开了一种片状的磷酸铁锂电极材料制备方法。该方法具体步骤为:以七水合硫酸亚铁、磷酸、一水合氢氧化锂为铁源,磷源和锂源,再为以少量抗坏血酸为还原剂,然后以乙二醇作为一种液体表面活性剂,控制乙二醇的用量,溶剂热法首先合成LiFePO4前驱体;离心洗涤,干燥过夜;得到的前驱体在管式炉中烧结得到磷酸铁锂。本发明的工艺过程简单,原料来源广泛,控制形貌效果明显,有利于大规模工业生产;制备的锂离子电池正极材料具有良好的的倍率充放电性能和优异的循环使用寿命,且材料的容量较高。

标签:
加工技术
江苏 - 南京 来源:中冶有色网 2023-03-18
基于锂电池性能模拟环境的电解液配方推荐方法

本发明公开一种基于锂电池性能模拟环境的电解液配方推荐方法,所述锂电池性能模拟环境使用无梯度优化算法和机器学习算法,输入已有的电池电解液配方和实验结果来训练,所述锂电池性能模拟环境能够在给定电解液配方后模拟对应的实验结果;所述电解液配方推荐方法包括探索和利用两个阶段,探索阶段尽可能推荐数据密度小的电解液配方而非结果最优的电解液配方,因为密度小的点更有利于锂电池性能模拟环境的学习;当探索达到既定次数时进入利用阶段,所述利用阶段利用锂电池性能模拟环境推荐出最优电解液配方。本发明能够减少人力物力的投入,减少实验的迭代次数从而大大减少实验时间,在保证效果的同时降低电池生产成本。

标签:
加工技术
江苏 - 南京 来源:中冶有色网 2023-03-18
利用废旧锂电池制备核壳型三元正极材料的方法

本发明涉及一种利用废旧锂电池制备核壳型三元正极材料的方法,属于废旧锂离子电池回收技术领域。本发明的方法包括以下步骤:(1)将废旧锂电正极材料分成两份,一份还原酸浸,另一份磨细并置于碱液中;(2)对浸出液除杂,往净化液中加入一定三元盐液,配置成一定比例的三元离子溶液;(3)将磨细的料浆置于反应釜中,再并流加入配置好的三元离子溶液、氨水和液碱,反应一段时间,过滤、洗涤、干燥;(4)在干燥的物料中加入一定碳酸锂,混匀、煅烧,即得核壳型三元正极材料。本发明能够充分利用废旧锂电正极材料,其工艺操作步骤简单、合成产品性能优越,成本较低、产品附加值高,适合工业化应用。

标签:
加工技术
江苏 - 南京 来源:中冶有色网 2023-03-18
基于交替最小二乘法的锂电池SOH估计方法

本发明涉及一种基于交替最小二乘法的锂电池SOH估计方法,首先通过搭建的锂电池实验平台测量锂电池在充放电过程中的充电电压变换数据、充电电流变化数据和放电电压变化数据,然后提取等压升充电时间、等流降充电时间、等压降放电时间、等时间电压差四个特征值,最后结合交替最小二乘法计算锂电池的SOH,实现对锂电池SOH的有效估计。

标签:
加工技术
江苏 - 南京 来源:中冶有色网 2023-03-18
锂电池的储存箱
锂电池的储存箱 814     
 0

本发明公开了一种锂电池的储存箱,包括箱体、竖板、电机、带轮、齿条、条形通孔、齿轮、皮带、滑杆、第一滑槽、电动推杆、横板、导灰管、安装盒、导电圈、吸灰罩、放置框、伸缩杆、滑条、第二滑槽、安装板、集尘箱、滤尘网、风机、垫片、限位套、排气管、充气囊、导气管、电压传感器、电压传感器、转杆、毛刷、控制面板、单片机和连接杆。该种锂电池的储存箱可以更好的对锂电池进行存放,避免进行人工搬运,极大的降低了工作人员的工作强度,提高了锂电池的拿取和存放效率;可以更好的对箱体内的灰尘进行清理,避免了灰尘过多对锂电池造成影响,同时也避免了进行人工进行清理,极大的缩短了清洗时间。

标签:
加工技术
江苏 - 南京 来源:中冶有色网 2023-03-18
锂系列二次电池密闭化成装置及工艺

本发明涉及一种锂系列二次电池密闭化成装置及工艺,锂系列二次电池密闭化成装置由主体、塞柱、调节帽、密封圈、弹簧组成,锂系列二次电池密闭化成工艺采用以下几个步骤,预先在电池的上盖板焊上紧固密闭化成装置用的螺丝帽,将上盖板与已经装入电池芯的钢壳焊接,在干燥房内从安装此装置的预留孔注入电解液后,将锂系列二次电池密闭化成装置安装在上盖板上。整个电池已经真正密封完成,化成后的电池,放入真空箱内进行抽真空操作,使电池内处于真空状态,然后打开真空箱,取出电池,密闭化成结束,采用本发明能降低电池内水份,增强锂系列电池的性能,延长循环寿命,杜绝因鼓气而导致爆炸的危害性。?

标签:
加工技术
江苏 - 南京 来源:中冶有色网 2023-03-18
空中作业平台系统专用锂电池保护仓

本发明公开了一种空中作业平台系统专用锂电池保护仓,包括保护仓体以及设置在该保护仓体内部的锂电池、恒温恒压控制模块、温度探针、气压探针、加热膜、增压泵、减震云台、金属隔板和泡棉胶带。温度探针、气压探针、加热膜和增压泵分别与恒温恒压控制模块电性相连,温度探针和气压探针采集保护仓体内部的温度和气压数据并传给恒温恒压控制模块,恒温恒压控制模块控制加热膜和增压泵的工作。锂电池与保护仓体之间设置减震云台,恒温恒压模块设置在锂电池的一侧,且恒温恒压模块与锂电池之间设置金属隔板,锂电池两侧紧贴设置泡面胶带。本发明能够动态调节锂电池所处环境的温度和气压,减小降落过冲中对锂电池的冲击,提高了系统的安全性与可靠性。

标签:
加工技术
江苏 - 南京 来源:中冶有色网 2023-03-18
制备负载氯化锂强酸性离子交换树脂催化剂的方法

本发明公开了一种制备负载氯化锂强酸性离子交换树脂催化剂的方法,在反应器中加入1.5~7.5%氯化锂溶液,并加入强酸性阳离子交换树脂,控温40~90℃,进行络合反应4~16h,过滤,洗涤,在50℃下真空烘干,即可得到负载氯化锂强酸性离子交换树脂。该制备方法优点包括:负载氯化锂后,树脂内部结构和内表面变化不大,树脂的比表面积增加,孔容不变,平均孔径减小;氯化锂的负载量较大,约为14%;在相同条件反应条件下,负载氯化锂强酸性离子交换树脂催化剂的催化效果比浓硫酸和强酸性阳离子交换树脂的催化效果好;负载氯化锂强酸性离子交换树脂催化剂属非均相催化剂,比氯化锂催化剂更易分离回收。因此,采用催化精馏技术可实现硼酸三甲酯的清洁生产。

标签:
加工技术
江苏 - 南京 来源:中冶有色网 2023-03-18
梯次利用锂电池组排线焊接绝缘固定装置及固定方法

本发明公开了一种梯次利用锂电池组排线焊接绝缘固定装置及固定方法,涉及锂电池梯次利用技术领域。本发明中:上位塑框前后侧方位都配置有朝向锂电池电芯电极的电极脊柱打磨机构,上位塑框的电极导入槽口位置处安装有若干计数传感探头,上位塑框前后侧面板开设有若干层插合缺口,下位塑框开设有前后贯通的横向焊接区。纵向液压机构包括用于移动支撑锂电池电芯的电芯支撑板。固定装置包括在横向方位上与上位塑框前后面板移动插接配合的电极支撑机构,电极支撑机构连接有用于驱动电机支撑机构横向移动的横向液压机构。本发明提升了锂电池电芯电极脊柱的打磨效率,也便于锂电池电芯的快速焊接,使得梯次化利用的锂电池二次处理、加工效率得到提升。

标签:
加工技术
江苏 - 南京 来源:中冶有色网 2023-03-18
锂电池自动打磨加工系统及其打磨加工工艺

本发明涉及一种锂电池自动打磨加工系统及其打磨加工工艺,包括支撑底板、支撑柱、传送支板和打磨装置,所述的传送支板的左端中部上设置有槽,支撑底板的顶部上安装有支撑柱,支撑柱的顶部上安装有传送支板,传送支板的左端顶部上安装有打磨装置;所述的打磨装置包括转动支座、转动滑柱、转动弹簧、转动支架、打磨机构、下压支座、下压位置推杆、下压机构、锁定机构、升降气缸和升降台。本发明可以解决现有对锂电池打磨时存在的需要人工对锂电池进行打磨、人工对锂电池打磨效果差效率低、锂电池打磨时无法对锂电池进行牢固固定、人工对锂电池打磨时有弄伤手的隐患等难题。

标签:
加工技术
江苏 - 南京 来源:中冶有色网 2023-03-18
基于气体传感的锂离子电池状态评估及筛选方法

本发明公开了一种基于气体传感的锂离子电池状态评估及筛选方法,涉及锂离子电池技术领域,该方法包括放置传感器、锂离子电池化成及气体检测、初始容量确定、绘制并汇总浓度变化曲线、标定各自产气量、绘制并汇各自产气量变化曲线、标定产气总量、绘制并汇总产气总量变化曲线、锂离子电池状态评估及筛选等步骤,本发明基于气体传感获取锂离子电池化成过程中的产气种类、各种气体种类、各自浓度、各自产气量及产气总量的变化规律,从而对锂离子电池的状态进行准确有效的评估,并对其进行筛选,剔除状态异常的或不良的电池,有效保证了单体电池之间具有高度的一致性,从而提高电池组的可靠性及安全性,延长电池组的使用寿命。

标签:
加工技术
江苏 - 南京 来源:中冶有色网 2023-03-18
锂电池线性充、放电电路的控制系统

一种锂电池线性充、放电电路的控制系统,包括输入控制、充电控制和放电控制和锂电池。正常工作时外部电源VIN供电,VIN通过输入控制部分的功率管PM1为输出VOUT供电、通过充电控制部分的功率管PM2为锂电池充电,PM1和PM2的栅极分别由输入控制部分中恒流放大器和充电控制部分中的恒流放大器控制流过电流的大小。当VIN去掉或提供的能量不足以为VOUT端供电时,锂电池通过PM2反向为VOUT端提供电流,此时控制PM2的栅极是放电控制部分。通过VIN与VOUT电压的比较以及VOUT与锂电池电压的比较,判断系统处于充电还是放电状态,系统根据能量的供需平衡自动切换,达到锂电池充电和放电的动态路径控制。

标签:
加工技术
江苏 - 南京 来源:中冶有色网 2023-03-18
干法电极、固态锂离子电池及其制备方法

本发明公开了一种干法电极的制备方法,采用干法成膜法将电极材料制成电极膜,电极材料包括活性物质、导电材料、第一固体电解质材料和第一粘结剂;将电极膜辊压覆合在集流体上得正极/负极电极;将第二固体电解质材料、第二粘结剂采用干法成膜法制成电解质膜;将电解质膜辊压覆合在正极/负极电极表面,形成固体电解质层。本发明还公开了上述干法电极,依次包括集流体、电极层、固体电解质层和锂层,固体电解质层既能替代传统电池隔膜,提升电池能量密度,也能在组装电池之前防止因锂与硅之间接触引发锂化反应造成的发热起火问题;干法电极预锂化也能避免锂金属与电极或固体电解质中的溶剂反应。本发明还公开了包括上述干法电极的固态锂离子电池。

标签:
加工技术
江苏 - 南京 来源:中冶有色网 2023-03-18
锂电池电源管理电路及监控设备

本发明属于电源管理技术领域,尤其为一种锂电池电源管理电路及监控设备,包括电源管理模块、锂电池本体、监控系统、过载保护单元、单片机控制电路、存储模块、无线通信模块和显示模块。本发明通过单片机控制电路对电池温度监测模块、电压监测模块、电流监测模块和电池电量监测模块进行控制,是为了对该锂电池本体在进行充放电的电池温度、电流、电压和电池电量进行实时监测,然后通过过流保护单元、过压保护单元、过放电保护单元和过充电保护单元的使用,可以对该锂电池本体在过充电,过放电、过流和过压时进行停止充放电,从而可以有效避免该锂电池本体在充放电时发生安全隐患的问题,进而也保证了该锂电池本体在进行充放电时的安全性。

标签:
加工技术
江苏 - 南京 来源:中冶有色网 2023-03-18
退役动力锂电池梯次利用的筛选分类系统

本实用新型公开了一种退役动力锂电池梯次利用的筛选分类系统,包括控制计算机、回馈式直流程控电源、电压采样仪、电度表,回馈式直流程控电源通过通信线路与控制计算机相连,回馈直流电源通过主回路导线与待测锂电池负极相连,电压采样仪通过通信线路与控制计算机相连,电压采样仪与待测锂电池负极、正极之间分别通过测量回路导线相连接,电度表通过主回路导线与待测锂电池正极相连接,电度表与待测锂电池负极、正极之间分别通过测量回路导线相连接,基于退役动力锂电池的初始容量与能量数据来判定锂电池状态,再根据实际工程应用来进行筛选与分类,以提高利用率,降低锂电池成本,该系统简单可行,操作性强,易直接应用于工程实践。

标签:
加工技术
江苏 - 南京 来源:中冶有色网 2023-03-18
新型锂电池充放电自动监测装置

本实用新型公开了一种新型锂电池充放电自动监测装置,包括盒体,所述盒体与盒盖通过铰链转动连接,所述盒体表面设置有提手,所述盒体下端设置有底座,所述盒盖上端设置有太阳能电池板,所述底座底部设置有防滑脚垫,所述盒盖内侧设置有显示屏,所述盒体内部设置有锂电池仓,所述锂电池仓内部一端设置有弹簧,所述锂电池仓内部另一端设置有监测贴片,所述盒体一端设置有盒体卡槽,所述盒盖一端设置有盒盖卡扣,所述锂电池仓上端设置有充放电开关,所述底座内部设置有蓄电池,所述蓄电池一端设置有充电接口,通过设置的充放电开关,用于进行充放电测试,通过设置的电流传感器,用于对锂电池的电流进行感应。

标签:
加工技术
江苏 - 南京 来源:中冶有色网 2023-03-18
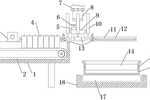
锂电池烘干下料装置
锂电池烘干下料装置 1055     
 0

本实用新型公开了一种锂电池烘干下料装置,包括支撑腿、固定板、电动机、转轴、皮带、滚筒、转动片、柱形锂电池本体、限位板、电源线、固定架、风机、电加热丝网、电动推杆、固定轴、放置板、放置槽、限位条、弹性弹簧、出口槽、收纳盒、支撑板和滑动壳体。该种锂电池烘干下料装置结构合理、设计新颖,实现对柱形锂电池本体的运输烘干,提高锂电池的烘干效率,便于锂电池内部水分的蒸发,满足锂电池使用的要求,延长锂电池的使用寿命,提高了锂电池的利用率,便于对烘干的锂电池进行收集,保障锂电池稳定下料,避免锂电池落在收纳盒时锂电池之间碰撞受到的损坏,提高锂电池的无损率,降低成本,具有良好的市场价值。

标签:
加工技术
江苏 - 南京 来源:中冶有色网 2023-03-18
上一页 133 134 135 136 137 ... 146 下一页
共146页    到第

中冶有色为您提供最新的江苏南京有色金属加工技术理论与应用信息,涵盖发明专利、权利要求、说明书、技术领域、背景技术、实用新型内容及具体实施方式等有色技术内容。打造最具专业性的有色金属技术理论与应用平台!

全国热门有色金属设备推荐
展开更多 +
全国热门有色金属技术推荐
展开更多 +

 

江西省隆恩特环保设备有限公司
宣传

报名参会
更多+

报告下载

有色专家
更多+

矿冶科技集团有限公司
中国工程院院士
矿冶科技集团有限公司工程公司
副总经理
有研资源环境技术研究院(北京)有限公司
副总经理/教授级高工
中铝检测科技(郑州)有限公司/国家轻金属质量检验检测中心
正高级工程师
长沙矿冶院检测技术有限责任公司
总经理
赤泥综合利用研究报告2025
推广

热门技术
更多+

推荐企业
更多+

福建省金龙稀土股份有限公司
宣传

发布

在线客服

公众号

电话

顶部
咨询电话:
010-88793500-807