青岛垚鑫智能科技有限公司
宣传

位置:中冶有色 >

有色技术频道 >

> 废水处理技术

分类:
全部
矿山技术
冶金技术
材料制备及加工技术
环境保护技术
分析检测技术
 
全部
废水处理技术
大气治理技术
固/危废处置技术
土壤修复技术
地区:
全部
北京
天津
上海
重庆
河北
山西
辽宁
吉林
黑龙江
江苏
浙江
安徽
福建
江西
山东
河南
湖北
湖南
广东
海南
四川
贵州
云南
陕西
甘肃
青海
内蒙
广西
西藏
宁夏
新疆
其他
其他
展开
 
全部
济南
青岛
淄博
枣庄
东营
烟台
潍坊
济宁
泰安
威海
日照
滨州
德州
聊城
临沂
菏泽

山东潍坊有色金属废水处理技术理论与应用

免费发布技术信息>>
四氯乙烯除氧脱水设备
四氯乙烯除氧脱水设备 1227     
 0

本发明公开了一种四氯乙烯除氧脱水设备,包括依次连通的进料泵、除氧干燥塔、过滤器和成品罐;除氧干燥塔包括塔体,塔体的上下两端均设有封头;塔体分为上、中、下三节,每节分别填装碱性填料和分子筛;塔体的下部和中部分别设有填料支撑栅板,所述填料支撑栅板上铺设有不锈钢网;塔体内填料的上部设有填料压板;上封头的中心位置设有进料口,下封头中心位置设有出料口;进料口和出料口上均设有过滤器Ⅰ,进料口处设有缓冲板;缓冲板下方设有可拆卸的分布盘;填料支撑栅板下方设有挡流板,降低了四氯乙烯中的水分、提高了四氯乙烯的pH值,四氯乙烯纯度不受影响,色度好;系统采用密闭循环,不会产生废渣、废水,操作简单,安全可靠。

标签:
废水处理
山东 - 潍坊 来源:中冶有色网 2023-03-19
温热一体化纯水矿化机
温热一体化纯水矿化机 1018     
 0

本实用新型所述的温热一体化纯水矿化机,包括进水管、出水管以及连接在进水管和出水管之间的过滤器,其特点在于:进水管与过滤器之间通过管道连接有流量计和低压开关,过滤器与过滤器之间连接有电磁阀;过滤器与出水管之间通过管道依次连接有水泵、逆渗透膜总成、水质管理器、后置多微矿化器总成;出水管通过三通接头连接凉水桶,凉水桶通过管道连接加热器;逆渗透膜总成包括外壳和安装在外壳中的逆渗透膜,逆渗透膜总成的后端连接有废水比和废水排放开关。本实用新型对饮用水的净化、矿化、加热、水质检测集中在一台机器中完成,体积大为缩小,实现了全自动无人值守工作,便于在家庭中推广使用。

标签:
废水处理
山东 - 潍坊 来源:中冶有色网 2023-03-19
中水回用装置及中水回用马桶

本实用新型公开了一种中水回用装置及中水回用马桶,包括进水道和储水腔,进水道的下端连接有过滤箱,过滤箱连接有废水收集管,过滤箱和进水道之间设有过滤网,水箱内设有过滤网自动清洗装置;废水收集管流出的水进入过滤箱,经过过滤网过滤后流入储水腔,当浮球被托起时,浮球杆带动竖向连杆向上运动,从而打开放水口盖,由于在放水开关的开启位置浮球开关的浮球位于溢流口的下沿之上,在放水开关开启时储水腔内液面高于溢流口的下沿,进水道内的水和储水腔内位于溢流口之上的水经进水道冲向过滤网,从而将过滤网上的杂物经清洗放水口冲出,实现了对过滤网的自动清洁,而且过滤网过滤掉了水中的杂物,彻底解决了中水过滤的技术难题,过滤后的中水可以回收利用,大大节约了水资源。

标签:
废水处理
山东 - 潍坊 来源:中冶有色网 2023-03-19
设备水道清洗装置
设备水道清洗装置 989     
 0

本实用新型适用于医疗保健技术领域,提供了一种设备水道清洗装置,所备水道清洗装置包括控制装置、进水装置和清洁装置,控制装置包括显示器、支撑架和控制面板,显示器位于支撑架上,且垂直于水平方向,支撑架垂直位于地面上,控制面板位于显示器下方,且该面板电性连接显示器,进水装置包括箱体、运输管道和进水泵,进水泵位于箱体内部,运输管道包括进水管道和出水管道,进水管道连接净水机上的废水箱,清洁装置包括淋浴头和把手,淋浴头位于理疗床上,把手连接淋浴头,淋浴头通过出水管道连接进水泵,借此,本实用新型利用净水机运作中产生的废水对设备水道进行清洗,不仅节约用水还节省了劳动力。

标签:
废水处理
山东 - 潍坊 来源:中冶有色网 2023-03-19
无泵纯水矿化机
无泵纯水矿化机 928     
 0

本实用新型涉及一种无泵纯水矿化机,包括进水管、出水管以及连接在进水管和出水管之间的过滤器,其特点在于:进水管与过滤器之间通过管道连接有水流增压轮,过滤器与出水管之间通过管道依次连接有四面阀、逆渗透膜总成、水质管理器、后置多微矿化器总成;出水管通过三通接头连接凉水桶,凉水桶通过管道连接加热器;逆渗透膜总成包括外壳和安装在外壳中的逆渗透膜,逆渗透膜总成的后端连接有废水比和废水排放开关。采用上述方案后,本实用新型对饮用水的净化和矿化集中在一台机器中完成,体积大为缩小,实现了无泵全自动无人值守工作,减少机器故障,便于在家庭中推广使用。

标签:
废水处理
山东 - 潍坊 来源:中冶有色网 2023-03-19
溴虫腈生产过程中两级盐过滤系统

一种溴虫腈生产过程中两级盐过滤系统,其特征在于,包括刮刀式自清洗过滤器,刮刀式自清洗过滤器上设置有进料口、固体料出口、混合液出料口,进料口分别与釜式反应器、清洗液罐通过管道连通,混合液出料口与第一物料暂存罐通过管道连通;第一物料暂存罐的底部一侧设置有第一出料口,第一出料口与袋式过滤器通过管道连通;袋式过滤器的底部设置有第二出料口,第二出料口与第二物料暂存罐通过管道连通;第二物料暂存罐的底部一侧设置有第三出料口,第三出料口与蒸馏装置连通。本实用新型能够简化操作,省去了废水的预处理及生化处理环节,使生产过程不再产生废水,有利于环境保护,降低能耗,从而间接降低生产成本。

标签:
废水处理
山东 - 潍坊 来源:中冶有色网 2023-03-19
静电油烟净化器内部过滤结构

本实用新型公开了一种静电油烟净化器内部过滤结构,包括净化器主体,所述净化器主体的下端固定连接有支撑腿,所述净化器主体的一端铰接有工作门,所述工作门的表面固定连接有门把手,所述净化器主体的一端固定连接有固定框,所述固定框的一端固定连接有集烟罩,所述集烟罩的一端套接有进气管,所述净化器主体的内部固定安装有净化箱,该静电油烟净化器内部过滤结构的过滤网是采用卡接结构固定在固定框上,需要清洁时可以快速将过滤网取出后直接进行清洁,且该静电油烟净化器内部过滤结构,设置有废水净化处理结构,能够对过滤过程中产生的废水进行净化处理。

标签:
废水处理
山东 - 潍坊 来源:中冶有色网 2023-03-19
用于复合菌ABR反应器的组合生物填料

本实用新型属于精细化工废水处理技术领域,尤其涉及一种用于复合菌ABR反应器的组合生物填料,所述组合生物填料包括内核、支架和外层,所述内核为球状,所述内核内设有若干闭孔,所述内核表面上设有若干开孔,所述内核上设有若干支架,所述外层与所述支架相抵包围所述内核,所述外层设有若干开口呈网状。本实用新型处理高浓度有毒精细化工废水时,利于复合菌大量增殖着床,水流阻力小,不易堵塞,易于反冲洗操作,可可缩短反洗后的恢复时间并保持反洗后的处理效果,显著提高ABR反应器稳定性。

标签:
废水处理
山东 - 潍坊 来源:中冶有色网 2023-03-19
铸件机械加工用设备
铸件机械加工用设备 1173     
 0

本实用新型公开了一种铸件机械加工用设备,包括固定架、废水箱、冷却箱、运送组件、排气组件、风扇、导流泵、雾化喷头、储水箱和水管,所述固定架的底部内侧固定安装有废水箱,所述固定架的顶部内侧固定安装有冷却箱,所述冷却箱的底部内侧设置有运送组件,所述冷却箱的顶部内侧设置有排气组件,所述冷却箱的一端内壁中央固定安装有风扇;该铸件机械加工用设备,操作简单,适用性强;设备通过安装有排气组件对冷却箱内部产生的雾气进行吸除,避免雾气对冷却工作影响,过滤空气防止气体对环境有所污染;设备通过安装有运送组件对铸件进行运送工作,方便对铸件在冷却时进行拿取和放置,提高了铸件冷却的工作效率。

标签:
废水处理
山东 - 潍坊 来源:中冶有色网 2023-03-19
二氯异氰尿酸钠的生产系统

本实用新型涉及一种二氯异氰尿酸钠的生产系统,生产系统包括一号反应釜、二号反应釜、过滤装置、烘干装置、储藏罐和废水箱,一号反应釜和二号反应釜上设有加热装置,一号反应釜上部设有原料进口,顶部设有尾气出口,下部设有氯气进口和出料口A,底部设有搅拌器A,出料口A与二号反应釜的进料口相连,二号反应釜的上部设有进料口A和进料口B,二号反应釜的下部设有出料口B,底部设有搅拌器B,出料口B与过滤装置的进口相连,过滤装置的出口与烘干装置相连,烘干装置的出口与储存罐相连,尾气出口与废水箱相连。本实用新型安全可靠,同时生产三氯异氰尿酸和二氯异氰尿酸钠的同时,可以有效利用未反应的氯气,实现了资源的优化配置。

标签:
废水处理
山东 - 潍坊 来源:中冶有色网 2023-03-19
危废处理用污泥仓
危废处理用污泥仓 1078     
 0

本实用新型公开了一种危废处理用污泥仓,包括仓体,所述仓体上固定安装有仓盖,所述仓盖上固定安装有进料座,所述仓体上开设有排放口,所述仓体内安装有分离筒,且分离筒下端开设有多个漏孔,所述分离筒上固定安装有固定环,且固定环下端固定安装有移动环,所述仓体的侧壁上开设有移动槽,且移动槽与移动环位置相对应,所述移动槽内固定安装有多个弹簧,所述仓盖上安装有与固定环相配合的推动机构。优点在于:本实用新型可对储存在仓体内的污泥进行废水的分离操作,便于后续更好的对其进行处理,同时可同时完成对分离筒的上下震荡以及对分离筒内污泥的搅拌操作,在不增加生产功耗的前提下提高了污泥与废水的分离速率。

标签:
废水处理
山东 - 潍坊 来源:中冶有色网 2023-03-19
烟气脱硫副产品回收用汽水分离器

本实用新型公开了一种烟气脱硫副产品回收用汽水分离器,包括处理箱,所述处理箱底部侧壁开设有进气孔,所述进气孔内固定连接有进气管,所述处理箱底部开设有出料口,所述出料口内固定连接有固液分离装置,所述处理箱顶部设置有除硫装置,所述处理箱顶部侧壁设置有集气装置。本实用新型含硫废气通过进气管进入处理箱中,在反应液与废气混合反应过程中,一些废气中的含硫物质通过化学反应产生沉降,通过引流管进入沉淀物堆放箱中,当沉淀物堆放箱中中的液体越来越多时,液体可通过连通管进入废水储存箱中,连通管内设置的过滤网可以有效的阻止沉淀物堆放箱中的沉淀物通过连通管进入废水储存箱中,能够有效地起到了固液分离的效果。

标签:
废水处理
山东 - 潍坊 来源:中冶有色网 2023-03-19
透明质酸钠制备用酒精回收装置

本实用新型属于透明质酸钠制备技术领域,具体涉及一种透明质酸钠制备用酒精回收装置,包括双锥干燥机,双锥干燥机的出气口连通第一冷凝器,第一冷凝器连通淡酒储罐和真空泵,淡酒储罐通过泵依次连通第一淡酒预热器和第二淡酒预热器,第二淡酒预热器通过管道连通淡酒进料口,酒精回收塔的废水出口连接排水管,排水管曲折穿过第一淡酒预热器,酒精回收塔的酒精蒸汽出口通过管道连接第二冷凝器口,酒精蒸汽出口与第二冷凝器之间的管道弯折穿过第二淡酒预热器,第二冷凝器连通浓酒储罐。实用新型提供的透明质酸钠制备用酒精回收装置,回收得到浓酒,利用酒精回收塔的排出废水和高浓度的酒精蒸汽依次对淡酒进行预热,节约能源。

标签:
废水处理
山东 - 潍坊 来源:中冶有色网 2023-03-19
氯化聚乙烯和氯化聚氯乙烯共线生产装置

本实用新型公开了一种氯化聚乙烯和氯化聚氯乙烯共线生产装置,包括通过管道和阀门依次连通的预混釜、氯化釜、水洗釜、中和釜、离心机、气流干燥器、流化床干燥器、旋振筛、混料机和包装秤,其中前叙设备的出料口均连通到后叙设备的进料口;预混釜还设有进水口、主料进口和辅料进口,氯化釜还设有氯气进口,水洗釜还设有水洗釜进水口和含酸废水出口,离心机还设有离心机废水出口,气流干燥器还设有气流干燥器废气出口,流化床干燥器还设有流化床干燥器废气出口。本实用新型即能够进行氯化聚乙烯的生产,也能进行氯化聚氯乙烯的生产,可以根据市场需要随时调整生产品种,投资少、效益好,投入产出比高。

标签:
废水处理
山东 - 潍坊 来源:中冶有色网 2023-03-19
即热式多功能制水机
即热式多功能制水机 984     
 0

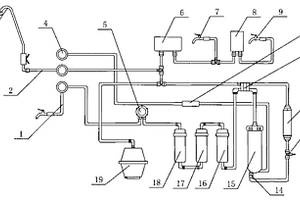
本实用新型公开了一种即热式多功能制水机,包括进水口、出水口以及连接在进水口和出水口之间的三个过滤器;进水口与第一过滤器之间通过管道连接有增压轮;第三过滤器与出水口之间通过管道依次连接有四面阀、水质管理器和后置多微矿化器;出水管通过三通接头连接凉水桶,后置多微矿化器和出水管之间连接有储水桶;所述过滤器与水质管理器之间连接有RO膜过滤器,RO膜过滤器包括外壳和安装在外壳中的逆渗透膜;RO膜过滤器的后端连接有废水比和废水口。所述凉水桶通过管道连接即热石英管加热器。所述过滤器的后面通过三通接头连接有超滤膜和托马琳微电解矿化芯。本实用新型体积小、结构简单、快速加热并可以提供不同水质,能满足人们的不同需求。

标签:
废水处理
山东 - 潍坊 来源:中冶有色网 2023-03-19
微生物酵素量化生产系统

本实用新型公开了一种微生物酵素量化生产系统,包括初级增量发酵罐,初级增量发酵罐的出料口连通有次级增量发酵罐,次级增量发酵罐的出料口连通有发酵增量后储罐;本实用新型采用逐级增量发酵方式,与现有技术的发酵方式相比,具有明显种群优势,成活率高,大大缩短了发酵时间,无形中减少了生产成本,并且批次生产之间产品质量稳定性好,适用于大批量生产的量化发酵;同时,由于采用全封闭隔离消毒、降温方式,与现有技术中直接通入罐体内消毒与降温方式相比,具有良好的隔离效果,保证罐体内不会通入不利于发酵菌种成活的其它种群,并且本实用新型对消毒、降温后产生的废水进行集中收集,可以继续循环利用,不会产生废水废气。

标签:
废水处理
山东 - 潍坊 来源:中冶有色网 2023-03-19
电解脱溶装置
电解脱溶装置 951     
 0

本实用新型公开一种电解脱溶装置,包括池体;所述的池体的上部设有支架;所述的支架的上设有液压油缸;所述的支架上设有电解部件;所述的电解部件包括正极组、负极组和安置座;所述的负极组上套设有超声波发生器;所述的超声波发生器设置于所述的安置座的下部。本实用新型采用以上技术方案后,与现有技术相比,具有以下优点:本实用新型的通过采用电极组的方式加大废水与电极的接触面积,加快脱氮的效率,同时进水管设置的过滤面板能够有效过滤残渣,进一步的加快脱氮的效率,液压油缸能够将电解部件提升至水面之上,减少废水对超声波发生器的工作影响,进而强化超声波发生器的震荡作用。

标签:
废水处理
山东 - 潍坊 来源:中冶有色网 2023-03-19
含高沸点有机物的硝酸的处理系统、以及制备取代硝基苯甲酸的设备

本实用新型提供了一种含高沸点有机物的硝酸的处理系统、以及制备取代硝基苯甲酸的设备。该处理系统包括:固液分离单元,具有待处理硝酸入口、废稀硝酸出口;硝酸预浓缩单元,具有废稀硝酸入口、回收稀硝酸出口、回收废水出口,废稀硝酸入口与废稀硝酸出口相连;硫酸法硝酸浓缩单元,具有浓硫酸入口、回收稀硝酸入口、回收浓硝酸出口、硫酸水溶液出口,回收稀硝酸入口与回收稀硝酸出口相连;硫酸浓缩单元,具有硫酸水溶液入口、废水出口和粗浓硫酸出口,硫酸水溶液入口与硫酸水溶液出口相连硫酸法硝酸浓缩单元相连;硫酸精制单元,具有粗浓硫酸入口、回收浓硫酸出口和固废出口,粗浓硫酸入口与粗浓硫酸出口相连,回收浓硫酸出口与浓硫酸入口相连。

标签:
废水处理
山东 - 潍坊 来源:中冶有色网 2023-03-19
纯水无菌机
纯水无菌机 967     
 0

本实用新型涉及一种纯水无菌机,包括进水管、出水管以及连接在进水管和出水管之间的过滤器,其特点在于:过滤器与出水管之间通过管道依次连接有电磁阀、水泵、逆渗透膜总成、紫外线杀菌器总成、后置活性炭总成;逆渗透膜总成包括外壳和安装在外壳中的逆渗透膜,逆渗透膜总成的后端连接有废水比和废水排放开关。在所述逆渗透膜总成和紫外线杀菌器总成之间通过三通接头连接有储水桶。所述逆渗透膜总成的后面连接有止逆阀。采用上述技术方案后,对人工授精用水的净化和杀菌集中在一台机器中完成,体积大为缩小,实现了全自动无人值守工作,便于在养殖场中推广使用。

标签:
废水处理
山东 - 潍坊 来源:中冶有色网 2023-03-19
用于提高溶解氧的污水处理装置

本实用新型提供了一种用于提高溶解氧的污水处理装置。该技术方案对污水处理装置的内部结构进行了全新设计。具体来看,本实用新型在污水处理仓中增设了旋转辊,利用电机驱动其在仓体内持续旋转,同时可采用加宽的辐条,在旋转辊转动的过程中在仓体内形成循环水流,有助于增进气液传质效率。此外,本实用新型将曝气器设置于进液管末端的网笼下方,可使废水在进入仓体初期即被空气充分分散。应用本实用新型,可在一定程度上改善废水处理过程的传质效率。

标签:
废水处理
山东 - 潍坊 来源:中冶有色网 2023-03-19
三氯乙烯装置废液处理工艺及其设备

本发明公开一种三氯乙烯装置废液的处理工艺,所述工艺,包括初始进料、对废液汽提塔加热、打开废液循环、继续进料、稳定进料;本发明还公开一种三氯乙烯装置废液的处理设备。与精馏技术相比,本技术无常规塔顶回流,必然塔釜加热使用的热源量小,利用塔釜排出的热废水对进料进行预热,热损耗小,热源消耗减少60%以上。本发明工艺排出的废水中,有机物含量小于50ppm;本发明三氯乙烯等有机物回收率大于99%,干燥前有机物的色度色度小于20,水分含量小于400ppm,干燥后,有机物中水份小于50ppm,色度小于15。

标签:
废水处理
山东 - 潍坊 来源:中冶有色网 2023-03-19
微生物酵素量化生产系统及方法

本发明公开了一种微生物酵素量化生产系统及方法,生产系统包括初级增量发酵罐,初级增量发酵罐的出料口连通有次级增量发酵罐,次级增量发酵罐的出料口连通有发酵增量后储罐;本发明采用逐级增量发酵方式,与现有技术的发酵方式相比,具有明显种群优势,成活率高,大大缩短了发酵时间,无形中减少了生产成本,并且批次生产之间产品质量稳定性好,适用于大批量生产的量化发酵;同时,由于采用全封闭隔离消毒、降温方式,与现有技术中直接通入罐体内消毒与降温方式相比,具有良好的隔离效果,保证罐体内不会通入不利于发酵菌种成活的其它种群,并且本发明对消毒、降温后产生的废水进行集中收集,可以继续循环利用,不会产生废水废气。

标签:
废水处理
山东 - 潍坊 来源:中冶有色网 2023-03-19
污水处理一体化设备
污水处理一体化设备 1083     
 0

本发明公开了一种污水处理一体化设备,包括栅格装置、曝气装置、絮凝装置、杀毒装置且各装置间均管道连接,栅格装置包括栅格箱,栅格箱的一侧设有除料平台,除料平台内设有传输带组件,除料平台底部设有收集组件,曝气装置包括曝气箱,曝气箱底部设有转动组件,曝气箱一侧设有两个曝气风扇,絮凝装置包括絮凝桶,絮凝桶内设有过滤组件,絮凝桶一侧设有加药泵,杀毒装置包括外壳桶,外壳桶内设有透明水桶,外壳桶内设有多个灭菌组件,外壳桶一侧设有观察组件,透明水桶管道连接絮凝桶,透明水桶一侧设有出水管。本发明是一种便于废水内异物回收的,便于水体内有害物质氧化的,便于水体内小颗粒杂物沉淀的,便于进行水体消毒的污水处理设备。

标签:
废水处理
山东 - 潍坊 来源:中冶有色网 2023-03-19
单头法兰管喷漆装置
单头法兰管喷漆装置 1207     
 0

本发明公开了一种单头法兰管喷漆装置,包括底座和箱体,所述箱体设在底座上,在底座的左端设有废水池,右端设有电机,所述箱体的上端面设有油漆箱和水箱,其特征在于,该箱体的上端还设有排气口,在箱体的下端设有废水斗,所述箱体的两端设有箱门,所述箱体内的下部设有传送带,所述传送带通过链条与电机连接,在该传送带的两侧设有固定支架,所述固定支架上通过螺栓连接有多组喷枪,所述喷枪的一端通过输油管与油漆箱和水桶连接,另一端通过输油管连接有矩形的喷头Ⅰ、向上倾斜的喷头Ⅱ和垂直向下的喷头Ⅲ,所述喷头Ⅱ设在喷头Ⅰ和喷头Ⅲ的中间。本发明的有益效果:环保、卫生,提高了生产的效率和企业效益。

标签:
废水处理
山东 - 潍坊 来源:中冶有色网 2023-03-19
间甲基苯甲酸的绿色硝化处理方法

本发明提供了一种间甲基苯甲酸的绿色硝化处理方法。该绿色硝化处理方法包括:步骤S1,使间甲基苯甲酸与浓硝酸发生硝化反应,得到硝化反应液;步骤S2和步骤S3,对硝化反应液进行固液分离,得到硝化产物与废稀硝酸;步骤S4,对废稀硝酸进行预浓缩处理,得到回收废水、回收稀硝酸,回收废水中硝酸浓度低于回收稀硝酸中硝酸浓度;步骤S5,采用硫酸法对回收稀硝酸进行浓缩,得到回收浓硝酸、硫酸水溶液,回收浓硝酸返回步骤S1作为至少部分用于硝化反应的浓硝酸使用;步骤S6,对硫酸水溶液进行浓缩,得到粗浓硫酸;步骤S7,对粗浓硫酸进行精制,得到回收浓硫酸,回收浓硫酸返回步骤S5作为硫酸法浓缩回收稀硝酸的硫酸使用。使硝酸废液有效回收套用。

标签:
废水处理
山东 - 潍坊 来源:中冶有色网 2023-03-19
由焦化粗苯制取高纯甲苯的方法

本发明公开了一种由焦化粗苯制取高纯甲苯的方法,本方法是采用先由焦化粗苯经粗苯馏分切割工序提取甲苯馏分,之后将甲苯馏分经萃取精馏工序生产甲苯,粗苯馏分切割工序为将焦化粗苯经预热过滤后,依次经脱除轻组分、苯和甲苯馏分提取、苯馏分分离和甲苯馏分提取工序提取甲苯馏分,而萃取精馏工序为将甲苯馏分依次经萃取脱轻和萃取脱重工序后提取提甲苯产品。本发明是一种环保型甲苯的精制方法,整个工艺过程无酸渣、碱渣、废酸及废水污染等环境污染问题、产品纯度高、能耗低,操作简单,设备投资省。

标签:
废水处理
山东 - 潍坊 来源:中冶有色网 2023-03-19
溴虫腈的制备方法
溴虫腈的制备方法 862     
 0

一种溴虫腈的制备方法,以4-溴-2-(4-氯苯基)-5-三氟甲基吡咯-3-腈和氯甲基乙醚为原料,以碱金属碳酸盐或有机胺为缚酸剂,以酯类为为反应溶剂制备溴虫腈。本发明采用酯类溶剂,降低了后期废水的处理难度,大大降低了生产成本,降低了环保处理压力,生产成本要低于二乙氧基甲烷工艺20%,比酮类溶剂工艺低10%,废水量只有二乙氧基甲烷工艺的10%左右,酮类溶剂工艺的25%左右,较之传统的酮类溶剂,具有意想不到的有益效果。

标签:
废水处理
山东 - 潍坊 来源:中冶有色网 2023-03-19
钢铁酸洗废液的无害化处理装置

本实用新型公开了一种钢铁酸洗废液的无害化处理装置,属于废液回收处理技术领域,该装置包括通过管道依次连接的废液储存池、沉淀池和砂滤罐,所述沉淀池与所述砂滤罐通过排水管道连通,所述沉淀池与废液储存池之间设有文丘里混合器,所述文丘里混合器通过管道连通有碱液罐,所述沉淀池的底部连接有浓缩池,所述浓缩池通过废水管道与所述废液储存池连通,所述浓缩池通过排渣管道依次连接有酸洗废酸池、过滤装置和反应釜,所述酸洗废酸池的顶部连接有铁屑槽,所述反应釜顶部连接有稳定剂罐和氧化剂罐。使钢铁加工企业钢铁酸洗产生的废水、废酸得到综合处理和利用,无废水、废气、废渣产生,使企业真正实现了无害化清洁生产。

标签:
废水处理
山东 - 潍坊 来源:中冶有色网 2023-03-19
软水机
软水机 1011     
 0

本实用新型提供了一种软水机,包括树脂罐,树脂罐内装有阳离子交换树脂,树脂罐的底部设有软水出水管,软水出水管上设有软水出水阀,其特征在于:树脂罐的上方固定有盐罐,盐罐的出水端与树脂罐的出水端连接有冲洗管,冲洗管中间设有冲洗阀,树脂罐的上端设有废水管,废水管上设有废水阀。本实用新型采用了盐罐上置、树脂罐下置的设置方式,简化了软水机的结构,减少了制造和后期保养维护的成本;设置盐水经由树脂罐下部逆流向上的方式对阳离子交换树脂进行再生,可以大大提高再生的效果,节省盐水的用量;在设备中增加了前置过滤装置,使得过滤的水质更纯净。

标签:
废水处理
山东 - 潍坊 来源:中冶有色网 2023-03-19
能制出多种水质的制水机

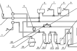
本实用新型涉及一种能制出多种水质的制水机。在进水口与过滤器之间通过管道连接有增压轮;过滤器与出水口之间通过管道依次连接有RO膜过滤器、后置多微矿化器,其中过滤器与RO膜过滤器之间,以及后置多微矿化器与出水口之间通过四面阀连通;出水口通过管道和三通接头连接到凉水桶的入水口,凉水桶的出水口通过管道连接加热器;RO膜过滤器的废水口通过管道依次串接有废水比和废水口;在所述后置多微矿化器与出水口之间的管道上通过三通接头连接有储水桶;在连接过滤器与四面阀之间的管道上通过三通接头连接有超滤膜和托马琳微电解矿化芯,超滤膜和托马琳微电解矿化芯依次串联在上述三通接头上。本实用新型对饮用水的净化、矿化、加热、电解、水质监测集中在一台机器中完成,体积大为缩小,出水压力稳定,实现了全自动无人值守工作,还满足了人们不同的水质需求。

标签:
废水处理
山东 - 潍坊 来源:中冶有色网 2023-03-19
上一页 7 8 9 10 11 ... 22 下一页
共22页    到第

中冶有色为您提供最新的山东潍坊有色金属废水处理技术理论与应用信息,涵盖发明专利、权利要求、说明书、技术领域、背景技术、实用新型内容及具体实施方式等有色技术内容。打造最具专业性的有色金属技术理论与应用平台!

全国热门有色金属设备推荐
展开更多 +
全国热门有色金属技术推荐
展开更多 +

 

江西省隆恩特环保设备有限公司
宣传

报名参会
更多+

2025年10月15日 ~ 17日
2025年10月17日 ~ 19日
2025年10月31日 ~ 11月02日
2025年11月07日 ~ 09日

报告下载

有色专家
更多+

中南大学
中国工程院院士
矿冶科技集团江苏北矿金属循环利用科技有限公司
书记 / 总经理
矿冶科技集团有限公司
中国工程院院士
任灵宝金源矿业股份有限公司
技术发展部经理
赣州有色冶金研究所有限公司
副主任/高级工程师
赤泥综合利用研究报告2025
推广

热门技术
更多+

推荐企业
更多+

福建省金龙稀土股份有限公司
宣传

发布

在线客服

公众号

电话

顶部
咨询电话:
010-88793500-807