青岛垚鑫智能科技有限公司
宣传

位置:北方有色 >

有色技术频道 >

> 废水处理技术

分类:
全部
矿山技术
冶金技术
材料制备及加工技术
环境保护技术
分析检测技术
 
全部
废水处理技术
大气治理技术
固/危废处置技术
土壤修复技术
地区:
全部
北京
天津
上海
重庆
河北
山西
辽宁
吉林
黑龙江
江苏
浙江
安徽
福建
江西
山东
河南
湖北
湖南
广东
海南
四川
贵州
云南
陕西
甘肃
青海
内蒙
广西
西藏
宁夏
新疆
其他
其他
展开
 
全部
济南
青岛
淄博
枣庄
东营
烟台
潍坊
济宁
泰安
威海
日照
滨州
德州
聊城
临沂
菏泽

山东潍坊有色金属废水处理技术理论与应用

免费发布技术信息>>
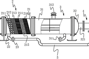
流化床微电解反应塔
流化床微电解反应塔 1050     
 0

本发明公开了一种流化床微电解反应塔,其特征在于,在筒体的下部设有混合筒,在混合筒的下端设有进水管,进气管设在混合筒的中部一侧,在筒体的内部通过支撑架支撑有承托层,铁碳填料填装在承托层的上方,填装孔设在筒体的下部一侧,在筒体的内壁上侧设有溢流堰,出水管设在溢流堰上方的筒体上。通过以上设置,本发明可以利用水力搅拌和空气搅拌,使微电解塔中的铁碳填料在流体的承托作用下呈流化状态,避免铁泥堵塞和铁碳板结,提高处理效果。本发明操作简单,占地面积小,处理难降解的工业废水效果好。

标签:
废水处理
山东 - 潍坊 来源:北方有色网 2023-03-19
2-正戊基环戊-2-烯酮的制备方法

本发明公开了一种2‑正戊基环戊‑2‑烯酮的制备方法,具体涉及香料生产技术领域,包括以下步骤:步骤一:将2‑亚戊基环戊酮、溶剂、助剂、质子酸加入反应容器中,搅拌,加热至一定温度下,保温一定时间,保温至反应完毕;步骤二:降温至室温后,加入一定量碱中和,再经水洗、脱溶、减压蒸馏后得到成品2‑戊基环戊‑2‑烯酮。本发明使用催化剂量的助剂和质子酸,工艺条件温和,大大减轻了设备腐蚀,提高设备的安全性。采用催化剂量的酸,显著地减少了含盐废水生成量,降低了三废,绿色环保,有利于二氢茉莉酮酸甲酯的工业化大生产;本发明使用“一锅法”的反应方式,工艺流程简洁、操作简便,异构产物2‑正戊基环戊‑2‑烯酮的收率高。

标签:
废水处理
山东 - 潍坊 来源:北方有色网 2023-03-19
介孔SAPO-34分子筛的制备方法

本发明提供一种适合商业应用的介孔SAPO‑34制造方法,采用工业通用的水热合成方法,其中引入一种便宜的商业供应的有机造孔介质,吗啡啉及其衍生物,它在结晶过程中一次生成介孔结构,孔径可以通过它的N‑取代的有机基团大小来调节。造孔介质可通过蒸发回收和再利用,废水处理费用降低;生成的SAPO‑34结晶度高,水热稳定行和烯烃选择性高。

标签:
废水处理
山东 - 潍坊 来源:北方有色网 2023-03-19
草甘膦母液的处理方法
草甘膦母液的处理方法 1137     
 0

本发明涉及一种草甘膦母液的处理方法,包括以下步骤向草甘膦结晶母液中加入碱性物质,调pH至3-7,分层,上层液为富含三乙胺的母液,下层液为高浓度含磷母液;所得上层液中继续加碱性物质,调节pH至10-12,分液,分出有机相三乙胺,水相精馏回收三乙胺馏分,精馏所得废水经进一步生化处理后达标排放;所得下层液,多效蒸发浓缩,冷却至室温后,过滤,取滤饼,洗涤除去有机物,即得无机盐;取滤液经焚烧炉在600-900℃下焚烧,即得焦磷酸盐;本发明实现了草甘膦母液中的氯、磷及三乙胺的高收率的回收,且本发明工艺简单,环保无污染,适合用工业化大生产的推广使用。

标签:
废水处理
山东 - 潍坊 来源:北方有色网 2023-03-19
硼-多金属合金催化剂、制备方法及在糠醇加氢重排制备环戊酮中的应用

本发明提供一种硼‑多金属合金催化剂,所述催化剂包括多种金属和硼;所述多种金属包括钴、镧、其他金属X。本发明还提供上述催化剂的制备方法及在糠醇加氢重排制备环戊酮中的应用,本发明使用了廉价的Co为主金属催化剂,添加少量的稀土金属La和第三种金属制成硼‑多金属合金,糠醇转化率93.9‑99.5%,环戊酮选择性94.4‑99.2%,摩尔收率89.8‑98.7%,反应过程有效避免了糠醇的聚合产生,蒸馏出产品后尾料废弃物很少。反应实现了水相套用,减少了废水排放。催化剂连续反应15批无明显失活,具有很好的活性与稳定性,成本大幅降低。本发明工艺条件温和,适合工业化生产。

标签:
废水处理
山东 - 潍坊 来源:北方有色网 2023-03-19
4-烷基-5-烷氧基噁唑类化合物的制备方法

本发明公开了一种4‑烷基‑5‑烷氧基噁唑类化合物的制备方法,包括如下步骤:在催化剂的作用下,4‑烷基‑5‑烷氧基噁唑‑2‑羧酸酯与酸在溶剂中进行酯交换反应得到噁唑酸中间体,所述的噁唑酸中间体再进行脱羧反应,得到4‑烷基‑5‑烷氧基噁唑类化合物。该制备方法反应过程中无废水产生,催化剂价廉易得,同时反应收率高,便于工业化生产。

标签:
废水处理
山东 - 潍坊 来源:北方有色网 2023-03-19
烯草酮中间体的绿色合成方法

本发明提供了一种烯草酮中间体的绿色合成方法,包括以下步骤:将化合物A在催化剂的作用下进行蒸馏,发生催化水解反应和脱羧反应,得到烯草酮中间体C;其中,R为C1‑C3的烷基;所述催化剂为有机酸、无机酸和ZSM分子筛中的一种或几种。本发明选择催化剂与反应蒸馏,可以由化合物A一步制得化合物C,操作简便,催化剂选择性高,副反应少,反应过程易于控制,整个工艺体系无废盐废水产生。本发明中的工艺反应条件温和,中间无须碱解、酸化、萃取、分层等操作,简化了工艺流程,缩短了反应时间,提高了生产效率,后处理简单,反应完毕即可得到产物,避免了三废、降低了生产成本,符合环保要求,更适合工业化生产。

标签:
废水处理
山东 - 潍坊 来源:北方有色网 2023-03-19
制备2-溴-4-甲基苯酚的方法以及制备香兰素的方法

本发明公开了一种制备2-溴-4-甲基苯酚的方法,其特点是先在氯苯类溶剂中溴化并驱赶溶液中的卤化氢随后蒸馏回收溶剂。该方法溶剂消耗低,产品收率高。本发明还公开了一种用2-溴-4-甲基苯酚制备香兰素的方法,该方法节省设备投资,生产成本低,彻底解决了废水污染问题。

标签:
废水处理
山东 - 潍坊 来源:北方有色网 2023-03-19
滨海盐碱地快速改良复混肥及其制备方法

本发明属于盐碱地治理技术领域,具体涉及一种滨海盐碱地快速改良复混肥及其制备方法,所述复混肥其由4‑5重量份的脱硫石膏、1.0‑1.2重量份的磁化粉煤灰、1.0‑1.5重量份的腐植酸、0.23‑0.25重量份的多羟基磷酸酯、0.5‑0.8重量份的壳聚糖、0.5‑0.7重量份的过磷酸钙、0.1‑0.3重量份的糠醛渣、0.1‑0.2重量份的含氮及磷化肥及1重量份的微生物菌剂溶于1000重量份工业酸性废水制得,1重量份的微生物菌剂中有效菌含量为5‑6亿个。本发明制备的复混肥适应于滨海盐碱地的改良,对于我国滨海地区盐碱地的治理具有重要作用。

标签:
废水处理
山东 - 潍坊 来源:北方有色网 2023-03-19
氯乙酰胺类化合物的合成方法

本发明公开了一种氯乙酰胺类化合物的合成方法,在反应釜中,将仲胺化合物溶于有机溶剂,升温至回流,向其中加入氯乙酰氯,回流反应0.5~20个小时,得到氯乙酰胺类化合物,本发明的氯乙酰胺类化合物的合成方法,不使用缚酸剂,减少了后处理过程中废水的排放,通过保持体系的回流状态使反应生产的氯化氢气体排出体系,并在体系之外被水吸收,得到纯度较高的盐酸,变废为宝,并且符合安全环保的生产标准,减少了三废排放;本发明的氯乙酰胺类化合物的合成方法,操作步骤少,反应速度快,产品收率高,纯度高,生产成本低,安全环保,适合工业化的大规模生产。

标签:
废水处理
山东 - 潍坊 来源:北方有色网 2023-03-19
低洼盐碱地乔木种植用改良剂及其使用方法

本发明属于盐碱地治理技术领域,具体涉及一种低洼盐碱地乔木种植用改良剂及其使用方法,所述改良剂其由6‑7重量份的脱硫石膏、2‑2.5重量份的磁化粉煤灰、1.3‑1.7重量份的磁化硫铁矿灰、0.15‑0.2重量份的脲醛树脂、0.23‑0.27重量份的腐植酸、0.12‑0.18重量份的柠檬酸、0.15‑0.2重量份的碎石、0.85‑1.0重量份的农家肥、0.10‑0.15重量份的秸秆、0.05‑0.1重量份的糠醛渣及1重量份的微生物菌剂溶于1000重量份工业酸性废水制得,1重量份的微生物菌剂中有效菌含量为2.0‑3.0亿个。本发明制备的改良剂适应于低洼盐碱地的改良,脱盐快速,治理成本低,使用效果显著。

标签:
废水处理
山东 - 潍坊 来源:北方有色网 2023-03-19
海绵铁净水剂及其制备方法与应用

本发明涉及一种海绵铁净水剂及其制备方法与应用,该净水剂原料质量百分比组成如下:活性成分60-90%,粘合剂5-15%,成孔助剂5-25%,所述的活性成分为海绵铁、锌粉、银粉和无烟煤的混合物,所述的粘合剂为铝钒土、粘土和氧化钙的混合物,所述的成孔助剂为酒石酸、柠檬酸、草酸、腐殖酸和纤维素的混合物。本发明可与双氧水或臭氧等氧化剂组合应用,用于处理各类难生化降解的废水,可作为锅炉水和工业用水的除氧剂,可作为油田回注水的除氧剂或硫化氢脱除剂。

标签:
废水处理
山东 - 潍坊 来源:北方有色网 2023-03-19
固定床连续离子交换制备碳酸钾的方法

本发明公开了一种固定床连续离子交换制备碳酸钾的方法,采用固定床连续离子交换装置,包括吸附上钾、饱和树脂洗涤、淋洗脱钾、贫树脂洗涤四个模块,将氯化钾转化为碳酸氢钾,进而制备碳酸钾。四个模块组成一套固定床连续离子交换系统,配合自动控制系统,按时序运行、切换,实现自动轮转式连续操作,以较短的操作时间,实现吸附、淋洗、洗涤时间相互匹配,大幅提高离子交换树脂周转率以及原料利用率,氯化钾利用率达到99%以上,碳酸氢铵利用率95%以上。饱和树脂及贫树脂的洗涤采用料液排空后多柱串联洗涤方式,以较小的洗涤水用量达到洗涤要求,控制洗涤水的用量正好返回配制吸附原液和淋洗剂,从而实现无废水排放及原料的高效利用。

标签:
废水处理
山东 - 潍坊 来源:北方有色网 2023-03-19
苯甲酸精制工艺用水再生方法

本发明的苯甲酸精制工艺用水再生方法,涉及苯甲酸工业精制技术领域,用于处理苯甲酸重结晶过程中的废水,其中,重结晶的一次水中联苯类物质含量在1500mg/kg‑3000mg/kg之间,多次重结晶的水中联苯类物质在5000mg/kg‑40000mg/kg之间;再生方法包括预处理、复分解、过滤、沉淀、二次过滤、脱盐;通过本发明的再生方法,能够使工艺水中的邻苯类物质达到工业三级水要求;使处理后的水能够循环使用;能够将邻苯类物质降低至40.01mg/kg。

标签:
废水处理
山东 - 潍坊 来源:北方有色网 2023-03-19
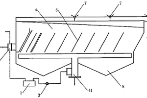
次表面气浮澄清器
次表面气浮澄清器 1076     
 0

本实用新型涉及给排水领域,属于一种工业废水以及机械行业含油废水的处理设备,特别涉及一种气浮设备。次表面气浮澄清器,包括旋流溶气管、刮板机、循环水泵和气浮池,气浮池底部设有出水口,还包括均衡装置,均衡装置为可瞬间释放高压循环水的装置,均衡装置底部接循环水进水管,顶端分流为多管道高压水流环射喷射管,所述的旋流溶气管内壁上设有一个或多个空腔,在每个空腔的出口设有微孔板,每个空腔的进口通过进气管与空气压缩机出口相连,且进水采用切向进水方式;所述的气浮池底部的中部设有波形斜板,顶部设有刮板机。气浮效果好,悬浮作用充分,彻底除去悬浮物粒,同时,污水处理成本低。

标签:
废水处理
山东 - 潍坊 来源:北方有色网 2023-03-19
蒸汽硫化橡胶制品热能回收综合系统

本发明公开了一种蒸汽硫化橡胶制品热能回收综合系统,包括软化设备、高效换热器、储水罐、换热器、蒸汽锅炉、储气罐、硫化罐和废水池,其特征在于,所述括软化设备、高效换热器、储水罐、换热器、蒸汽锅炉、储气罐、硫化罐和废水池之间通过多条管道连接,在软化设备和蒸汽锅炉的左端分别外接有自来水池和燃气罐。通过以上设置,本发明储水罐中的软化水常年保持恒温,有效减少燃料的消耗量,且热能回收利用率较高,有效节约燃料消耗量。本发明设有智能控制系统,可实现智能化控制,且能够实现二级加热,即使用燃烧尾气及废蒸汽二级加热,减少高温废蒸汽的产生,节约能源。

标签:
废水处理
山东 - 潍坊 来源:北方有色网 2023-03-19
利用磷石膏制备高品质建筑石膏的方法

利用磷石膏制备高品质建筑石膏的方法,包括以下步骤:将化工厂排出的磷石膏渣先输送至振动分选机分选,然后送入清洗机中利用工业废水进行初步冲洗,去掉矿物杂质;再在清洗机中通过真空过滤、多次喷淋水洗,加入改性剂调节PH,抽干;将清洗过的磷石膏原料进行破碎,送入干燥机内进行烘干,干燥温度为100~150℃;烘干后再进行细磨,然后输送至煅烧炉进行煅烧,煅烧温度为180~240℃;煅烧后的物料通过冷却出料输送机构进行降温及输送,冷却后进行选粉,然后进入均化库进行均化;本发明可有效处理化工固废磷石膏,不仅能避免因堆放而引起的二次污染问题,还可以把副产石膏的化工工业和建材工业有机结合起来,变废为宝,实现磷肥和磷酸等工业的无废渣排放。

标签:
废水处理
山东 - 潍坊 来源:北方有色网 2023-03-19
高效氧化处理器
高效氧化处理器 1229     
 0

本实用新型涉及一种高效氧化处理器,包括罐体,所述罐体的中心处设置有缓流筒,所述缓流筒的上部连接有进水管和加药管,所述罐体内设置有多个导流筒,所述罐体的上部设置有出水槽底板,所述出水槽底板上设置有穿孔筒和出水槽外板,所述穿孔筒和出水槽外板之间形成出水槽,所述出水槽外板上设置有与出水槽连通的出水管;本处理器结构简单,通过本高效氧化处理器大大提高了高浓度有机废水或工业废水的净化处理能力,降低了净化处理成本,本处理器解决了现有常规的废水处理方法难以净化或无法满足净化处理的技术问题。

标签:
废水处理
山东 - 潍坊 来源:北方有色网 2023-03-19
全铵盐体系生产吐氏酸并副产硫酸铵或氯化铵的方法

本发明公开了一种全铵盐体系生产吐氏酸并副产硫酸铵或氯化铵的方法。它是在吐氏酸生产全流程不使用含钠的碱,而用氨,并保持全铵盐体系。吐氏酸母液经萃取、氧化、蒸发、结晶,副产得到纯硫酸铵或氯化铵。在获取主产品吐氏酸的同时可联产硫酸铵和氯化铵两种副产品,实现了吐氏酸生产工艺废水中无机盐的资源化利用;采用蒸发浓缩制铵盐,全部吐氏酸母液废水都经蒸发处理,蒸出的冷凝水全部回用到吐氏酸生产的所有用水环节。如:吸收氯化氢,吸收二氧化硫,吸收氨,中和以及吐氏酸过滤后的洗涤等,形成了工艺水的闭路循环,是一种最接近实现吐氏酸生产无废水排放的改良新工艺。

标签:
废水处理
山东 - 潍坊 来源:北方有色网 2023-03-19
电解式气浮机
电解式气浮机 1103     
 0

本实用新型公开了一种电解式气浮机,包括出水集水管、排泥管、排空管、进水管、箱体、刮渣装置、出水管、排渣管、第一加药口、第二加药口、管道混合器和进水布水管;本实用新型产生微气泡量多,气泡载荷大;浮渣与出水完全隔离分排,出水质量高;污染物去除率高;既可以去除废水中的疏水性污染物,也可以去除废水中的亲水性污染物,能一次性去除含油废水中多种污染物,具有浮渣含水率低和停留时间短两个显著优势,有利用污泥的干化处理且大大缩短了处理周期;另外投资和运行成本低;设备结构简单、占地面积小、操作维修方便,可广泛用于工业废水和生活污水的处理。

标签:
废水处理
山东 - 潍坊 来源:北方有色网 2023-03-19
带有余热回收结构的玻璃钢圆形冷却塔

本实用新型公开了一种带有余热回收结构的玻璃钢圆形冷却塔,属于冷却塔技术领域,其技术方案要点包括玻璃钢冷却塔本体和热交换箱,玻璃钢冷却塔本体内部的底端设置有循环水池,玻璃钢冷却塔本体的外侧壁开设有进风窗,循环水池的上方通过填料架安装有散热填料层,进风窗位于循环水池和散热填料层之间,散热填料层的上方设置有喷淋管,纵波浪管和横波浪管受热和热交换箱内注入冷水进行热交换,便于降低废水的温度,喷洒出的废水有效的提高工业废热的喷淋热交换面积,在玻璃钢冷却塔本体的外侧壁开设有进风窗,玻璃钢冷却塔本体上端设置电机和风机,有效的降低工业废热水的温度,有效的提高了玻璃钢冷却塔体的冷却换热效。

标签:
废水处理
山东 - 潍坊 来源:北方有色网 2023-03-19
微波多效过滤系统
微波多效过滤系统 842     
 0

本发明提供一种微波多效过滤系统,属于工业废水处理技术领域,包括分隔箱、放入口、混合箱、连接管和分离箱,所述分隔箱顶部开设有放入口,且分隔箱底部设置有混合箱,分隔箱与混合箱内部连通,混合箱一侧设有多个分离箱,混合箱与分离箱通过多个连接管连通,分隔箱一侧开设有缺口,且分隔箱内部位于缺口处设有对废水进行初级过滤的隔离机构,所述分隔箱内部设有将隔离机构锁定的锁定机构,在隔离机构的作用下,除废水中含有的砂石、木块、塑料等大块杂物,实现初级过滤的作用,在锁定机构的作用下,实现了隔离机构的安装,在减震组件的作用下,减少了废水投放进入分隔箱内部时的冲击力,避免隔离机构长期被废水冲击而导致损坏。

标签:
废水处理
山东 - 潍坊 来源:北方有色网 2023-03-19
化工用过滤器
化工用过滤器 1082     
 0

本实用新型公开了一种化工用过滤器,包括顺次连接的工作泵、预处理过滤器、烧结金属丝网过滤器及金属膜过滤器;所述预处理过滤器包括分离器、处理罐,分离器上具有进水口,分离器的下部为排污口,分离器上连接有连通管,连通管的一端与分离器连接,连通管的另一端与处理罐连通;本实用新型采用上述技术方案,能有效去除工业废水中的有毒有害物质,提高处理后的工业废水的水质。

标签:
废水处理
山东 - 潍坊 来源:北方有色网 2023-03-19
纤维素生产中蒸发废液的处理方法

本发明属于废水处理技术领域,公开了一种纤维素生产中蒸发废液的处理方法,具体包括以下步骤:(1)将蒸发废液静置,离心,得到混合盐和母液;(2)将混合盐与硫酸混合进行反应,对反应所得产物的体系进行过滤,对滤液进行蒸馏,收集馏分,对滤渣进行干燥,得到固体盐;(3)将步骤(1)的母液和醇溶剂混合,静置,离心,得到结晶盐和混合液;(4)将混合液进行蒸馏,得到馏分和蒸馏液。本发明的处理方法可以实现蒸发废液中醋酸盐以及乙二醇的资源化回收,得到更多的工业副产物,降低废水的处理成本,且处理方法简单、环保,不会对环境造成二次污染,生成的馏分以及废液均可作为工业产品售卖或作为原料循环利用。

标签:
废水处理
山东 - 潍坊 来源:北方有色网 2023-03-19
烯草酮的绿色合成方法

本发明提供了一种烯草酮的绿色合成方法,包括以下步骤:化合物CA与化合物CF在有机酸催化剂的作用下,在蒸馏的条件下进行反应,得到烯草酮;其中,R为甲基,R1为甲基或乙基。本发明选择催化剂与反应精馏,可以由化合物CA一步制得化合物TM,操作简便,催化剂选择性高,副反应少,反应过程易于控制,整个工艺体系无废盐废水产生。化合物TM收率高,在94%以上,纯度高,在93%以上,容易实行。本发明中的反应条件温和,中间无须酸洗、碱洗、萃取、分层等操作,简化了工艺流程,缩短了反应时间,提高了生产效率,后处理简单,反应完毕即可得到产物,避免了三废、降低了生产成本,符合环保要求,更适合工业化生产。

标签:
废水处理
山东 - 潍坊 来源:北方有色网 2023-03-19
酚醛树脂生产中的脱水处理装置及处理工艺

本发明公开一种酚醛树脂生产中的脱水处理装置及处理工艺,涉及酚醛树脂生产制造技术领域,反应釜与冷凝器相连接,冷凝器的出料口通过管道与气液分流器相连接,气液分流器下端的出液口与废水罐相连接,气液分流器的出气端通过真空泵与喷淋装置相连接,喷淋装置下端的出液口与废水处理装置相连接,喷淋装置上端的出气口与光催化装置相连接,本发明对酚醛树脂脱水工艺中产生的废水废气通过气液分流装置进行分离,从而进行分开处理,大大提高了工业废物的处理效果,防止反应物料有残留,处理不佳,避免对环境造成污染,增强了工业废物处理装置的实用性,具有良好的经济效益。

标签:
废水处理
山东 - 潍坊 来源:北方有色网 2023-03-19
稀土萃取乳化有机相的除杂回收方法

本发明提供了一种稀土萃取乳化有机相的除杂回收方法,包括有机相的分离、盐酸反萃、酸洗涤和水洗。所述盐酸反萃,将5‑8N盐酸加至第一有机相中,V第一有机相:V=4‑8:1,温度30‑40℃,静置12小时,回收水相,得到第二有机相:第二有机相的指标为Fe2O3 0.118‑0.31g/l,Al2O3 0‑0.01g/l,Na2O 0g/l,负载1.2‑2.1g/l,酸值1.4‑1.43mol/L,本发明的稀土萃取乳化有机相的除杂回收方法是对稀土生产过程中产生的废水进行再一步优化处理的方法,使用此方法处理过的稀土废水达到国家要求的工业化废水排放标准,全处理过程无污染属于清洁化处理。

标签:
废水处理
山东 - 潍坊 来源:北方有色网 2023-03-19
脱除氨碱法纯碱废渣氯离子的方法

本发明公开了一种脱除氨碱法纯碱废渣氯离子的方法,是将氨碱法纯碱废渣与污水处理厂中水和(或)含一定量有机物的工业废水混合,经固液分离后,洗涤滤饼,达到脱除氨碱法纯碱废渣氯离子的目的。本发明以污水处理厂中水和/或工业废水为洗涤水,具有工艺简单、成本低廉等优点,脱除氯离子的氨碱法纯碱废渣可用于生产水泥等建材,洗涤水可直接排海或排入盐池晒盐,既有环境效益又有经济效益。

标签:
废水处理
山东 - 潍坊 来源:北方有色网 2023-03-19
具有过滤吸附功能的换热装置

本实用新型公开了一种具有过滤吸附功能的换热装置,沿水的流向,换热装置依次设置有废水进水单元、过滤吸附单元以及换热单元。过滤吸附单元包括滤芯,沿水的流向,滤芯包括金属孔板、鹅卵石滤层、砾石石英砂滤层、磁铁矿石滤层、活化沸石滤层、生物质纤维除油滤层。工业废水依次通过各个滤层,采用物理方法对工业废水进行吸附过滤后进行换热利用,不会改变工业废水中的化学成分,不影响工业废水的循环利用,并且能够提高换热效率。换热装置还包括混合单元,过滤吸附单元还包括重质水收集槽,重质水收集槽通过重质水管道与混合单元相连通,在混合单元的混合管道中,重质水与经过换热之后的再利用水混合后一起重新进入工业用水系统中循环使用。

标签:
废水处理
山东 - 潍坊 来源:北方有色网 2023-03-19
餐厨垃圾处理设备
餐厨垃圾处理设备 861     
 0

本实用新型提供了一种餐厨垃圾处理设备,包括分离筛选装置、粉碎传动装置、固液分离装置、废水处理装置、物料输送装置以及微生物处理装置。本实用新型为一个餐厨垃圾处理的综合处理系统,能够将餐厨垃圾经过分离筛选装置的分选,粉碎传动装置的粉碎,固液分离设备的分离、废水处理装置的处理、物料输送装置以及微生物菌种的处理,最终将原本无用的餐厨垃圾处理成为可以用作肥料、饲料添加的中间产物,分离出的油脂可用作工业生产,实现了零排放、零污染。

标签:
废水处理
山东 - 潍坊 来源:北方有色网 2023-03-19
上一页 9 10 11 12 13 ... 22 下一页
共22页    到第

北方有色为您提供最新的山东潍坊有色金属废水处理技术理论与应用信息,涵盖发明专利、权利要求、说明书、技术领域、背景技术、实用新型内容及具体实施方式等有色技术内容。打造最具专业性的有色金属技术理论与应用平台!

全国热门有色金属设备推荐
展开更多 +
全国热门有色金属技术推荐
展开更多 +

 

江西省隆恩特环保设备有限公司
宣传

报名参会
更多+

报告下载

有色专家
更多+

江西理工大学
副校长/教授
赣州江钨钨合金有限公司
工程师
紫金矿业信息化研发中心
副总经理
云南锡业集团(控股)有限责任公司
副总经理
长沙矿冶院检测技术有限责任公司
总经理
赤泥综合利用研究报告2025
推广

热门技术
更多+

推荐企业
更多+

福建省金龙稀土股份有限公司
宣传

发布

在线客服

公众号

电话

顶部
咨询电话:
010-88793500-807