青岛垚鑫智能科技有限公司
宣传

位置:北方有色 >

有色技术频道 >

> 固/危废处置技术

分类:
全部
矿山技术
冶金技术
材料制备及加工技术
环境保护技术
分析检测技术
 
全部
废水处理技术
大气治理技术
固/危废处置技术
土壤修复技术
地区:
全部
北京
天津
上海
重庆
河北
山西
辽宁
吉林
黑龙江
江苏
浙江
安徽
福建
江西
山东
河南
湖北
湖南
广东
海南
四川
贵州
云南
陕西
甘肃
青海
内蒙
广西
西藏
宁夏
新疆
其他
其他
展开
 
全部
南京
无锡
徐州
常州
苏州
南通
连云港
淮安
盐城
扬州
镇江
泰州
宿迁

江苏南京有色金属固/危废处置技术理论与应用

免费发布技术信息>>
废屑固液分离机构
废屑固液分离机构 1231     
 0

本申请公开了一种废屑固液分离机构,属于先进制造与自动化技术领域,包括加工板、凹形滑板、支撑块和滑轮,所述加工板的底部与滑轮的顶部固定连接,所述滑轮的外壁与凹形滑板的内壁滑动连接,所述凹形滑板的底部与支撑块的顶部固定连接,所述加工板的一侧设置有驱动电机。该废屑固液分离机构,通过设置的驱动电机、随动块和摆动块的配合,可以推动加工板在水平方向的移动,并且配合容纳管、复位弹簧和滑动板,使得加工板受到驱动电机的推力后,在复位弹簧的作用下可以进行复位,从而可以加快加工板上废屑平铺效率,进而有利于加快液体和固体分离的效率,解决了废屑容易在加工板上出现堆积,导致固液分离的效率不佳的问题。

标签:
固废
江苏 - 南京 来源:北方有色网 2023-03-19
含盐废水中含高量有机物及焦油的蒸发结晶装置

实用新型公开了一种含盐废水中含高量有机物及焦油的蒸发结晶装置,包括主安装板以及副安装板,所述副安装板呈“L”字形,并倒装于安装板上壁面上,并水平板面向右侧延伸,所述安装板上连接有加工结构,所述加工结构上连接有二次加工结构;本实用新型涉及废水处理技术领域,本装置从结构角度着手进行创新,有效的提升废水浓度,将大部分固液分离后的母液重新输送回到蒸发系统继续进行蒸发,小部分分流至浆式蒸发器将废液水进一步提高浓度,然后进入抄板干燥机干燥减量、基本成固体排出干燥系统。

标签:
固废
江苏 - 南京 来源:北方有色网 2023-03-19
含氟废水高效沉淀与泥水分离一体化装置

本实用新型公开了一种含氟废水高效沉淀与泥水分离一体化装置,属于环境工程废水处理领域。装置包括加药反应区、沉淀区、集水区、集泥区和泥水分离区;将含氟废水与含钙溶液按反应配比送入处理装置,使氟化钙固体经过污泥自由沉淀、污泥压缩层、污泥密实层后经集泥区收集后进泥水分离区完成固液分离。处理过程中因不加入其它絮凝剂,所得的污泥杂质少、氟化钙含量高,可作为氟资源回收利用,同时污泥产生量少,因此处理综合成本低,本装置设计紧凑、占地面积小、自动化程度高、投资运行费用较低、便于推广。

标签:
固废
江苏 - 南京 来源:北方有色网 2023-03-19
生物纯化废糖蜜基环保胶粘剂、胶合板及其制备方法和应用

本发明公开了一种生物纯化废糖蜜基环保胶粘剂,其特征在于,其组分按重量比包含以下成分:废糖蜜60~75份;玉米秸秆25~30份;四硼酸钠1~3份;纤维素酶3~6份;果胶酶4~8份;葡萄糖异构化酶2~4份;氯化铵0.5~2份;乙酸铵1~5份;磷酸0.02~0.1份;固体酸催化剂0.05~0.1份;水18~25份;所述纤维素酶、果胶酶和葡萄糖异构化酶的重量比为(0.75~3):(1~4):1。本发明还公开了一种生物纯化废糖蜜基环保胶粘剂的制备方法及其应用和一种胶合板。本发明获得的胶粘剂耐水性好,胶合强度高,粘度适中。

标签:
固废
江苏 - 南京 来源:北方有色网 2023-03-19
生产5-氯-2-硝基三氟甲苯产生的工业废水的资源化处理方法

本发明提供一种生产5‑氯‑2‑硝基三氟甲苯产生的工业废水的资源化处理方法,该方法条件温和,操作简单,安全性高。该方法包括以下步骤:将生产5‑氯‑2‑硝基三氟甲苯产生的废水和FSBA投入到容器中,废水与FSBA的投料质量比为1:(0.5~2);机械搅拌下,在30~100℃下反应1~24小时;冷却至室温,过滤,用盐酸洗涤滤饼,并向滤液中滴加盐酸,直至滤液pH值为2~3,静置结晶,过滤,得到3‑三氟甲基‑4‑硝基‑苯酚固体。

标签:
固废
江苏 - 南京 来源:北方有色网 2023-03-19
重、磁、浮联合选矿产生废水的净化方法

本发明提供一种重、磁、浮联合选矿产生废水的净化方法。该方法包括步骤:(1)粗格栅过滤,去除10mm以上的大颗粒物质;(2)细格栅过滤,去除水中3‑10mm的小颗粒固体;(3)进入调节池,进行水量水质调节;(4)输送至混凝池,加入混凝剂、助凝剂,使悬浮物、胶体脱稳,破坏胶体的双电子层结构,增大胶体的尺寸,形成大的矾花;(5)进入沉淀池,进行沉淀处理;(6)沉淀出水后,自流至快滤池,进一步进行过滤处理,过滤后的清水排放。本发明能够使得废水达标排放。废水中主要污染物为悬浮物(SS)<150mg/L、化学需氧量(COD)、<150mg/L、石油类<5 mg/L。

标签:
固废
江苏 - 南京 来源:北方有色网 2023-03-19
使用寿命长的废气净化装置

本发明涉及一种使用寿命长的废气净化装置包括进气管、箱体、出气管、加水装置和调节机构,所述调节机构包括投料盒、密封板、传动组件、套管、连接杆、酸碱度测量仪、浮板和两个搅拌组件,所述搅拌组件包括竖杆和叶轮,所述传动组件包括电机、齿轮、齿条和限位单元,该使用寿命长的废气净化装置,通过调节机构在碱性溶液的PH值下降时投放固体溶剂,同时对溶液进行搅拌,从而延长该废气净化装置的使用寿命,提高了实用性。

标签:
固废
江苏 - 南京 来源:北方有色网 2023-03-19
苯胺废水铁泥后处理系统

本实用新型属于固体废弃物处理技术领域,公开了一种苯胺废水铁泥后处理系统,本实用新型的苯胺废水铁泥后处理系统包括预处理装置、箱式密闭板框压滤机和真空干燥装置,将苯胺废水铁泥经过空气催化氧化反应的清洁生产技术制备铁黑,再经密闭脱水、真空干燥制备成成品铁黑;能有效避免在干燥过程中空气对铁黑的氧化而发生质量问题,还能降低处理成本,达到资源化利用的效果。

标签:
固废
江苏 - 南京 来源:北方有色网 2023-03-19
含羟乙基纤维素及其加成物废水的生物降解装置

本发明公开了一种含羟乙基纤维素及其加成物废水的生物降解装置,包括第一支撑架上设置的传动装置、曝气装置、好氧池、厌氧池和缺氧池,好氧池内的第一搅拌轴内设置有曝气管,曝气管一端设有气体调节器,提高好氧池的反应速率,好氧池下方设有厌氧池,厌氧池下方设有缺氧池,缺氧池下方设有过滤池,过滤池内设有滤板,过滤池内设置滤板,滤板斜置于过滤池内,经过处理的废水从滤板下方进入过滤池,然后从滤板上方排出过滤池,固体不易附着在滤板上,且可通过反冲洗进行清理滤板,过滤效率高,操作简单,本发明结构简单,曝气装置安装拆卸方便,不占用空间,曝气搅拌同步进行,过滤效率高,不堵塞,高效降解。

标签:
固废
江苏 - 南京 来源:北方有色网 2023-03-19
适用于生物降解塑料生产废水零排放处理设备

本实用新型涉及生物降解塑料生产废水零排放处理领域,具体为一种适用于生物降解塑料生产废水零排放处理设备,由预处理单元、膜浓缩单元和MVR蒸发浓缩单元组成;经过MBR系统处理,污泥从污泥口排出,出水经水泵压入水处理臭氧氧化装置,进一步去除废水中的COD,提高可生化性,废水流入膜浓缩系统进行高倍浓缩,膜浓缩系统尽可能减少浓水产量,膜浓缩采用多段多级系统,同时也是减少进入蒸发系统的水量,但又兼顾膜系统的稳定性和可靠性,浓水通过给水泵压入MVR蒸发浓缩系统,浓水通过给水泵压入MVR蒸发浓缩系统,浓浆液通过离心机脱水形成固体结晶盐,蒸发器内蒸发后的二次蒸汽降温后形成冷凝水,便于收集后回用。

标签:
固废
江苏 - 南京 来源:北方有色网 2023-03-19
用于单氰胺废渣的脱氰系统

本实用新型涉及固体废弃物处理技术领域,尤其是一种用于单氰胺废渣的脱氰系统,包括处理单元和电控单元,电控单元控制处理单元工作,电控单元内设有电控装置,处理单元包括进料系统、脱氰处理系统、供水系统和臭气处理系统,进料系统、脱氰处理系统、供水系统和臭气处理系统的各功能单元与电控单元控制连接;本实用新型所述系统中各功能单元为模块化设计、结构紧凑、便于快速拆装、转运和自由组合,且自动化程度高、便于人员操作和维护,能够很好地对单氰胺废渣进行脱氰,并且还可以有效的防止因臭气和废水造成环境二次污染事故的发生,经济效益好,值得推广。

标签:
固废
江苏 - 南京 来源:北方有色网 2023-03-19
氯苯生产废水吸附树脂的再生方法

本发明公开了一种氯苯生产废水吸附树脂的再生方法,属于树脂再生领域。它包括1)将氯苯生产废水经固体颗粒除杂处理;2)将步骤1)处理后的废水经过树脂吸附分离有机物;3)采用水蒸汽对吸附后的树脂进行第一次脱附;此步后,具有较低沸点的苯及氯苯被水蒸气吹脱下来,通过冷凝器及油水分离器处理后形成油层;4)采用氯苯的生产原料苯作为脱附剂对步骤3)处理后的树脂上残留吸附的高沸点有机物进行第二次脱附;5)采用水蒸汽对步骤4)处理后的树脂进行第三次脱附,得到的油层与步骤3)、步骤4)中脱附液油层合并进入精馏塔分离,水层用于吸收氯苯生产过程中的HCl尾气。本发明能有效去除树脂中吸附的高沸物、提高树脂的再生率。

标签:
固废
江苏 - 南京 来源:北方有色网 2023-03-19
基于炭化路径的乡村农林牧生物质废弃物处置模式

本发明公开了一种基于炭化路径的乡村农林牧生物质废弃物处置模式,属于固体废弃物资源化技术领域。本发明充分的利用了田间太阳能、道路和地下空间,构建了以地上光伏发电和地下原位炭化方式为主体的农林牧生物质废弃物绿色处置模式,集生物质废弃物收集、初始炭化、直接/间接资源化、高值化、光能发电、农业生产休息场所、农业生产科普等为一体,克服了生物质废弃物难以收集、难以初始炭化、难以处置的问题,同时为新农村建设提供了科普、培训与休息的场所与基础设施,促进农业生产的升级、换代。

标签:
固废
江苏 - 南京 来源:北方有色网 2023-03-19
有机废水生化处理装置

本实用新型公开了一种有机废水生化处理装置,包括支架和排水管,所述支架的顶部连接有进水管,靠近凹槽的所述除杂箱的一侧开设有排污口;所述连接管的一侧连接有除臭箱,所述除臭箱的顶部连接有消毒室,所述消毒室的一侧连接有导管,所述导管的一端连接有水泵,所述水泵与除臭箱之间连接有喷头,远离连接管的所述排水管连接在除臭箱的一侧。该种有机废水生化处理装置,设置有滑板与排污口,在废水从进水管进入除杂箱后,废水中的固体杂物会被连接管内的过滤网阻挡过滤下来,停留在除杂箱内,然后转动双向螺纹杆,使第一连接块在滑槽内向两侧滑动,带动滑板也在凹槽内向两侧移动,使排污口打开,使除杂箱内的杂物及时从排污口排出清理。

标签:
固废
江苏 - 南京 来源:北方有色网 2023-03-19
利用两相混合厌氧消化液溶淋废弃生物质产沼气的方法

本发明公开了一种利用两相混合厌氧消化液溶淋废弃生物质产沼气的方法,包括:首先用搅碎机将废弃生物质加工成碎沫,其次,将加工完成生物质放进产酸罐,加入生物质油菜秸秆、餐厨垃圾及禽畜粪便的挥发性固体,随后将厌氧反应器产气罐取出的消化液加入到产酸罐中,充分搅拌后,在产酸罐中堆沤发酵6天,将产酸相的发酵液由水泵运输到产气相进行发酵,生产沼气即可。优点为该方法流程简单,厌氧发酵所需材料易得,成本低,且通过沼液回流溶淋后,可明显促进生物质的溶解,提高原料的产酸产气率,提高沼液重复利用率,充分有效的提高废弃资源的再生利用性与经济循环性。

标签:
固废
江苏 - 南京 来源:北方有色网 2023-03-19
含盐废水处理用结晶器

本实用新型公开了一种含盐废水处理用结晶器,包括结晶器主体以及固定架,所述结晶器主体下端上安设有第一腔体,所述第一腔体上端高于所述结晶器主体液位高度,所述第一腔体侧壁上安设有进料管,且与所述结晶器主体相连通,所述进料管上端安设有出料口,所述结晶器主体上安设有排气结构,所述第一腔体一侧安设有循环结构,本实用新型涉及含盐废水处理技术领域,该含盐废水处理用结晶器,采用筒体式竖长形结构设计,物料在结晶器主体的上部进入结晶器主体内,已经成形的固体颗粒从结晶器主体的上部向底部垂落后被排出结晶器主体,在结晶器主体的下端安设一个高出结晶器主体液位的第一腔体,用于排气作用。

标签:
固废
江苏 - 南京 来源:北方有色网 2023-03-19
造纸制浆废液木质素改性固沙材料的制备方法及生产装置

本发明涉及一种造纸制浆废液木质素改性固沙材料的制备方法及生产装置。该方法包括顺序进行的下列步骤:(1)含有木质素的制浆废液的浓缩;(2)将浓缩后的制浆废液和醛类化合物投入反应釜进行反应;(3)在反应釜中加入尿素和醛类化合物进行反应;(4)在反应釜中加入固化剂并混合。通过上述步骤,生成具有较多“木质素-尿醛-木质素”结构的交联产物,经过喷雾干燥后可形成固体产品。该生成设备主要由依次连接的预热器、浓缩装置、浓黑液槽、反应釜、成品液槽和喷雾干燥机构成。本发明的固沙材料变废为宝,生产成本低,喷施于沙丘表面后6~24小时即可在沙丘表面形成固结层,并可生物降解,适于与植被恢复相结合用于大面积沙漠化地区的生态环境建设。

标签:
固废
江苏 - 南京 来源:北方有色网 2023-03-19
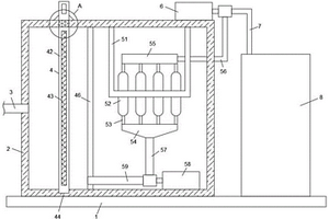
危险废物高效焚烧装置
危险废物高效焚烧装置 1158     
 0

本发明公开了一种危险废物高效焚烧装置,包括焚烧箱,焚烧箱的内腔通过挡板分为燃烧腔和集灰腔,焚烧箱的顶部设置有进料口和搅拌电机,进料口的顶部螺接设置有密封盖,搅拌电机的底部设置有搅拌轴,搅拌轴的外壁设置有搅拌叶,焚烧箱的右侧壁设置有出气装置和排灰电机,焚烧箱的通过进气管设置有鼓风机,排灰电机的左侧设置有转动轴,转动轴的外壁设置有清灰桨,清灰桨的底部设置有槽体,槽体的内腔设置有弹簧,弹簧的底部设置有刮板,焚烧箱的底部右侧设置有排灰口。本发明能够对固体废物进行充分燃烧,对燃烧后的不同状态的产物进行统一搅拌破碎成小体积废物,便于对燃烧箱中的燃烧产物进行处理,保证焚烧装置的清洁度。

标签:
固废
江苏 - 南京 来源:北方有色网 2023-03-19
利用废水在线电解制酸和碱电渗析装置及其方法

本发明公开一种利用废水在线电解制酸和碱电渗析装置及其方法,包括底板,所述底板的上表面固定连接有过滤箱,所述过滤箱的一侧固定插接有进水管,所述过滤箱的内部设置有过滤机构,所述过滤箱的内部设置有去离子机构,本发明所达到的有益效果是:将工业废水通过进水管通入过滤箱中,通过过滤网对其进行过滤,启动二号水泵将过滤完成的工业废水抽出并输送至多个离子交换柱中,多个离子交换柱中的离子交换树脂会将工业废水中的无用离子吸附掉,本发明方便清理过滤网上的固体杂质,可以防止过滤网堵塞,并且,多个离子交换柱同时进行去离子处理,可以快速、充分的将工业废水中的无用离子去除。

标签:
固废
江苏 - 南京 来源:北方有色网 2023-03-19
改性纳米铁的制备及其处理高浓度硝酸盐废水的方法

本发明公开了一种改性纳米铁的制备及其处理高浓度硝酸盐废水的方法,所述改性纳米铁的制备包括以下步骤:向亚铁盐溶液内加入表面改性剂壳聚糖溶液,在水浴环境中搅拌均匀,混合溶液中通入氮气排出反应环境中氧气后,匀速加入还原剂溶液,得到混合溶液;在氮气保护下,将铜盐溶液滴加到混合溶液中,得到黑色改性纳米铁固体。本发明制备的壳聚糖负载纳米零价铁铜复合材料分散性好、稳定性好、反应活性高,改性纳米零价铁作为电催化剂与电化学法联合使用处理高浓度硝酸盐废水,显著提高了改性纳米零价铁的高浓度硝酸盐废水处理能力。

标签:
固废
江苏 - 南京 来源:北方有色网 2023-03-19
有机氯农药污染土壤增效洗脱修复后的洗脱废水处理装置

本发明公开了一种有机氯农药污染土壤增效洗脱修复后的洗脱废水处理装置,包括并排放置的除泥罐和净化罐,除泥罐内部设有除泥模块,除泥模块包括三组水平设置的转轴以及绕三组转轴外侧转动的齿耙格栅,位于第二、第三转轴之间的齿耙格栅由竖直位于其两侧的滚动毛刷夹紧,使运动至此处的齿耙格栅渐变为垂直于第一隔板,净化罐内部设有净化模块,净化模块包括若干段回折型的输液管以及输液管中部贯穿且固定套设的过滤机构,本发明通过去除污泥和固体废物以及药物净化过滤,使处理后的废水达到可以直接排放的标准,装置结构合理,操作方便,自动化程度高,有利于进一步推广。

标签:
固废
江苏 - 南京 来源:北方有色网 2023-03-19
含盐废水分质回收方法

本发明公开了一种含盐废水分质回收方法,其包括步骤:(1)将含盐废水进行预处理;(2)对含盐废水进行预浓缩处理;(3)预浓缩后的废水料液进入冷冻结晶器,冷冻结晶后进行离心分离操作,得到十水芒硝;(4)将步骤(3)得到的十水芒硝引入到熔盐器中,蒸汽加热释放出结晶水,形成硫酸钠饱和溶液后,进入硫酸钠结晶器,最终离心分离干燥得到无水硫酸钠盐;(5)将步骤(3)中冷冻结晶后离心分离操作后外排的富含氯化钠的母液通入氯化钠蒸发结晶器,经浓缩后达到氯化钠饱和析出点,离心分离干燥后,得到氯化钠盐产品;(6)将氯化钠蒸发结晶器中的析盐母液和硫酸钠结晶器中的母液一起通入到杂盐结晶器中结晶,离心分离后得到杂盐固体。

标签:
固废
江苏 - 南京 来源:北方有色网 2023-03-19
废水处理高耐腐澄清器结构

本新型涉及一种废水处理高耐腐澄清器结构,包括罐体、导流管、刮泥器、斜管填料、承载架、牺牲阳极、检测电极及控制电路,罐体为轴线与水平垂直分布的闭合腔体结构,罐体侧壁上端面设一个进水口和一个出水口,侧壁下端面设一个冲洗口和一个排污口,罐体上端面设导流口,导流口与导流管相互连通,导流管位于罐体内与罐体间同轴分布,下端面与罐体下端面位于刮泥器正上方,刮泥器与罐体底部连接,斜管填料安装在承载架上端面。本新型一方面可有效的实现高效对废水中固体悬浮污染物分离作业的目的,另一方面可极大的提高设备整体对废水化学腐蚀和物理冲击磨损的抵御能力。

标签:
固废
江苏 - 南京 来源:北方有色网 2023-03-19
工业废水排放管道防堵装置

本实用新型公开了一种工业废水排放管道防堵装置,涉及防堵装置技术领域。本实用新型包括防堵装置本体,防堵装置本体内设置粗过滤网和细过滤网,防堵装置本体上设置有第一收集口、第二收集口、第一收集仓和第二收集仓,第一收集仓和第二收集仓内设置螺纹管,螺纹管内设置螺纹杆和磁铁,磁铁上设置支撑凸起和清除环。本实用新型通过在防堵装置本体内设置粗过滤网和细过滤网,便于对废水中的固体杂质进行过滤,避免堆积在排水管道影响排水;通过在第一收集口和第二收集口周侧面分别螺纹连接有第一收集仓和第二收集仓,便于将粗过滤网和细过滤网过滤下的杂质进行收纳;通过在第一收集仓和第二收集仓内设置有磁铁,便于对废水中的金属杂质进行吸附。

标签:
固废
江苏 - 南京 来源:北方有色网 2023-03-19
白钨选矿废水处理工艺

本发明公开了一种白钨选矿废水处理工艺,属于工业废水处理领域。步骤如下:A、向白钨选矿废水中投加石灰,使pH值调至11~12;B、脱稳沉淀后,固液分离;C、固体排入尾矿库,出水进入一级反应罐,并加入碳酸钠;D、进入二级反应罐,并向二级反应罐中加入助凝剂PAM,与PAM进行絮凝反应;E、自流进入沉淀池,底层浓缩污泥排入尾矿库;F、上清液进入微絮凝过滤器,5%出水作为反冲洗水排入尾矿库;G、95%出水中加入浓硫酸调节pH值至6~9;H、出水进入微涡流反应池,5%出水作为冲洗水排入尾矿库;I、95%出水经脱气塔脱除二氧化碳后即可回用于白钨矿选矿或直接排放。它提高了白钨选矿废水的回用率。

标签:
固废
江苏 - 南京 来源:北方有色网 2023-03-19
实验室危废协同处置系统

本实用新型公开了一种实验室危废协同处置系统,包括罐体(1),所述罐体(1)的顶部连通有桶装废液输入管(3)和罐车废液输入管(5),所述罐体(1)的顶部通过螺钉固定连接有电机(4),所述电机(4)的输出端贯穿于罐体(1)的顶部,所述电机(4)的输出端安装有第一旋转轴(2),所述罐体(1)的底部开设有废液排出管(7);本装置通过第一齿轮驱动第二齿轮,通过第一旋转轴的转动带动第二旋转轴表面焊接的第二搅拌叶片转动,对罐体的底部继续搅拌,防止固体杂质在罐体底部堆积,提高了液体危险废物混匀的效率。

标签:
固废
江苏 - 南京 来源:北方有色网 2023-03-19
含油废水回收处理器
含油废水回收处理器 1077     
 0

含油废水回收处理器,属环保设备技术领域。主要包括固体物分离箱、与分离箱连接的含油废水处理净化器、电器控制箱、及连接在净化器后的生态硫化床和吸附过滤箱及浮力自动吸油装置。本实用新型能有效去除污水中的油脂达99.5%以上,经过本实用新型处理后的污水,符合国家1998年1月1日规定和实施污水综合排放标准,回收的废油脂可作为化工原料或燃料。可广泛应用于宾馆、饭店、食堂、食品加工场所等含动、植物油废水的处理,也适合于加油站及机动车制造维修等单位含矿物油工业废水的处理。

标签:
固废
江苏 - 南京 来源:北方有色网 2023-03-19
含植物脲酶的土体固化剂及其零废生产工艺

本发明属于岩土加固技术领域,具体涉及一种含植物脲酶的土体固化剂及其零废生产工艺。粗提纯的植物脲酶溶液中含有大量的无关蛋白质,严重影响土体固化剂的处理效果,导致施工无法达到预期目的,同时也造成了严重的浪费和环境污染。本发明通过对市面上常见的植物脲酶提取方法进行优化,显著降低了植物脲酶溶液中的蛋白质浓度,极大程度地提升了含植物脲酶的土体固化剂的下渗性能和扩宽了该类土体固化剂的应用领域;本发明将分离出的大豆蛋白和剩余的豆渣等固体废弃物进行二次利用,并且在生产土体固化剂的同时,没有任何废弃物产生,经济性强,环境友好。

标签:
固废
江苏 - 南京 来源:北方有色网 2023-03-19
适用于PC板涂料加工的废溶剂回收机

本实用新型公开了一种适用于PC板涂料加工的废溶剂回收机,包括加热箱和冷凝罐,加热箱的内部设置有过滤网板,过滤网板将加热箱的内部由上至下分隔为过滤室和加热室,加热室的底壁中部垂直设置有第一加热盒,第一加热盒将加热室分隔为两个加热腔,过滤网板的下方设置有上档板和设置于上档板下方的下档板。本实用新型可将废溶剂中的固体杂质过滤出,有利于废溶剂的均匀受热,提高了溶剂回收效果。

标签:
固废
江苏 - 南京 来源:北方有色网 2023-03-19
废弃物处理封装填埋装置及其填埋方法

一种废弃物处理封装填埋装置及其填埋方法,属于垃圾处理技术领域,为了解决现有的填埋箱密封性不足,封装固定废弃物深埋后,固体废弃物恶臭物质随气体逸散影响填埋处环境;雨水将废弃物中的小颗粒物质冲刷出来污染其周围水资源的问题,本发明通过在封装填埋箱内部设置可活动的移动金属板,在封装填埋箱顶板下端设置L型吊杆吊装锥体封堵头,移动金属板上对应锥体封堵头设置接料斗,利用封装填埋箱侧壁上的单向气嘴其内部空间进行抽真空处理,以制造负压环境以吸附卡套密封锥体封堵头和接料斗,并在移动金属板上端灌入清水形成液压,随后利用密封顶盖密封进料口并使用固定块将其密封焊死,本发明充分保证了封装填埋箱的密封性。

标签:
固废
江苏 - 南京 来源:北方有色网 2023-03-19
上一页 72 73 74 75 76 ... 98 下一页
共98页    到第

北方有色为您提供最新的江苏南京有色金属固/危废处置技术理论与应用信息,涵盖发明专利、权利要求、说明书、技术领域、背景技术、实用新型内容及具体实施方式等有色技术内容。打造最具专业性的有色金属技术理论与应用平台!

全国热门有色金属设备推荐
展开更多 +
全国热门有色金属技术推荐
展开更多 +

 

江西省隆恩特环保设备有限公司
宣传

报名参会
更多+

报告下载

有色专家
更多+

中国科学院赣江创新研究院
院长
有研科技集团有限公司
首席科学家
江西铜业集团有限公司
党委书记、董事长
辽宁忠旺集团
教授级高工
有研资源环境技术研究院(北京)有限公司
副总经理/教授级高工
赤泥综合利用研究报告2025
推广

热门技术
更多+

推荐企业
更多+

福建省金龙稀土股份有限公司
宣传

发布

在线客服

公众号

电话

顶部
咨询电话:
010-88793500-807