青岛垚鑫智能科技有限公司
宣传

位置:中冶有色 >

有色技术频道 >

> 废水处理技术

分类:
全部
矿山技术
冶金技术
材料制备及加工技术
环境保护技术
分析检测技术
 
全部
废水处理技术
大气治理技术
固/危废处置技术
土壤修复技术
地区:
全部
北京
天津
上海
重庆
河北
山西
辽宁
吉林
黑龙江
江苏
浙江
安徽
福建
江西
山东
河南
湖北
湖南
广东
海南
四川
贵州
云南
陕西
甘肃
青海
内蒙
广西
西藏
宁夏
新疆
其他
其他
展开
 
全部
南京
无锡
徐州
常州
苏州
南通
连云港
淮安
盐城
扬州
镇江
泰州
宿迁

江苏无锡有色金属废水处理技术理论与应用

免费发布技术信息>>
低能耗的高效率工业废气利用系统

本实用新型公开了一种低能耗的高效率工业废气利用系统,包括装置主体、水吸收室、转移管道、净化过滤网和导流体,所述包括装置主体内设置有水吸收室,所述水吸收室上连接有转移管道,所述转移管道上连接有吸附处理室,所述水吸收室上安装有第一入水管,所述第一入水管上连接有喷淋装置,所述水吸收室上安装有废气管道。该低能耗的高效率工业废气利用系统,设置有余热交换箱,余热交换箱将废水中吸收的废气热量交换之交换螺旋管内的水中,改变废气中余热的载体,方便将余热通过水运输至合适的地方合理利用,节约了资源,且余热交换箱可以降低废水的温度,更方便续修对废水进行处理,提高该废气处理装置的功能性。

标签:
废水处理
江苏 - 无锡 来源:中冶有色网 2023-03-19
铬鞣废水处理及铬回收系统及处理工艺

本发明公开了一种用于铬鞣废水处理及铬回收的方法。该方法包括铬鞣废水预处理系统、pH调节系统、反渗透系统和离子交换系统。本发明工艺过程简单,不需要额外添加化学药剂,降低了废水的矿化度,经处理后的回用水中Cr总含量小于0.1mg/L,达到国家标准。同时本发明耗电量小,大大节约了成本,利于工业化操作。

标签:
废水处理
江苏 - 无锡 来源:中冶有色网 2023-03-19
管式膜工业再生水系统
管式膜工业再生水系统 1069     
 0

本实用新型公开了一种管式膜工业再生水系统,旨在提供一种更省空间,更易控制,出水稳定,抗污染性更强的管式膜工业再生水系统,其技术方案要点是,包括研磨废水进口,所述研磨废水进口上连接有预处理单元,所述预处理单元上连接有反渗透单元,所述预处理单元与反渗透单元之间还连接有管式膜单元。

标签:
废水处理
江苏 - 无锡 来源:中冶有色网 2023-03-19
用于染料废水降解的磁性金属复合氧化物催化剂

本发明涉及一种降解染料废水的催化剂的制备及应用。目前所报道的大部分染料废水催化剂都不能满足工业生产的实际需求:有些催化剂催化效率低,需要很长时间才能实现降解;有些催化剂催化性能的发挥需要光的辅助;有些催化剂需要较高的温度才能起到催化降解作用;有些催化剂使用后难以与废水分离,回收困难。本发明以铁盐和铈盐为主要原料,掺杂催化剂载体,采用溶胶凝胶法合成磁性金属复合氧化物催化剂。合成得到的催化剂具有磁性、稳定性好、催化效率高、易于回收,可用于多种染料废水的快速降解。

标签:
废水处理
江苏 - 无锡 来源:中冶有色网 2023-03-19
羧甲基纤维素生产中高盐废水资源化处理工艺

本发明公开了一种羧甲基纤维素生产中高盐废水资源化处理工艺。该处理工艺结合了萃取和分级结晶技术。分级结晶过程首先通过多效(或机械再压缩)蒸发结晶从废水中回收粗盐和蒸发冷凝水,冷凝水达到工业回用水标准,粗盐经过洗涤成为精制盐。随后通过降温结晶,分离出乙醇酸钠晶体,结晶母液回用于下一个结晶过程,实现闭路循环。在上述分级结晶过程中对浓缩液进行萃取分离出乙氧基乙酸,降低黏度。本发明方法操作简单、成本低、分离回收率高。整个处理工艺闭路循环,无污染物,易于工程化。不仅解决了羧甲基纤维素生产过程中高盐废水的处理问题,也实现了化害为利,变废为宝的资源化处理目的,具有显著的经济,社会和环境效益。

标签:
废水处理
江苏 - 无锡 来源:中冶有色网 2023-03-19
电镀废水的综合处理方法

本发明是电镀废水的一种处理方法。该方法是 将铁屑用酸溶解在废水里,然后将废水里的pH值调 正到碱性,再进行电解,使废水中的重金属得到充分 氧化并与铁氧体吸附共沉。克服了铁屑法为充分氧 化而需要很高的pH值和碱性电解时起反应主导作 用的铁离子浓度不够的缺点。从而使电镀废水达到 了工业排放标准。并且将渣制成哈巴粉向市场销售, 消除了二次污染。

标签:
废水处理
江苏 - 无锡 来源:中冶有色网 2023-03-19
染色废水处理用连续内电解装置

本发明涉及一种处理染色后废水的装置,它包括在毛发过滤器隔板上设置有滤芯,在毛发过滤器壁体上设有负压吸管与出水管,负压吸管的出口端与出液管的进口端之间设有滤芯,出液管的出口端连接水泵的进水管,水泵的出水管伸入内电解塔内与盘式反向布水管连接,中央提升管顶端设有逆向反洗装置,逆向反洗装置连接于架设在内电解塔内的隔板下表面,在该隔板的上表面设有出污水装置,出污水装置的出污管伸出内电解塔外,在内电解塔内隔板上方的壁体上设有出液管,在调节塔内设有缠绕式喷淋装置,调节塔的出口端通过管体与活性炭过滤器的进口端相接,活性炭过滤器设有出水管。本发明工作时废水处理效果好,无需更换填料,避免造成铁泥二次污染。

标签:
废水处理
江苏 - 无锡 来源:中冶有色网 2023-03-19
焦化废水纳滤分盐工艺
焦化废水纳滤分盐工艺 1183     
 0

本发明属于煤焦化废水处理应用技术领域,具体公开了一种焦化废水纳滤分盐工艺,包括依次连接的一级纳滤单元、二级纳滤单元、高压反渗透装置,及与一级纳滤单元连接的浓水纳滤单元。本发明的一种焦化废水纳滤分盐工艺的有益效果在于:采用上述技术方案,焦化废水浓盐水最终分为两股物料,一股物料基本就是氯化钠溶液,其中硫酸钠含量在0.01%以下,另一股物料以硫酸钠为主,溶液中硝盐比在10:1左右,然后两股物料分别进入两套蒸发结晶系统,分别析出氯化钠及硫酸钠产品,实现了焦化废水的零排放,结晶分盐达到工业盐标准资源化利用的目标。

标签:
废水处理
江苏 - 无锡 来源:中冶有色网 2023-03-19
脱硫废水烟道旁路蒸发结构

本实用新型涉及工业废水处理领域,公开了一种脱硫废水烟道旁路蒸发结构,包括烟道,所述烟道包括废水进口,所述烟道上设有若干检测环,所述烟道内壁开设有环形的检测槽,所述烟道外壁开设有与检测槽相连通的转动槽,所述转动槽的宽度小于检测槽,所述检测环转动连接于转动槽内,所述检测环的截面呈“工”字形,所述检测环包括内环与外环,所述内环转动连接于检测槽内,所述内环与检测槽之间形成检测间隙。通过检测环的设置,操作人员不需要拆卸烟道即可对烟道内的结垢量进行检测,使用方便。

标签:
废水处理
江苏 - 无锡 来源:中冶有色网 2023-03-19
煤化工废水的同步除钙镁硅预处理装置和应用方法

本发明公开了煤化工废水同步除钙镁硅预处理装置和应用方法,包括废水收集池、一级反应槽和一体化澄清器;所述的废水收集池接受煤化工废水,通过管路连通所述的一级反应槽;所述的煤化工废水经过一级反应槽后,通过泵、药液混合器,输入一体化澄清器内置二级反应室混合反应沉降分离;该煤化工废水同步除钙镁硅预处理组合装置结构简单、稳定,鉴于我国煤化工业蓬勃发展的需要,该发明具有广阔的市场前景,其推出必然带来良好的经济效益和社会效益。

标签:
废水处理
江苏 - 无锡 来源:中冶有色网 2023-03-19
具有节能减排功能的电镀废水处理设备

本申请涉及废液处理领域,公开了一种具有节能减排功能的电镀废水处理设备,包括处理池,处理池上方设置有填料添加机构,填料添加机构用于添加填料,处理池内部设置有搅拌机构,搅拌机构包括转动设置在处理池内部的转动轴、设置在转动轴上的若干搅拌板和驱动转动轴转动的驱动电机,驱动电机固定设置在处理池的外壁上,搅拌机构沿水平方向设置有两个,填料添加机构位于两个搅拌机构之间。本申请具有使填料和废水充分反应,提升电镀废水处理效率的效果。

标签:
废水处理
江苏 - 无锡 来源:中冶有色网 2023-03-19
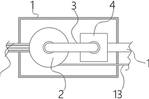
均三甲苯胺废水的处理装置

本实用新型涉及一种均三甲苯胺废水的处理装置,其特征在于:所述装置包括第一调节池(1)、搪瓷反应釜(2)、中间水池(3)、絮凝沉淀池(4)、第二调节池(5)、铁炭塔(6)、中和反应池(7)、斜管沉淀池(8)、第三调节池(9)、好氧生化池(10)和二沉池(11),所述中和反应池(7)分为三格。本实用新型均三甲苯胺废水的处理装置,在均三甲苯胺废水中,投加甲醛和硫酸铝进行缩聚反应并生成缩合物析出,然后投加高分子絮凝剂聚丙烯酰胺沉淀。从而使废水中苯胺类化合物含量大幅下降。然后用铁炭法处理,铁炭反应塔的出水与其它工业废水混合进行好氧生化处理后,达到国家二级排放标准。

标签:
废水处理
江苏 - 无锡 来源:中冶有色网 2023-03-19
有机废水处理方法和装置

一种有机废水处理装置,主要为接触氧化+人工湿地+人工浮岛组合装置,包括:柔性生物膜接触氧化池,池内吊挂柔性生物膜载体,池内底部铺设曝气头,该曝气头与鼓风机房连接;柔性生物膜接触氧化池连接沉淀池,沉淀池内设置有抽滤沉淀的污水潜水泵;沉淀池的出水口连接人工湿地,人工湿地的末端处设有出水口。人工湿地中间设置人工浮岛,本发明还公开了利用上述装置进行有机废水处理的方法。本发明可以高效、成熟地深度处理有机废水,特别具有高效除磷脱氮的优势,可广泛应用于各种高浓度有机废水深度处理系统中,具有高效率、低成本、多功能等特点。

标签:
废水处理
江苏 - 无锡 来源:中冶有色网 2023-03-19
从豌豆乳清废水回收PA2及psa LA的方法

一种从豌豆乳清废水回收PA2及psa LA的方法,属于蛋白质提取技术领域。本发明利用复凝聚原理,将带有相反电荷的蛋白质和聚电解质通过静电作用力形成电中和的不溶性复合物。以豌豆蛋白加工过程中产生的含蛋白质的豌豆乳清废水为原料,选择天然阳离子多糖壳聚糖作为凝聚剂,通过调节复凝聚条件,分步实现豌豆两种乳清蛋白PA2和psa LA的提取与分离纯化。本发明对豌豆乳清废水进行综合利用,设备要求低,操作简单,无环境污染,条件温和,避免了工业上的酸热条件,最大限度的保留了两种乳清蛋白的功能特性,且豌豆乳清蛋白回收率高,纯度高。

标签:
废水处理
江苏 - 无锡 来源:中冶有色网 2023-03-19
利用微波去除电镀废水中重金属的方法

一种利用微波去除电镀废水中重金属的方法,包括以下步骤:(1)在电镀废水中,搅拌下加入二价铁盐和/或三价铁盐溶液,然后调节pH值至中性或碱性,得混合废水;(2)将步骤(1)所得混合废水进行微波水热反应,过滤,得重金属铁氧体混合物和重金属离子浓度达标的废水。本发明方法常温下即可进行,无需预热,反应时间短,去除率高,净化后废水中的重金属离子浓度达到排放标准,工艺简单,成本低,适宜于大规模工业化连续生产。

标签:
废水处理
江苏 - 无锡 来源:中冶有色网 2023-03-19
磁性活性炭一体化处理印染废水的方法

一种磁性活性炭一体化处理印染废水的方法,是在制备PAC-Fe3O4复合材料基础上,将改进磁性活性炭吸附工艺和基于Fe3O4-H2O2的类Fenton技术有效结合,提出一种集吸附-再生一体化系统进行染料废水的处理技术,在处理体系中利用类Fenton技术对吸附后的材料进行同步再生。该方法充分利用PAC-Fe3O4复合材料的吸附性能及Fe3O4的类Fenton催化剂特性,在材料对染料污染物发挥吸附作用的同时,通过在反应系统中同步投加H2O2构成Fe3O4-H2O2类Fenton体系使材料实现再生,有效提高系统的处理能力,降低处理成本。将纯PAC工艺和常规Fenton工艺的优点有机结合,解决了常规PAC与处理后废水难分离、易流失、无法再生的弊端,以及改进了常规Fenton工艺需持续投加铁盐、产泥量大等问题,具有简单、高效、经济等显著优点,在印染废水处理应用中具有广大的潜在市场。

标签:
废水处理
江苏 - 无锡 来源:中冶有色网 2023-03-19
对甲苯胺废水处理装置

本实用新型涉及一种对甲苯胺废水处理装置,其特征在于:所述装置包括第一调节池(1)、搪瓷反应釜(2)、中间水池(3)、絮凝沉淀池(4)、第二调节池(5)、铁炭塔(6)、中和反应池(7)、斜管沉淀池(8)、第三调节池(9)、好氧生化池(10)、二沉池(11)、污泥浓缩池(12)和板框压滤机(13)。本实用新型对甲苯胺废水处理装置,在对甲苯胺废水中,投加甲醛和硫酸铝进行缩聚反应并生成缩合物析出,然后投加高分子絮凝剂聚丙烯酰胺沉淀。从而使废水中苯胺类化合物含量大幅下降。然后用铁炭法处理,铁炭反应塔的出水与其它工业废水混合进行好氧生化处理后,达到国家二级排放标准。

标签:
废水处理
江苏 - 无锡 来源:中冶有色网 2023-03-19
短流程含油废水中烷烃类物质的处理方法

本发明属于工业废水处理技术领域,尤其涉及一种短流程含油废水中烷烃类物质的处理方法,处理废水时,将废水依次通过活性焦吸附反应器和悬浮填料污泥反应器,进行活性焦吸附和悬浮填料污泥好氧处理,本发明采用活性焦吸附和悬浮填料污泥好氧处理组合工艺对石油石化工厂排水进行处理,实现了对含油废水石油类、COD、烷烃类有机物和总氮总磷的有效去除,处理装置只包含两个反应器,处理时间短,是一个短流程处理工艺,活性焦吸附废水中石油类物质并催化氧化烷烃类物质,减少后续处理单元有机负荷及有毒有害物质影响,悬浮填料污泥反应器实现了对剩余石油类、烷烃类有机物和总氮总磷的达标处理。

标签:
废水处理
江苏 - 无锡 来源:中冶有色网 2023-03-19
含酚钠盐废水的高级氧化法处理工艺装置

本实用新型公开了一种含酚钠盐废水的高级氧化法处理工艺装置,包括废水池,以及通过管道泵依次与废水池连接的高级氧化器、结晶蒸发器和生化装置,所述高级氧化器为由至少两级串联的催化反应塔,所述催化反应塔的塔体从下至上依次包括进液混合段、催化反应段和出口段,所述进液混合段设有废液进口和双氧水进口,所述气体分布器还连接有臭氧进口,所述催化反应段填充有催化填料块,所述出口段还通过管道泵与催化反应塔底部的废液进口循环连接。本实用新型采用活性金属负载硅胶的催化剂填料块,有效的将废水中难降解有机废物进行催化氧化,从而实现高盐废水有机物的生化处理,并回收了工业级盐,实现资源化循环利用。

标签:
废水处理
江苏 - 无锡 来源:中冶有色网 2023-03-19
脱硫废水近零排放处理系统及其实现方法

本发明涉及一种脱硫废水近零排放处理系统及其实现方法,该系统包括脱硫废水调节池、初级反应池、脱泥混合池、澄清池、混合结晶混合池、管式超滤膜、超滤水箱,纳滤机构、海水淡化机构、反渗透机构、浓缩结晶机构;纳滤机构的浓水出口对接初级反应池,淡水出口对接海水淡化机构;海水淡化机构的浓水出口对接反渗透机构;反渗透机构的浓水出口对接浓缩结晶机构。混合结晶混合池向脱泥混合池连接回流管,管式超滤膜向混合结晶混合池连接浓水回流管;澄清池向初级反应池连接污泥回流管,另通过污泥管路将剩余污泥送至污泥脱水机构,污泥脱水机构再通过回流管连接脱硫废水调节池,系统产物为工业盐、淡水、污泥固废,实现了脱硫废水近零排放。

标签:
废水处理
江苏 - 无锡 来源:中冶有色网 2023-03-19
回收制革废水重金属铬的装置

一种回收制革废水重金属铬的装置,所述装置的预处理槽的出水口通过泵与预处理压滤机的进水口连接,所述预处理压滤机的出水口与预处理废水中间槽的进水口连接,所述预处理废水中间槽的出水口通过泵与电解装置的进水口连接,所述电解装置的出水口通过泵与陈化搅拌槽的进水口连接,所述陈化搅拌槽的出水口通过泵与终处理压滤机的进水口连接,所述终处理压滤机的出水口与除铬废水中间槽的进水口连接。本实用新型装置铬回收率高,除铬废水达标,出水色度低,无二次污染,资源可回收,结构简单,药剂消耗少,能耗小,成本低,适于工业化生产。

标签:
废水处理
江苏 - 无锡 来源:中冶有色网 2023-03-19
有机硅生产中废水的资源化再利用的方法

本发明提供了一种有机硅树脂生产中废水的再利用方法,属于水处理技术领域。包括下述步骤:将有机硅树脂生产中的水洗工艺产生的酸性废水在分层罐中静置分层,得到上层有机层和下层水层;上层有机层送入有机硅树脂生产的水洗-浓缩-缩合工序,制得有机硅树脂;下层水层通过循环澄清池进行澄清,得到的酸性废水经盐酸吸收塔中吸收氯化氢气体制成盐酸溶液。本发明提供的有机硅树脂生产中废水的资源化再利用的方法,使生产工艺中的酸性废水得到重新再利用,解决了现有技术中废水处理耗费高、对环境污染大、资源无法得到完全的利用的不足。使废水可以再次利用制成工业盐酸,另外,也可以提高有机硅树脂生产中的收率。

标签:
废水处理
江苏 - 无锡 来源:中冶有色网 2023-03-19
抗生素废水的多段式处理工艺

本发明公开了一种抗生素废水的多段式处理工艺,涉及工业废水处理技术领域,所述处理工艺是由预处理段、高负荷生化处理段、低负荷生化处理段依次组成的三段式处理工艺,预处理段包括依次连接的物化预处理区、配水区以及过滤区,高负荷生化处理段包括依次连接的ABR池、SBR池以及中间水池,低负荷生化处理段包括依次连接的A/O池、沉淀池以及曝气生物滤池。本发明以生化处理方法为主,能针对抗生素废水高浓度、高盐分、高氨氮、生物毒性强及水质变化大等特点,有效净化废水的同时,运行成本及维护费用低,出水稳定达标。

标签:
废水处理
江苏 - 无锡 来源:中冶有色网 2023-03-19
将糖蜜酒精废水蒸发冷凝液回用于酒精发酵的工艺

本发明公开了一种将糖蜜酒精废水蒸发冷凝液回用于酒精发酵的工艺,属于酒精发酵及酒精工业废水综合利用领域。本发明通过将糖蜜酒精废水蒸发冷凝液回用,减少了好氧消化工段的负荷量,即降低了好氧消化工段的占地面积、固定资产投资和运行成本;降低了废水的排放量,同时节约了大量的水资源。

标签:
废水处理
江苏 - 无锡 来源:中冶有色网 2023-03-19
回收制革废水重金属铬的装置及方法

一种回收制革废水重金属铬的装置及方法,所述装置的预处理槽的出水口通过泵与预处理压滤机的进水口连接,所述预处理压滤机的出水口与预处理废水中间槽的进水口连接,所述预处理废水中间槽的出水口通过泵与电解装置的进水口连接,所述电解装置的出水口通过泵与陈化搅拌槽的进水口连接,所述陈化搅拌槽的出水口通过泵与终处理压滤机的进水口连接,所述终处理压滤机的出水口与除铬废水中间槽的进水口连接。本发明还公开了回收制革废水重金属铬的方法。本发明装置无二次污染,资源可回收,结构简单,能耗小,成本低;本发明方法铬回收率高,除铬废水达标,出水色度低,无二次污染,资源可回收,操作简单,药剂消耗少,成本低,适于工业化生产。

标签:
废水处理
江苏 - 无锡 来源:中冶有色网 2023-03-19
高效降解有机废水的Bi-MOF-M/Bi2MoO6可见光催化剂及其制备方法

本发明公开了一种高效降解有机废水的Bi‑MOF‑M/Bi2MoO6可见光催化剂及其制备方法,属于环境和能源技术领域。本发明通过自组装制备Bi‑MOF‑M微米球,通过界面原位生长,在Bi‑MOF‑M微米球的表层生长一层花瓣状Bi2MoO6,形成化学键合型异质结,制得微纳分级花球状Bi‑MOF‑M/Bi2MoO6可见光催化剂。本发明所得复合可见光催化剂制备简便,环境友好,稳定性高,废水中无残留,可见光催化活性高,在可见光的照射下可高效降解多种有机染料废水和高浓度抗生素废水,废水处理工艺简单,可循环重复使用,大大降低成本,具有很好的工业化应用前景。

标签:
废水处理
江苏 - 无锡 来源:中冶有色网 2023-03-19
化工含盐废水高温处理装置

本发明属于含盐废水处理应用技术领域,具体公开了一种化工含盐废水高温处理装置,由框架板,及设置在框架板上的一组立式支撑腿,及设置在一组立式支撑腿上的高温处理组件,及与高温处理组件相配合使用的烟气输送组件组成。本发明的一种化工含盐废水高温处理装置的有益效果在于:其结构设计合理,相配合使用的框架板、一组立式支撑腿、高温处理组件和烟气输送组件等结构,能对高浓度含盐工业废水进行高质和高效的控制处理,同时便于检修及维护,处理作业安全性优,且整体结构制作成本低,降低企业化工含盐废水的处理成本,易推广。

标签:
废水处理
江苏 - 无锡 来源:中冶有色网 2023-03-19
化工生产废水处理系统

本实用新型公开了一种化工生产废水处理系统,涉及废水处理设备技术领域,为解决现有化工生产废水处理系统对废水的污泥处理有着一定缺乏,传统对废水中的污泥排除都是直接的输送,而这样容易导致出渣管道的堵塞的问题。所述第一废水处理主体下端面的一侧设置有出渣管道,所述出渣管道的下方设置有法兰盘,所述法兰盘的内部设置有第一螺栓机构,且第一螺栓机构设置有四个,所述法兰盘的下方设置有第一输出管道,所述第一废水处理主体的一端设置有废水第一进料管道,所述第一废水处理主体的另一端设置有第二输出管道,所述第二输出管道一端的外壁设置有加固套件,所述第二输出管道的一端设置有加压泵,所述第二输出管道的内部设置有流速控制器。

标签:
废水处理
江苏 - 无锡 来源:中冶有色网 2023-03-19
处理含二甲基甲酰胺合成革废水的生化方法

本发明公开了一种处理含二甲基甲酰胺合成革废水的生化方法,属于废水处理领域。其步骤为:将待处理的合成革废水通入好氧污泥-厌氧填料结构的新型膜生物反应器,该新型膜生物反应器包括好氧区和厌氧区;待处理的合成革废水先进入好氧区,好氧区采用专性驯化以硝化菌为优势菌群的活性污泥,控制好氧区污泥回流比为100-300%,并调节好氧区的pH值为8-9;经过好氧区处理后的合成革废水进入厌氧区,厌氧区填充悬浮填料,容积比为30-60%之间;经过厌氧区处理后的合成革废水排出好氧污泥-厌氧填料结构的新型膜生物反应器。采用本发明的方法,出水氨氮和总氮可以稳定达到《合成革与人造革工业污染物排放标准》(GB21902-2008)的排放标准。

标签:
废水处理
江苏 - 无锡 来源:中冶有色网 2023-03-19
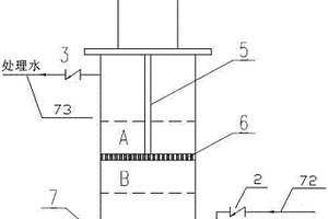
有机废水水相燃烧的降解处理装置

本发明涉及一种有机废水水相燃烧的降解处理装置,其特征在于:所述装置包括空化缸(7),该空化缸(7)下缸壁设置有有机废水进料口管路(71),有机废水进料口管路(71)上设置有第一止回阀(1),第一止回阀(1)前的有机废水进料口管路(71)上设置有加药口管路(72),加药口管路(72)上设置有第二止回阀(2);该空化缸(7)上缸壁设置有处理水排料口管路(73),处理水排料口管路(73)上设置有第三止回阀(3);该空化缸(7)顶部设置有气压/液压缸(4),空化缸(7)内设置有连杆(5)和多孔板(6),连杆(5)上端与气压/液压缸(4)的活塞杆相连,下端与多孔板(6)相连。本发明将高含量有机废水空化降解,降低有机物含量,从而降低工业废水的处理难度。

标签:
废水处理
江苏 - 无锡 来源:中冶有色网 2023-03-19
上一页 68 69 70 71 72 ... 80 下一页
共80页    到第

中冶有色为您提供最新的江苏无锡有色金属废水处理技术理论与应用信息,涵盖发明专利、权利要求、说明书、技术领域、背景技术、实用新型内容及具体实施方式等有色技术内容。打造最具专业性的有色金属技术理论与应用平台!

全国热门有色金属设备推荐
展开更多 +
全国热门有色金属技术推荐
展开更多 +

 

江西省隆恩特环保设备有限公司
宣传

报名参会
更多+

报告下载

有色专家
更多+

南昌航空大学
副院长/教授
长沙矿冶研究院
总经理
湖南有色金属研究院
教授级高工/原总工程师
洛阳有色矿业集团有限公司
生产技术部经理
赣州江钨钨合金有限公司
副总经理
赤泥综合利用研究报告2025
推广

热门技术
更多+

推荐企业
更多+

福建省金龙稀土股份有限公司
宣传

发布

在线客服

公众号

电话

顶部
咨询电话:
010-88793500-807