青岛垚鑫智能科技有限公司
宣传

位置:北方有色 >

有色技术频道 >

> 废水处理技术

分类:
全部
矿山技术
冶金技术
材料制备及加工技术
环境保护技术
分析检测技术
 
全部
废水处理技术
大气治理技术
固/危废处置技术
土壤修复技术
地区:
全部
北京
天津
上海
重庆
河北
山西
辽宁
吉林
黑龙江
江苏
浙江
安徽
福建
江西
山东
河南
湖北
湖南
广东
海南
四川
贵州
云南
陕西
甘肃
青海
内蒙
广西
西藏
宁夏
新疆
其他
其他
展开
 
全部
南京
无锡
徐州
常州
苏州
南通
连云港
淮安
盐城
扬州
镇江
泰州
宿迁

江苏无锡有色金属废水处理技术理论与应用

免费发布技术信息>>
二级废水深度处理装置
二级废水深度处理装置 1029     
 0

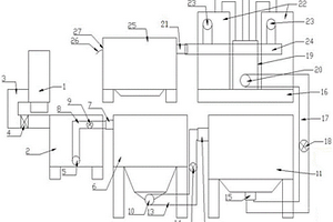
一种二级废水深度处理装置,属于废水处理技术领域,包括电离装置、过滤装置、蒸发装置,二级废水从进水口进入电离装置,正极板与负极板之间形成电场,使废水中的盐类电离,二级废水进入过滤装置后,纳米TiO2层在紫外线的作用下产生氧化能力极强的羟基自由基(·OH)使水中的有机污染物快速降解为二氧化碳和水,使盐类离子产生沉淀物或水,沉淀物经过活性炭过滤层吸附后经过管式过滤膜后,管式过滤膜通电后对废水进一步氧化和过滤,过滤后的水经过蒸发装置改善大气环境。

标签:
废水处理
江苏 - 无锡 来源:北方有色网 2023-03-19
SDA加碱法深度脱硫除尘及废水零排放烟气处理装置

本实用新型提供了SDA加碱法深度脱硫除尘及废水零排放烟气处理装置,包括SDA吸收塔和工艺水箱,SDA吸收塔通过烟气输送管道连接除尘器,除尘器连接碱法吸收塔;工艺水箱分别连接SDA吸收塔、碱法吸收塔和碱性吸收剂浆液制备箱,碱性吸收剂贮存及添加装置连接碱性吸收剂浆液制备箱,进而连接碱法吸收塔;脱硫吸收剂贮存及添加装置分别连接烟气输送管道和脱硫吸收剂浆液制备箱,脱硫吸收剂浆液制备箱连接SDA吸收塔,碱法吸收塔通过水泵连接脱硫吸收剂浆液制备箱。本实用新型提供的SDA加碱法深度脱硫除尘及废水零排放烟气处理装置,SDA配合碱法组合脱硫,提高脱硫效率,碱法脱硫的废水回收给SDA脱硫再利用,实现废水零排放。

标签:
废水处理
江苏 - 无锡 来源:北方有色网 2023-03-19
高煤含盐废水处理系统

高煤含盐废水处理系统,支撑台呈支架形状设置三层且从上至下依次安装多介质过滤器、活性炭过滤器、阳树脂过滤器,支撑台底部的台面上分别安装有精密过滤器、缓冲水池、RO系统和蒸发结晶器,多介质过滤器、活性炭过滤器、阳树脂过滤器、精密过滤器、缓冲水池、RO系统、蒸发结晶器依次通过连通管串接,与多介质过滤器进水口连接的连通管上安装有提升泵,缓冲水池与RO系统之间的连通管上也安装有一提升泵,提升泵均固定在支撑台的底部台面上。通过多介质过滤器、活性炭过滤器、阳树脂过滤器能够对废水中的杂质物质、金属离子等充分的除去,保证除盐的效果;通过设置RO系统,能够对处理后的废水进行分类再处理,进而提高废水处理的利用率。

标签:
废水处理
江苏 - 无锡 来源:北方有色网 2023-03-19
深度处理涂装废水装置
深度处理涂装废水装置 1016     
 0

一种深度处理涂装废水装置,属废水处理技术领域,包括混凝预处理槽、综合废水槽、好氧沉淀一体化池、中水槽,预处理槽、综合废水槽、水解好氧生物处理槽顺序管道连接,水解好氧生物处理槽由一段水解好氧生物处理槽和二段水解好氧生物处理槽管道连接组成,二段水解好氧生物处理槽后顺序连接一气浮纳米光催化一体化槽和中水槽,装置中各槽线路连接PLC程序控制器,通过采用二段水解好氧生物处理,使生化设施达到期望的生态,又利用气浮纳米光催化一体化槽对污水进一步氧化,整套装置流程比以往工艺简单、出水水质好,不含有持久性的有机污染物。

标签:
废水处理
江苏 - 无锡 来源:北方有色网 2023-03-19
氨肟化法己内酰胺生产废水的处理装置

本实用新型公开了一种氨肟化法己内酰胺生产废水的处理装置,装置依次连接有:芬顿氧化单元、混凝沉淀单元、厌氧处理单元、好氧处理单元、深度氧化单元。本实用新型还公开了利用该装置处理氨肟化法己内酰胺生产废水的方法,芬顿氧化阶段利用废水中残余双氧水,无需氧化药剂的使用,深度氧化阶段采用臭氧‑双氧水联用氧化,无需催化剂使用,氧化过程不产生二次污染物。本实用新型具有操作简便、成本较低,对氨肟化法己内酰胺生产废水水质变化适应性强的特点,可降低氨肟化法己内酰胺生产废水的COD值和有机氮值,使处理后废水达到一级排放标准。

标签:
废水处理
江苏 - 无锡 来源:北方有色网 2023-03-19
用于废水废气处理的过滤板清洗装置

本实用新型公开了一种用于废水废气处理的过滤板清洗装置,涉及到废水废气处理设备技术领域,包括过滤箱体,所述过滤箱体内部固定设置有过滤板,所述过滤箱体底部固定设置有装置底座,所述过滤箱体一侧固定设置有废水废气进管,所述滤箱体另一侧固定设置有废水废气出管;所述过滤箱体顶部固定设置有活动窗口,所述活动窗口内部活动设置有升降架,所述升降架顶部固定设置有升降板,所述升降架中部固定设置有固定轴,所述固定轴一端固定设置有清洁刷盘。本实用新型通过升降架从活动窗口伸入到过滤箱体内部,利用固定轴上的清洁刷盘对过滤板进行刷洗,配合反冲洗管对过滤板的反向冲洗,方便过滤板的清洗,提高清洗效率。

标签:
废水处理
江苏 - 无锡 来源:北方有色网 2023-03-19
研磨超声波清洗废水零排放回用或达标处理系统及工艺

本发明公开了研磨超声波清洗废水零排放回用或达标处理系统及工艺,包括中间调节水池、电解气浮刮渣设备、污泥池、污泥压滤池、反应沉淀池、沉淀池及再处理设备,中间调节水池的出水口连接电解气浮刮渣设备的进水口,中间调节水池的出泥口连接污泥池的进泥口,污泥池的出泥口连接污泥压滤池的进泥口,电解气浮刮渣设备的出泥口连接污泥池的进泥口,反应沉淀池的出水口连接沉淀池的进水口,沉淀池的出泥口连接连接污泥池的进泥口,沉淀池的出水口连接再处理设备的进水口。本发明综合各种研磨超声波清洗废水、光亮剂、催化剂、清洗剂等污染废水特点,提出的研磨超声波清洗废水处理零排放回用或达标排放处理工艺可以实现零排放回用或达标排放。

标签:
废水处理
江苏 - 无锡 来源:北方有色网 2023-03-19
处理含高浓度吡嗪废水的方法

本发明公开了一种处理含高浓度吡嗪废水的方法,属于污水处理方法领域,本发明的方法通过将高浓度吡嗪废水通入混凝反应池Ⅰ,首先去除废水中大部分的悬浮杂质;混凝反应后出水通过沉淀池Ⅰ,泥水分离;上清液通入高温芬顿反应系统,反应出水进入混凝反应池Ⅱ,反应出水自流进入沉淀池Ⅱ进行沉淀,泥水分离;上清液通入蒸氨塔,回收氨后废水进入生化调节池;生化调节池废水通入生化系统,生化系统采用好氧、水解酸化、好氧生化组合工艺能够实现COD、氨氮、总氮的去除;生化出水经深度氧化后,COD、氨氮、总氮完全达标排放,具有良好的环境效应。

标签:
废水处理
江苏 - 无锡 来源:北方有色网 2023-03-19
处理有机硅生产废水的处理方法

本发明公开了一种有机硅生产废水的处理方法,其步骤为:将有机硅废水通入气浮工艺,去除废水中的浮油,浮油收集后回生产回收工艺处理,气浮出水通入pH调节池,调节pH值3‑4,通入芬顿氧化池,加入硫酸亚铁溶液、双氧水进行芬顿氧化反应;将芬顿氧化后废水通入多效蒸发,蒸发除盐,蒸发冷凝液泵入生化系统,使用活性污泥法,采用兼氧水解和连续好氧的处理工艺,生物降解废水中的有机物;剩余污泥外运处理,生化好氧出水经泥水分离后,上清液进行双氧水‑臭氧耦合氧化,最终实现COD≤60mg/L。

标签:
废水处理
江苏 - 无锡 来源:北方有色网 2023-03-19
用于隧道施工的可移动式废水预处理装置

本实用新型公开了一种用于隧道施工的可移动式废水预处理装置,应用在隧道施工废水处理技术领域,其技术方案要点是:一种用于隧道施工的可移动式废水预处理装置,包括用于对污水进行预处理的污水处理桶以及用于承载所述污水处理桶在隧道内移动的移载机构,所述移载机构上固定连接用于保护所述污水处理桶,避免落石破坏所述污水处理桶的防护罩,所述移载机构包括用于承载所述污水处理桶的支撑架以及对称设置于所述支撑架两端,用于带动所述支撑架移动的若干弹性轮组件;具有的技术效果是:处理效果好,在隧道等环境恶劣的施工条件下移动稳定。

标签:
废水处理
江苏 - 无锡 来源:北方有色网 2023-03-19
应用于废水处理的净化结构

本实用新型属于废水处理应用技术领域,具体公开了应用于废水处理的净化结构,由加药反应组件,及与加药反应组件相配合使用的二次絮凝沉淀组件,及与二次絮凝沉淀组件相配合使用的过滤排污组件组成。本实用新型的应用于废水处理的净化结构的有益效果在于:其设计结构合理,相配合使用的加药反应组件、二次絮凝沉淀组件、过滤排污组件结构,能对废水进行高效、稳定的处理生产作业,实现废水的环保处理排放要求。

标签:
废水处理
江苏 - 无锡 来源:北方有色网 2023-03-19
新型废水处理用滤布滤池

本实用新型公开了一种新型废水处理用滤布滤池,涉及环保设备领域,该新型废水处理用滤布滤池包括镶嵌在顶板内的过滤池套,顶板设有吊环,顶板设有两支撑板,两支撑板连接有底座,过滤池套底部设有若干分接池套,所有分接池套两侧均通过连板与两支撑板连接,过滤池套和分接池套之间,以及相邻的分接池套之间均设有一层过滤布,过滤布两端均固定在两支撑板内壁的固定夹上。该新型废水处理用滤布滤池将池体采用多层分体结构,将过滤布安装在过滤池套的外部,方便拆装更换过滤布。

标签:
废水处理
江苏 - 无锡 来源:北方有色网 2023-03-19
含镍废水处理设备
含镍废水处理设备 1238     
 0

本实用新型公开了一种含镍废水处理设备,属于废水处理技术领域。一种含镍废水处理设备,包括底座,所述底座的顶部固定连接有废水收集池,所述废水收集池的一侧固定连接有连通管,所述连通管的一端固定连接有过滤池,所述底座的上表面固定连接有沉淀箱,所述沉淀箱的上表面开设有加料口,所述沉淀箱的顶部设置有pH值显示器;本实用新型,通过设置沉淀箱、加料口和pH值显示器,在处理含镍废水时,废水到达沉淀箱,通过加料口向沉淀箱内部加入适量的碱,通过pH值显示器将废水pH值调节至10‑10.5,然后加入重捕剂M1进行沉淀处理,可以有效的去处废水中的镍离子,使处理后的废水达到国家排放标准。

标签:
废水处理
江苏 - 无锡 来源:北方有色网 2023-03-19
油田废水的无害处理方法

本发明提供了一种油田废水的无害处理方法,包括将质量比为2.5:1的聚合氯化铝和聚二甲基二烯丙基氯化铵以0.8g/L的浓度投入油田废水中搅拌均匀后注入油田废水中。本发明能够解决现有水处理剂处理油田废水效果不理想的问题,使用该油田废水用复合水处理剂处理油田废水后水质较好,能够保证水质长期稳定达标。

标签:
废水处理
江苏 - 无锡 来源:北方有色网 2023-03-19
高浓度甲醛废水全生物处理方法

本发明公开了一种高浓度甲醛废水全生物处理方法,属于生物方法处理高浓度甲醛废水领域,所述的处理方法为首先将废水通过甲醛生物预处理段处理,之后再进行好氧生物处理;所述的甲醛生物预处理段中采用甲醛生物预处理池中加入了甲醛专属降解菌,并将甲醛专属降解菌固载在聚氨酯填料上,进行好氧曝气处理;所述的好氧生物处理中利用好氧反应池接种1‰好氧复合菌及70%聚氨酯填料。本发明是利用高效的甲醛专属微生物及生物活性填料结合来处理高浓度甲醛废水将成为甲醛生物处理的主要解决方式,此外该工艺操作简单、反应高效,可使进水浓度6000 mg/L甲醛含量降低99%以上。

标签:
废水处理
江苏 - 无锡 来源:北方有色网 2023-03-19
带废水过滤循环使用功能的转鼓水洗机

本实用新型涉及布料生产加工领域,公开了一种带废水过滤循环使用功能的转鼓水洗机,包括水洗箱,所述水洗箱一侧固定连接有电机箱,所述电机箱内部设置有电动机,所述电动机输出端固定连接有转鼓,所述转鼓外侧设置有折水板,所述折水板顶端设置有若干导向轮,且所述导向轮转动连接于水洗箱内壁两侧,所述水洗箱底端开设有废水收集槽,所述废水收集槽另一端固定设置有废水收集管,所述废水收集管另一端设置有废水处理箱,所述废水处理箱内部排列有若干金属过滤网。本实用新型中,通过在装置中设置污水过滤处理结构,对使用后的废水进行清洁处理,然后设计结构,让处理后的水回到装置内部循环使用,依次达到低排放的效果。

标签:
废水处理
江苏 - 无锡 来源:北方有色网 2023-03-19
组合式含盐废水蒸发结晶装置

本实用新型公开的属于蒸发结晶装置领域的一种组合式含盐废水蒸发结晶装置,包括预处理箱,预处理箱左端固定连接废水输送管,预处理箱右端通过输送管固定连接泵体,泵体通过输送管固定连接PH调节箱,PH调节箱右端通过输送管固定连接蒸发箱,蒸发箱顶端设有电机,电机固定连接旋转轴,旋转轴固定连接支架,支架固定连接离心筒,该种组合式含盐废水蒸发结晶装置,在使用的时候,设有预处理箱,对含盐废水进行预处理,除去含盐废水内的漂浮物和大颗粒物品,设有PH调节箱对含盐废水的PH进行调节,以便蒸发结晶,蒸发区内腔设有离心筒可对含盐废水进行离心处理,使结晶物更快的出线,且设有结晶区对含盐废水进行蒸发结晶处理。

标签:
废水处理
江苏 - 无锡 来源:北方有色网 2023-03-19
电镀含铬废水处理回收设备

本实用新型公开了一种电镀含铬废水处理回收设备,属于废水处理技术领域。一种电镀含铬废水处理回收设备,包括第一处理箱和第二处理箱,所述第一处理箱和第二处理箱的上表面均通过螺丝固定连接有L形板,所述L形板的一侧固定连接有连接块,所述连接块的一侧固定连接有电机,所述电机输出端的外部固定连接有固定环,所述固定环的外部固定连接有连接杆,所述连接杆的外部固定连接有搅拌叶;本实用新型在将第二处理箱内的污水排干净后,将排水管与连接管分离,将连接管内部的滤网取出,从而能够方便工作人员对滤网内的铬沉淀进行清理以及操作简单,便于工作人员对含铬废水进行处理,提高了本装置的实用性。

标签:
废水处理
江苏 - 无锡 来源:北方有色网 2023-03-19
高浓废水生物预处理功能菌及其应用

本发明公开了一种高浓废水生物预处理功能菌,其属于热带假丝酵母菌,于2020年12月17日保藏于中国微生物菌种保藏管理委员会普通微生物中心,保藏编号为CGMCCNO.21388,保藏地址为北京市朝阳区北辰西路1号院3号。本发明还进一步提供了该高浓废水生物预处理功能菌在处理高浓废水中的应用以及处理高浓废水的方法。本发明的高浓废水生物预处理功能菌具有较好的耐盐能力,能够在高盐条件下对高浓废水进行处理,有效降低废水中的有机负荷浓度,实现较好的预处理效果。

标签:
废水处理
江苏 - 无锡 来源:北方有色网 2023-03-19
具有控制加药时间的废水处理装置

本实用新型公开了一种具有控制加药时间的废水处理装置,具体涉及废水处理技术领域,包括工作箱,所述工作箱的上端左部固定安装有进料管,所述工作箱的右端上部固定安装有时间控制器,所述工作箱的内部开设有第一空腔和第二空腔,所述第二空腔的前侧壁中部开设有空槽,所述工作箱的下端左部固定安装有转接管,所述转接管的内表面螺纹连接有转动管,所述转动管的下端固定安装有半圆球,所述半圆球的外表面均匀开设有若干个通孔。本实用新型所述的一种具有控制加药时间的废水处理装置,药水在进入转接管和转动管后,因为通孔的排放量有限,所以药水会对半圆球向下挤压,从而使转动管螺纹向下转动,使药水旋转洒向废水,加大药水和废水的接触面。

标签:
废水处理
江苏 - 无锡 来源:北方有色网 2023-03-19
大豆蛋白废水的处理工艺及装置

本发明提供了一种大豆蛋白废水的处理工艺及装置,该处理工艺是先对大豆蛋白废水进行预除杂,所得清液送入生化处理,出水经超临界水氧化后进行纳滤,得到纳滤清液和纳滤浓液。该处理装置包括有依次连接的预处理装置、生化处理单元、超临界水氧化装置和纳滤膜过滤器。本发明的处理工艺运行成本低,处理效果较好,可以为大豆蛋白废水为代表的高浓度有机废水的处理工程提供理论和实践上的指导,切实解决水污染的防治问题,以实现环境效益、经济效益和社会效益的统一。

标签:
废水处理
江苏 - 无锡 来源:北方有色网 2023-03-19
高效甜菜制糖废水处理系统

本发明涉及一种高效甜菜制糖废水处理系统,其特征是它包括有厌氧折流板反应器和曝气生物滤池组成,所述厌氧折流板反应器由竖向导流板分隔的多个串联连通的反应室构成;所述曝气生物滤池的底部为气水混合室,在气水混合室的顶部上安装有多个长柄滤头,长柄滤头的上方设有曝气管,曝气管上方为垫层和滤料层,位于滤料层上方的曝气生物滤池侧壁设有出水管和反冲出水管,上述厌氧折流板反应器的出水口连接曝气生物滤池的进水管。本发明采用了物化与生化相结合的组合工艺,将经过除砂—沉淀后的甜菜制糖废水依次通过厌氧折流板反应器和曝气生物滤池,使处理后的出水水质达到污水综合排放标准(GB8978-1996)的一级标准。

标签:
废水处理
江苏 - 无锡 来源:北方有色网 2023-03-19
复合式有机废水处理电解槽

本实用新型公开了一种复合式有机废水处理电解槽,该电解槽包括左、右两个开口相对且部分错位交叉设置的E形截面电极框架,在右框架的上架设置有常规阳极,在右框架的中框架和下框架分别设置有阴极和高析氧阳极;在左框架的上框架和中框架也分别设置有阴极和高析氧阳极,在左框架的下架设置有常规阴极;右框架上架上的常规阳极与直流电源的阳极连接,右框架中架上的阴极与直流电源的阴极连接,右框架中架上的高析氧阳极与另一个直流电源的阳极连接,另一个直流电源的阴极与左框架的下架上的常规阴极连接。通过该复合式有机废水处理电解槽处理有机废水,可逐步的将废水中的有机物分解出来。从而达到彻底分离含有机物废水的问题。

标签:
废水处理
江苏 - 无锡 来源:北方有色网 2023-03-19
石化废水深度处理方法
石化废水深度处理方法 1000     
 0

一种石化废水深度处理方法,包括下述步骤:a.将石化废水二级处理出水排入污水池,由进水泵提升进入混凝沉淀池,同时向混凝反应池中投絮凝剂PAC和PAM,根据石化废水的水质条件,确定PAC的投加量为10-30mg/L,PAM的投加量为0.2-0.8mg/L,沉淀后出水进入一级过滤器,滤除剩余的固体悬浮物,过滤后出水流入中间水池;b.中间水池中的污水经提升泵送入催化氧化反应器,停留时间0.5-1.5h,进水同时投加臭氧,臭氧投加量20-50mg/L,进行催化氧化反应;c.催化氧化反应器出水自流通过管道混合器,在管道混合器内投加絮凝剂PAC,PAC的投加量为2-4mg/L,混合后的污水进入二级过滤器进行微絮凝和过滤处理,滤后清水进入清水池,满足排放或回用要求。

标签:
废水处理
江苏 - 无锡 来源:北方有色网 2023-03-19
全氟辛酸铵废水处理方法

本发明提供了一种全氟辛酸铵废水处理方法。将清澈透明的含全氟辛酸铵废水泵入泡沫分离塔进行泡沫分离,将废水塔顶泡沫消泡后得到高浓度全氟辛酸铵水溶液,可再利用;塔底得到浓度较低的全氟辛酸铵水溶液;将泡沫分离塔塔底排出的全氟辛酸铵水溶液用第一级纳滤膜进行过滤,浓缩纳滤截留液,返回到泡沫分离塔再进行泡沫分离;第一级纳滤膜的透过液进入第二级纳滤膜;第二级纳滤膜的透过液达到了国家废水排放标准排出;第二级纳滤膜的浓缩液再返回到第一级纳滤膜;完成了废水的有用物的回收利用和废水的清洁处理。本发明处理过程中没有添加任何药剂,不会产生新的污染,达到零排放,并且回收有用物质,处理过程中都处在常温,能耗低。

标签:
废水处理
江苏 - 无锡 来源:北方有色网 2023-03-19
电镀废水处理装置
电镀废水处理装置 1119     
 0

本实用新型公开了电镀废水处理装置,属于废水处理设备技术领域。电镀废水处理装置,包括处理箱本体,所述处理箱本体内部的顶端设置有离心螺杆,所述处理箱本体上表面的两侧均固定安装有液压伸缩杆,所述处理箱本体内部的两侧均固定连接有滑轨;本实用新型通过离心螺杆、液压伸缩杆、伸缩滤板和处理箱本体的配合使用,通过电机使离心螺杆运转后可使试剂快速与废水进行溶合,加快对废水内有毒物质的分解效率,然后使液压伸缩杆进行运转,可使伸缩滤板进行下降,从而将分解出的有毒物质压入沉淀槽内,加快有毒物质的沉淀速度,极大的提高了对电镀废水的处理效率,且整体操作流程简单便捷,便于工作人员进行操作。

标签:
废水处理
江苏 - 无锡 来源:北方有色网 2023-03-19
用于喷涂室废气废水自动化处理排放装置

本实用新型公开了一种用于喷涂室废气废水自动化处理排放装置,涉及到化工设备技术领域,包括装置罐体,所述装置罐体顶部固定设置有装置盖,所述装置罐体一侧固定设置有废水进管、废气进管和药剂进管,所述装置罐体顶端两侧均固定设置有安装块,所述安装块顶部之间设置有升降板,所述升降板底部四角均固定设置有升降柱,四个所述升降柱贯穿安装块且底端之间固定设置有升降过滤网。本实用新型通过将废气和废水分别通过废水进管和废气进管送入到装置罐体,后续升降板带动升降柱上升,带动升降过滤网对油漆凝结的固体进行捞起,配合传动螺杆带动清理推架对油漆凝结固体推送到清理出口,经过收集仓进行收集处理,清理效果好。

标签:
废水处理
江苏 - 无锡 来源:北方有色网 2023-03-19
污、废水快速澄清器
污、废水快速澄清器 1212     
 0

本实用新型公开了一种污、废水快速澄清器,其加药反应管横向设置在支架上一侧,清水收集槽与加药反应管并排设在支架另一侧,加药反应管上设有进水管,并排排列的若干V形斜管两端分别连接加药反应管和清水收集槽,封闭的沉淀物收集器设在V形斜管下部,V形斜管的下端开口,并伸入沉淀物收集器内,沉淀物收集器底部侧面设有排泥口。本实用新型主要用于电厂酸碱废水、锅炉废水及酸洗废水处理、市政工程高浊度水预处理、污水厂高浓度含泥砂水的澄清分离处理,快速有效地去除水中高浓度悬浮物和有机物。悬浮物的去除率达95%以上,排泥浓度为2%~4%,尤其在用于砂石冲洗和打磨水处理时,水可达到循环利用的效果。

标签:
废水处理
江苏 - 无锡 来源:北方有色网 2023-03-19
混凝反应法处理涂装废水装置

混凝反应法处理涂装废水装置,属废水处理技术领域,包括废水贮槽、前处理槽、原水贮槽、反应沉淀槽、反应气浮槽、清水槽,若干废水贮槽分别管道连接置有COD在线控制仪的前处理槽,所述的前处理槽由破乳区、PH调节区、混凝区组成,前处理槽出水管管道依次顺序连接原水贮槽、反应沉淀槽、反应气浮槽和清水槽,装置中各槽均线路接通工控机,通过加设置有COD在线控制仪的前处理槽,将各种废水预先动态混合,调节进行混凝沉淀反应前污水中的COD,确保水质水量稳定,提高处理效率,经本装置处理后出水可达到《污水综合排放标准》三级标准。

标签:
废水处理
江苏 - 无锡 来源:北方有色网 2023-03-19
含氯化钠的农药生产废水资源处理系统及方法

本发明公开了一种含氯化钠的农药生产废水资源处理系统及方法,属于污水处理方法领域,该系统包括耐盐菌生化系统、纳滤膜装置、电渗析装置、电催化氧化装置;耐盐菌生化系统包括第一耐盐菌好氧装置、耐盐菌厌氧装置、第二耐盐菌好氧装置;第二耐盐菌好氧装置包括耐盐菌MBR装置;所述的处理系统还包括反渗透装置;本发明还公开了废水的处理方法,采用耐盐菌生化+MBR+纳滤膜+电渗析+电催化的方法流程,农药生产废水经处理后,产水水质好,应用于企业生产中,回收了废水中的水资源,得到的氯化钠盐废水中总有机碳含量低,可以用作氯碱生产,回收了废水中的氯化钠盐。

标签:
废水处理
江苏 - 无锡 来源:北方有色网 2023-03-19
上一页 62 63 64 65 66 ... 80 下一页
共80页    到第

北方有色为您提供最新的江苏无锡有色金属废水处理技术理论与应用信息,涵盖发明专利、权利要求、说明书、技术领域、背景技术、实用新型内容及具体实施方式等有色技术内容。打造最具专业性的有色金属技术理论与应用平台!

全国热门有色金属设备推荐
展开更多 +
全国热门有色金属技术推荐
展开更多 +

 

江西省隆恩特环保设备有限公司
宣传

报名参会
更多+

报告下载

有色专家
更多+

昆明理工大学
教授
湖南有色金属研究院
教授级高工/原总工程师
石家庄铁道大学
团委书记/副教授
江西省科学院应用化学研究所
副主任/副研究员
云南锡业集团(控股)有限责任公司
副总经理
赤泥综合利用研究报告2025
推广

热门技术
更多+

推荐企业
更多+

福建省金龙稀土股份有限公司
宣传

发布

在线客服

公众号

电话

顶部
咨询电话:
010-88793500-807