青岛垚鑫智能科技有限公司
宣传

位置:中冶有色 >

有色技术频道 >

> 新能源材料技术

分类:
全部
矿山技术
冶金技术
材料制备及加工技术
环境保护技术
分析检测技术
 
全部
功能材料技术
复合材料技术
新能源材料技术
合金材料技术
加工技术
地区:
全部
北京
天津
上海
重庆
河北
山西
辽宁
吉林
黑龙江
江苏
浙江
安徽
福建
江西
山东
河南
湖北
湖南
广东
海南
四川
贵州
云南
陕西
甘肃
青海
内蒙
广西
西藏
宁夏
新疆
其他
其他
展开
 
全部
杭州
宁波
温州
绍兴
湖州
嘉兴
金华
衢州
台州
丽水
舟山

浙江杭州有色金属新能源材料技术理论与应用

免费发布技术信息>>
用于新能源耦合电厂余热的数据中心供冷系统及控制方法

本发明公开了一种用于新能源耦合电厂余热的数据中心供冷系统及控制方法,主要包括余热锅炉、汽轮机组、凝汽器、轴封加热器、热水型溴化锂制冷机组、烟气余热回收装置、冷却塔、水气换热装置、数据中心机房、机柜组、电制冷机组、光伏发电装置、蓄冷装置和电网,通过烟气余热回收装置回收烟气余热用于驱动热水型溴化锂制冷机组、光伏发电装置发电用于驱动电制冷机组和环境自然冷却来同时为数据中心机房供冷,并利用蓄冷装置平衡电负荷与冷负荷间的时间差异。本发明通过余热回收流程、新能源发电流程与数据中心供冷流程的有效集成,既提升了电厂能效水平,又降低了数据中心PUE指标,还满足了新能源电力的调峰需求,具有广阔的应用前景。

标签:
新能源
浙江 - 杭州 来源:中冶有色网 2023-03-18
新能源汽车充电桩自动收线设备

本发明涉及新能源汽车充电桩技术领域,且公开了一种新能源汽车充电桩自动收线设备,包括外壳,所述外壳内壁固定安装有固定杆,所述固定杆外壁固定安装有卷簧,所述卷簧外壁固定安装有转动轮,所述外壳内壁固定安装有固定盘,所述转动轮外壁活动连接有充电线,该新能源汽车充电桩自动收线设备,通过卷簧的作用可使得转动轮进行转动,转动轮转动时会带动限速轮进行旋转,如果转动轮的转速过块的情况下,限速轮便会产生离心力,并使限速块做以固定头为圆心的圆周运动,随后限速块外壁便会对固定盘进行摩擦,使得限速轮的转速降低,转动轮的转速也随之降低,从而避免了充电线的损坏,进而达到了保护充电线的效果。

标签:
新能源
浙江 - 杭州 来源:中冶有色网 2023-03-18
新能源汽车电池加工用覆膜装置

本发明公开了一种新能源汽车电池加工用覆膜装置,涉及新能源电池加工领域,针对现有的新能源电池覆膜加工效率低,且浪费覆膜原料的问题,现提出如下方案,其包括传送带、料箱和储液箱,所述料箱和储液箱的底端分别固定连接有两个呈对称分布的第一电动伸缩柱和第二电动伸缩柱,且所述传送带呈水平设置,所述传送带位于两个所述第一电动伸缩柱和两个所述第二电动伸缩柱之间,且所述传送带位于料箱和储液箱的下方,所述传送带的表面均匀设置有结构相同,且沿传送带宽度方向设置的牵制板,所述料箱的内部设置有调节机构。本发明结构新颖,且该装置能够有效的对不同尺寸的电池进行覆膜保护操作,提高其覆膜效率,并且不会造成覆膜原料的浪费。

标签:
新能源
浙江 - 杭州 来源:中冶有色网 2023-03-18
新能源车辆的混合动力系统及其控制方法、装置和设备

本发明公开了新能源车辆的混合动力系统及其控制方法、装置和设备,涉及车辆技术领域,包括:获取新能源车辆当前的运行参数和预测换档速度,所述运行参数包括车速和车速变化率,所述预测换档速度表征当前档位和油门踏板开度对应的档位切换速度;根据车速、车速变化率和预测换档速度进行混合动力系统的档位切换预测;若预测到混合动力系统的档位切换,获取混合动力系统当前的动力输出模式;若动力输出模式为电动驱动模式,且检测到电机状态正常,控制混合动力系统在车速达到预测换档速度时进行档位切换;以及,控制混合动力系统在档位切换完成前,保持当前的动力输出模式。本发明能够降低换档延迟,提高新能源车辆的驾驶性和动力性。

标签:
新能源
浙江 - 杭州 来源:中冶有色网 2023-03-18
新能源汽车专用电池散热装置

本发明涉及新能源汽车技术领域,具体为一种新能源汽车专用电池散热装置。本发明涉及一种新能源汽车专用电池散热装置,包括电池组换热机构、散热器以及和换热液循环组件;所述电池组换热机构包括由上壳体以及下壳体装配而成的主换热壳体,上壳体内腔形成一个用于电池包换热的第一空腔,下壳体内腔形成一个用于导入冷却液的第二空腔;所述主换热壳体内腔由下至上依次设置用于分隔上壳体以及下壳体的分隔板和用于承载电池包的支撑件。本发明的有益效果是:采用沉浸式换热方式,换热效率更佳,能迅速将电池组件运转时产生的热量导出,以避免热量长时间在电池内部堆积,降低了引发火灾的风险,使得整个电池实用过程中更加安全。

标签:
新能源
浙江 - 杭州 来源:中冶有色网 2023-03-18
新能源汽车电池承载系统、更换工装和电池更换方法

本发明提供了一种新能源汽车电池承载系统、更换工装和电池更换方法,涉及新能源汽车技术领域。其包括托盘、升降杆和控制单元,所述控制单元用于控制升降杆伸长或收缩;托盘通过升降杆垂直安装在车辆的底盘处,托盘上用于安装电池,升降杆被配置成具有工作状态和换电状态,当升降杆处于工作状态时,升降杆收缩,使得托盘位于底盘处;当升降杆处于换电状态时,升降杆伸长,使得托盘高度下降。本发明提供的一种新能源汽车电池承载系统、更换工装和电池更换方法,无需高精度机械手臂与复杂工装,对换电站需求大大减少,极大降低车辆对换电场所的依赖,换电精度要求低,可以兼顾省时与节省成本。

标签:
新能源
浙江 - 杭州 来源:中冶有色网 2023-03-18
新能源汽车的后地板后段总成结构

本实用新型公开了一种新能源汽车的后地板后段总成结构,包括总成结构,总成结构包括第一后面板,第一后面板连接有第二后面板,第一后面板中部设有凹陷,第二后面板上设有凸筋,总成结构还设有用于加强总成结构的结构强度的强化组件和用于连接其他车身结构的连接组件。本实用新型提供了一种新能源汽车的后地板后段总成结构,具有强度高,空间大,易加工等优点。

标签:
新能源
浙江 - 杭州 来源:中冶有色网 2023-03-18
用于新能源车的座椅滑轨

本实用新型涉及一种用于新能源车的座椅滑轨,它主要适用于新能源汽车前排座椅的滑动。目前,汽车座椅滑轨中的卡板组件在上滑轨中运行时会产生摩擦异响;同时,零件之间会相互干涉。本实用新型的特征是还设置有挡销、卡板护套一、卡板护套二和安装衬套,且在下滑轨上开有衬套沉孔,挡销在全部零件安装好后穿过下滑轨与上滑轨铆接,卡板护套一和卡板护套二分别套装在卡板组件的两侧,且卡板护套一和卡板护套二用塑料做成,安装衬套穿过衬套沉孔焊接在下滑轨上。本实用新型结构设计更合理,使用效果更可靠,卡板组件和上滑轨在运行时不会产生摩擦异响。

标签:
新能源
浙江 - 杭州 来源:中冶有色网 2023-03-18
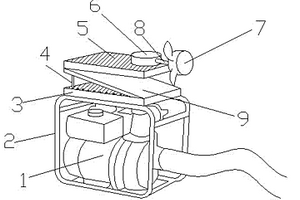
新能源动力的割草机
新能源动力的割草机 1147     
 0

本实用新型公开了一种新能源动力的割草机,包括车架、安装在车架下方的轮组及安装在车架一侧的扶手,所述车架具有内腔,在车架的内腔内靠近扶手侧安装有动力电池,所述动力电池上方的车架上安装有与动力电池连接的电机及与电机传动连接的空压机,车架上与扶手的相对端安装有与空压机连接的涡轮,所述涡轮的转轴与安装在车架底部的旋转刀连接,驱动旋转刀转动,所述旋转刀与割草前进方向相反的一侧设有草屑箱,所述草屑箱的下方设有将旋转刀部分包围的吸屑口,所述电机为变频电机。这种新能源动力的割草机不需要汽油机及汽油,因此该割草机不会像汽油机那样发出噪音,也能够减少设备数量,从而更加安全、重量更轻、噪音小。

标签:
新能源
浙江 - 杭州 来源:中冶有色网 2023-03-18
新能源汽车电池箱专用底托装置

一种新能源汽车电池箱专用底托装置,包括大梁、底部托板、设在所述大梁中的多个电池腔;其特征在于:所述电池腔中设有多个重力夹紧机构以及辅助夹紧机构。该底托装置能够对新能源汽车的电池进行有效、便捷的固定,避免异响的产生,保证了行车的安全。

标签:
新能源
浙江 - 杭州 来源:中冶有色网 2023-03-18
新能源车标准电池包
新能源车标准电池包 932     
 0

本实用新型公开了一种新能源车标准电池包,旨在提供一种可有效解决现有电动汽车电池包结构复杂多类、计周期长,通用性小的问题的新能源车标准电池包。它包括电池箱及若干串联连接的单体电池,所述单体电池位于电池箱内,所述电池箱的外侧面设有电源接口。电池箱的外侧面下部设有安装脚架。

标签:
新能源
浙江 - 杭州 来源:中冶有色网 2023-03-18
风光互补的新能源水泵

本实用新型公开了一种风光互补的新能源水泵,包括水泵本体,及设置在水泵本体外端的保护支架,及设置在保护支架上端的第一连接板,及与第一连接板一端相连的中间板,及与中间板一端相连的第二连接板,及设置在第二连接板上端的发电机,及与发电机相连的输入轴,及与输入轴另一端相连的风叶;本实用新型利用自然风与太阳能作为动力源,将风能与太阳能转换为可使用的电能,将其储存在蓄电池内,用于水泵在使用时的电能供给,当无风时,可利用太阳能作为能源为蓄电池提供电能,当有风时,则可利用风能与太阳能互补的形式为蓄电池充电,代替传统的直接电能供给,节约了用电量,是一种新能源产品。

标签:
新能源
浙江 - 杭州 来源:中冶有色网 2023-03-18
新能源车辆的定位系统及应用其的换电站

本实用新型公开了一种新能源车辆的定位系统及应用其的换电站。新能源车辆的定位系统包括控制单元、定位装置、激光器和相机;控制单元与激光器、相机和定位装置连接;激光器和相机设于换电站上,激光器用于向预设扫描区域发射激光,预设扫描区域内停有待换电车辆;相机用于采集激光器向预设扫描区域发射的激光,得到光斑图像,并将光斑图像发送给控制单元;定位装置设于换电站的底面上,用于限制待换电车辆停于预设扫描区域内;控制单元用于接收相机发送的光斑图像,根据相机的位置信息、激光器的位置信息和光斑图像确定出待换电车辆的目标点的坐标,即电池包的坐标。本实用新型提供的新能源车辆的定位系统具有定位精准度高和效率高的特点。

标签:
新能源
浙江 - 杭州 来源:中冶有色网 2023-03-18
新能源汽车自动提醒系统

本实用新型公开了一种新能源汽车自动提醒系统,本实用新型实现了感应器、外壳、报警灯、安装槽、安装座、报警器、接线端子、三极管、导线、固定座,三极管内部设有集电极、集电区、集电结、基区、发射结、发射区、发射电极,在使用时自动提醒系统结构简单并且质地轻安装在新能源汽车上稳定性好,不会造成脱落等现象,并且提醒系统感应效果强,报警声音大,使汽车在被人破坏时会产生报警提示,提醒汽车车主,通过三极管工作电流很小,从而大幅度减小了汽车新能源汽车自动提醒系统的整机能耗,大大的延长了提醒系统的使用寿命。

标签:
新能源
浙江 - 杭州 来源:中冶有色网 2023-03-18
新能源汽车用换电装置
新能源汽车用换电装置 1085     
 0

本发明公开了一种新能源汽车用换电装置,涉及新能源汽车领域,本发明包括换电桩,换电桩的底部两侧均固定有底脚盘,换电桩的外表面中间安装有多个换电头,多个换电头的外侧设置有穿插组件,换电桩的顶部设置有警示组件,换电桩的两侧设置有防护组件。本发明通过设置有穿插组件,在换电头未接电使用时,转动护套使得穿插口朝下设置,可让护套对换电头进行遮蔽保护,在换电头接电使用时,转动护套使得穿插口朝上设置,电源线穿入与换电头对接后,多余长度电源线可自穿插口折叠穿出,使得多余长度电源线可被护套限位,使得多余长度电源线不至于拖拽至地面影响安全卫生,避免了换电头接电方式不够便捷的情况。

标签:
新能源
浙江 - 杭州 来源:中冶有色网 2023-03-18
双活塞式新能源汽车真空泵

本发明公开了双活塞式新能源汽车真空泵,包括真空仓和动力仓以及设于真空仓和动力仓之间的做功仓,真空仓内部安装有一对真空做功腔,此双活塞式新能源汽车真空泵通过密封结构包括设于出气密封塞上的安装套,固定在安装套外圈上的套圈,固定在真空仓上的密封圈以及设于套圈和密封圈之间的滑环,通过在两个一型活塞相向活动进气的时候,驱动滑环和几子杆同步活动,同时将两个一型活塞相反活动时所压缩未被排出的气体进行再次压缩,将气体排出到的外界,有利于增大出气量,使得装置使用性能,另外装置能够简单实现,结构简单,实施简单。

标签:
新能源
浙江 - 杭州 来源:中冶有色网 2023-03-18
新能源可移动式电动汽车充电桩

本发明公开了一种新能源可移动式电动汽车充电桩,其结构包括充电桩体、移动滚轮、控制面板、IC插卡槽、人机交互界面、工作提示灯、支撑架、太阳能板、挡板、充电枪收纳槽、充电枪、充电线缆、缠线盘、收线辊轴、蓄电池组、能量转换机构、防老化保护装置,移动滚轮设于充电桩体下方防老化保护装置端与充电桩体下表面通过螺丝螺旋连接。有益效果为:设有防老化保护装置,可以将充电枪及充电线缆固定在充电桩内部,只有在插卡要进行充电时,才可抽拉使用,防止充电枪及充电线缆被随意抽拉出来表露在外面,加快其老化速度,缩短其使用寿命,同时还可自动收线缆,有效提高新能源可移动式电动汽车充电桩的自动化程度,便于使用。

标签:
新能源
浙江 - 杭州 来源:中冶有色网 2023-03-18
新能源汽车的前置格栅结构

本发明公开了一种新能源汽车的前置格栅结构,所述格栅结构内设置有带充电插孔的充电口,所述格栅结构包括格栅本体和翻盖结构,所述翻盖结构相对充电口进行翻转,所述翻盖结构内侧固定连接有限位框,限位框内设有将翻盖结构闭合定位的限位机构,所述充电口通过充电插孔插接有充电插头,所述充电口内设有对充电插头位置进行锁定的锁定件,所述翻盖机构内侧、且位于限位框上方设有对充电插孔进行遮雨的遮雨机构,此新能源汽车的前置格栅结构,充电时对充电插头的位置进行锁定,避免无意触碰造成充电插头的脱落,充电完成后,充电插头中的电流消失,充电插头从插孔中弹出,且插头失去定位块的限位作用,便于将充电插头取出。

标签:
新能源
浙江 - 杭州 来源:中冶有色网 2023-03-18
防撞型新能源环保充电桩

本发明涉及新能源领域,尤其涉及一种防撞型新能源环保充电桩,包括有底板、固定柱、安装台、缓冲防护组件、充电接口本体等;底板顶部联接有固定柱,安装台联接于固定柱顶端,缓冲防护组件设于底板上,充电接口本体联接于安装台顶部。通过防护板与活动压板及其上装置的配合,可以起到缓冲的作用,从而可以避免该设备因被电动汽车撞击而被损坏,进而可以减少撞击带来的损失,保证了该设备后续能够稳定运作,达到了能够有效地避免该设备因被电动汽车撞击而被损坏的效果。

标签:
新能源
浙江 - 杭州 来源:中冶有色网 2023-03-18
具有防护装置的新能源充电装置及防护方法

本发明公开了一种具有防护装置的新能源充电装置及防护方法,属于新能源充电装置技术领域,需要充电的汽车通过轮体移动至压条上方处后则压动压条向下移动进而通过压条底部的压杆挤压液压油箱,通过压杆挤压液压油箱使其液压油通过第一导油管进入至L型外防撞块内,并将L型内防撞块顶出增高防撞击面,当L型外防撞块和L型内防撞块收到撞击的时候则通过滑块带动第一内缓冲杆滑动进一步压缩第二缓冲弹簧进行缓冲并将第一外缓冲筒内的液压油导入至条型外防撞杆内,使其条型外防撞杆内的条型内防撞杆伸出然后进一步构成防撞防护,当L型外防撞块滑动的时候同步还压动第二内缓冲杆带动第一缓冲弹簧压缩进一步进行缓冲对充电桩进行保护。

标签:
新能源
浙江 - 杭州 来源:中冶有色网 2023-03-18
新能源汽车车载充电机的立体可拆式散热装置

本发明公开了一种新能源汽车车载充电机的立体可拆式散热热装置,可拆式散热装置,包括内腔、散热水道和外腔,所述内腔包容在主变压器和主功率元器件上;所述散热水道包括立体内循环水道和外循环水道,所述主变压器和主功率元器件固定在主板中,所述可拆式散热装置罩在主变压器和主功率元器件上通过螺丝固定在主散热器上并通过螺丝固定在主散热器上;所述内循环水道连接水管接头,所述水管接头连接汽车冷却外循环,并通以冷却液冷却。本发明装置结构简化设计,体积减小,结构完全可拆卸,环保性高。可拆式模块设计改善了水道复杂程度导热针对性强而且维修方便节约了成本。散热迅速对主发热器件的热传导效率可以达到80~90%。节约产品制造成本和维修成本。主要用于不同型号新能源充电机中使用。

标签:
新能源
浙江 - 杭州 来源:中冶有色网 2023-03-18
新能源车电控制动系统及方法

本发明公开了一种新能源车电控制动系统及方法,系统包括VCU、踏板、可检测踏板信息的踏板模拟单元、受踏板模拟单元控制启动的主缸和若干制动执行单元,所述的踏板模拟单元与VCU之间电连接,所述的制动执行单元分别与VCU电连接,所述的主缸分别与制动执行单元通过制动管路连接。本发明旨在提供一种有独立动力源、相应速度较快的新能源车电控制动系统及方法。

标签:
新能源
浙江 - 杭州 来源:中冶有色网 2023-03-18
抗震效果好的新能源汽车蓄电池安装箱

本发明公开了一种抗震效果好的新能源汽车蓄电池安装箱,包括框体,所述框体内腔的底部固定连接有弹簧杆,所述弹簧杆的顶部固定连接有第一活动板,所述第一活动板的两侧均固定连接有第一滑块,所述框体内壁的两侧均开设有第一滑槽。本发明通过设置弹簧杆、第一活动板、立板、第一弹簧、斜块、滑轨、连接柱、连接块和滚轮的配合使用,解决了传统的蓄电池在放置到箱子内时,主要是靠箱子内部的塑料垫减震,而塑料垫导致其蓄电池的减震缓冲功能差,容易移位的问题,该抗震效果好的新能源汽车蓄电池安装箱,具备抗震效果好的优点,能够有效的保护蓄电池,防止蓄电池出现碰撞损坏的现象,提高了蓄电池的使用寿命。

标签:
新能源
浙江 - 杭州 来源:中冶有色网 2023-03-18
新能源汽车动力电池扩展装置

本发明提供了一种新能源汽车动力电池扩展装置,包括机壳,所述机壳的顶面一侧固定连接有电机,所述电机的输出轴固定连接有螺纹杆,所述螺纹杆的外表面套设有第一支板,所述第一支板与所述螺纹杆的外表面螺纹连接,所述第一支板与所述机壳顶面的滑槽滑动连接,所述机壳的内腔里设置有触头机构。本发明中,电机带动第一滑板和第二滑板在三组触头机构之间切换连通,使得两组动力电池切换后互不影响,减少了新能源汽车的控制系统的复杂性,保证运行的可靠。

标签:
新能源
浙江 - 杭州 来源:中冶有色网 2023-03-18
新能源汽车刹车电磁助力器

本发明涉及新能源汽车领域,尤其涉及一种新能源汽车刹车电磁助力器,包括有防油外壳、摩擦制动组件、散热组件、调节组件等;防油外壳固定安装在新能源汽车的悬架上,防油外壳内部设有摩擦制动组件,防油外壳外部设有散热组件,调节组件设于异型支撑架上。由于防油外壳的保护作用,可以防止外部的水和油进入防油外壳内部,在刹车的过程中,弧形挡板不再挡住防油外壳上的通孔,增大防油外壳内部与外界的空气流通,使得防油外壳内部的热量可以散出,防止磁性圆块表面碳化,从而可以防止磁性圆块表面产生颗粒物,保证了该设备的制动效果,实现了能够在防止油和水进入的同时保证散热性能的目的。

标签:
新能源
浙江 - 杭州 来源:中冶有色网 2023-03-18
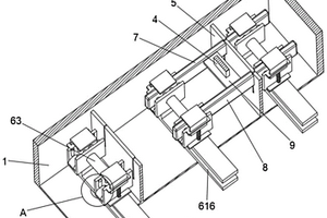
具备保护功能的伸缩式新能源汽车充电桩

本发明涉及新能源领域,尤其涉及一种具备保护功能的伸缩式新能源汽车充电桩,包括有固定框、气缸、充电桩本体、充电枪等;固定框内部固定安装有气缸,气缸一端联接有充电桩本体,充电桩本体上部套接有充电枪。在对新能源汽车充电完成后,充电枪可以被自动地收入充电桩本体内,同时电线可以被收入固定框内部,防止人由于忘记将充电枪放回而导致充电枪与电线长期暴露在外界影响其使用寿命。

标签:
新能源
浙江 - 杭州 来源:中冶有色网 2023-03-18
新能源动力电池贴胶机

本发明涉及新能源生产技术领域。新能源动力电池贴胶机,包括机架组件、支撑架、电芯送料组件、上料机械手组件、中转组件、转盘组件、贴胶组件、压胶组件、包胶组件和下料机械手组件。该新能源动力电池贴胶机的优点是可以自动适应不同间距尺寸的电芯进行贴胶操作,并且顶面贴胶和侧端面包胶全自动操作。

标签:
新能源
浙江 - 杭州 来源:中冶有色网 2023-03-18
基于大数据的新能源电池快速充电监管控制系统

本发明公开了一种基于大数据的新能源电池快速充电监管控制系统,包括数据采集模块、数据分析模块、控制器、警示输出模块、核验分析模块、信息收集模块、深度处理模块和数据互联模块;数据采集模块用于实时采集第一接入充电阶段内的新能源电池的时刻监管信息,并将其传输至数据分析模块;且数据采集模块还用于实时采集第二平稳充电阶段内的新能源电池的环境联合运载信息,并将其存储至内部文件夹;本发明是将新能源电池的充电过程拆分为两个阶段,并将层次拆分后的各阶段进行深入化处理,再将两者相结合来做出全面化的反馈措施,以保证充电过程的监测分析精度和安全评判准确性。

标签:
新能源
浙江 - 杭州 来源:中冶有色网 2023-03-18
新能源汽车自动换档执行器及其自动换挡方法

本发明涉及新能源汽车领域,尤其涉及新能源汽车自动换档执行器及其自动换挡方法,包括有壳体、自动换挡组件、低速变挡组件、调挡组件等;壳体内部设有自动换挡组件,壳体上设有低速变挡组件,自动换挡组件上设有调挡组件。通过带杆八面轴及其上装置的配合,使得新能源汽车可以在高速行驶时自动换挡,从而使新能源汽车循序渐进地提速,避免了机械换挡的顿挫感,不但可以节能,还可以提高驾驶体验。

标签:
新能源
浙江 - 杭州 来源:中冶有色网 2023-03-18
含SVG的新能源的多馈入系统电网强度获得方法

本发明公开了一种含SVG的新能源多馈入系统电网强度获得方法。建立电网结构保持模型下含静止无功发生器的新能源的多馈入系统传递函数矩阵,根据多馈入系统传递函数矩阵建立多馈入系统稳定性的闭环特征方程;构造了一个等效系统,根据等效系统进一步等效为单馈入系统,根据单馈入系统处理参数获得广义短路比和临界广义短路比,通过广义短路比和临界广义短路比比较判断含SVG的新能源多馈入系统电网强度。本发明同样可用于含多静止无功发生器的多类型新能源多馈入系统电网强度判断。

标签:
新能源
浙江 - 杭州 来源:中冶有色网 2023-03-18
上一页 59 60 61 62 63 ... 71 下一页
共71页    到第

中冶有色为您提供最新的浙江杭州有色金属新能源材料技术理论与应用信息,涵盖发明专利、权利要求、说明书、技术领域、背景技术、实用新型内容及具体实施方式等有色技术内容。打造最具专业性的有色金属技术理论与应用平台!

全国热门有色金属设备推荐
展开更多 +
全国热门有色金属技术推荐
展开更多 +

 

江西省隆恩特环保设备有限公司
宣传

报名参会
更多+

报告下载

有色专家
更多+

西北稀有金属材料研究院宁夏有限公司
党委书记 / 董事长
太原理工大学
院长/教授
武汉科技大学
校学术委员会主任 / 教授
湖南有色金属研究院
教授级高工/原总工程师
中国有色金属工业协会
副会长兼秘书长
赤泥综合利用研究报告2025
推广

热门技术
更多+

推荐企业
更多+

福建省金龙稀土股份有限公司
宣传

发布

在线客服

公众号

电话

顶部
咨询电话:
010-88793500-807