青岛垚鑫智能科技有限公司
宣传

位置:北方有色 >

有色技术频道 >

分类:
全部
矿山技术
冶金技术
材料制备及加工技术
环境保护技术
分析检测技术
 
全部
功能材料技术
复合材料技术
新能源材料技术
合金材料技术
加工技术
地区:
全部
北京
天津
上海
重庆
河北
山西
辽宁
吉林
黑龙江
江苏
浙江
安徽
福建
江西
山东
河南
湖北
湖南
广东
海南
四川
贵州
云南
陕西
甘肃
青海
内蒙
广西
西藏
宁夏
新疆
其他
其他
展开
 
全部
南京
无锡
徐州
常州
苏州
南通
连云港
淮安
盐城
扬州
镇江
泰州
宿迁

江苏泰州有色金属材料制备及加工技术理论与应用

免费发布技术信息>>
EVA复合材料全自动封箱装置

本实用新型公开了一种EVA复合材料全自动封箱装置,包括基座、封箱装置的主体、安装架、传送带、用于对传送带进行支撑的支撑结构、用于调节主体高度的高度调节结构以及用于对产品进行导向的导向结构,所述安装架设有两个,且分别安装于传送带的前后两侧,且所述安装架上定位孔和贯穿的活动槽,所述基座安装于两个安装架之间,且所述基座通过高度调节结构活动安装于活动槽中,所述主体安装于基座的上端表面,所述支撑结构安装于传送带的内部,所述导向结构设置有两个,两个所述导向结构分别安装于两个安装架互相靠近的一侧且靠近于传送带的上端表面。本实用新型结构简单,使用方便,能够根据不同大小的箱体进行调整,封箱效果好。

标签:
复合材料
江苏 - 泰州 来源:北方有色网 2023-03-18
应用于制备多层涂布复合材料的烘箱

本实用新型公开一种应用于制备多层涂布复合材料的烘箱,包括烘箱支架和箱体,箱体固定于烘箱支架上,箱体包括加热干燥烘箱和调控室,加热干燥烘箱内分为前段烘箱、中段烘箱和尾段烘箱,相邻的烘箱段之间设有横向挡板,前段烘箱、中段烘箱以及尾段烘箱中均设有电加热器和温度调匀装置,由调控室控制电加热器发热,并由温度调匀装置将各段烘箱的温度调匀,芯膜经涂胶后在烘箱内分为三个阶段均匀的加热干燥。通过设置温度调匀装置和风量调节装置,使烘箱内个区域的温度均匀分布,保证膜材料表面均匀良好的受热,进而保证后续工艺工多层膜良好的复合。

标签:
复合材料
江苏 - 泰州 来源:北方有色网 2023-03-18
阻燃型椰壳粉PVC复合材料

本发明公开了一种阻燃型椰壳粉PVC复合材料,由聚氯乙烯(PVC)树脂、椰壳粉、蒙脱土粒子和各种助剂组成,各组分的重量配比为:聚氯乙烯(PVC)树脂45~50%,椰壳粉20~25%,蒙脱土粒子8~12%,相容剂5~8%,润滑剂6~9%,氯化聚乙烯(CPE)6~9%,增韧剂2~4%、阻燃剂2~4%;进一步改进在于:阻燃剂为三氧化二锑;还包括紫外线吸收剂,紫外线吸收剂的配比为1~3%。本发明阻燃性好,在自然光照下不会分解。

标签:
复合材料
江苏 - 泰州 来源:北方有色网 2023-03-18
秸杆改性复合材料
秸杆改性复合材料 832     
 0

本发明公开了一种秸杆改性复合材料,为多层复合结构,包括至上而下的耐磨层、彩膜层、底片、基材;耐磨层是外表面含有UV涂层的透明膜;基材中添加秸杆纤维;进一步改进在于:基材为秸杆木塑聚氯乙烯、氯化聚氯乙烯结皮发泡板;秸杆纤维利用农作物秸秆蒸汽爆破法制备;秸杆纤维经过表面复合处理工艺(乙二醇/偶联)进行预处理;基材中加入无机纳米粒子、SiC纳米粉末。本发明能克服秸秆纤维的缺陷,规模化利用秸秆,强度高,韧性好,耐磨性好。

标签:
复合材料
江苏 - 泰州 来源:北方有色网 2023-03-18
玄武岩纤维复合材料耐火保温板

本实用新型公开了一种玄武岩纤维复合材料耐火保温板,包括墙体以及板体,所述墙体与板体之间还设置有粘结层,所述板体包括有复合保温板、纤维复合层、抹面层以及涂料面层,所述复合保温板的表面开设有多个第一内槽,所述第一内槽之间设置有第二内槽,所述第一内槽的内部设置有泡沫板,所述第二内槽的内侧设置有支撑板;本实用通过设置的复合保温板以及相匹配的辅助结构,能够提供在内部的空腔保温结构,并且通过支撑板以及泡沫板提供在内部的支撑结构,提供隔热空腔的同时,保证结构的支撑稳定,对于温度的隔断不仅通过泡沫板,而且提供了内部的槽口进行辅助,隔温效果更好。

标签:
复合材料
江苏 - 泰州 来源:北方有色网 2023-03-18
带有保温结构的EVA复合材料生产用储存罐

本实用新型公开了一种带有保温结构的EVA复合材料生产用储存罐,包括罐体、底座、进料管和出料管,所述罐体底部固定安装有底座,所述罐体顶部一侧固定焊接有进料管,所述罐体底部一侧固定焊接有出料管,所述罐体顶部活动安装有顶盖,所述顶盖和罐体顶部侧壁均固定焊接有固定座,所述固定座内腔螺纹连接有连接螺杆,所述罐体由外壳和内胆组成,所述内胆位于外壳内腔,所述外壳和内胆连接处固定填充有保温棉,所述保温棉一侧固定安装有加热器。本实用新型在对复合原料储存的过程中具备保温效果,同时在对原料排出时,可加速原料的排出速度,且使用完成后可对罐体内腔进行清洁,使用非常的方便。

标签:
复合材料
江苏 - 泰州 来源:北方有色网 2023-03-18
聚醚醚酮复合材料加热装置

本实用新型公开了一种聚醚醚酮复合材料加热装置,包括加热外壳,所述加热外壳的内底部设置有两个滑块,所述加热外壳的内底部且位于两个滑块的中间固定连接有第一固定块,所述第一固定块的侧面活动连接有第一螺纹杆,所述第一螺纹杆的左端贯穿左侧滑块延伸至加热外壳的外部固定连接有第一转杆,所述第一螺纹杆的右端贯穿右侧滑块固定连接有限位块,所述第一固定块的顶部设置有第二固定块,所述第二固定块的顶部固定连接有支撑板。本实用新型,通过采用交变电磁发生器产生电磁对金属加热片进行加热,且在第二固定块的上表面设置有温度测量仪,能够方便的控制内部的温度,提高产品成型的质量。

标签:
复合材料
江苏 - 泰州 来源:北方有色网 2023-03-18
复合材料板结构
复合材料板结构 750     
 0

本实用新型公开了一种复合材料板结构,包括保温板、防护层和不锈钢丝网,所述保温板内部设置有结构架且保温层顶部与底部热压设置有陶瓷纤维板,所述陶瓷纤维板一侧热压设置有玻璃纤维板且玻璃纤维板一侧胶合有防腐层,所述防腐层与玻璃纤维板之间夹合有不锈钢丝网,所述防腐层一侧胶合有防护层,所述防护层外表面喷涂有防刮层且防刮层与防护层之间喷涂有反射层。本实用新型通过设置陶瓷纤维板、玻璃纤维板们可以有效提高本产品的隔热、阻燃能力,保温板可以起到保温的作用,防护壳和结构架可以提高本产品的强度,适合被广泛推广和使用。

标签:
复合材料
江苏 - 泰州 来源:北方有色网 2023-03-18
纳米复合材料制成的隔热LED节能灯

本发明公开了一种纳米复合材料制成的隔热LED节能灯,包括底座、固定绳、散热机构、亮度调节机构、灯头机构和灯罩,固定绳的一端与底座远离安装面的一侧连接,另一端与灯罩固定连接,亮度调节机构的一端位于底座内部,另一端伸入灯罩与灯头机构结合,散热机构位于灯头机构内部,散热机构、灯头机构、亮度调节机构和底座之间电连接。灯头机构包括基板、双层膜片、LED芯片、金线和灯壳,基板位于灯壳内部,LED芯片阵列排布于基板上,双层膜片覆于基板表面,LED芯片之间通过金线电连接。散热机构包括热管散热器、出热管和进热管,进热管和出热管的一端分别与LED芯片接触,进热管和出热管的另一端与热管散热器相连,热管散热器包括散热铝基翅片。

标签:
复合材料
江苏 - 泰州 来源:北方有色网 2023-03-18
低腐蚀浇筑式船用电缆耐火密封复合材料及其制备方法

本发明公开了一种低腐蚀浇筑式船用电缆耐火密封复合材料及其制备方法,材料包括A组分和B组分,A组分的组成及重量份配比为:胶凝材料35~60份,轻质填料10~25份,惰性耐烧蚀材料20~50份,片状增强材料2~6份,纤维增强材料2~6份,减水剂<1份,缓凝剂<0.2份,B组分的组成及重量份配比为:胶凝材料35~55份,水45~65份,缓凝剂0.05~0.2份,制备时,将A组分和B组分按一定比例搅拌均匀后浇注于电缆框中,在室温下养护。本发明具有耐火、密封性能好、施工中未胶凝浆体对金属电缆框腐蚀性低的优点。

标签:
复合材料
江苏 - 泰州 来源:北方有色网 2023-03-18
阻燃型桑枝纤维PVC复合材料

本发明公开了一种阻燃型桑枝纤维PVC复合材料,包括聚氯乙烯(PVC)树脂、桑枝纤维、相容剂、润滑剂、增韧剂、阻燃剂;进一步改进在于:阻燃剂为氢氧化铝;采用乙二醇/偶联剂对桑枝纤维进行表面处理。本发明阻燃性好。

标签:
复合材料
江苏 - 泰州 来源:北方有色网 2023-03-18
氧化镧-富铋型碘氧化铋复合材料及其制备方法

本发明提供了一种氧化镧‑富铋型碘氧化铋复合材料及其制备方法,本发明通过煅烧的方法制备出La2O3,在碱性条件下加入不同比例的KI和Bi(NO3)3混合物,合成出不同质量比的氧化镧‑富铋型碘氧化铋(La2O3/Bi5O7I)复合半导体光催化材料,通过检测技术对所制备的复合光催化材料进行表征分析,再模拟太阳光照射下催化降解四环素,比较不同质量比的复合光催化材料光催化性能差别,以及考察不同质量比的氧化镧‑富铋型碘氧化铋(La2O3/Bi5O7I)复合半导体光催化材料的催化活性,得到反应活性最佳的氧化镧‑富铋型碘氧化铋(La2O3/Bi5O7I)复合半导体光催化材料,能够高效稳定的降解常见的抗生素残留。

标签:
复合材料
江苏 - 泰州 来源:北方有色网 2023-03-18
添加毛竹纤维的复合材料

本发明公开了一种添加毛竹纤维的复合材料,由塑料、毛竹纤维、玻纤和各种助剂组成,各组分的重量配比为:塑料50~70%,毛竹纤维20~30%,玻纤10~13%各种助剂5~8%;进一步改进在于:毛竹纤维采用乙酰化处理。本发明能规模化利用毛竹纤维,且具有较高的抗拉强度和抗断裂性能。

标签:
复合材料
江苏 - 泰州 来源:北方有色网 2023-03-18
添加麻纤维的复合材料

本发明公开了一种添加麻纤维的复合材料,由废塑料、麻纤维、碳酸钙粒子和各种助剂组成,各组分的重量配比为:废塑料56~65%,麻纤维12~18%,碳酸钙粒子12~15%,各种助剂5~8%;进一步改进在于:麻纤维采用甲基丙烯酸甲脂(MMA)包覆处理。本发明能规模化利用麻纤维,制造成本低。

标签:
复合材料
江苏 - 泰州 来源:北方有色网 2023-03-18
防火复合材料保温模板墙体

本实用新型是一种防火复合材料保温模板墙体,在基层墙体的外侧设置有抹面砂浆层,在抹面砂浆层的外侧设置界面剂层,界面剂层的外侧设置第一保温层,在第一保温层的外侧设置玻纤网层,在玻纤网层的外侧设置防火层,防火层包括第一防火板、第二防火板和防火涂料层,防火层的外侧设置有第一玻纤网层,在第一玻纤网层的外侧为腻子层,在腻子层的外侧为MCM超薄清水板装饰面层。本实用新型结构简单、设计合理新颖,操作方便,能有效的达到防火的作用,并且轻便。

标签:
复合材料
江苏 - 泰州 来源:北方有色网 2023-03-18
复合材料生产用芯输送带

本实用新型公开了一种复合材料生产用芯输送带,包括底板、主动轮和从动轮,所述底板的顶部设置有收集仓,且收集仓内放置有灰尘槽,所述收集仓顶部两端通过螺栓安装有滑轨,所述滑轨之间设置有连接杆,所述连接杆的顶部通过螺栓安装有毛刷,所述底板的顶部两端通过螺栓安装有阻尼减震器,所述阻尼减震器的顶部通过螺栓均安装有支架,所述支架的顶部通过螺栓分别安装有电动机和固定轴,所述固定轴上套设有从动轮,所述电动机的一端设置有主动轮,所述主动轮与从动轮之间通过橡胶传送皮带相连,所述电动机的顶部通过安装件设置有电机控制器。该新型复合材料生产用芯输送带功能多样,操作简单,便于生产,满足了使用中的多种需求,适合广泛推广。

标签:
复合材料
江苏 - 泰州 来源:北方有色网 2023-03-18
复合材料板
复合材料板 1115     
 0

本实用新型公开了一种复合材料板,包括不锈钢板、不锈钢网、四氟布、硅橡胶布、纤维布及夹丝纤维布,本实用新型一种复合材料板,通过钢板进行定型,其余材料的顺序加入,不仅保证了工业化生产的成本,还有效加强了材料板的使用强度,对于复杂应力的抵消效果进行优化,本实用新型结构简单,便于工业话生产,广泛适用于建筑材料行业的生产加工。

标签:
复合材料
江苏 - 泰州 来源:北方有色网 2023-03-18
高强度桑枝纤维/PVC复合材料及其制备方法

本发明公开了一种高强度桑枝纤维/PVC复合材料:由塑料、桑枝纤维、钛白粉粒子、炭黑和各种助剂组成,各组分的重量配比为:塑料46~56%,桑枝纤维12~15%,钛白粉粒子5~7%,炭黑7~8%,相容剂10~12%,润滑剂5~8%,增韧剂3~4%。本发明还公开了一种高强度桑枝纤维/PVC复合材料的制备方法,桑枝纤维经热处理法处理。本发明能规模化利用桑枝纤维。

标签:
复合材料
江苏 - 泰州 来源:北方有色网 2023-03-18
疏水微生物蛋白质/聚烯烃复合材料及制备方法

本发明公开了一种疏水微生物蛋白质/聚烯烃复合材料及制备方法,其主要组分及各组分的重量份数为:疏水微生物蛋白质40~70份,聚烯烃30~60份,润滑剂1~5份,抗氧化剂0.1~0.5份,气味吸附剂1~3份。制备方法是将疏水微生物蛋白质、润滑剂、抗氧化剂和气味吸附剂,置于高速搅拌机中充分搅拌10~30分钟;再将聚烯烃加入到上述混合物中,充分搅拌10~30分钟。混合物置于40~80℃下干燥6~12小时后,通过同向双螺杆挤出机在100~190℃,螺杆转速为100~600转/分钟挤出造粒。本发明的复合材料具有较好的抗水性、抗菌、环境又好等优点,应用前景非常广阔。

标签:
复合材料
江苏 - 泰州 来源:北方有色网 2023-03-18
毛竹纤维/PVC复合材料及其制备方法

本发明公开了一种毛竹纤维/PVC复合材料:由废塑料、毛竹纤维、蒙脱土粒子、二氧化硅粒子和各种助剂组成,各组分的重量配比为:废塑料50~59%,毛竹纤维10~14%,蒙脱土粒子2~4%,二氧化硅粒子5~7%,相容剂8~10%,润滑剂5~7%。本发明还公开了一种毛竹纤维/PVC复合材料的制备方法,毛竹纤维经碱处理法处理。本发明能规模化利用毛竹纤维、废塑料,保护环境。

标签:
复合材料
江苏 - 泰州 来源:北方有色网 2023-03-18
氢化丁腈芳纶复合材料用粘合剂及其制备方法、使用方法

本发明公开一种氢化丁腈芳纶复合材料用粘合剂及制备方法、使用方法。该粘合剂的组分及重量配比为:nipolDN502100,氧化锌5~8,硬脂酸1.5~2,喹啉系防老剂RD1~2,邻苯二甲酸二辛脂DOP10~20,沉淀法白炭黑255?15~25,纳米钙10~20,粘合剂AS-885~6,促进剂CZ1~1.5,TMTD0.1~3,硫磺S2~3。制备方法是按顺序加入主体材料、活化材料、填充材料、粘合体系和硫化体系,加温混炼,然后薄通、打三角包,制成胶条。使用时将粘合剂挤出涂覆在复合材料基体上,以饱和蒸汽硫化,使基体与编织层骨架粘合在一起。该粘合剂粘结性能优异、制备简单、使用方便,用于制作耐油胶管和消防水带等产品,效果显著。

标签:
复合材料
江苏 - 泰州 来源:北方有色网 2023-03-18
复合材料纤维毛絮收集器

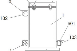
本实用新型公开了一种复合材料纤维毛絮收集器,包括沉降收集箱,所述沉降收集箱的内侧固定连接有有机钢化玻璃窗,所述沉降收集箱的一侧外表面固定连接有排气管支撑框架,所述排气管支撑框架的内部设置有挤出机排气管道,所述排气管支撑框架的下端外表面固定连接有管道清理口,所述沉降收集箱的下端外表面固定连接有固定支撑脚,所述沉降收集箱的另一侧外表面固定连接有连接漏斗座,所述连接漏斗座的一端开设有负压风机接口。本实用新型所述的一种复合材料纤维毛絮收集器,利用在吸气管道与挤出机排气口之间设计一个可收集纤维的装置,达到有效收集废纤维,净化工作环境,避免安全事故的发生,带来更好的使用前景。

标签:
复合材料
江苏 - 泰州 来源:北方有色网 2023-03-18
氧化铅和氧化石墨烯的复合材料组分及制备方法

本发明公开了一种氧化铅和氧化石墨烯的复合材料组分,它包括下列按质量比计量的组分:氧化石墨烯:分散剂:硼氢化钠为1:1:10,醋酸铅:碳酸钠为3:1,其中的氧化石墨烯:醋酸铅为1:20~1:60。本发明还包括相配套的制备方法,它包括将量取的氧化石墨烯加到搅拌机内,加入醋酸铅后搅拌均匀,再加入分散剂搅拌成混合溶液。将量取的硼氢化钠加入混合溶液中,在搅拌过程中加热至80℃±5℃,在此温度条件下反应。接着在搅拌状态中加入量取的碳酸钠,待搅拌后得到氧化石墨烯和碳酸钠混合悬浮液,此悬浮液经抽滤、清洗得到沉淀物,把沉淀物置放到实验气氛电炉中加热,在氩气保护下煅烧得到氧化铅和氧化石墨烯的复合材料。

标签:
复合材料
江苏 - 泰州 来源:北方有色网 2023-03-18
连续生产装置及其应用、一种连续生产纤维增强热塑性复合材料的方法

本发明属于热塑性复合材料技术领域,具体涉及一种连续生产装置及其应用、一种连续生产纤维增强热塑性复合材料的方法。本发明提供了一种连续生产装置,包括放卷机、张紧装置、干燥组件、浸渍模具;还包括进口和所述浸渍模具过渡连接段连接的固化炉;沿牵引方向设置在所述固化炉出口后端的压光机、牵引机和收卷机;胶枪和所述注胶口连接的注胶机。本发明提供的装置使热塑性单体材料和纤维布仅在浸渍模具中浸渍,并使热塑性单体材料保持半凝胶状态,在后续固化炉中进行固化,在有效改善纤维浸渍效果的同时,解决了热塑性单体材料过早反应固化粘连模具的问题,实现纤维增强热塑性片材的连续化生产。

标签:
复合材料
江苏 - 泰州 来源:北方有色网 2023-03-18
军用飞机复合材料整流罩

本发明公开了一种军用飞机复合材料整流罩,包括外罩体和内罩体,所述内罩体位于外罩体内侧,且可拆卸连接,所述外罩体和内罩体之间可拆卸连接有减震装置,所述减震装置包括内套筒和外套筒,所述外套筒内壁滑动连接有内套筒,所述外套筒内部设有二号弹簧和压板,所述二号弹簧一端固定在外套筒顶部,所述二号弹簧另一端与压板上端固定连接,所述内套筒上端与压板下端固定连接,所述内套筒外侧设有一号弹簧,所述外套筒上端固定连接有一号固定板,所述内套筒下端固定连接有二号固定板。该军用飞机复合材料整流罩通过设有减震装置,能够实现军用飞机发动机的多维减震功能,减低了发动机在运行过程中的震动效应。

标签:
复合材料
江苏 - 泰州 来源:北方有色网 2023-03-18
可用于汽车燃油系统的阻燃型玻纤增强聚酮复合材料

本发明公开了一种可用于汽车燃油系统的阻燃型玻纤增强聚酮复合材料,相对于100重量份的聚酮,添加有60‑150重量份具有扁平截面形状的玻璃纤维,5‑30重量份磷系阻燃剂和0‑5重量份的其他助剂。该聚酮复合材料具有高强度、高刚性,可以应用在发动机盖罩、燃油罐、燃油管等对材料耐化学、耐水解、耐燃油、刚性要求高的产品上,该组合物的流动性易于产品成型,并可以减少浮纤。

标签:
复合材料
江苏 - 泰州 来源:北方有色网 2023-03-18
PVC复合材料及其制备方法

本发明公开了一种PVC复合材料:由塑料、高龄土粒子和各种助剂组成,各组分的重量配比为:塑料57~68%,高龄土粒子13~23%,相容剂9~12%,润滑剂5~7%,增韧剂3~4%。本发明还公开了上述PVC复合材料的制备方法:高龄土粒子采用硅烷与钛酸酯两种偶联剂进行处理。本发明加入高龄土粒子,提高本发明拉伸性能。

标签:
复合材料
江苏 - 泰州 来源:北方有色网 2023-03-18
低散发低烟密度天然纤维改性PVC绿色饰面复合材料

本发明公开了一种低散发低烟密度天然纤维改性PVC绿色饰面复合材料,包括至上而下的耐磨层、彩膜层、基材、底片;基材、底片热压在一起;耐磨层是外表面含有UV涂层的透明膜;基材中添加木粉、秸秆等天然纤维;进一步改进在于:木粉、秸秆等天然纤维经过表面复合处理工艺进行预处理;耐磨层是外表面含有表面接枝甲基丙烯酸甲酯的碳纳米管、表面疏水修饰的纳米TiO2改性环氧丙烯酸树脂涂层的透明膜;基材、底片热压过程中,采用一组协同的低分子驱除剂,并与经过特别结构改造的设备相结合,使共混复合材料在熔融状态下,最大限度地脱除所含的有机挥发分。本发明具有较好抗静电、抑菌功能,低成本,环保,环境友好等特点。

标签:
复合材料
江苏 - 泰州 来源:北方有色网 2023-03-18
复合材料保温模板热桥柱与自保温外墙交接处构造机构

本实用新型提供一种复合材料保温模板热桥柱与自保温外墙交接处构造机构,包括自保温外墙体;其中所述自保温外墙体之间设有砼柱;所述自保温外墙体的一侧与内表面防水抹面砂浆层连接固定且另一侧与外墙面防水抹面砂浆层和外饰面层连接固定;所述内表面防水抹面砂浆层内设有耐碱玻璃纤维网格布;其中外墙面增强网嵌入固定在所述外墙面防水抹面砂浆层上;耐碱玻璃纤维网格布作为增强、抗裂处理。所述砼柱通过专用锚固钉与外墙面复合材料保温模板连接固定;具有保温、隔热、不燃、耐久。其中每个后置保温锚钉依次穿过外墙面增强网和外墙面防水抹面砂浆层与所述自保温外墙体连接固定。本实用新型的有益效果是:设计合理,不变形,固定结合力强,加工操作方便。

标签:
复合材料
江苏 - 泰州 来源:北方有色网 2023-03-18
由高端碳纤维复合材料组成的多旋翼无人机

本实用新型公开了一种由高端碳纤维复合材料组成的多旋翼无人机,包括壳体、支架和承重板,所述壳体的底端设置有下壳盖,且下壳盖的内壁表面浇筑有第一支撑柱,所述第一支撑柱的上方设置有上壳盖,所述下壳盖的底端外壁表面设置有通风口,所述上壳盖的顶端表面设置有固定卡块,所述支架设置于固定卡块的左右两侧。该由高端碳纤维复合材料组成的多旋翼无人机的壳体是由上壳盖与下壳盖二者组合而成,且第一支撑柱与第二支撑柱之间尺寸的设置,可对下壳盖与上壳盖之间进行定位,避免上述二者受到外界力的作用,导致其之间产生错位,从而对上述二者之间的接触面造成损坏,进而对其内部部件的稳定性能造成了影响。

标签:
复合材料
江苏 - 泰州 来源:北方有色网 2023-03-18
上一页 56 57 58 59 60 ... 65 下一页
共65页    到第

北方有色为您提供最新的江苏泰州有色金属材料制备及加工技术理论与应用信息,涵盖发明专利、权利要求、说明书、技术领域、背景技术、实用新型内容及具体实施方式等有色技术内容。打造最具专业性的有色金属技术理论与应用平台!

全国热门有色金属设备推荐
展开更多 +
全国热门有色金属技术推荐
展开更多 +

 

江西省隆恩特环保设备有限公司
宣传

报名参会
更多+

报告下载

有色专家
更多+

华东理工大学
主任/教授
矿冶科技集团有限公司
党委书记 / 董事长
赣州江钨钨合金有限公司
工程师
西安建筑科技大学
教授
辽宁忠旺集团
教授级高工
赤泥综合利用研究报告2025
推广

热门技术
更多+

推荐企业
更多+

福建省金龙稀土股份有限公司
宣传

发布

在线客服

公众号

电话

顶部
咨询电话:
010-88793500-807