青岛垚鑫智能科技有限公司
宣传

位置:北方有色 >

有色技术频道 >

分类:
全部
矿山技术
冶金技术
材料制备及加工技术
环境保护技术
分析检测技术
 
全部
功能材料技术
复合材料技术
新能源材料技术
合金材料技术
加工技术
地区:
全部
北京
天津
上海
重庆
河北
山西
辽宁
吉林
黑龙江
江苏
浙江
安徽
福建
江西
山东
河南
湖北
湖南
广东
海南
四川
贵州
云南
陕西
甘肃
青海
内蒙
广西
西藏
宁夏
新疆
其他
其他
展开
 
全部
南京
无锡
徐州
常州
苏州
南通
连云港
淮安
盐城
扬州
镇江
泰州
宿迁

江苏泰州有色金属材料制备及加工技术理论与应用

免费发布技术信息>>
高强度PVC复合材料
高强度PVC复合材料 1013     
 0

本发明公开了一种高强度PVC复合材料,由塑料、蒙脱土粒子、碳酸钙粒子和各种助剂组成,各组分的重量配比为:塑料60~70%,蒙脱土粒子5~6%,碳酸钙粒子5~6%,相容剂8~11%,润滑剂7~8%,增韧剂2~4%;进一步改进在于:蒙脱土粒子、碳酸钙粒子采用硅烷进行处理,润滑剂为硬脂酸或液体石蜡。本发明加入蒙脱土粒子、碳酸钙粒子,提高本发明拉伸、抗冲击性能,制造费用低。

标签:
复合材料
江苏 - 泰州 来源:北方有色网 2023-03-18
椰壳粉PVC复合材料
椰壳粉PVC复合材料 1238     
 0

本发明公开了一种椰壳粉PVC复合材料,由废塑料、椰壳粉、蒙脱土粒子和各种助剂组成,各组分的重量配比为:废塑料50~55%,椰壳粉18~23%,蒙脱土粒子10~15%,相容剂6~9%,润滑剂5~8%,增韧剂2~4%;椰壳粉进行接枝改性处理;进一步改进在于:还包括SiC纳米粉末,配比为SiC纳米粉末3~5%。本发明能显著改善椰壳粉与PVC相容性,且具有较好的耐磨性和强度。

标签:
复合材料
江苏 - 泰州 来源:北方有色网 2023-03-18
具有复合材料加强层的铝箔胶带

本实用新型公开了一种具有复合材料加强层的铝箔胶带,涉及铝箔胶带技术领域,为解决现有铝箔胶带在使用的过程中,在对强度需求较高的场合使用,仅依靠自身性能有着易断的问题。所述铝箔胶带固定基座外壁的一圈均设置有铝箔胶带主体,且铝箔胶带主体的一端与铝箔胶带固定基座外壁固定连接,所述铝箔胶带固定基座前端面和后端面的一侧设置有复合涂料机构,所述复合涂料机构通过旋转轴体与铝箔胶带固定基座转动连接,且旋转轴体设置有两个,所述复合涂料机构的内部设置有内腔体,所述内腔体的内部设置有上料涂抹辊轴,所述上料涂抹辊轴通过第二中心转动轴与复合涂料机构转动连接。

标签:
复合材料
江苏 - 泰州 来源:北方有色网 2023-03-18
高抗磨双金属复合材料

本发明公开了一种生产应用于电厂、冶金、矿山、建材等行业中各种耐磨件的高抗磨双金属复合材料,非工作面选用ZG35~ZG45材料,工作面材料按重量百分比的合金成分为:C:2.40-3.40%、Cr:14-19%、Ni:0.35-0.70%、V:0.2-0.5%、W:0.25-0.65%、Mo:0.4-0.8%、Cu:0.5-1.2%、Si:0.4-0.8%、P和S均不大于0.02%、Re:0.2-0.5%,余量为Fe和不可避免的杂质。采用液、液复合铸造的方法来铸造各种耐磨件,浇铸的耐磨件不仅具有良好的耐磨性能,而且成本较低,解决现有的高锰钢等材料制作的耐磨件成本高、使用寿命较低的问题。

标签:
复合材料
江苏 - 泰州 来源:北方有色网 2023-03-18
阻燃型注塑发泡木塑复合材料

本发明公开了一种阻燃型注塑发泡木塑复合材料,包括聚丙烯PP、木粉、偶氮二甲酰胺(AC)、低密度聚乙烯(LDPE)、马来酸酐接枝聚丙烯(MAPP)、超微细滑石粉、阻燃剂,阻燃剂为氢氧化镁;进一步改进在于:还包括增强剂,增强剂为为纳米级CaCO3。本发明阻燃性好,结构强度高。

标签:
复合材料
江苏 - 泰州 来源:北方有色网 2023-03-18
钢桥梁熔融沉积复合材料重防腐热障系统

本发明涉及一种钢桥梁熔融沉积复合材料重防腐热障系统,包括依次涂覆在所述钢桥梁外表面的第一涂层和第二涂层,所述第一涂层为金属涂层或金属陶瓷复合涂层,所述第二涂层为树脂层、橡胶塑料层或沥青层。本发明能够提高钢桥梁防腐效果、减小钢桥梁因火灾所造成损坏程度。

标签:
复合材料
江苏 - 泰州 来源:北方有色网 2023-03-18
保健型注塑发泡木塑复合材料

本发明公开了一种保健型注塑发泡木塑复合材料,包括聚丙烯PP、木粉、偶氮二甲酰胺(AC)、低密度聚乙烯(LDPE)、马来酸酐接枝聚丙烯(MAPP)、超微细滑石粉、波长为9~12微米远红外线的纳米材料微粒;进一步改进在于:木粉经过接枝改性处理;加入丙烯腈‑丁二烯‑苯乙烯共聚物(ABS)。本发明具有保健功能,抗冲击韧性高。

标签:
复合材料
江苏 - 泰州 来源:北方有色网 2023-03-18
复合材料耐磨耐高温高温输送带

本发明涉及一种复合材料耐磨耐高温高温输送带,包括玻璃纤维布,处理层,结构层和防护层,所述处理层为柔软剂和偶联剂共同混合成,柔软剂为亲水性有机硅柔软剂或氨基聚硅氧烷乳液或氨基聚硅氧烷微乳或者低黄变氨基改性有机硅柔软剂或者亲水性氨基有机硅柔软剂或上述几种混合,偶联剂为钛酸酯或硅烷或铬络合物或者锆类或者上述几种的混合,所述结构层是由质量比50?60%的聚四氟乙烯乳液、5?15%短切碳纤维、10?15%聚酰亚胺、5?8%石墨、3?6%云母、3?5%二氧化硅和2?5%环保阻燃剂构成,防护层是由质量比60?70%的聚四氟乙烯乳液、20—30%聚醚醚酮和10?15%聚酰亚胺构成。

标签:
复合材料
江苏 - 泰州 来源:北方有色网 2023-03-18
木纤维/UPR复合材料
木纤维/UPR复合材料 1044     
 0

本发明公开了一种木纤维/UPR复合材料,由UPR、木纤维、促进剂、引发剂、稀释剂组成,各组分的重量配比为:UPR80~90%,木纤维10~12%,促进剂1~1.5%,引发剂1~3%,稀释剂1~3%;进一步改进在于:木纤维采用物理法处理。本发明能规模化利用木纤维,也保护环境;木纤维采用物理法处理,保持木纤维的本色和韧性。

标签:
复合材料
江苏 - 泰州 来源:北方有色网 2023-03-18
添加椰壳粉的复合材料

本发明公开了一种添加椰壳粉的复合材料,由废塑料、椰壳粉、蒙脱土粒子和各种助剂组成,各组分的重量配比为:废塑料52~61%,椰壳粉15~20%,蒙脱土粒子10~20%,相容剂5~8%,润滑剂5~8%,增韧剂2~4%;进一步改进在于:所述蒙脱土粒子采用丙烯酸/硅烷偶联改性处理。本发明能规模化利用椰壳粉、废塑料;具有较好的力学性能。

标签:
复合材料
江苏 - 泰州 来源:北方有色网 2023-03-18
添加桑枝纤维的复合材料

本发明公开了一种添加桑枝纤维的复合材料,包括桑枝纤维、废弃塑料、相容剂、润滑剂、增韧剂、纳米粒子,各组分的重量配比为:桑枝纤维15~20%,废弃塑料50~60%,无机纳米粒子10~20%,相容剂8~12%,润滑剂5~8%,增韧剂2~4%;进一步改进在于:润滑剂为硬脂酸或液体石蜡。本发明能规模化利用桑枝纤维、废弃塑料,保护环境。

标签:
复合材料
江苏 - 泰州 来源:北方有色网 2023-03-18
卫生用品复合材料的烘干装置

本实用新型公开了一种卫生用品复合材料的烘干装置,包括主体,所述主体的内顶部固定连接有水箱,所述主体的内顶部且靠近右侧边缘处固定连接有电动推杆,所述电动推杆的活动端固定连接有固定板,所述固定板的下表面且靠近左右侧均固定连接有连接件,所述连接件之间固定连接有无杆气缸,所述无杆气缸的表面固定连接有平整板,所述主体的内顶部且位于水箱的左侧固定连接有风机,所述水箱的内部固定连接有导热棒,所述导热棒的一端延伸至风机的内部。本实用新型,该装置结构简单合理,能很好地解决现有技术的不足,有效地提高烘干后卫生用品的平整度,有利于减少生产工序,提高生产效率。

标签:
复合材料
江苏 - 泰州 来源:北方有色网 2023-03-18
应用于制备多层涂布复合材料的涂布装置

本实用新型公开一种应用于制备多层涂布复合材料的涂布装置,包括涂布支架和胶液罐,所述涂布支架上通过固定组件固定若干各相互平行的导辊,涂布支架的顶部架设胶槽,所述胶液罐架设于所述涂布支架的一侧,并通过导管将胶液由胶液罐导入胶槽,所述胶槽下方设置恒温水槽,作业时恒温水槽内的水液面高于胶槽内的胶液面。本装置通过在胶槽的下方增设了恒温水槽,有效保证胶体在涂布过程中的温度稳定,进而保证涂布效果和后期的多层膜合效果。

标签:
复合材料
江苏 - 泰州 来源:北方有色网 2023-03-18
热固性高强度的玻璃钢复合材料天线罩

本实用新型公开了一种热固性高强度的玻璃钢复合材料天线罩,包括外壳,还包括有两对固定块和两个螺栓,所述外壳的内壁设置有耐老化层,所述耐老化层的内壁设置有玻璃纤维层,所述玻璃纤维层的内壁设置有抗紫外线层、所述抗紫外线层的内壁设置有防微波辐射层、所述防微波辐射层的内壁设置有耐霉菌层,所述耐霉菌层的内壁设置有防水层,两对所述固定块均固定连接在所述外壳的外壁,两个所述固定块的表面开设有内螺纹,两个所述螺栓的外螺分别纹螺纹连接在两个所述内螺纹槽内,所述防微波辐射层为防微波辐射纤维,本实用新型解决了外部环境造成的老化、易燃、潮湿、酸碱天气的腐蚀以及高温低温造成的机械强度变化的问题。

标签:
复合材料
江苏 - 泰州 来源:北方有色网 2023-03-18
聚丙烯复合材料滤板及其制备方法

本发明涉及一种聚丙烯复合材料滤板,其成分按质量计包括以下组分:聚丙烯50~80份、石墨粉5~20份、玻璃纤维8~20份、表面处理剂1~3.6份、不饱和羧酸与聚丙烯的接枝物相溶剂0.4~7.4份、马来酸酐相溶剂0.6~1.6份、偶联剂0.4~3份、抗氧剂1~4份;其制备方法是先对石墨粉和玻璃纤维表面处理,再将聚丙烯、不饱和羧酸与聚丙烯的接枝物相溶剂、抗氧剂、经表面处理的石墨粉高速混合成石墨/PP混料,然后将石墨/PP混料和烘干的玻纤挤得石墨改性增强PP颗粒并干燥,将石墨改性增强PP颗粒挤出熔料、压制、加工成型。本发明滤板耐热性好,耐压性能优良,耐化学腐蚀性强,使用寿命长,并扩大了压滤机应用范围。

标签:
复合材料
江苏 - 泰州 来源:北方有色网 2023-03-18
利用橡塑回收颗粒的抗震复合材料及其制备方法

本发明公开了一种利用橡塑回收颗粒的抗震复合材料及其制备方法,橡塑材料回收利用技术领域,包括橡胶45‑50份、聚氯乙烯45‑55份、回收橡塑保温颗粒6‑10份、发泡剂10‑15份、消烟阻燃剂50‑55份、氢氧化镁20‑30份、三氧化二锑5‑10份、十溴二苯醚5‑10份、炭黑6‑10份、硬脂酸1.0‑2.0份、氧化锌2‑5份、滑石粉5‑10份、防老剂1.0‑2.2份、分散剂4‑7份、氯化石蜡油7‑10份、环氧大豆油10‑15份、促进剂2.5‑3.8份和纳米二氧化硅5‑10份。本发明利用橡塑颗粒与基体交联发泡形成半开孔结构,加之较高的密度,从而达到抗震的目的。

标签:
复合材料
江苏 - 泰州 来源:北方有色网 2023-03-18
石墨烯/钛酸锂复合材料的应用

本发明以钛酸四丁酯、石墨烯、P123、叔丁醇配成钛源分散液,以二水醋酸锂、去离子水和叔丁醇配成锂源溶液,将混合的钛源分散液转移至微波反应器中并加热至回流,加入锂源溶液,反应一定时间,冷却,去除溶剂,然后干燥得到石墨烯基钛酸锂前驱体。得到的石墨烯基钛酸锂前驱体放置管式炉中,在惰性气体保护下一定温度煅烧一定时间,得到石墨烯/钛酸锂复合材料。将得到的活性材料、乙炔黑以及PVDF混匀均匀的在铝箔上面涂膜,制备得到纽扣电池电极片,最后在手套箱中组装半电池并对充放电性能进行测试将活性材料做成半电池进行性能检测,检测发现,石墨烯/钛酸锂在1C倍率下容量仍有140mAh/g,循环1000次后仍能保持99%以上,具有优异的性能。

标签:
复合材料
江苏 - 泰州 来源:北方有色网 2023-03-18
新型氧化铝纳米复合材料的制备方法

本发明公开了一种新型氧化铝纳米复合材料的制备方法,包括以下步骤:耐磨陶瓷分体混合,包括90‑95%重量的Al2O3,1‑3%重量的滑石,2%重量的CaCO3,5%重量的粘土,0.6‑1.2%重量的B2O,其余为粘合剂;球磨,使用干燥机烘干,造粒,并压制成型;闪烧试样;宏观性能检测;微观分析;理论计算,并指导工程应用。本发明具有高效低能耗的特点烧结温度低、烧结速度快、恒温烧结时间短,烧结产物致密度高,不需要添加烧结助剂等特点。

标签:
复合材料
江苏 - 泰州 来源:北方有色网 2023-03-18
复合材料用均混装置
复合材料用均混装置 1036     
 0

本发明涉及一种复合材料用均混装置,该装置包括:混料罐、分别设置在混料罐侧下部和侧上部的进料口和出料口、分别设置在混料罐底部和顶部的旋转控制器和位移保护装置,旋转控制器和位移保护装置之间设置有平行式双螺旋挤压辊,平行式双螺旋挤压辊内设置有电热管,所述混料罐内侧表面的纵向截面为波浪线形,平行式双螺旋挤压辊包括至少两个轴向平行的旋转挤压辊,旋转挤压辊上设置有斜向平行式推料辊纹。本发明的结构设计较为合理,加热装置的设置可使得该装置适用于粘度较高的物料均混,平行式双螺旋挤压辊和混料罐内侧表面的纵向截面为波浪线形的设计,可使得物料下进上出时的高效均混,方便实用,适宜进一步推广应用。

标签:
复合材料
江苏 - 泰州 来源:北方有色网 2023-03-18
木塑复合材料制备方法

本发明公开了一种木塑复合材料制备方法,其包括以下步骤:1)木粉与纳米氧化钙粉末按质量份经高速1700~2300转/分混合15‑18分钟;2)按质量份加入硅烷和钛酸酯偶联剂后高速1700~2300转/分混合6‑8分钟;3)按质量份加入聚氯乙烯、轻质活性碳酸钙、偶氮二甲酰胺、有机锡、聚乙烯蜡、氯化聚乙烯、纳米氧化锌、硅酮加工助剂、无机纳米粒子,经高速1700~2300转/分混合15~25分钟后,再经低速300~500转/分混合7~12分钟后,得到预混料;4)将该预混料经锥形双螺杆挤出机挤出发泡成型、0~15℃的循环水急速冷却定型、牵引、切割。本发明能克服木粉和树脂基体相容性的缺陷,促进木粉和树脂基体复合。

标签:
复合材料
江苏 - 泰州 来源:北方有色网 2023-03-18
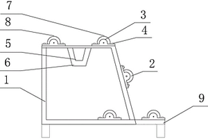
耐高温、抗腐蚀隔热复合材料

本实用新型公开了一种耐高温、抗腐蚀隔热复合材料,包括合成体,所述合成体包括基层,所述基层的上表面设置有岩棉层,所述岩棉层的上表面设置有气凝胶毡层,所述气凝胶毡层的上表面设置有聚氨酯层,所述聚氨酯层的上表面设置有玻璃纤维层,所述玻璃纤维层的上表面设置有石墨层,所述石墨层的上表面设置有铝箔层。本实用新型中,设置有玻璃纤维层和石墨层,玻璃纤维绝缘性好、耐热性强、抗腐蚀性好、机械强度高,石墨耐高温且耐腐蚀,将玻璃纤维和石墨有机结合,更大程度上地起到耐高温、抗腐蚀的性能,设置有岩棉层、气凝胶毡层和聚氨酯层,此三种结构都具有较好的隔热功能,为玻璃纤维层和石墨层起到较好的后续隔绝作用。

标签:
复合材料
江苏 - 泰州 来源:北方有色网 2023-03-18
复合材料保温楼板
复合材料保温楼板 776     
 0

本实用新型公开了一种复合材料保温楼板,包括楼板本体以及墙体连接件;所述楼板本体包括从内向外通过粘接剂依次连接的内防护层、基料层、保温层、消音层、防火层以及外防护层,所述内防护层、基料层、保温层、消音层、防火层以及外防护层上均沿厚度方向开设有贯穿该层的通孔,所述通孔均位于同一直线上;所述墙体连接件包括连接杆,所述连接杆的一端设置有挡板,所述连接杆的另一端穿过通孔并与墙体连接板固定连接,所述连接杆上设置有外螺纹,所述连接杆上位于墙体连接板与楼板本体之间设置有与紧固螺母,所述紧固螺母内设置有与外螺纹相匹配的内螺纹。本实用新型通过紧固螺母和挡板将楼板本体紧密夹持,从而提高了楼板本体中层与层之间连接的稳定性。

标签:
复合材料
江苏 - 泰州 来源:北方有色网 2023-03-18
糠壳/PVC复合材料
糠壳/PVC复合材料 915     
 0

本发明公开了一种糠壳/PVC复合材料,由废塑料、糠壳、促进剂、碳酸钙、引发剂、稀释剂组成,各组分的重量配比为:废塑料60~75%,糠壳11~16%,促进剂1~1.5%,碳酸钙10~12%,引发剂1~2%,稀释剂1~2%;进一步改进在于:糠壳采用乙酰化处理。本发明能规模化利用糠壳、废塑料,结实耐用。

标签:
复合材料
江苏 - 泰州 来源:北方有色网 2023-03-18
铅碳电池用纤维状铅碳复合材料制备方法

本发明公开了一种铅碳电池用纤维状铅碳复合材料制备方法,所述制备方法按下列步骤实施:A、生物质纤维纯化制备;B、实施纯化的生物质纤维表面改性处理制备;C、生物质纤维化学吸附铅离子制备;D、生物质纤维化学炭化煅烧制备。本发明通过在碳材料表面均匀覆盖一层氧化铅,提高其与铅膏之间亲合性,易实现组分均匀、密实结合,因此可显著减小界面欧姆电阻值,使得析氢过电位明显提高,在提高电池充电效率的前提下增加电池的循环寿命。本发明制备工艺过程简单,实施容易,便于工业化生产和应用。

标签:
复合材料
江苏 - 泰州 来源:北方有色网 2023-03-18
复合材料板连接机构
复合材料板连接机构 1188     
 0

本实用新型公开了一种复合材料板连接机构,包括第一安装板与卡块,所述第一安装板一侧活动连接有合页,所述合页活动连接有第二安装板,所述第一安装板与第二安装板底端均开设有第一滑槽,所述第一滑槽内滑动连接有第一滑块,所述第一滑块底端固定连接有夹块,所述夹块通过第一滑块与第一安装板滑动连接,所述夹块一端设置有空腔,所述空腔内套接有材料板体,所述材料板体顶端开设有卡槽,所述卡块卡接于卡槽内。本实用新型中,通过第二滑块在第二滑槽内的滑动,可以调节夹块与连接件之间的距离,可以适用于不同厚度的材料连接,增强装置的适用性,且使用固定件进行固定,可以大大加强装置的连接强度,值得大力推广。

标签:
复合材料
江苏 - 泰州 来源:北方有色网 2023-03-18
EVA复合材料传动冷凝装置

本实用新型公开了一种EVA复合材料传动冷凝装置,包括冷凝泵、进液管和出液管,所述进液管顶端导通连接有壳体,所述壳体内腔安装有筒体,所述筒体外壁开设有通孔,且通孔呈阵列式设有多个,所述筒体内壁复合有微滤膜,所述微滤膜表面复合有无纺布过滤棉,所述筒体顶部边缘处对称安装有双作用气缸,所述双作用气缸上方固定连接有凸块,所述双作用气缸顶端安装有滚轮,所述凸块下表面开设有凹槽,所述筒体底部安装有防水电机。本实用新型通过筒体上开设的通孔将过滤后的水分离出,并通过进液管顶端与壳体底部导通连接,从而使冷凝泵将滤除杂质后的水吸出,防止冷凝泵出现堵塞的现象。

标签:
复合材料
江苏 - 泰州 来源:北方有色网 2023-03-18
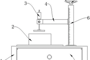
复合材料保温板用板式测厚仪

本实用新型公开了一种复合材料保温板用板式测厚仪,包括台板,所述台板顶端的两侧均安装有挡板,且挡板的一侧均设置有限位机构,所述台板顶端远离挡板的一侧安装有支柱,且支柱的内部设置有升降机构。本实用新型通过将待测的保温板放置在台板上,使得保温板的侧壁抵在限位板上,推动伸缩柱往两侧运动,同时推动推板同步运动,导致夹紧弹簧被压缩,当保温板完成放置好之后,在夹紧弹簧的弹力作用下,推动推板和伸缩柱往靠近保温板的一侧运动,即推动限位板抵住保温板,以便对保温板进行夹持限位,以确保保温板放置的稳固性,以便在使用时,可以对保温板进行精准的厚度检测,操作便捷。

标签:
复合材料
江苏 - 泰州 来源:北方有色网 2023-03-18
基于复合材料的弹性吊带及制备方法

一种基于复合材料的弹性吊带及制备方法,所述弹性吊带的原料包括:重量份数为54‑92份的聚丙烯、重量份数为8‑22份的纳米丁腈橡胶粉、重量份数为8‑22份的经过活化处理的氢氧化铝、重量份数为10‑16份的云母粉,重量份数为0.02‑0.16份的3‑缩水甘油醚氧基丙基三甲氧基硅烷、重量份数为0.08‑0.24份的N‑氨乙基‑γ‑氨丙基三乙氧基硅烷以及重量份数为0.02‑0.16份的N‑(β一氨乙基)‑γ‑氨丙基三甲(乙)氧基硅烷。有效避免了现有技术中拉伸强度低于80MPa、冲击韧性低于92J的吊带是远远不能适应拉伸强度和冲击韧性要求高的场合的缺陷。

标签:
复合材料
江苏 - 泰州 来源:北方有色网 2023-03-18
添加桑枝纤维的复合材料前期处理工艺

本发明公开了一种添加桑枝纤维的复合材料前期处理工艺:(1)将桑木采伐后进行切割加工,经干燥、粉碎、过筛后获得100um~1000um长度的桑枝纤维;(2)将废弃热塑性塑料(PP)经过清洗、干燥后采用单螺杆挤出机进行熔融挤出造粒;(3)采用碱处理、偶联处理(硅烷和钛酸酯)以及新型复合处理工艺对桑枝纤维进行表面修饰,干燥备用。采用本发明对桑枝纤维进行前期处理后,促进桑枝纤维与PVC的溶合。

标签:
复合材料
江苏 - 泰州 来源:北方有色网 2023-03-18
EVA复合材料冷却成型装置

本实用新型公开了一种EVA复合材料冷却成型装置,包括冷却成型装置的基座、冷却成型装置的冷却箱、冷却成型装置的模具、用于对模具内部进行冷却降温处理的第一冷却结构、用于对模具内部进行冷却降温处理的第二冷却结构以及用于对模具内部进行冷却降温处理的第三冷却结构,所述冷却箱的内部开设有安装槽,所述冷却箱的顶部为开口式设计,所述模具的外部尺寸与安装槽相匹配,所述模具卡装于冷却箱内部的安装槽中,所述第一冷却结构安装于基座的上端表面,且所述第一冷却结构位于冷却箱的背面一侧处。本实用新型对材料的冷却较为均匀,提高了冷却成型加工质量,且多方位和双重冷却方式有效的提高了材料的冷却成型效率,实用性较高。

标签:
复合材料
江苏 - 泰州 来源:北方有色网 2023-03-18
上一页 54 55 56 57 58 ... 65 下一页
共65页    到第

北方有色为您提供最新的江苏泰州有色金属材料制备及加工技术理论与应用信息,涵盖发明专利、权利要求、说明书、技术领域、背景技术、实用新型内容及具体实施方式等有色技术内容。打造最具专业性的有色金属技术理论与应用平台!

全国热门有色金属设备推荐
展开更多 +
全国热门有色金属技术推荐
展开更多 +

 

江西省隆恩特环保设备有限公司
宣传

报名参会
更多+

报告下载

有色专家
更多+

有研科技集团有限公司
首席科学家
湖南有色金属研究院
教授级高工/原总工程师
辽宁忠旺集团
教授级高工
云南锡业集团(控股)有限责任公司
副总经理
长沙矿冶院检测技术有限责任公司
总经理
赤泥综合利用研究报告2025
推广

热门技术
更多+

推荐企业
更多+

福建省金龙稀土股份有限公司
宣传

发布

在线客服

公众号

电话

顶部
咨询电话:
010-88793500-807