青岛垚鑫智能科技有限公司
宣传

位置:北方有色 >

有色技术频道 >

分类:
全部
矿山技术
冶金技术
材料制备及加工技术
环境保护技术
分析检测技术
 
全部
功能材料技术
复合材料技术
新能源材料技术
合金材料技术
加工技术
地区:
全部
北京
天津
上海
重庆
河北
山西
辽宁
吉林
黑龙江
江苏
浙江
安徽
福建
江西
山东
河南
湖北
湖南
广东
海南
四川
贵州
云南
陕西
甘肃
青海
内蒙
广西
西藏
宁夏
新疆
其他
其他
展开
 
全部
南京
无锡
徐州
常州
苏州
南通
连云港
淮安
盐城
扬州
镇江
泰州
宿迁

江苏泰州有色金属材料制备及加工技术理论与应用

免费发布技术信息>>
外墙复合材料保温楼板

本实用新型公开了一种外墙复合材料保温楼板,包括楼板本体,所述楼板本体包括依次连接的基料层、玻纤布层、保温层和砂浆保护层;所述基料层的两侧均设置有朝向玻纤布层的凸块一,所述凸块一沿基料层的宽度方向设置,所述玻纤布层的两侧均开设有与凸块一相匹配的凹槽一;所述玻纤布层的两侧均设置有朝向保温层的凸块二,所述凸块二沿玻纤布层的宽度方向设置,所述保温层的两侧均开设有与凸块二相匹配的凹槽二;所述保温层的两侧均设置有朝向砂浆保护层的凸块三,所述凸块三沿保温层的宽度方向设置,所述砂浆保护层的两侧均开设有与凸块三相匹配的凹槽三。本实用新型通过凸块与凹槽的配合连接对两个层进行限位和固定,提高了层与层之间连接的稳定性。

标签:
复合材料
江苏 - 泰州 来源:北方有色网 2023-03-18
复合材料光纤电缆
复合材料光纤电缆 830     
 0

本实用新型公开了一种复合材料光纤电缆,涉及到光纤电缆技术领域,包括绝缘柱,所述绝缘柱的左侧表面开设有多个放置孔,多个所述放置孔的内部均设置有绝缘套,多个所述绝缘套的内壁均固定连接有光纤,所述绝缘柱的前后及上下表面均开设有滑槽,多个所述滑槽的内壁均通过滑块共同滑动连接有滑壳,所述滑壳的右侧表面固定连接有刀片,所述绝缘柱的右侧表面开设有与刀片相匹配的凹槽。本实用新型在光纤运输的时候不仅可以保护光纤裸露在外的表面,同时在光纤使用的时候方便脱去光纤外层的保护皮,并且对内部的光纤增加了保护防止长时间摩擦导致光纤容易受损。

标签:
复合材料
江苏 - 泰州 来源:北方有色网 2023-03-18
梯度复合材料风电抗震塔筒

本发明涉及一种梯度复合材料风电抗震塔筒,由自下而上竖直设置的至少两个塔筒段以及连接相邻塔筒段的连接单元构成;所述塔筒段由若干个塔筒单元堆叠制成,所述塔筒单元的顶部和底部均设有具有若干第一通孔的第一加劲肋,相邻塔筒单元通过第一螺栓固定连接在一起;所述连接单元呈锥台形,所述塔筒单元和连接单元均包括内、外两层钢板,内、外两层钢板之间填充有UHPC层;所述连接单元的顶部和底部均设有向连接单元内部延伸且水平设置的第二加劲肋,所述第二加劲肋上设有若干第二通孔,所述连接单元与相邻的塔筒单元通过穿过第一通孔、第二通孔的第二螺栓固定连接在一起。本发明的塔筒可以模块化预制,从而提高了生产和安装效率。

标签:
复合材料
江苏 - 泰州 来源:北方有色网 2023-03-18
连续纤维增强复合材料3D打印喷头及打印机

本发明属于增材制造领域,涉及一种连续纤维增强复合材料3D打印喷头及打印机,可以有效杜绝纤维丝堵死喷头,还可以防止熔融的树脂材料溢出。送料管道的内部设置有容纳树脂材料的腔体,腔体与送料管道两端的开口连通;挤丝装置用于将树脂材料通过送料管道的一端开口送入腔体内并从送料管道的另一端开口挤出;加热装置用于加热腔体内的树脂材料,测温装置用于测量腔体内的树脂材料的温度;送丝管道内部设置有穿纤维丝的丝材腔体,送丝管道转动连接在送料管道上,可围绕送料管道的轴线旋转,送丝管道无法上下移动;送丝管道的出口端位于送料管道的出口端,使得挤出的树脂材料覆盖在从送丝管道内部穿出的纤维丝上;动力装置用于驱动送丝管道旋转。

标签:
复合材料
江苏 - 泰州 来源:北方有色网 2023-03-18
耐磨型PVC复合材料
耐磨型PVC复合材料 1185     
 0

本发明公开了一种耐磨型PVC复合材料,包括废塑料、蒙脱土粒子、相容剂、润滑剂、增韧剂,各组分的重量配比为:废塑料55~60%,蒙脱土粒子12~15%,相容剂7~10%,润滑剂4~7%,增韧剂1~3%、SiC纳米粉末1~3%;进一步改进在于:废塑料采用顺丁橡胶、活化无机粒子改性。本发明耐磨,强度高,不易变形、开裂。

标签:
复合材料
江苏 - 泰州 来源:北方有色网 2023-03-18
PVC复合材料保温板及其制备方法

本发明公开了一种PVC复合材料保温板,包括保温板本体,所述保温板本体包括工字型框架、石墨板层、发泡棉层、玻璃棉层、PVC塑料板层和弧形硅胶垫片,所述第一安装凹槽内部设置有石墨板层和发泡棉层,所述第二安装凹槽内部设置有玻璃棉层和PVC塑料板层,所述玻璃棉层和PVC塑料板层之间形成有中空腔,所述中空腔内部均匀设置有弧形硅胶垫片;本发明通过弧形硅胶垫片将浸入的热量扩大开,并将扩散开的热量传递给PVC塑料板层,通过PVC塑料板层将多余的热量隔离开,避免热量浸入到室内,从而起到很好的保温隔热效果,避免外界的高温热空气浸入到室内,避免室内的温度过高,方便了人们的生活。

标签:
复合材料
江苏 - 泰州 来源:北方有色网 2023-03-18
木塑复合材料建筑模板

本发明公开了一种木塑复合材料建筑模板,包括桑枝纤维、废弃塑料、相容剂、润滑剂、增韧剂、纳米粒子、不含有机载体的超高分子量硅酮加工助剂;进一步改进在于:纳米粒子为碳酸钙。本发明能使桑枝纤维与聚氯乙烯(PVC)混合充分,加速物料流动性,桑枝纤维与聚氯乙烯(PVC)结合牢固。

标签:
复合材料
江苏 - 泰州 来源:北方有色网 2023-03-18
椰壳粉复合材料
椰壳粉复合材料 972     
 0

本发明公开了一种椰壳粉复合材料,由塑料、椰壳粉、纳米粒子、聚甲基丙烯酸甲酯‑聚丁二烯‑聚苯乙烯共聚物、不含有机载体的超高分子量硅酮加工助剂和各种助剂组成,各组分的重量配比为:塑料55~60%,椰壳粉15~18%,纳米粒子10~15%,聚甲基丙烯酸甲酯‑聚丁二烯‑聚苯乙烯共聚物5~8%,相容剂5~10%,润滑剂7~10%,增韧剂2~4%、超高分子量硅酮加工助剂2~4%。进一步改进在于:椰壳粉经过接枝改性处理。本发明能使椰壳粉与聚氯乙烯(PVC)混合充分,加速物料流动性,椰壳粉与聚氯乙烯(PVC)结合牢固。

标签:
复合材料
江苏 - 泰州 来源:北方有色网 2023-03-18
纳米PVC复合材料
纳米PVC复合材料 794     
 0

本发明公开了一种纳米PVC复合材料,由塑料、碳酸钙粒子、高龄土粒子和各种助剂组成,各组分的重量配比为:塑料61~70%,碳酸钙粒子4~6%,高龄土粒子3~4%,润滑剂5~8%,增韧剂2~4%;进一步改进在于:碳酸钙粒子、高龄土粒子表面设有PMMA包覆层。本发明加入碳酸钙粒子、高龄土粒子,提高本发明拉伸、抗冲击性能,并降低制造成本。

标签:
复合材料
江苏 - 泰州 来源:北方有色网 2023-03-18
复合材料不粘烧烤袋
复合材料不粘烧烤袋 1133     
 0

本实用新型公开了一种复合材料不粘烧烤袋,包括烧烤袋本体和封盖,所述烧烤袋本体的上下两侧均设有多个穿孔,所述烧烤袋本体包括有玻璃纤维层,玻璃纤维层的上端设有特氟龙涂层,特氟龙涂层的上端设有聚四氟乙烯层,所述玻璃纤维层的下端设有防粘层,防粘层为锡箔材质,防粘层的下端设有硅油涂层,所述封盖的一端设有多个固定孔,固定孔内卡接有固定销,固定销的另一端卡接在烧烤袋本体下侧的穿孔内。本实用新型通过由锡箔材质制成的防粘层和硅油涂层使得烤好的食物不易与烧烤袋本体的内壁粘附,从而不易对食物的表面造成损坏,在保证食物的口感的基础下保证食物表面的完整性,体现食物的美观性。

标签:
复合材料
江苏 - 泰州 来源:北方有色网 2023-03-18
汽车顶盖内衬复合材料

本实用新型公开了一种热压成型汽车顶盖内衬复合材料,包括PU基材,在所述PU基材上有双层胶层,在所述双层胶层之间有短玻纤层,在所述胶层外侧有装饰面料层。在压制过程中,将材料放入烘箱内进行加热,然后放入模具内压制成型,由于压制过程中材料的厚度变化不大,对压制模具要求不高,可以采用一般的非金属或铝粉模。其隔音、隔热、减震性能好,能阻燃且钢性程度好,并适用于自动化生产顶盖内衬。

标签:
复合材料
江苏 - 泰州 来源:北方有色网 2023-03-18
复合材料风扇包容环加工工装

一种复合材料风扇包容环加工工装,包括底板、压板与加工工装,所述的加工工装通过压板固定在底板上;所述的加工工装包括工装主体、锥形齿轮组、平垫板、垫块、卡爪与扳手轮,所述的工装主体上设置有锥形齿轮组、平垫板、垫块、卡爪与扳手轮,所述的锥形齿轮组设置在工装主体的左侧,所述的平垫板与垫块设置在锥形齿轮组上方,所述的卡爪设置在工装主体上方,所述的扳手轮设置在工装主体的右侧与锥形齿轮组配合;所述的卡爪通过平垫板固定在工装主体上,所述的卡爪之间设置有垫块。本发明结构简单,节约了人工工时消耗,确保加工的包容环的包容性能。

标签:
复合材料
江苏 - 泰州 来源:北方有色网 2023-03-18
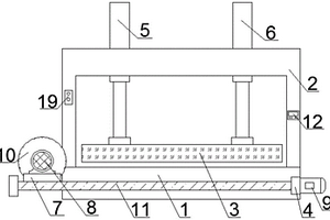
EVA复合材料挤出切粒装置

本实用新型公开了一种EVA复合材料挤出切粒装置,包括:加工腔、进料斗、推动组件、调节组件以及切割组件,所述进料斗安装在加工腔顶端,所述推动组件安装在加工腔头端,所述加工腔尾端安装有导料头,所述导料头一侧锁合安装有孔板,所述调节组件安装在加工腔尾端一侧,所述切割组件安装在加工腔尾部顶端,且所述切割组件输出端与孔板连接。本实用新型整体结构简单,加工连续性高,且在调节组件的辅助下,工作人员可根据加工启动电推杆,推动滑动板在两组支撑杆上滑动朝向孔板靠近,缩小了孔板与滑动板之间的距离,之后颗粒挤出后与感应板贴合,实现了对颗粒的切割,便于工作人员根据实际使用需求对颗粒的长度进行快速的对应调节。

标签:
复合材料
江苏 - 泰州 来源:北方有色网 2023-03-18
耐高温多层涂布复合材料流水生产设备

本实用新型公开一种耐高温多层涂布复合材料流水生产设备,包括芯膜固定支架、涂布装置、加热干燥装置、多层膜复合支架、热压复合支架、收卷支架、复卷支架和负压吸气系统,芯膜固定支架包括底座和底座上的支撑架,支撑架可移动式的固定在底座上,使支撑架可沿底座左右移动。本实用新型设备中通过将芯膜固定支架、多层膜复合支架以及收卷支架的结构设计成可横向调节式的结构,使本设备在安装、作业过程中可根据需要及时调整支架上气胀轴的位置,保证支架上的气胀轴以及各导辊的工作区域一致,有效避免因气胀轴之间以及与各导辊出现偏差导致的复合膜加工过程中边缘甚至整体损坏的问题。

标签:
复合材料
江苏 - 泰州 来源:北方有色网 2023-03-18
用于新材料研发的复合材料板成型装置

本实用新型公开了一种用于新材料研发的复合材料板成型装置,包括底板、结构架和压板,所述底板顶部焊接有结构架,所述结构架内顶部一端通过螺栓固定有一号电动液压缸且结构架内顶部另一端通过螺栓固定有二号电动液压缸,所述一号电动液压缸和二号电动液压缸的底部输出端通过螺栓固定有压板,所述压板内部开设有预留腔,所述预留腔内部通过安装架安装有电热丝且电热丝与预留腔之间填充有氧化镁粉。本实用新型通过设置在压板内开设预留腔,并在预留腔内安装电热丝与氧化镁粉,使压板具有加热功能,通过设置切割电机和切割片,可以对挤压、成型后的板材进行切割,适合被广泛推广和使用。

标签:
复合材料
江苏 - 泰州 来源:北方有色网 2023-03-18
提高印刷复合材料牢固度的卷膜热压切割设备及方法

本发明提供一种提高印刷复合材料牢固度的卷膜热压切割设备及方法,设备包括热压切割设备和卷膜,还包括滤纸回收装置,卷膜又包括卷膜纸芯、复合膜和滤纸。方法具体步骤包括:1)卷膜卷绕;2)熟化;3)滤纸回收。设置了滤纸回收装置,实现了滤纸的回收;设置了多个传送辊,且传送辊表面设置有“八”字形花纹,将滤纸展平,防止产生褶皱;滤纸回收装置前端设置有限位装置,保证滤纸成卷的规整度;热压过程中可以在两层复合膜之间增加硬质塑料膜,在把手处添加高强度材料增加把手的耐用性;卷膜分割后分开的卷膜通过第一到第四滚轴的设置,逐渐改变方向,最终使包装袋正面和包装袋反面背对背并在一起,不易产生破裂。

标签:
复合材料
江苏 - 泰州 来源:北方有色网 2023-03-18
添加花生壳的复合材料

本发明公开了一种添加花生壳的复合材料,由废塑料、花生壳和各种助剂组成,各组分的重量配比为:废塑料56~65%,花生壳12~18%,相容剂5~9%,润滑剂5~8%,增韧剂2~4%;进一步改进在于:花生壳采用甲基丙烯酸甲脂(MMA)包覆处理。本发明能规模化利用花生壳、废塑料,并具有较好的力学性能。

标签:
复合材料
江苏 - 泰州 来源:北方有色网 2023-03-18
木棉纤维/PVC的复合材料

本发明公开了一种木棉纤维/PVC的复合材料,由塑料、木棉纤维、碳酸钙粒子、高龄土粒子和各种助剂组成,各组分的重量配比为:塑料51~61%,木棉纤维11~16%,碳酸钙粒子5~6%,高龄土粒子3~4%,相容剂5~9%,润滑剂5~8%,增韧剂2~4%;进一步改进在于:木棉纤维采用三嗪偶联剂处理。本发明能规模化利用木棉纤维,也保护环境;具有较高抗拉、抗冲击性能,制造成本低。

标签:
复合材料
江苏 - 泰州 来源:北方有色网 2023-03-18
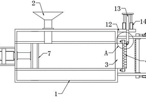
EVA复合材料输送装置
EVA复合材料输送装置 1122     
 0

本实用新型公开了一种EVA复合材料输送装置,包括进料斗和抽送泵,所述进料斗的底端设有出料口,所述出料口处设有一号分料口和二号分料口,所述一号分料口上连接有一号输料管,二号分料口上连接有二号输料管,所述一号输料管和二号输料管的尾端均连接在汇总输料管道的进料处,所述汇总输料管道上安装有清洁管道,所述汇总输料管道为尾端的出料口处与抽送泵的入料口连接。本实用新型通过在进料斗的出料口处两组分料口,并在一号分料口和二号分料口上分别连接一号输料管和二号输料管,使得出料口具有两组输料管路,具有备用管路,当一组输料管路出现堵塞时,可利用另一组输料管路进行输料,实现连续传输,避免因管道堵塞造成停工的问题。

标签:
复合材料
江苏 - 泰州 来源:北方有色网 2023-03-18
现浇复合材料保温隔声板

本实用新型公开了一种现浇复合材料保温隔声板,包括保温隔声板本体、保温板、强化板、连接板、强化杆、隔声板、固定器、凹口、凸起和锚固钉,保温隔声板本体底部设置有保温板,保温板上方设置有强化板,矩形通口内部设置有连接板,强化板顶面与底面均开设有第二横槽,强化板上方设置有隔声板,固定槽内部镶嵌有固定器,保温隔声板本体底面贯穿有锚固钉,本实用新型设置有强化板,通过安装连接板与强化杆强化保温隔声板本体的强度,保温隔声板强度更高,不容易在运输安装过程中断裂,凹口与凸起相互嵌合,并利用固定器将保温隔声板本体相连,安装过程中板材不容易移位,便于固定,使保温隔声板的性能能够充分发挥。

标签:
复合材料
江苏 - 泰州 来源:北方有色网 2023-03-18
冶金行业用复合材料陶瓷垫块的制备方法

本发明公开了一种冶金行业用复合材料陶瓷垫块的制备方法,以80~95wt%的Al2TiO5粉体和20~5wt%的Ti3AlC2粉体为原料,加入添加剂,该添加剂是粉体重量0.5~2wt%的二氧化硅,0.1~0.5wt%的聚乙二醇;混合均匀;模压成型,干燥后得到坯体;将坯体材料置入热等静压烧结炉,在500~900℃真空条件下保温9~10h,然后在氩气气氛下1000~1300℃热等静压100~200MPa保温15‑20h得到的烧结坯体,再经车床机加工后获得陶瓷垫块。延长了陶瓷垫块服役寿命,可降低钢坯的“黑印”、扭曲、变形等缺陷,明显提高钢坯的成材率和产品的质量。

标签:
复合材料
江苏 - 泰州 来源:北方有色网 2023-03-18
增韧型PVC复合材料
增韧型PVC复合材料 1256     
 0

本发明公开了一种增韧型PVC复合材料,包括塑料、相容剂、润滑剂、增韧剂,各组分的重量配比为:塑料70~75%,相容剂8~11%,润滑剂7~8%,增韧剂2~4%、无机玻璃纤维4~10%;进一步改进在于:还包括蒙脱土粒子、碳酸钙粒子,所述蒙脱土粒子、碳酸钙粒子配比为3~5%;蒙脱土粒子、碳酸钙粒子采用硅烷进行处理。本发明韧性好,抗冲击,制造费用低。

标签:
复合材料
江苏 - 泰州 来源:北方有色网 2023-03-18
桑枝纤维PVC复合材料
桑枝纤维PVC复合材料 792     
 0

本发明公开了一种桑枝纤维PVC复合材料,包括桑枝纤维、废弃塑料、相容剂、润滑剂、增韧剂、SiC纳米粉末;进一步改进在于:桑枝纤维进行接枝改性处理;废弃塑料进行改性处理。本发明能规模化利用桑枝纤维、废弃塑料,且耐磨,结构强度高。

标签:
复合材料
江苏 - 泰州 来源:北方有色网 2023-03-18
碳纤维复合材料板材生产设备

本发明涉及碳纤维生产设备技术领域,具体为一种碳纤维复合材料板材生产设备,包括上模座,所述上模座的下端外表面固定连接有上模,所述上模的下端外表面靠近两侧边缘位置均固定连接有定位块,所述上模座的下端外表面靠近四个拐角的位置分别固定连接有支撑杆,四个所述支撑杆的下端固定连接有下模座,所述下模座的上端外表面固定连接有下模,所述下模的上端外表面靠近两侧的位置均开设有定位槽,所述上模与下模的内部均设置有冷却机构。本发明能够对热压结束后的成型板材进行冷却降温,通过循环冷却水进行冷却降温,在进行热压时,可以使加热更均匀,同时空腔内部放置的是导热硅胶,导热效果更好,使产品质量更好。

标签:
复合材料
江苏 - 泰州 来源:北方有色网 2023-03-18
聚丙烯改性复合材料
聚丙烯改性复合材料 751     
 0

本发明公开了一种聚丙烯改性复合材料,包括废聚丙烯、氯化聚乙烯、废橡胶粉、各种助剂,将所述废聚丙烯、氯化聚乙烯、废橡胶粉清洗后磨成120目左右的粉料,和顺丁橡胶、活化无机粒子放入挤出机内加温175℃混合,挤出造粒,进一步改进在于:还包括玻纤布。本发明制备时相容性好,结构强度高,断裂少。

标签:
复合材料
江苏 - 泰州 来源:北方有色网 2023-03-18
用于阻燃电缆的可陶瓷化硅橡胶复合材料及其制造方法

本发明公开了一种用于阻燃电缆的可陶瓷化硅橡胶复合材料及其制造方法。以质量百分比计,原料组成包括基础硅橡胶40~60%、瓷化粉30~50%、高岭土5~15%、导热填料3~8%、助熔剂3~5%、羟基硅油1~5%和硫化剂1~3%。制备时在橡胶密炼机中,将上述原料混合均匀,得到混炼胶,再经硫化得到可陶瓷化硅橡胶硫化胶,硫化温度为150~180℃,一段硫化时间为5~20分钟,二段硫化时间为2~4小时。本发明技术方法制备的可陶瓷化硅橡胶的力学性能良好,在较低瓷化温度(700‑800℃)下转化成坚硬的陶瓷体。该硅橡胶可以用于制造阻燃耐火电线电缆。

标签:
复合材料
江苏 - 泰州 来源:北方有色网 2023-03-18
增强型聚丙烯复合材料
增强型聚丙烯复合材料 1030     
 0

本发明公开了一种增强型聚丙烯复合材料,包括废聚丙烯、氯化聚乙烯、废橡胶粉、三元乙丙胶、玻纤;进一步改进在于:废聚丙烯通过化学热解回收。本发明结构强度高,断裂少。

标签:
复合材料
江苏 - 泰州 来源:北方有色网 2023-03-18
PVC复合材料
PVC复合材料 768     
 0

本发明公开了一种PVC复合材料,由废塑料、蒙脱土粒子和各种助剂组成,各组分的重量配比为:废塑料60~70%,蒙脱土粒子10~20%,相容剂8~12%,润滑剂5~8%,增韧剂1~3%;进一步改进在于:润滑剂为硬脂酸或液体石蜡。本发明加入蒙脱土粒子,提高本发明拉伸性能,采用废塑料,变废为宝,同时减少环境污染。

标签:
复合材料
江苏 - 泰州 来源:北方有色网 2023-03-18
高强度桑枝纤维PVC复合材料

本发明公开了一种高强度桑枝纤维PVC复合材料,组分及组分的重量配比为:塑料55~60%,桑枝纤维15~20%,钛白粉粒子4~6%,炭黑3~5%,相容剂10~15%,润滑剂6~9%,增韧剂3~4%,桑枝纤维进行接枝改性处理;进一步改进在于:添加耐腐蚀剂,组分及组分的重量配比为:塑料53~58%,桑枝纤维14~18%,钛白粉粒子4~6%,炭黑3~5%,相容剂10~15%,润滑剂6~9%,增韧剂3~4%,耐腐蚀剂3~4%。本发明能显著提高桑枝纤维与PVC相容性。

标签:
复合材料
江苏 - 泰州 来源:北方有色网 2023-03-18
PTFE玻璃纤维单面复合材料

本发明涉及一种PTFE玻璃纤维单面复合材料,包括玻璃纤维基材层,所述的玻璃纤维基材层上依次覆合结构层和聚四氟乙烯表层,所述结构层由90%-95%?的聚四氟乙烯乳液、4%-9%的亲水性纳米二氧化硅、1%-6%的聚丙烯酸盐丙烯酸或1%-6%甲基丙烯酸的均聚物或两者混合物构成的有机增稠剂混合浸涂而成。本发明使用方便,柔软、有韧性,耐折易弯曲,具有耐高温、防腐、防辐射、防水、保温、可反复拆卸、重复使用、无需清洁、使用寿命长等优点,可广泛应用于化工、冶金、核电、船舶等行业高低温管道、管件、设备绝热保温材料的外层保护。

标签:
复合材料
江苏 - 泰州 来源:北方有色网 2023-03-18
上一页 55 56 57 58 59 ... 65 下一页
共65页    到第

北方有色为您提供最新的江苏泰州有色金属材料制备及加工技术理论与应用信息,涵盖发明专利、权利要求、说明书、技术领域、背景技术、实用新型内容及具体实施方式等有色技术内容。打造最具专业性的有色金属技术理论与应用平台!

全国热门有色金属设备推荐
展开更多 +
全国热门有色金属技术推荐
展开更多 +

 

江西省隆恩特环保设备有限公司
宣传

报名参会
更多+

报告下载

有色专家
更多+

东北大学
院长/教授
有研科技集团有限公司
中国工程院 院士
武汉科技大学
校学术委员会主任 / 教授
长沙矿冶研究院有限责任公司
中国工程院院士
中国矿业大学(北京)
院长/教授
赤泥综合利用研究报告2025
推广

热门技术
更多+

推荐企业
更多+

福建省金龙稀土股份有限公司
宣传

发布

在线客服

公众号

电话

顶部
咨询电话:
010-88793500-807