青岛垚鑫智能科技有限公司
宣传

位置:北方有色 >

有色技术频道 >

> 固/危废处置技术

分类:
全部
矿山技术
冶金技术
材料制备及加工技术
环境保护技术
分析检测技术
 
全部
废水处理技术
大气治理技术
固/危废处置技术
土壤修复技术
地区:
全部
北京
天津
上海
重庆
河北
山西
辽宁
吉林
黑龙江
江苏
浙江
安徽
福建
江西
山东
河南
湖北
湖南
广东
海南
四川
贵州
云南
陕西
甘肃
青海
内蒙
广西
西藏
宁夏
新疆
其他
其他
展开
 
全部
其他

其他有色金属固/危废处置技术理论与应用

免费发布技术信息>>
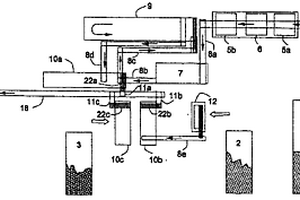
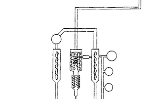
工业废液污泥的固体化回收处理装置

本实用新型是一种工业废液污泥的固体化回收处理装置,它包括机台(1)、控制箱(2)、马达(3)、离心室(4)、旋转筒(5)及废水槽(6),旋转筒(5)装在转轴(42)上,由水泵(6)将废水槽(6)中的废液汲至旋转筒(5)内,将较大比重的废料旋集凝固于外环筒壁,筒中央形成的净化水可由导流管(45)和净水出口(46)导出流回至废水槽(6)中重复使用。具有方便处理废弃物,且节省用水的优点。

标签:
固废
其他 - 其他 来源:北方有色网 2023-03-19
用于固体SCR系统的废气混合加热的系统和方法

本申请涉及用于固体SCR系统的废气混合加热的系统和方法。公开了用于控制交通工具的气态还原剂后处理系统的系统、方法、存储介质和计算平台,所述控制在一个或更多个控制器上执行。示例性实施方式可以:确定废气温度;将所确定的温度与阈值温度进行比较;当所确定的温度低于阈值温度时,加热废气;确定所加热的废气温度处于或高于阈值温度;并且在该确定之后打开还原剂输送阀。

标签:
固废
其他 - 其他 来源:北方有色网 2023-03-19
碱性固体废弃物改质方法

一种碱性固体废弃物改质方法,利用将一含有二氧化碳的气体源注入分散有该碱性固体废弃物的分散液中,让二氧化碳与该碱性固体废弃物的活性物质反应,以稳定该碱性固体废弃物,因此可快速并大面积处理。

标签:
固废
其他 - 其他 来源:北方有色网 2023-03-19
利用二氧化氯达到B级生物固体标准的废水处理设备

本发明揭示了对含有生物固体的废液进行处理的系统和过程,所述废液以变化的流量和固体含量输送,以实现1.5毫克O2/克/小时以下SOUR和至少+300mV?ORP。该系统包括生物固体控制装置,用于把悬浮固体量占废液总量的百分比调节到百分之五(5)以下化学氧化剂供给装置,用于向废液投加氧化剂如二氧化氯、臭氧,或类似的氧化剂,以及与所述化学氧化剂供给装置配套的处理容器,所述废液流过该处理容器,其特征在于,所述化学氧化剂供给装置和处理装置配置为实现百万分之25-200(PPM)废液量的投加速率,并在处理容器中投加氧化剂后30秒内基本完成氧化剂的混合。

标签:
固废
其他 - 其他 来源:北方有色网 2023-03-19
以钢铁工业固体废弃物为原料制备的环保型防火涂料

本发明公开了一种以钢铁工业固体废物为原料制备的环保型防火涂料,由以下重量份的原料制成:水泥30‑35份、云母粉6‑10份、改性硅酸钠粉末5‑7份、钢渣粉末12‑18份、水渣粉末4‑8份、粉煤灰漂珠25‑35份、疏水性二氧化硅2‑4份。本发明的主要原料来自钢铁工业所产生的固体废弃物,包括钢渣、水渣和粉煤灰,其占制备环保型防火涂料原料的50%以上,实现了对钢铁大宗固体废物的资源化利用,符合环保和可持续发展原则。本发明的环保型防火涂料是一种新型非膨胀型防火涂料,其重量轻、成本低、生产工艺简单、施工简便、环保安全、防火效果良好、性价比特高,可作为超薄型和薄型防火涂料,广泛用于钢结构、混凝土结构等不同领域的防火保护材料。

标签:
固废
其他 - 其他 来源:北方有色网 2023-03-19
从含溴化合物的固体废物中回收溴及其应用

从含溴化合物的固体废物中回收溴及其应用,例如用于以适于再利用的形式回收溴,或用于制备溴盐(例如溴化钙)。溴回收方法和系统包含:提供并混合(i)含溴化合物的固体废物和(ii)固体氢氧化钙;在化学还原(非氧化)环境中加热所述混合物,从而形成基本上仅由固体溴化钙(盐)组成的加热产物;以及处理所述加热产物,以形成溴。溴化钙的制备方法和系统包含:提供并混合(i)含溴化合物的固体废物和(ii)固体氢氧化钙;在化学还原(非氧化)环境中加热所述混合物,从而形成固体溴化钙(盐)。适用于制备溴基阻燃(防火)材料的方法或涉及制备该材料的方法。

标签:
固废
其他 - 其他 来源:北方有色网 2023-03-19
包括固体分离装置的净化器、以及用于废水净化的方法

本发明涉及一种用于诸如废水的流体的净化的净化器(100),该净化器包括:用于流体的反应容器(10),该反应容器具有反应室(11)和底部(12);下行床(14),具有顶端(91)和底端(92),其中,下行床的顶端连接至流体收集器(13)以收集来自反应容器(10)的流体,并且下行床布置成朝着反应容器的底部(12)运送流体;固体分离装置(20),布置成分离固体与液体,该固体分离装置包括流体入口(72)和液体排放口(56),该流体入口布置成将流体引入固体分离装置中,该液体排放口布置成从固体分离装置中移出分离的液体;其中,固体分离装置(20)的流体入口连接至下行床的底端(92),并且固体分离装置位于反应容器的底部(12)上或附近。

标签:
固废
其他 - 其他 来源:北方有色网 2023-03-19
处理固体废料的方法
处理固体废料的方法 725     
 0

一种保护组成物料资源价值的三阶段固体废料处理方法。第一阶段包括以下步骤:从废料中分离铁类金属,将固体废料破碎和粉碎成均匀的小颗粒,干燥固体废料基本上除去全部自由水分,并使废料成生物惰性,将干燥的废料压缩成均匀的高密度块料,并密封压缩后的块料;包括在第二阶段的步骤是使压缩块料恢复成均匀颗粒并基于密度将混合的组成物料分离,该阶段具有利用一连串流化床和旋风分离器的第一处理级和利用振动传送器和熔化分离组件的第二处理级;第三阶段包括通过化学处理进一步分离和提纯选择回收的物料。

标签:
固废
其他 - 其他 来源:北方有色网 2023-03-19
用于城市固体废弃物的高级热化学转化处理的方法和反应器

公开了一种反应器系统,包括单个罐或多个分开的罐区段,该单个罐或多个分开的罐区段用于(分类的或未分类的)城市固体废弃物(“MSW”)的改进的热化学转换处理;以及高压釜,高压釜被专门设计成在合适的温度和压力组合下加工废弃物。罐区段可以单独地并且分开地填充有成压缩捆的MSW或选择的松散的MSW。还公开了一种加工(分类的或未分类的)MSW的方法,该方法可以通过使用容纳废弃物原料的罐以及专门设计成在合适的温度和压力组合下加工废弃物的高压釜来进行。反应器系统可产生具有提高的BTU值(通常为约300至700BTU/ft3)的合成气。剩余的固体废弃物通常约占原始MSW体积的5%。然后可以针对金属分类这种材料,其中余量根据其组成被送至填埋场或其他再循环工艺。

标签:
固废
其他 - 其他 来源:北方有色网 2023-03-19
由含有固体异物的废塑料材料粉碎物制备的再生树脂组合物

本发明目的在于提供一种树脂组合物,该组合物使用以混杂有少量不溶性固体异物的热塑性树脂为主要成分的废塑料材料作为原料,可制造外观无缺陷的合成树脂制品。所述树脂组合物是向含有主要量的热塑性树脂和少量非热塑性固体异物的废塑料材料粉碎物中,混合遮光性成分,加热熔融该混合物而得到的再生树脂组合物,由该再生树脂组合物制成的片材的亮度和透光度的关系如下式所示:(A×B)≤4000[A:由上述树脂组合物制成的厚3MM的片材的亮度(%),B:由上述树脂组合物制成的厚50ΜM的片材的总透光率(%)]。

标签:
固废
其他 - 其他 来源:北方有色网 2023-03-19
利用填埋或生活废弃物的非成型固体燃料制造方法

本发明涉及利用填埋或生活废弃物的非成型固体燃料制造方法,其目的在于减少破损工艺次数,从而减少分选所致的整体能源消耗,同时降低非可燃物的含量,并提高可燃物的发热量,从而提供高品质的非成型固体燃料制造方法。本发明包括如下步骤:利用挖掘机对装有填埋或生活废弃物的塑料袋以非破损方式进行拆封,并分选粗大可燃物的步骤;利用圆形分选机按照大小来分选废弃物的粒度分选步骤;利用双重圆盘分选机对向圆形分选机下部落下的沙土类进行精密分选的同时,利用微细可燃物分离用吸入机对微细可燃物进行吸入分选的精密粒度分选步骤;通过风力比重分选装置,降低飞散灰尘和恶臭发生的同时,将废弃物分选为非可燃物、可燃物的风力比重分选步骤;利用通过移送装置接收可燃物的破损机制造成所需的非成型固体燃料的大小的破损步骤。

标签:
固废
其他 - 其他 来源:北方有色网 2023-03-19
将未分选的城市固体废物转化为地质聚合物颗粒状物/压块和地质聚合物砖状物/铺砌块的新方法和设备

将城市固体废物转化为地质聚合物压块和地质聚合物砖状物的设备和方法,包括开袋机和破碎机,用于含铁物质的磁力分离器和用于非含铁物质的涡流式分离器;用于去除液体内容物的挤压机;用于干燥的颗粒间碰撞式干燥器;用于磨碎的磨碎机和用于可燃的城市固体废物的碳化以产生具有低的含水量的固体焦炭的脱挥发碳化反应器。固体焦炭与地质聚合物粘合剂/淀粉/焦油混合以形成可燃的颗粒状物/压块。这些高度可燃的压块/颗粒状物具有高热值。颗粒状物/压块通过以高转速旋转可燃的焦炭并压实形成。颗粒状物具有按重量计小于5%的含水量和5500千卡至6500千卡的燃料值。该过程产生不可燃的地质聚合物砖状物。由转筒筛分离的不可燃的城市固体废物由颗粒间碰撞式破碎机和锅式混合器来破碎,与地质聚合物粘合剂/飞灰/采石场粉尘/碎片或瓷土混合并且被模制。

标签:
固废
其他 - 其他 来源:北方有色网 2023-03-19
固体废弃物焚烧装置
固体废弃物焚烧装置 989     
 0

本发明涉及固体废弃物焚烧装置,由投入固体废弃物的投入部(2)、使上述固体废弃物燃烧分解的热分解炉(4)、回收上述热分解炉(4)的排放气体并高温加热使之重新燃烧的燃烧炉(6)、使上述燃烧炉(6)发生的高温排放气体与供暧用水发生热交换以便加热供暖用水的热水锅炉(8)以及对通过上述热水锅炉(8)的低温排放气体进行过滤以便去除微细灰尘的集尘装置(10)构成。本发明可以通过1、2次燃烧对固体废弃物和排放气体进行焚烧处理,废弃物的处理更加容易,同时,通过把焚烧时发生的热重新用作供暖用热,从而能够有助于节省能源。

标签:
固废
其他 - 其他 来源:北方有色网 2023-03-19
固体废料的能量利用设备

本发明涉及一种用于连续利用固体废料的能量的设备。固体废料例如是废纸、废木头、废塑料、产品废料、工业沉淀物或其它的包含可燃烧的成分的固体部分或它们的混合物。为了提供一种利用固体废料热量的设备,其中至少能够实现能量平衡(即使不是正的能量平衡),并且适合于多种的废料类型,其中特别是顾及到环境影响、特别是烟气组成,本发明建议,该设备包含给料装置、低温干馏装置和热力后燃烧装置。利用这些基础元件可以利用不同类型的固体废料,其中原料首先转换成热气,热气在需要时可以转换成蒸汽和电能。

标签:
固废
其他 - 其他 来源:北方有色网 2023-03-19
用于提高废水流出物和生物固体的质量的系统、方法和设备

递送负载在无机多孔介质上的微生物的方法。处理废水以提高流出物和生物固体质量的方法。减少氨和使废水流出物反硝化的方法。降低废水流出物中的磷浓度的方法。源自废水处理的生物固体的组合物。用于提高废水流出物和生物固体质量的废水处理组装。

标签:
固废
其他 - 其他 来源:北方有色网 2023-03-19
含金属铝放射性固体废料的处理方法

本发明公开的是处理含金属铝放射性固体废料的方法,它包括以下步骤:将含金属铝的放射性固体废料与碱溶液反应产生氢气,然后将所得的反应液与含助水硬材料作为主要成分的固化材料混合来固化液体。按照本发明的方法,可容易地进行高充填状态(高浓度)含铝放射性固体废料的固化,并可得到具有极好的机械强度和预防放射性核素渗出性能的固体。

标签:
固废
其他 - 其他 来源:北方有色网 2023-03-19
转化未分类固体废物的系统和方法

本发明涉及废弃物处理,包括未分类的固体废弃物(1),在废弃物处理系统(21)中处理未分类的固体废弃物,在废弃物处理系统中粉碎(26)以制备粉碎后的未分类的固体废弃物(27);将粉碎后的未分类的固体废弃导入热化学转化反应器(4)中;加热,甚至化学转化粉碎后的未分类的固体废弃物;生产水热炭(22)和可回收材料组分(23);在所述废弃物处理系统中,在热化学转化反应器内利用循环水(24)加热和化学处理粉碎后的未分类的固体废弃物;分选(25)可回收材料组分;利用水热炭作为热化学转化发反应器的燃料(28);甚至从废弃物处理系统中的热化学转换反应器中回收热量。

标签:
固废
其他 - 其他 来源:北方有色网 2023-03-19
处理含氟化合物的固体废物的方法和系统

本发明公开一种含氟化合物的固体废物的处理及其多种应用。处理含氟化合物的固体废物的方法包括:提供并混合(i)含氟化合物的固体废物以及(ii)固体氢氧化钙,以形成两者的一混合物;在一化学还原(非氧化)环境中加热所述混合物,以形成包含固体氟化钙的一加热产物;以及处理或/及加工所述加热产物,以形成一无害的安全一次性材料。一种固体废物处理系统,包括:一固体废物输入单元;一固体氢氧化钙供应单元;一混合单元;一加热单元;以及一产物处理/产物加工单元。本发明适用于大规模商业处理,或涉及、制造含氟化合物的产品和材料,在其处理期间产生大量含氟化合物的固体废物,因此需要处理或/及加工和处置这些固体废物。

标签:
固废
其他 - 其他 来源:北方有色网 2023-03-19
将含有石棉的固体废弃物无害化的方法

本发明的课题在于提供一种将含石棉的废弃物无害化的方法,所述方法可以将其加热处理过程中的能量成本抑制在低水平并且安全性高。本发明在处理含石棉的废弃物时将作为其处理剂的碱金属硅酸盐以固体状态与含石棉的废弃物混合、加热,由此能够解决上述课题。

标签:
固废
其他 - 其他 来源:北方有色网 2023-03-19
生产废物转化固体燃料的方法和装置

生产废物转化固体燃料(RDSF)的方法和装置,包含包括粉碎的城市固体废弃物(MSW)干组分的第一组分和至少一种选自弹性材料和热塑性材料或它们的混合物的粉碎的第二组分。其中,MSW干组分、弹性聚合材料和/或热塑性材料分别存储在不同容器中,需要时计量并输送到一连续传送装置上,形成重叠层,并被排卸到临时积聚容器中,如机动车辆的箱式车身中,目的是直接向燃烧RDSF的燃烧装置进料。按此方法无需在生产阶段将RDSF各组分预混,也无需为了避免组分的压实和/或组分分离而不停搅拌来维持混合效果。实际上,各组分之间的混合只在生产的最后,即RDSF放入向燃烧装置进料的临时积聚容器时发生。

标签:
固废
其他 - 其他 来源:北方有色网 2023-03-19
城市固体废物处理方法和装置

本发明涉及一种用于处理城市固体废物的方法和装置,更具体地涉及一种用于处理和再循环没有分类收集的城市固体废物、并且用于将要掩埋的最终废物量减至最少的方法和装置。为此目的,本发明的特点在于包括下述步骤:将城市固体废物和微生物输入反应器的输入步骤;首先将在输入步骤中输入反应器的城市固体废物和微生物进行反应的第一反应步骤;将在反应器中完成第一反应的第一中间物质输送到第一分离器、然后分离有机物(它也可以包括通过第一分离器的筛网的小粒度无机物,也称作“第二中间物质”)和无机物的第一分离步骤,进一步包括根据性能分离和回收循环物料的循环物料回收步骤,用于再循环无机物;将通过第一分离器的第二中间物质输送到构造有良好空气循环的分解区、然后进行第二中间物质的第二反应的第二反应步骤;将在分解区中完成第二反应的第三中间物质输送到第二分离器、然后将杂质从第三中间物质分离出来的第二分离步骤;以及后处理在第二分离步骤中分离的第四中间物质以形成最终物料的后处理步骤。

标签:
固废
其他 - 其他 来源:北方有色网 2023-03-19
有机和无机废料转变成惰性不溶于水的固体材料的方法

含有至少30%(以重量计)纤维素物质的固体废 料转变成惰性和不溶于水的固体产品方法,其特征 在于可能包含的金属体被除去,然后废物经过研磨 和均匀化,形成均匀的粉状料,再压制成大量的固 体,最后,这些固体在有生石灰存在下进行热处理, 所述的热处理包括初始加热区,在此区内,固体中心 温度从初始温度低于100℃迅速升到至少250℃,但 要低于原始废物中可能包含的塑料热分解温度。

标签:
固废
其他 - 其他 来源:北方有色网 2023-03-19
用于排水的固体废物拦截器

用于排水的固体废物拦截器,所述拦截器包括用于在所述拦截器中收集废水的水箱,所述水箱具有废水入口和废水出口,容纳有滤网篮的固体废物收集托盘以抽屉的形式可滑动地安装在所述水箱内,以在一个关闭位置以及一个打开位置之间移动,其中在所述关闭位置中所述滤网篮从所述废水入口接收废水,在所述打开位置中所述固体废物收集托盘从所述水箱伸出,以使得可接近所述滤网篮,以利于从所述滤网篮中清空收集的固体废物,所述收集托盘设有排水出口,所述排水出口用于将通过所述滤网篮的废水输送所述到水箱的集水槽中,当所述托盘处于其打开位置时,排水出口栓适于邻接所述水箱的前壁以限制所述托盘的所述打开位置。

标签:
固废
其他 - 其他 来源:北方有色网 2023-03-19
利用固体酸物质去除含有高含量氯的废油馏分中的氯的方法

本发明是一种通过使用固体酸物质对含有高含量Cl的油馏分进行高温处理以去除90%以上的氯的技术。去除Cl的油馏分可以被引入到精炼工艺中转化为燃料或化学产品。本发明中可以在混合固体酸物质和高含量Cl的油馏分之后通过在高温下热处理去除氯。在去除Cl的过程中同时去除S、N、O等主要杂质和在精炼工艺催化反应中可作为催化剂毒物的Na、Ca、Fe等。在通过固体酸物质去除高含量Cl的油馏分中的Cl的过程中,通过低聚、烷基化反应略微增加油馏分组成的平均分子量,从而可以防止反应异常、产品性状变差和收率损耗。对石油化工工艺中使用后废弃的废固体酸物质(废沸石、废粘土等)进行简单处理,从而可以用作用于去除Cl的固体酸物质,因此在环境方面优选。

标签:
固废
其他 - 其他 来源:北方有色网 2023-03-19
从生产苏打灰、碳酸氢钠和/或其他衍生物的废料固体中去除杂质

一种用于从废料固体中去除杂质,以提供用于生产结晶碳酸钠、碳酸氢盐和/或其他衍生物的工艺的至少一部分合适的结晶器原料的方法。该方法包括:将废料固体接触沥滤液以溶解至少一种杂质和溶解所生成的沥滤残渣。沥滤可包括堆渗透。沥滤液可包括一种结晶器清除液、一种工艺废料流出物、矿井水、或它们的混合物。该方法可以进一步包括在将生成的沥滤残渣溶解以去除另一种杂质期间或之后,添加镁化合物到生成的沥滤残渣。该废料固体优选包括含有这种杂质的一种池固体。该池固体可以从接收一种或多种结晶器清除液和/或一种或多种其他工艺废料流出物的池回收。该池固体可包含碳酸钠、它的任何水合物、碳酸氢钠和/或碳酸氢三钠。要去除的杂质可能包括氯化钠、硫酸钠、硅酸盐、和/或有机物。

标签:
固废
其他 - 其他 来源:北方有色网 2023-03-19
固体有机废物的厌氧发酵方法和装置

本发明公 开了一种固体有机废物 的厌氧发酵方法和装置, 使固体废物与液态物料 尤其是厌氧污泥相混合, 将混合物的温度加热到25-70℃之间,优选地是30-40℃ (中温)之间和55-65℃(高温)之间。借助于轻物料的上升和 漂浮,通过在反应器中进行上述混合,固体物料层(10)漂浮在产 甲烷区上。上述漂浮层从反应器的进料端(7)或混合段(2)向排 放端(14)移动,在漂浮层中发生了固体物质的水解和酸化。借助 于排放端(14)排放发酵后的漂浮层,在漂浮层下的产甲烷区,液 体和污泥的停留时间是不相同的。

标签:
固废
其他 - 其他 来源:北方有色网 2023-03-19
以合成树脂-纸浆废弃物为主要原料的固体燃料制造方法

本发明提供制造过程中被作为不良处理的一次性废尿布或者废卫生巾通过一定的加工工序,制成低价的产业用替代燃料,并提供燃烧时不会产生环境问题的固体燃料,提供以一次性尿布或者卫生巾等合成树脂和纸浆不可分离、形成为一体的合成树脂-纸浆废弃物为主要原料的环保型低价固体燃料及其制造方法,一次性尿布、卫生巾等纸浆和合成树脂形成为一体的废弃物投入至粉碎机将其粉碎成碎片,向该碎片添加废食用油粘结制剂而压铸成型再切割成块状后干燥的合成树脂-纸浆废弃物为主要原料的固体燃料制造方法和以该方法制得的环保型低价自然干燥型固体燃料。

标签:
固废
其他 - 其他 来源:北方有色网 2023-03-19
废弃化学武器中固体残渣的中和处理方法

一种废弃化学武器中的固体残渣的中和处理方法,是在中和处理残留于化学弹(1)的弹壳(1a)中的固体残渣的方法,首先用有机溶剂S,洗涤、溶解处理上述固体残渣,然后用碱性溶液A和氧化剂O,中和处理由上述洗涤、溶解处理中产生的固体残渣溶解液。利用上述的废弃化学武器中的固体残渣的中和处理法,通过完全、可靠且迅速地溶解在化学武器中残留的固体残渣(残余物),大大地促进水解反应,从而能够在整体上短时间内、有效地进行对化学武器的无害化处理。

标签:
固废
其他 - 其他 来源:北方有色网 2023-03-19
用于从牙科的废水混合物中分离气体和固体的分离装置

本发明涉及一种用于从牙科的废水混合物中分离气体和也许存在的固体的分离装置,其具有气水分离器,其中混合物供给管通入离心机转筒内,排气通道相对于所述混合物供给管通向所述离心机转筒外,并且所述离心机转筒具有位于顶部的排流边缘,越过所述排流边缘,排水口被引导到所述离心机转筒外侧上。根据本发明,所述分离装置的特征在于,所述混合物供给管通到设置在所述离心机转筒底部上方的中央涡轮叶轮上,并且废水输送泵的泵叶轮设置在所述离心机转筒的外侧上设置在所述离心机转筒底部的附近,其中所述废水输送泵与所述排水口连通。

标签:
固废
其他 - 其他 来源:北方有色网 2023-03-19
生产苏打化学品的组合固体废物、二氧化碳生石灰喷射、盐水和反渗透/离子交换法

本拟议的发明利用了传统的化学方程式,其中二氧化碳CO2与生石灰Ca(OH)2反应生成小苏打NaHCO3,并利用高级膜和树脂技术将其浓缩至6%。本发明需要三种化学品CO2、Ca(OH)2和氯化钠NaCl以生产NaHCO3。许多工业方法的输出缺乏废物热量,和在许多种情况下缺乏CO2,而本发明将固体废物处理装置与允许固体产物或高%溶液产生的上述方法组合。废物热源的利用可导致高效生产NaHCO3、Na2CO3和NaOH。该方法不是氯碱电化学法或苏尔柱氨处理技术。高级膜利用反渗透和纳滤系统的技术,而树脂技术利用离子交换系统。因此,我们简便地称其为固体废物-生石灰膜SWQM法。

标签:
固废
其他 - 其他 来源:北方有色网 2023-03-19
上一页 54 55 56 57 58 下一页
共58页    到第

北方有色为您提供最新的其他有色金属固/危废处置技术理论与应用信息,涵盖发明专利、权利要求、说明书、技术领域、背景技术、实用新型内容及具体实施方式等有色技术内容。打造最具专业性的有色金属技术理论与应用平台!

全国热门有色金属设备推荐
展开更多 +
全国热门有色金属技术推荐
展开更多 +

 

江西省隆恩特环保设备有限公司
宣传

报名参会
更多+

报告下载

有色专家
更多+

矿冶科技集团江苏北矿金属循环利用科技有限公司
书记 / 总经理
中南大学
常务副校长
有研科技集团有限公司
首席科学家
中国瑞林工程技术有限公司
中国工程院院士
重庆理工大学
教授
赤泥综合利用研究报告2025
推广

热门技术
更多+

推荐企业
更多+

福建省金龙稀土股份有限公司
宣传

发布

在线客服

公众号

电话

顶部
咨询电话:
010-88793500-807