青岛垚鑫智能科技有限公司
宣传

位置:北方有色 >

有色技术频道 >

> 固/危废处置技术

分类:
全部
矿山技术
冶金技术
材料制备及加工技术
环境保护技术
分析检测技术
 
全部
废水处理技术
大气治理技术
固/危废处置技术
土壤修复技术
地区:
全部
北京
天津
上海
重庆
河北
山西
辽宁
吉林
黑龙江
江苏
浙江
安徽
福建
江西
山东
河南
湖北
湖南
广东
海南
四川
贵州
云南
陕西
甘肃
青海
内蒙
广西
西藏
宁夏
新疆
其他
其他
展开
 
全部
其他

其他有色金属固/危废处置技术理论与应用

免费发布技术信息>>
固体减少量提高的废水处理设备和方法

一种废水处理方法,其提供通过内生呼吸而改善的总固体量减少,同时减少了生化需氧量且利用了生物养分还原。该废水处理工艺使用有效曝气输送系统从而使氧化有机物质所需要的时间显著减少,还循环、粉碎和均化有机物质和微生物,并且较传统系统氧化整个物质更多次,结果生物固体消化速率更高。

标签:
固废
其他 - 其他 来源:北方有色网 2023-03-19
具有水冷壁炉膛管屏的城市固体废物燃料蒸汽产生器

本发明揭示一种蒸汽产生器,其包含经配置且适于从城市固体废物燃料的燃烧产生炉膛出口烟气流的炉膛。至少一个过热器安置于所述炉膛的上部部分或后烟道内。所述过热器经配置且适于通过促进所述过热器内的流体与所述过热器外的炉膛出口烟气之间的热传递来使所述过热器内的流体过热。至少一个水冷壁炉膛管屏从所述过热器向上游安置于所述炉膛内,所述水冷壁炉膛管屏经配置且适于通过促进所述水冷壁炉膛管屏内的流体与所述水冷壁炉膛管屏外的炉膛出口烟气之间的热传递来降低所述过热器处的炉膛出口烟气温度。

标签:
固废
其他 - 其他 来源:北方有色网 2023-03-19
用燃气轮机从固体燃料和废热中发电的方法以及实现该方法的设备

一种燃气轮机发电方法,作为原始能量来源,固体矿物燃料、可替代燃料以及它们与空气或氧气燃烧后的废热都可以为之利用。其工作介质是由压缩机22提供的气体和冷却燃烧室1的冷却介质蒸汽的蒸汽燃气混合物。在压缩机之前或者在蒸汽-燃气混合物进入加热器(7)之前,或者至少在进入加热器(7)的多个部分之间之前,喷射介质被喷射到通过压缩机输送的气流中。燃气轮机(28)可以与再生换热器相联接使用,或者与利用来自燃气轮机(28)的废气的废热的郎肯-克劳修斯蒸汽循环装置相连接使用。燃气轮机进行所谓的湿式循环,这使得其可以利用燃烧室(1)的冷却介质的热量以及使得用于生成压缩机(28)的工作介质的气体等温压缩。工作介质和混合气体一起作为燃烧室(1)的冷却介质流。经过燃气轮机(28)之前或者之后的蒸汽-燃气混合物的温度可以通过再热而提升,经过燃气轮机(28)之后的蒸汽-燃气混合物的温度可以通过燃烧的原始燃料的废气再热而提升。

标签:
固废
其他 - 其他 来源:北方有色网 2023-03-19
由固体城市废物生产生物油的方法

本发明提供一种由固体城市废物生产生物油的方法,所述方法包括如下步骤:a)对所述固体城市废物进行液化,得到包括由生物油构成的油相、固相和水相的混合物;b)将在所述液化步骤a)中得到的所述水相进行发酵,得到发酵的生物质;c)将在所述发酵步骤b)中得到的发酵的生物质进料至所述液化步骤a)。由此得到的生物油(或生物原油)能够有利地用于生产生物燃料,所述生物燃料能够以其本身或与其它汽车车辆燃料混合的形式使用。或者,该生物油(生物原油)能够以其本身(生物易燃品)或与化石易燃品(易燃的油、煤等)混合的形式用于产生电能或热。

标签:
固废
其他 - 其他 来源:北方有色网 2023-03-19
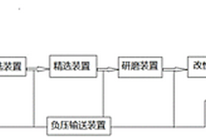
固体废弃物裂解产物再生循环利用装置

本实用新型涉及一种固体废弃物裂解产物再生循环利用装置,包括进料仓、磁选装置、风选装置、精选装置、研磨装置、改性装置、助剂一料仓、助剂二料仓和出料仓,同时包括负压输送装置。本实用新型的固体废弃物裂解产物再生循环利用装置是用于将轮胎裂解过程中产生的一次裂解炭黑进行回收后,深加工循环利用。回收得到的粗炭黑经磁选、风选、输送、精选以及研磨后,进入改性装置进行改性处理,处理后得到新型炭黑材料,产品经自动打包系统将新型炭黑材料装袋出厂。

标签:
固废
其他 - 其他 来源:北方有色网 2023-03-19
具有或不具有添加剂的从油页岩拆解法获得的废页岩或灰分作为固体燃料的应用

本发明开发了一种制造固体燃料的方法。根据该方法,可将废页岩、通过高温油页岩拆解过程获得的灰分、经处理的废页岩、从油页岩直接燃烧获得的灰分、从油页岩非直接燃烧获得的灰分或其任何混合物在不具有任何添加剂或具有有机和无机添加剂的情况下用作固体燃料。燃料的点燃温度高于300℃,燃烧室中的空气流动速度高于5m/s,在燃烧过程中可以添加氧来改善燃烧效率。在本发明中,还开发了制造熟料的方法、产生用于制造隔热(绝热)材料的原材料的方法、产生用于制造建筑砖块的原材料的方法、产生用于制造路铺设砌块的原材料的方法和产生用于气和液的纯化、过滤、吸附和吸收的活性炭的方法,以在燃烧过程中改善燃烧效率。

标签:
固废
其他 - 其他 来源:北方有色网 2023-03-19
基于由两个不同热源组成的梯度的固体废弃物处理方法

本发明基于由两个不同热源组成的梯度的固体废弃物处理方法涉及一系列技术组合,该系列技术组合通过具有两个腔室(2和3)的反应器1进行运行,能够处理任何类别的固体废弃物,各腔室包括产生温度梯度的热源(4和5),紧随其后的是供气体于其中进行快速冷却并将气体驱动至中和桶(7)的热交换器(6),而后通过风机(9)将中和桶(7)中的气体导向活性炭过滤器(8)中,气体最终进入工作于电火花下的燃烧器(10)中,经过催化剂(11)及烟道(12)以处于完全惰性的状态渗透入大气中。

标签:
固废
其他 - 其他 来源:北方有色网 2023-03-19
都市固体废弃物分选系统及方法

将都市固体废弃物(120)分选成为各类型物料之方法及相关的系统,该方法包括下列步骤:分选固体废弃物(120)成为粒度特大级(180)、中粒度级(170)及粒度过小级(160);使用至少手工方式(210,330),密度方式(234,310),进而还有粒度方式(346)及金属方式(318)分选设备,以获得一部分粒度特大级(236),第一部分中粒度级(348)及第二部分中粒度级(350);组合该部分粒度特大级(236)和第一部分中粒度级(348)而产生一种粒度特大—中粒度组合级(237),及组合该粒度过小级(160)和第二部分中粒度级(350)而产生一种粒度过小—中粒度组合级(412);及使用进一步的分选设备来更进一步分选该粒度特大—中粒度组合级(237)和粒度过小—中粒度组合级(412)成为各种类型的物料。

标签:
固废
其他 - 其他 来源:北方有色网 2023-03-19
用于处理固体废弃物的方法和设备

一种用于处理固体废弃物的方法,包括以下步骤:h)从塑料废弃物中分离限制生物废弃物;i)燃烧生物废弃物;j)利用燃烧生物废弃物所产生的热量,通过热交换器来产生蒸汽;k)通过利用从燃烧室而来的热量,将塑料废弃物转化为合成气体;I)将所述蒸汽以及合成气体引入到生物染料的火焰中,使得温度升高,以此完全燃烧生物质并产生高温气体燃烧产物;m)用冷蒸汽处理高温气体燃烧产物,以免形成二恶英和呋喃;n)使处理过的气体产物进行旋转气旋运动,使得微粒和重质气体从轻质气体中分离出来,从而使轻质气体被排放到大气中,而对微粒和重质气体进行再循环和再处理。

标签:
固废
其他 - 其他 来源:北方有色网 2023-03-19
从低产废水处理工艺中筛分惰性固体

本发明涉及从低产废水处理工艺除去惰性固体的方法。所述方法包括在主流反应器中使废水与载菌污泥混合以形成混合液,使所述混合液分离成澄清流出物和活性污泥,使第一部分活性污泥返回所述主流反应器,在使第二部分活性污泥返回所述主流反应器之前在侧流生物反应器中处理第二部分活性污泥,和在废水处理工艺中采用筛分装置以除去惰性固体。

标签:
固废
其他 - 其他 来源:北方有色网 2023-03-19
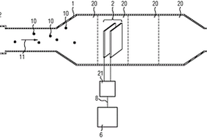
用等离子气化炉由固体废弃物生产矿棉的方法

本发明涉及建材生产、环保、能源等技术领域,具体涉及采用等离子气化炉气化处理城市固体废弃物产生的热熔渣直接生产矿棉制品。该方法包括:在等离子气化炉内处理城市固体废弃物,获得玻璃态热熔渣;所述玻璃态热熔渣未经冷却直接从等离子气化炉底部通过保温出料道流入保温调节池;根据在线检测装置所测得的热熔渣参数往保温调节池中添加矿物辅料;经调节后的玻璃态热熔渣通过保温调节池的出料口进入矿棉生产系统,由此制得矿棉。与现有技术中的矿棉生产方法相比,本发明用等离子气化炉由城市固体废弃物生产矿棉的方法具有环保、节能、经济上成本低以及可循环利用资源的优点。

标签:
固废
其他 - 其他 来源:北方有色网 2023-03-19
用混合酶溶解城市固体废物

本发明涉及一种用酶混合物溶解或水解城市固体废物(MSW)的方法和用于城市固体废物(MSW)的溶解的酶组合物,所述酶组合物包含纤维素分解背景组合物和蛋白酶、脂肪酶和/或β‑葡聚糖酶。

标签:
固废
其他 - 其他 来源:北方有色网 2023-03-19
由城市固体废料生产生物油的方法

一种由城市固体废料生产生物油的方法,包括如下步骤:a)对所述城市固体废料进行液化,得到包括由生物油构成的油相、固相和第一水相的混合物;b)用至少一种吸附材料对在所述液化步骤a)中得到的所述第一水相进行处理,得到第二水相;c)对用至少一种吸附材料进行的所述处理步骤b)中得到的第二水相进行发酵,得到生物质;d)对在所述发酵步骤c)中得到的生物质进行所述液化步骤a)。由此得到的生物油(或生物原油)能够有利地用于生产生物燃料,所述生物燃料能够以其本身或与其它汽车车辆燃料混合的形式使用。或者,该生物油(生物原油)能够以其本身(生物易燃品)或与化石易燃品(易燃的油、煤等)混合的形式用于产生电能或热。

标签:
固废
其他 - 其他 来源:北方有色网 2023-03-19
用固体废物制造建筑元件,尤其是建筑板材的方法

本发明涉及一种用固体废物制造部件,尤其是建筑板材的方法。根据所述方法,根据规定的颗粒尺寸(2,3)将固体废物分为各种碎片。所述碎片以规定比例混合(5),并添加水和粘合剂(4B)。对由此获得的混合物进行连续的挤出过程(6),其中,制成带状预制品。切割过程(7)使得所述部件沿挤出方向至少近似形成所需的尺寸。然后干燥(8)部件坯料,并使其中所含的粘合剂凝固。与现有技术相比,所述连续的方法非常节约成本,并能够大规模实施。

标签:
固废
其他 - 其他 来源:北方有色网 2023-03-19
收集固体废弃物的垃圾箱

本文描述了一种收集固体废弃物的垃圾箱,尤其是城市废弃物,该垃圾箱设置有用于称量由单个用户放置的产品的设备,并且是由两个容器构成的类型,外部覆盖容器(1)和用于收集废弃物的内部容器(2)。这种垃圾箱的特征在于,其包括布置在所述两个容器(1、2)之间的间隙中的刚性框架(3)。该刚性框架在较外部容器(1)的底部支撑在四个支柱(3.1)上,其中应用有轮(4),同时在上边缘(3.2)上布置有一些负载传感器(5),负载传感器支承最内部容器(2)以便能够检测由用户放置在垃圾箱中的废弃物的重量。

标签:
固废
其他 - 其他 来源:北方有色网 2023-03-19
利用可再生废弃物的粉碎烘干一体式固体燃料制造装置

本发明涉及一种利用可再生废弃物的粉碎烘干一体式固体燃料制造装置,其将可再生废弃物的粉碎装置和烘干装置制造成一体型,使得可再生废弃物被粉碎的同时投放至烘干装置进行烘干,从而不仅不需要单独的传动控制,而且能够减少制造费用,又因减少了装置的安装面积,因此安装简便,其在壳体的内部,将粉碎机和烘干机设置为一体,并通过粉碎装置的粉碎料斗进行粉碎的同时,可再生废弃物直接投放至烘干装置的内筒进行烘干,因此不会因为现有的粉碎工序与烘干工序的划分而在传送可再生废弃物的过程中所带来的堆积问题,因此不仅极大地减少了维护,且无需单独的传动控制。

标签:
固废
其他 - 其他 来源:北方有色网 2023-03-19
用于处理含有有机组分的固体废物的工艺

一种用于处理含有有机组分的固体废物(10)的工艺,所述工艺包括对废物进行挤压(14)的初始步骤,其中会产生固体组分(16)和溶液(18)。所述固体组分在旋转磨粉机中在低于大气压的压力下经受粉磨处理(20),这会产生已消毒的干燥固体和水。所述溶液在三个后续步骤中经受厌氧消化处理(34),其中会产生沼气和沼渣(42),所述沼渣在真空下经过蒸发以获得浓缩堆肥和在所述工艺的其它步骤中再用的蒸汽。所述已消毒的干燥固体和所述沼气可以用作燃料以产生将在所述工艺中使用的热能和电能,这也允许获得余能。

标签:
固废
其他 - 其他 来源:北方有色网 2023-03-19
固体废物的有机物生成高质量分解物的厌氧分解

有机固体废物在高压下进行压缩,将固体废物分为干部分和湿部分。湿部分被稀释且其中的漂浮物(例如塑料和/或纸张)被粉碎。然后将湿部分除砂并送至厌氧分解池。将分解物从厌氧分解池的自由液面抽出。将分解物过滤以提取粉碎后的漂浮物。然后将所得滤液堆肥或直接施用于土地。相应的系统包括压力机,研磨机,水力旋流器,厌氧分解池,过滤器和脱水装置。

标签:
固废
其他 - 其他 来源:北方有色网 2023-03-19
从固体冶金废料中回收金属锌的方法

本发明涉及一种从含锌和锰的固体冶金废料中回收金属锌的方法,包括以下步骤:a.将所述固体冶金废料与包含氯离子和铵离子的浸提水溶液接触以产生至少一种包含锌离子和锰离子的浸提液和至少一种不溶性固体残留物;b.通过加入金属锌作为沉淀剂来置换沉淀所述浸提液,以消除至少一种可能以离子形式存在于所述浸提液中的除锌和锰以外的金属并产生净化的浸提液;c.将所述净化的浸提液在包括至少一个阴极和至少一个阳极的电解槽中进行电解,所述至少一个阴极和至少一个阳极浸入所述净化的浸提液中,以在所述阴极上沉积金属锌并产生至少一种用后浸提液;所述方法包括,在所述电解之前,通过用高锰酸根离子氧化来沉淀锰离子并随后分离包括MnO2的沉淀物的步骤。

标签:
固废
其他 - 其他 来源:北方有色网 2023-03-19
对含固体的工艺废水进行处理的设备

本实用新型涉及一种用于对含固体的工艺废水进行处理的设备,该工艺废水在用于从含碳燃料生成合成气的气化机组中对合成气进行净化时出现。本实用新型的目的在于改善公知的工艺水循环引导的解决方案中的缺陷,从而使排出的工艺废水的份额得到减少。在此,应当保留使用旋液分离器。通过旋液分离器的底部输水管与激冷室的水浴相连,旋液分离器的底部输水管中的含有固体的水没有立即在附加的闸门设备中放出,而是首先输送至另一现有的分离级,其中,通过沉降再次使固体和水分离,之后固体高浓度且低水分地利用现有的闸门设备从激冷室的锥形出口放出。

标签:
固废
其他 - 其他 来源:北方有色网 2023-03-19
处理固体废物的生物组合物

本发明涉及用于处理固体废物的生物组合物。本发明生物组合物包含多个能够抑制致病微生物生长、分解不良化学品例如抗生素、杀虫剂和废弃的化学品、以及减少有机废物气味的酵母细胞。本发明的酵母细胞是通过将多个酵母细胞在存在一组电磁场的活化条件下培养而制备的。本发明还涉及制备这种处理组合物的方法。

标签:
固废
其他 - 其他 来源:北方有色网 2023-03-19
固体废物分离和处理方法

一种固体废物分离和处理方法(10),该方法包括:a)将包含有机物和无机物的混合的城市固体废物(12)传送到基于大小的第一分离步骤(14),在该步骤中,所述废物被均化,至少产生细粒的有机部分(16)和粗粒部分(18);b)将所述细粒的有机部分(16)通过以下步骤传送到消化过程(20):I金属分离步骤(86);和ii玻璃和砂粒分离步骤(24);c)将步骤a)中的所述粗粒部分(18)通过所述基于大小的第一分离步骤(14)至少再循环一次。

标签:
固废
其他 - 其他 来源:北方有色网 2023-03-19
用于工业和民用抽吸设备粉状固体废料的过滤和收集装置

一种用于工业和民用抽吸设备粉状固体废料的过滤和收集装置,该抽吸设备配置至少一个揉性、可移开的储存袋,还有抽吸和输送废料至上述储存袋的装置,被采用来形成空气和废料的流体。上述过滤和收集装置包括供应了空气和废料流体的空气和废料分选区,有与上述分选区连通的过滤器,被采用允许来自流体的空气逸出,还有与分选区连通的储存袋,由不渗透的任意处置型材料制作,与其收集的废料一齐扔掉。

标签:
固废
其他 - 其他 来源:北方有色网 2023-03-19
用于处理和分离无机固体废物的设备

本发明涉及一种用于处理和分离无机固体废物的设备,该设备可以例如在家庭和/或废物处理区域附近使用。该设备包括用于由一组无机废物获得废物碎片的磨削室、以及在所述磨削室中产生的碎片的筛分组件。根据本发明的该设备还包括用于识别每个单一碎片的废物类型的识别组件、以及可操作地介于筛分组件(6)和识别组件之间以将每个单一碎片放置在识别组件的识别板(9)的相应分析位置的分配组件。根据本发明的该设备还设置有监控和驱动单元(200),该监控和驱动单元(200)被配置成作用在所述识别板(9)上,以便将分析后的每个单一废物碎片沉积在相应的收集箱(13)中。

标签:
固废
其他 - 其他 来源:北方有色网 2023-03-19
固体废物焚烧飞灰高级氧化和封装固定处理方法

本发明涉及一种固体废物焚烧飞灰高级氧化和封装固定处理方法,是一种固体废物焚烧飞灰无害化处理方法。该方法使用海藻有机聚合物氧化剂,海藻有机聚合物能量剂,海藻有机聚合物固化剂和过氧化氢等试剂,通过氧化还原,延续氧化,固化封装等主要步骤,降低飞灰重金属毒性,降解飞灰中二恶英类持久性有机挥发物。本发明的有益效果:采用本发明的处理方法,可以降低飞灰重金属毒性,降解飞灰中有机有机挥发物(VOC),降解飞灰中二恶英类持久性有机挥发物。

标签:
固废
其他 - 其他 来源:北方有色网 2023-03-19
用于将城市固体废物进料到等离子体气化反应器的方法和设备

本发明描述了用于将城市固体废物(MSW)和/或包含有机废物材料和无机废物材料两者的其它类型固体废物供应进入在其中处理固体废物的等离子体气化反应器(PGR)中的方法和设备。

标签:
固废
其他 - 其他 来源:北方有色网 2023-03-19
固体碱吸附剂及同步处理酸性气体及有机废气的集成装置

本发明提供了一种固体碱吸附剂及同步处理酸性气体及有机废气的集成装置,所述固体碱吸附剂包括多孔型材料、还原性药剂和碱性药剂;所述还原性药剂和碱负载于多孔型材料中;所述还原性药剂的负载量为1‑10%;碱性药剂的负载量为0.5‑10%。通过在固体碱中添加化学药剂,使毒性高的气体转化为低毒或无毒的成分。将固体碱吸附剂与VOCs吸附剂共同组装在同一个塔中形成可同步处理酸性气体及有机废气的集成装置,应付不同的酸性气体的吸收、转化,其设备简单,可以实现对复杂气体同步处理的目的。

标签:
固废
其他 - 其他 来源:北方有色网 2023-03-19
冶炼技术设备的具有固体颗粒的废气的过滤

本发明涉及用于运行用于过滤冶炼技术设备(12)的具有固体颗粒(10)的废气(11)的过滤设备(1)的方法,其中,过滤设备(1)具有至少一个电极对(2),该电极对能够相应地用电的功率和/或电压和/或电流加载。本发明还涉及用于运行这样的过滤设备(1)的系统和用于过滤冶炼技术设备(12)的具有物质颗粒(10)的废气(11)的设备,该冶炼技术设备包括这样的过滤设备(1)。为了提供方法或者说装置(借助所述方法或者说装置能够节约资源地过滤冶炼技术设备(12)的具有固体颗粒(10)的废气(11),则建议了下述的方法步骤:求取冶炼技术设备(12)的过程阶段(7),求取相应的电极对(2)的依赖于所求取的过程阶段(7)的相应的预控制(8),其中,相应的所求取的预控制(8)包括相应的有待加载的电的功率和/或相应的有待加载的电压和/或相应的有待加载的电流,按照相应的所求取的预控制(8)加载相应的电极对(2)。

标签:
固废
其他 - 其他 来源:北方有色网 2023-03-19
固体废物发酵器
固体废物发酵器 1039     
 0

本实用新型涉及一种固体废物发酵器包括发酵缸、支架和底座,支架固定在底座上,发酵缸固定在支架上;发酵缸设有进料口和出料口;发酵缸分为上发酵缸和下发酵缸;在上发酵缸内和下发酵缸内设有搅拌叶片,搅拌叶片由驱动装置驱动。本实用新型的固体废物发酵器,通过微生物发酵,将待发酵降解成为无毒害的肥料,从而可以达到“零污染、零感染和零废弃物排放”,实现“减量化、无害化和资源化”,从而节约用水和保护水源。

标签:
固废
其他 - 其他 来源:北方有色网 2023-03-19
用于从制革厂废水中除去总溶解固体(TDS)的细菌菌株

本发明涉及用于从未经处理的和经电浮法处理的制革厂废水中减少总溶解固体(TDS)水平的保藏号为MTCC 5097的菌株、制备用于从未经处理的和经电浮法处理的鞣革厂废水中减少总溶解固体(TDS)水平的菌株接种物的方法和使用所述菌株从制革厂废水中减少总溶解固体(TDS)的需氧方法。

标签:
固废
其他 - 其他 来源:北方有色网 2023-03-19
上一页 53 54 55 56 57 ... 58 下一页
共58页    到第

北方有色为您提供最新的其他有色金属固/危废处置技术理论与应用信息,涵盖发明专利、权利要求、说明书、技术领域、背景技术、实用新型内容及具体实施方式等有色技术内容。打造最具专业性的有色金属技术理论与应用平台!

全国热门有色金属设备推荐
展开更多 +
全国热门有色金属技术推荐
展开更多 +

 

江西省隆恩特环保设备有限公司
宣传

报名参会
更多+

报告下载

有色专家
更多+

中国矿业大学
教授
鞍钢集团有限公司
中国工程院院士
中南大学
中国工程院 院士
石家庄铁道大学
团委书记/副教授
赣州有色冶金研究所有限公司
副主任/高级工程师
赤泥综合利用研究报告2025
推广

热门技术
更多+

推荐企业
更多+

福建省金龙稀土股份有限公司
宣传

发布

在线客服

公众号

电话

顶部
咨询电话:
010-88793500-807