青岛垚鑫智能科技有限公司
宣传

位置:北方有色 >

有色技术频道 >

> 固/危废处置技术

分类:
全部
矿山技术
冶金技术
材料制备及加工技术
环境保护技术
分析检测技术
 
全部
废水处理技术
大气治理技术
固/危废处置技术
土壤修复技术
地区:
全部
北京
天津
上海
重庆
河北
山西
辽宁
吉林
黑龙江
江苏
浙江
安徽
福建
江西
山东
河南
湖北
湖南
广东
海南
四川
贵州
云南
陕西
甘肃
青海
内蒙
广西
西藏
宁夏
新疆
其他
其他
展开
 
全部
其他

其他有色金属固/危废处置技术理论与应用

免费发布技术信息>>
新型的固体多组分膜、电化学反应器以及用膜和反应器进行氧化反应

本发明描述由紧密的、不透气的多相混合物组成的固体膜,多相混合物含有一种电子导电材料,一种氧离子导电材料和/或一种钙钛矿结构的混合金属氧化物。本发明还描述电化学反应器电池和反应器,它可用于使氧从含氧气体迁移到耗氧气体。该反应器电池通常包括用该固体膜分隔的第一和第二区域。该反应器电池还包括在第一区域中的一种催化剂。用本发明反应器电池和反应器进行的工艺包括:如甲烷部分氧化生产不饱和化合物或合成气,乙烷的部分氧化,从氧化的气体中提取氧气,甲烷的氨氧化等。从氧化的气体中提取氧的工艺可用于燃料或废气的净化。

标签:
固废
其他 - 其他 来源:北方有色网 2023-03-19
固体高分子燃料电池系统

根据本发明的固体高分子型燃料电池系统在热量回收单元19中的冷凝热交换器38、40中具有来自发电单元23的废流体热源,通过热交换工艺将来自水供应单元66的、作为热源的供应水加热成热水。燃料电池系统包括:热水供应单元41,用于供应热水到热量利用部分;气-液分离器30,用于将在热交换工艺过程中产生的排水与将要供应到燃料重整单元22的燃料预先混合;循环路径45,用于将水循环至发电单元的电池主体30,以进行热量交换,供应热水至热量利用部分。根据此结构,可提供固体高分子型燃料电池系统,其中在燃烧废气中所含的排水可以有效充分地回收,回收的排水也可以有效地利用。

标签:
固废
其他 - 其他 来源:北方有色网 2023-03-19
固体燃料燃烧器及使用固定燃料燃烧器的燃烧方法

一种燃烧器,在所述燃烧器中,即使褐煤等劣质的固体燃料也可在从高负荷条件到低负荷条件的宽范围内稳定地燃烧。根据炉膛41的燃烧负荷的不同,可调整从追加空气孔或追加空气喷口12供给的空气量。低负荷时增加从追加空气孔或追加空气喷口12供给的空气量,提高形成于燃料喷口11出口外侧的下游部的循环流19的氧浓度,使其稳定地燃烧。高负荷时,减少从追加空气孔或追加空气喷口12供给的空气量,在离开燃料喷口11的位置形成火焰,从而抑制固体燃料燃烧器42的构造物和炉膛41壁接受的辐射热。固体燃料燃烧器42可用于褐煤等劣质固体燃料和作为其输送用气体的燃烧废气的燃烧。

标签:
固废
其他 - 其他 来源:北方有色网 2023-03-19
固体碳质材料合成气生产方法及装置

本发明提供了由高度可变的输入给料固体碳质材料生产连续输出的合成气的方法和装置。可以建立化学计量目标化学环境从而化学计量地控制固体碳质材料气体发生器系统中的碳含量。碳质材料的处理可以包括主要以热解分解和多级盘管碳质重整。可以利用可动态调整的处理决定性参数来改进处理,包括利用负静电增强的水物种处理,利用废气的处理和调整处理流速特性。可以将再循环用于处理材料的内部再利用,包括再循环的负静电增强的水物种、再循环的废气和再循环的污染物等。合成气生产可以涉及预先确定用于输出的所需的合成气,以及产生高产率地这种预先确定的所需的合成气。

标签:
固废
其他 - 其他 来源:北方有色网 2023-03-19
用于在水中催化臭氧化有机物的固体催化剂

本发明涉及一种用于臭氧化含有机污染物的废水的固体催化剂的制备方法,其中所述方法包括将钌和/或铱系催化剂粉末沉积在开孔泡沫支撑体上,所述催化剂粉末通过溶胶-凝胶粘合剂连接到所述泡沫支撑体上。本发明还涉及一种用于处理含有机污染物的废水的方法,所述方法包括在所述催化剂的存在下臭氧化废水。

标签:
固废
其他 - 其他 来源:北方有色网 2023-03-19
固体燃料选矿并向热电厂运输的方法

本发明涉及化石能源矿物的开采,并且可应用于作为热电厂的固体燃料的各种煤炭和页岩油的选矿和利用。本发明的目的是减少矿物能量生产的能量消耗,消除固体燃料的损失,减少不可逆的水消耗和保护环境。为此目的,在充填选矿废物的地方邻近的地下进行所述选矿方法,使用密度在目标组分和废石的密度之间的水性液体。通过使用非水性的挥发性液体洗涤从最终的选矿尾料中将重液体再生,在将这些尾料放置于开采区域之后通过地热随后进行干燥。将所得蒸气压缩和冷凝;将由此再生的非水性液体返回用于洗涤选矿尾料,而通过在液化非水性液体蒸气时释放的热量将洗涤产生的洗出液分离为水性和非水性组分。通过其流体将保持在可漂浮状态的富集固体燃料输送至热电厂,在热电厂中通过液压机械将其从液体组分中分离,用水洗涤,干燥并送入燃烧。使用热电厂的热力循环中工作介质冷凝时释放的热量将用水洗涤所剩余的洗出物蒸发。将其与来自热电厂输送的固体燃料的排放液混合,并将其返回所述工艺过程的起点。

标签:
固废
其他 - 其他 来源:北方有色网 2023-03-19
菌株及一种减少总溶解固体的方法

本发明涉及一种入藏登记号为MTCC 5098的菌株,该菌株可用于减少纸浆废水的总溶解固体(TDS);本发明还涉及一种菌株接种体的制备方法及利用上述菌株减少纸浆废水中总溶解固体(TDS)的方法。

标签:
固废
其他 - 其他 来源:北方有色网 2023-03-19
固体燃料制造方法及制造装置

本发明公开了一种固体燃料制造方法及制造装置,其中固体燃料制造方法,包括以下步骤:A、将生物废弃物、塑料废弃物相互混合到一起,得混合物;B、将处理容器预热处理;C、排出在预热容器过程中处理容器内生成的液态水;D、将步骤A中的混合物导入到步骤C中的处理容器内;E、向处理容器内导入180‑210℃且不超过饱和水蒸气压的过热水蒸气,加水分解。本发明的目的是为了克服现有技术中的不足之处,提供一种从生物质废弃物与塑料废弃物中生成高品质且对环境负担较小的固体燃料的燃料制造法。与之相应,本发明另一个目的提供一种制备上述固体燃料过程所使用的制造装置。

标签:
固废
其他 - 其他 来源:北方有色网 2023-03-19
具有内部固体分离的曝气反应器

将废水在包括以下的方法中进行好氧处理:(a)将包含废水的液体流入物供应到含有颗粒状生物质的反应器中;(b)使反应混合物经受好氧条件,该好氧条件包括0.1mg/L至4.0mg/L范围内的溶解氧的浓度和0.5至72小时范围内的水力停留时间;(c)将反应混合物分离成颗粒状生物质和经处理的废水;和(d)将分离的颗粒状生物质再循环到反应混合物中。用于该方法的生物反应器包括配备有曝气装置的反应容器和固体分离设备,固体分离设备的入口在反应容器的下部,固体分离设备具有用于固体的出口管线,该出口管线被设置为将分离的固体输送至上升器,该上升器由气升作用驱动并设置为将固体输送至反应室的上部。

标签:
固废
其他 - 其他 来源:北方有色网 2023-03-19
利用固体氧化物燃料电池从天然气产生电能

一种从天然气(1)产生电能的方法,包括下列步骤:向固体氧化物燃料电池(10)的阴极侧(20)供应空气(37);在燃料电池的阳极侧(15)将天然气转化为氢及一氧化碳,并使阴极和阳极反应以便在阳极和阴极之间产生电位差,其中生成阳极废气,阳极废气包括水及二氧化碳,并从阴极(15)向陶瓷后燃室(75)供给阳极废气,在该陶瓷后燃室(75)中任何未燃烧的一氧化碳及氢发生燃烧而不会在阳极废气中加入氮气。

标签:
固废
其他 - 其他 来源:北方有色网 2023-03-19
用于颗粒固体表面改性方法

本发明提供了用于生产具有高表面积的表面改性颗粒微细固体F的方法,其中在方法步骤(A)中,将一部分未改性微细固体F1与有机硅化合物混合以形成包含有机硅化合物的废气,在方法步骤(B)中,将未改性微细固体F1的混合物与有机硅化合物反应,形成表面改性微细固体F和可选地包含有机硅化合物的废气,在方法步骤(C)中,清除所述表面改性微细固体F中吸附副的产物和作为废气获得的未反应的有机硅化合物,在方法步骤(D)中将另外部分的未改性微细固体F1计量加入方法步骤(A)、(C)和可选地(B)中获得的所述废气中,所述固体F1和存在于所述废气中的有机硅化合物混合,以及在方法步骤(E)中,在所述方法步骤(D)中获得的所述混合物在方法步骤(A)中进料至所述未改性细分固体F1和有机硅化合物的部分中。

标签:
固废
其他 - 其他 来源:北方有色网 2023-03-19
高固体溶气浮选系统和方法

公开了一种废水处理系统,包括:曝气单元、接触罐、溶气浮选单元和生物处理单元。还公开了一种通过提供曝气单元并且将曝气单元流体地连接至废水处理系统来改装废水处理系统的方法。还公开了一种处理废水的方法,该方法包括:用氧气使废水曝气,将曝气的废水与活性污泥组合,从活性废水浮选生物固体,以及生物地处理流出物。该方法任选地包括将浮选的生物固体与曝气的废水和/或活性废水组合。还公开了一种有助于高固体含量的废水的处理的方法。

标签:
固废
其他 - 其他 来源:北方有色网 2023-03-19
从残留排出液中回收悬浮固体的方法

公开了一种被污染流体和废水的处理工艺,其中废水包含食品加工残余物的废水、动物饲养过程的废物和残余物以及这些残余物消化的排出物。本工艺在封闭的池中实施,基于在引进至系统时的固体状况,利用分离过程维持被分离固体的状态与它们被引进至好氧、厌氧或缺氧系统的状态相同。本系统利用旋转流代替从排出液中收集固体的斜板。本工艺可用于废水处理中乳状液的回收,以及用于消化器操作以再次供料给消化器。

标签:
固废
其他 - 其他 来源:北方有色网 2023-03-19
固体氧化物燃料电池单元

本发明提供了一种固体氧化物燃料电池单元,包括:包括一个或多个固体氧化物燃料电池管的管状固体氧化物燃料电池堆,每个燃料电池管具有被配置成接收燃料气体的第一端和被配置成排放废气的第二端,所述管状固体氧化物燃料电池堆具有细长轴;和包括细长本体的同流换热器,细长本体从第一端延伸到第二端,通路贯穿其中,所述细长本体具有细长轴并且具有从第一端到第二端尺寸和形状基本上一致的外横截面。通路提供(a)从细长本体的第一端延伸的联接部分,管状固体氧化物燃料电池堆可以容纳在联接部分内,以便将同流换热器与管状固体氧化物燃料电池堆联接,燃料电池管的第二端位于联接部分内,(b)从细长本体的第二端延伸的废气通道,在使用中,来自燃料电池管的第二端的废气可流动通过该废气通道并且可在第二端处排出同流换热器,管状固体氧化物燃料电池堆的长度的50%或更多可被容纳在同流换热器的联接部分内。当管状固体氧化物燃料电池堆被容纳在同流换热器的联接部分内时,管状固体氧化物燃料电池堆的细长轴与同流换热器的细长轴对准,使得可以形成可堆叠固体氧化物燃料电池单元,其中,同流换热器与管状固体氧化物燃料电池堆联接。

标签:
固废
其他 - 其他 来源:北方有色网 2023-03-19
压载固体处理系统和方法

公开了用于处理废水的设备和方法。在一个实例中,提供了用于处理废水的系统。所述系统包括:生物反应器,所述生物反应器具有入口和出口,所述入口与废水的源流体连通,所述生物反应器被配置成处理来自废水的源的废水并从出口输出生物处理过的废水;固体‑液体分离系统,所述固体‑液体分离系统具有与生物反应器的出口流体连通的入口,并且被配置成将生物处理过的废水分离成贫固体的流出物和富固体的废物活性污泥(WAS);处理子系统,所述处理子系统包括消化器、与固体‑液体分离系统的WAS出口流体连通的入口以及用于提供压载和消化的WAS的出口;以及压载物进料系统,所述压载物进料系统被配置成将压载物递送至生物反应器和处理子系统中的一个。

标签:
固废
其他 - 其他 来源:北方有色网 2023-03-19
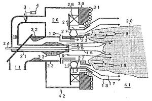
固体物料热处理的方法

对固体物料(3),尤其是对垃圾进行热处理的一种方法。此处,使固体物料(3)在第一阶段(5)缺氧情况下燃烧/气化或者热解,并紧接着使第一阶段(5)产生的废气(6)在一个次级燃烧室(14)里与一种含氧的气体状介质(15)混合并充分地燃尽。由第一阶段(5)产生的废气(6)在它与含氧介质(15)混合之前首先主动地添入气体状的无氧或贫氧的介质(8)在混合阶段(7)实现均匀化。接着使均匀化的废气流过一个稳定区(13),至少要在此稳定区里停留0.5秒,直到使得保证废气充分燃完的介质(15)在一个次级燃烧阶段(14)内进行混合。按本发明方法的特点是工艺步骤简单,而且相对于目前已有技术来说减少了环境污染物,尤其是氮氧化物(NOx)。

标签:
固废
其他 - 其他 来源:北方有色网 2023-03-19
单室型固体氧化物燃料电池

一种单室型固体氧化物燃料电池,将燃料极和空气极与固体氧化物电解质接合的固体氧化物燃料电池单元配置在发动机等燃烧废气的流路(燃料电池单元收纳部)内,使其位于从废气导入部向燃料电池单元收纳部导入并向废气排出部排出的高温燃烧废气的流动中,利用燃烧废气的热能加热固体氧化物燃料电池单元,将燃烧废气所包含的碳氢化合物和碳氧化物作为燃料气体使用来进行发电。

标签:
固废
其他 - 其他 来源:北方有色网 2023-03-19
固体燃料
固体燃料 832     
 0

提供一种固体燃料,其通过以均衡方式使用废木材、废纸和废热塑性树脂而具有稳定发热量。该固体燃料特征在于包含具有尺寸为1~25mm的木碎片、具有尺寸为1~25mm的纸碎片和热塑性树脂的混合物。该混合物包含5~15重量份热塑性树脂,基于木碎片和纸碎片的总重量80~95重量份,并且木碎片与纸碎片的重量比是20∶80~90∶10,将该混合物成形。

标签:
固废
其他 - 其他 来源:北方有色网 2023-03-19
制造固体产物的方法和设备

本发明提供通过使用具有多个组分的气态原料的反应来制造固体产物的方法的制造方法和制造设备,其中所制造的固体产物未被含由反应产生的副产物气体和未反应的气态原料的废气污染,可达成较高纯度,且可从反应器中连续取出制造的固体产物。本发明提供的制造方法和制造设备,所述方法包含使用安置在垂直方向上的反应器进行反应的步骤;从反应器的上部馈送具有多个组分的气态原料的步骤;在反应器的下部中形成由具有高密度的气体组成且从反应器的下部连续馈送的气体层的步骤;从所形成的密封气体层的上部中的某处排出含有由反应所产生的副产物气体和未反应的气态原料的废气的步骤;以及将固体产物接收在下部的密封气体层中的步骤。

标签:
固废
其他 - 其他 来源:北方有色网 2023-03-19
使用压载澄清处理包含高浓度的固体的液体流

公开了一种高固体废水处理系统。废水处理系统包括压载反应器、固体‑液体分离子系统、预处理子系统、压载物进料子系统和压载物回收子系统。高固体废水处理系统可以包括反应罐、增稠器和压滤机。还公开了一种处理高固体废水的方法。该方法包括使废水进料与凝结剂或絮凝剂接触,将定量给料的废水增稠,用压载物处理流出物,将处理过的废水沉降,以及将压载污泥输送至废水进料、定量给料的废水或处理过的废水中。废水进料可以具有大于500mg/L的总悬浮固体。废水进料可以包含无机固体。

标签:
固废
其他 - 其他 来源:北方有色网 2023-03-19
采用固体脱硫剂的湿式烟道气脱硫设备和方法

从燃烧装置如锅炉排出的废气与吸收液接触以 吸收来自废气的硫 氧化物至吸收液中, 具有较大粒径的固 体脱硫剂选择性地 留在中和区中,已吸 收了废气中的硫氧 化物的吸收液在中 和区中中和,由包含 水及硫氧化物形成的石膏为主要成分的吸收液被选择性地排 出,从中和区排出的吸收液进一步与废气接触。此时,与废气接 触的吸收液包含水作为其主要成分,从而存在由于锅炉负载等 变化脱硫率大大降低的可能。但是,按照本发明,对选自下列各 项中的超过一项的参数进行检测:锅炉的负载、锅炉中燃烧的 燃料的硫含量、废气的流速、脱硫设备入口处SO2的浓度、脱 硫设备出口处SO2的浓度或中和区中吸收液的pH值或在中和 区中压力损失、搅拌装置的转矩、吸收液中的固体浓度、吸收 液的比重和吸收液的粘度,从而调节选自下列各项中的超过一 项的参数:循环以与废气接触的吸收液的流速、向吸收液供应 的固体脱硫剂的量、固体脱硫剂的粒径、中和区中固体脱硫剂 的搅拌速度,从而将脱硫设备的SO2浓度控制在预先设定的值 的范围内。

标签:
固废
其他 - 其他 来源:北方有色网 2023-03-19
包括用碱性溶液处理固体木质纤维素材料以便除去木质素的步骤由固体木质纤维素材料发酵生产乙醇的方法

本发明涉及通过使用由木质纤维素和特别是甘蔗渣组成的农业和 工农业废物材料,获得燃料乙醇的方法。这些残渣具有可对其进行化学 和酶工艺水解的显著大量的多糖(纤维素和半纤维素)形式的碳水化合 物含量。采用硫酸对半纤维素部分进行温和水解,和对来自这一水解的 固体材料进行糖化(酶水解)工艺,同时在允许醇的产率显著增加的条件 下在大大地缩短的时间内快速醇发酵。

标签:
固废
其他 - 其他 来源:北方有色网 2023-03-19
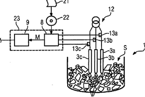
用于在电弧炉中确定固体的块度尺度的方法、电弧炉、信号处理装置以及程序代码和存储介质

本发明涉及一种用于在电弧炉(1)中确定固体(S)、尤其是废料的块度尺度(M)的方法,其中检测(30)输送给电极(3a,3b,3c)用于在电极(3a,3b,3c)和固体(S)之间形成电弧(L)的电极电流,其中从所检测的电极电流(I(t))中确定(31)电极电流的有效值尺度,其中从所检测的电极电流(I(t))中确定(32)分配给所检测的电极电流的频率范围的电流分量,其中作为块度尺度(M)形成(33)由电流分量和有效值尺度组成的商。由此提供一种方法,利用所述方法可以确定输送给电弧炉的熔炼炉料的性质。

标签:
固废
其他 - 其他 来源:北方有色网 2023-03-19
从燃料,特别是页岩油中分离水和固体粒子的方法

本发明方法包括,通过离心分离器、混合罐和压 滤器,对沾染水和大量小粒径固体粒子的燃料油进 行处理,以获得一种可以直接排放废弃物品,和一种 可以直接投入使用或进行再加工的精制燃料油。

标签:
固废
其他 - 其他 来源:北方有色网 2023-03-19
固体SCR系统和利用该系统对固体SCR还原剂加热的方法

本发明公开了一种固体SCR系统和利用该系统对固体SCR还原剂加热的方法。该固体SCR系统包括:固态还原剂;容器,所述容器存储所述固态还原剂;排气管道,所述排气管道供应由所述固态还原剂转化的气态还原剂;以及SCR催化剂,所述SCR催化剂设置在所述排气管道上;排热回收设备,所述排热回收设备设置在所述排气管道上,并且从通过所述排气管道排放的废气中回收废热量;以及换热器,所述换热器连接到所述排热回收设备,并且将所回收的热量供应到所述固态还原剂。

标签:
固废
其他 - 其他 来源:北方有色网 2023-03-19
塑料和固体化石燃料的气化

将小粒径,不大于2mm的预研磨的塑料共同进料至固体化石燃料进料夹带流部分氧化气化炉中。可以在原料流中获得高固体浓度而不会显著影响原料流的稳定性和可泵送性。可以连续地生产质量一致的合成气,包括产生二氧化碳和一氧化碳/氢气比,同时稳定地操作气化炉,避免流态化床或固定床废物气化炉产生高焦油,并且不影响气化炉的操作。由该材料产生的随后的合成气可用于产生宽范围的化学品。

标签:
固废
其他 - 其他 来源:北方有色网 2023-03-19
环保固体燃料制备方法及从中制备的环保固体燃料

本发明的环保固体燃料制备方法包括:一同搅拌混合有粗糠、竹子锯末、玉米桔杆、稻草、大麦秸秆、小麦秸秆、花生壳、椰子壳的废料的步骤;将搅拌的废料装入压缩机,并以90~100吨的压力加压的步骤,将加压的废料投入加热锅,并以400~600℃的温度加热20小时的步骤,从加热的废料去除水分和气体,形成第一成型炭的步骤,向第一成型炭添加二氧化硅、氯化钠、淀粉、水并搅拌,形成燃料混合物的步骤,利用压缩机以90~100吨的压力向燃料混合物加压,并以固体燃料的形状成型的步骤,在常温下对固体燃料进行恒定时间的干燥,由此完成环保固体燃料的步骤。

标签:
固废
其他 - 其他 来源:北方有色网 2023-03-19
固体燃料制造系统、固体燃料制造方法及固体燃料

固体燃料制造系统(1)由包含废塑料的原料制造固体燃料。固体燃料制造系统(1)具备水热反应装置(10)、清洗装置(20)以及分离装置(30)、(40)。水热反应装置(10)包括:反应室,其通过水热反应将原料分解为微粒;分散液供给部,其在分解后向反应室供给分散液;以及悬浮液排出部,其排出在所供给的分散液中分散有微粒的悬浮液。清洗装置(20)通过搅拌所排出的悬浮液来清洗微粒。分离装置(30)、(40)通过从悬浮液中分离微粒而生成固体燃料。

标签:
固废
其他 - 其他 来源:北方有色网 2023-03-19
来自市政固体废物的焚烧炉底灰的回收和改良方法

本发明公开了一种回收底灰的方法,其特征在于粉碎和物理分离步骤。所述底灰经历包含于其中的两性金属的氧化处理。在该方法之后,经处理的底灰可用作混凝土或水硬性粘合剂的矿物添加剂。

标签:
固废
其他 - 其他 来源:北方有色网 2023-03-19
用于磁性固体废物脱油的方法和设备

本发明公开了处理含油微粒例如钢厂泥的方法和设备,包括:将处理溶液施用于微粒进料流以形成处理浆体,将机械破碎仪应用于该处理浆体以减小平均粒度,将磁选机应用于该处理浆体以形成含铁浆体,和将热分离器应用于该含铁浆体以提取烃部分并产生含铁的产物流。这种基本方法和相关设备可以用许多方式改变,所述方式包括,例如,向含油微粒应用筛分操作以从微粒进料流中除去较大的粒子,冷凝一定体积的烃部分或使用不同强度的磁选机来提供含铁量不同的含铁浆体。

标签:
固废
其他 - 其他 来源:北方有色网 2023-03-19
上一页 51 52 53 54 55 ... 58 下一页
共58页    到第

北方有色为您提供最新的其他有色金属固/危废处置技术理论与应用信息,涵盖发明专利、权利要求、说明书、技术领域、背景技术、实用新型内容及具体实施方式等有色技术内容。打造最具专业性的有色金属技术理论与应用平台!

全国热门有色金属设备推荐
展开更多 +
全国热门有色金属技术推荐
展开更多 +

 

江西省隆恩特环保设备有限公司
宣传

报名参会
更多+

报告下载

有色专家
更多+

江西理工大学
教授
任灵宝金源矿业股份有限公司
技术发展部经理
中国有色金属工业协会
副会长兼秘书长
重庆理工大学
教授
云南锡业集团(控股)有限责任公司
副总经理
赤泥综合利用研究报告2025
推广

热门技术
更多+

推荐企业
更多+

福建省金龙稀土股份有限公司
宣传

发布

在线客服

公众号

电话

顶部
咨询电话:
010-88793500-807