青岛垚鑫智能科技有限公司
宣传

位置:北方有色 >

有色技术频道 >

> 固/危废处置技术

分类:
全部
矿山技术
冶金技术
材料制备及加工技术
环境保护技术
分析检测技术
 
全部
废水处理技术
大气治理技术
固/危废处置技术
土壤修复技术
地区:
全部
北京
天津
上海
重庆
河北
山西
辽宁
吉林
黑龙江
江苏
浙江
安徽
福建
江西
山东
河南
湖北
湖南
广东
海南
四川
贵州
云南
陕西
甘肃
青海
内蒙
广西
西藏
宁夏
新疆
其他
其他
展开
 
全部
其他

其他有色金属固/危废处置技术理论与应用

免费发布技术信息>>
城市固体废物处理设备和商用乳酸的生产方法

公开了一种处理废物的方法,其中城市固体废物被分离和处理以回收可重新使用的橡胶、金属、塑料、玻璃、废物中的剩余的有机物部分可用于生产乳酸和其它化学物质。一个过程应用了使用稀硫酸的预处理步骤以减少城市固体废物的纤维素组分中的重金属含量,这些重金属会污染所生产的乳酸或抑制由上述废物所得到的糖的发酵过程。另外,在用硫酸水解后,城市固体废物的纤维素组分中的重金属含量被通过离子交换过程除去。还公开了一种由城市固体废物经济地、节能地生产乳酸的方法。

标签:
固废
其他 - 其他 来源:北方有色网 2023-03-19
用于固体废物转化成建筑材料的催化凝固剂及其应用

本发明是一种用于固体废物转化成建筑材料的催化凝固剂,其特点是以氧化镁、磷酸三钠、氯化镁、氯化钠、硫酸亚铁、多聚磷酸钠、磷酸和水为基本成份,根据处理不同的固体废物选择包括滑石粉、三氯化铝、正硅酸乙醇、石英粉末、磷酸镁、三氯化铁、191树脂、307树脂、尿醛树脂中的两种、三种或三种以上混合物制得胶状物料。本发明的催化凝固剂可以大规模的处理包括粉煤灰、城市生活固体垃圾、农业废弃物、汞污泥在内的各式固体废弃物,使其转化成有用的各类建筑材料,大大地减少固体废弃物对环境的二次污染。

标签:
固废
其他 - 其他 来源:北方有色网 2023-03-19
用于从废水分离固体颗粒的方法及系统

本发明涉及用于从废水分离固体颗粒的方法及系统。具体而言,一种用于从废水分离固体颗粒的方法包括接收废水的第一流,以及将接收的废水的比重调整到预选范围内。该方法还包括将调整的废水导送至第一水力旋流器系统。第一水力旋流器系统从调整的废水分离固体颗粒的第一部分。该方法还包括将固体颗粒的第一部分传递至振动脱水筛。振动脱水筛从固体颗粒的第一部分分离残余水。

标签:
固废
其他 - 其他 来源:北方有色网 2023-03-19
推送和移动固体废物的方法和系统

本发明涉及一种利用至少一个移动装置(22)、将固体废物(20)从建筑物内或户外的至少一个保存区域(10)、经过废物传输导管(14)、推送并移动到至少一个收集站(28)或至少一个收集导管(26)的方法和系统。通过在至少一个移动装置(22)两端产生的差动压力,来驱动所述至少一个移动装置(22)运动,从而使固体废物(20)向至少一个收集站(28)或至少一个收集导管(26)推送并移动。差动压力使废物传输导管(14)内的空气产生有规律的方向性运动,使所述至少一个移动装置(22)运动,从而推送并移动固体废物(20)到所述至少一个收集站(28)或至少一个收集导管(26)。差动压力通过控制与至少一个高压空气导管(32)和至少一个低压空气导管(34)连接的、或相应地将空气排除至废物传输导管或者将空气从废物传输导管排除的阀(30)的系统而被传递。所述至少一个高压空气导管(32)和所述至少一个低压空气导管(34)都与空气处理装置连接。

标签:
固废
其他 - 其他 来源:北方有色网 2023-03-19
乙醇工业生产方法
乙醇工业生产方法 1107     
 0

公开了一种处理废物的方法,其中对城市固体废物进行分离并回收能重复利用的橡胶、金属、塑料和玻璃,残留废物物流的有机物用于生产乙醇和其它化学品。一种方法中,采用一个用稀硫酸进行预处理的步骤,降低城市固体废物纤维素成分的重金属含量,其中这些重金属能抑制得自这些废物的糖的发酵过程。在另一种方法中,城市固体废物纤维素成分的重金属经硫酸水解后用离子交换法除去。同时公开了一种从城市固体废物经济、节能地生产乙醇的方法。

标签:
固废
其他 - 其他 来源:北方有色网 2023-03-19
不同粒径固体废弃物安定化的方法及系统

一种不同粒径固体废弃物安定化的方法,包含以下步骤:将一不同粒径固体废弃物与一液体混合后形成一浆体,并将该浆体注入一浆体反应槽;该浆体反应槽利用一第一气体从该浆体浮选分离出一小粒径固体废弃物浆体;将该小粒径固体废弃物浆体注入一超重力反应槽,使该超重力反应槽利用一第二气体安定化该小粒径固体废弃物浆体;及利用一固液分离设备将该小粒径固体废弃物浆体中的小粒径固体废弃物及该液体固液分离,以取得安定化的一小粒径固体废弃物。

标签:
固废
其他 - 其他 来源:北方有色网 2023-03-19
废塑料固体燃料焚烧炉
废塑料固体燃料焚烧炉 1045     
 0

本发明提供一种废塑料固体燃料焚烧炉,上述废塑料固体燃料焚烧炉包括:焚烧炉外壳,上部具有用于排出燃烧气体的气体排出口;燃料供给部,输送并供给废塑料固体燃料;第一燃烧部,连续输送所供给的上述废塑料固体燃料并使上述废塑料固体燃料燃烧;第一空气供给部,向上述第一燃烧部供给燃烧所需的空气;燃烧气体引导部,向上述第一燃烧室的下部方向引导在上述第一燃烧部中产生的燃烧气体;第二燃烧部,配置在上述第一燃烧部的下部,且具有从上部向下部喷射的向下式喷嘴部,以便对通过上述燃烧气体引导部供给的燃烧气体进行再燃烧;以及第二空气供给部,配置在上述第二燃烧部的下部,通过从下部向上部喷射燃烧所需的空气,以向上述第二燃烧部供给空气。利用该焚烧炉,具有如下优点:不使用额外的辅助燃料,而利用废塑料固体燃料的燃烧过程中产生的燃烧气体实现持续燃烧,从而可以节减焚烧成本。

标签:
固废
其他 - 其他 来源:北方有色网 2023-03-19
含有重金属类的固体废弃物的无害化方法

本发明提供一种含有重金属类的固体废弃物的无害化方法,其为能够使含有重金属类的固体废弃物充分固化并有效地使固体废弃物中包含的重金属类不溶化,从而使固体废弃物无害化的固体废弃物的无害化方法。本发明的固体废弃物的无害化方法包括如下工序:在含有重金属类的固体废弃物中添加高炉炉渣和铁盐并混炼来制作混炼物的工序、以及使混炼物固化的工序,在固体废弃物中不添加水泥。

标签:
固废
其他 - 其他 来源:北方有色网 2023-03-19
离子液体催化剂污染的废固体的安全卸载和处置

用于关闭再生反应器和从所述再生反应器中除去废固体的方法,可以包括:将至再生反应器的包含离子液体的进料切断,冷却所述再生反应器,从所述再生反应器中中除去至少一部分所述离子液体,用N2气吹扫所述再生反应器,将水引入所述再生反应器以在所述再生反应器中形成酸性液体,并从所述再生反应器中倾卸所述酸性液体和废固体。所述酸性液体可以用碱性液体中和以提供中和后的液体。所述废固体可以与所述中和后的液体分离。在一个实施方案中,可以从所述废固体中回收贵金属。

标签:
固废
其他 - 其他 来源:北方有色网 2023-03-19
利用食物垃圾和废合成树脂制造固体燃料的制造方法及其装置

本发明涉及一种利用食物垃圾和废合成树脂制造固体燃料,这不仅有助于解决因食物垃圾和废合成树脂造成的环境污染问题,而且通过利用上述废弃原料生产替代能源,还可以使资源得以再次利用,从而为解决能源紧张问题做出贡献。根据本发明利用食物垃圾和废合成树脂制造固体燃料的方法,其特征在于,包括如下几个过程:将除去异物后的食物垃圾与粉碎后的废合成树脂进行混合的过程;在食物垃圾与废合成树脂混合的过程中,投入黄土、褐煤、焦炭等添加剂,并将他们一起混合的过程;将混有食物垃圾和废合成树脂、添加剂的混合物进行干燥处理的过程;将干燥后的混合物压缩成型,将其切割成一定的大小,然后,进行冷却,包装(PACKING)的过程。

标签:
固废
其他 - 其他 来源:北方有色网 2023-03-19
包括主要固体的辐射的废水处理系统和方法

本发明提供处理废水的系统和方法,其中使用主要分离方法将大部分固体和生物需氧化合物从废水物料分离,以产生固体相和水相。固体相被辐射以降低病原体水平,使得其安全地用作土壤替代物和/或添加剂,从而固体可以因此以环境友好的方式丢弃。在另外的实施方案中,已经通过辐射灭菌的固体混合合适的惰性填料材料,以产生土壤替代物,肥料,堆肥,或其他土壤添加物。液体相以比处理足额废水所要求的基本上更小的系统来处理,所述处理足额废水可以包括悬浮的介质生物再生反应器系统。液体处理系统可以包括和低通量吸附性材料生物再生反应器一体化的高通量吸附性材料处理系统。

标签:
固废
其他 - 其他 来源:北方有色网 2023-03-19
环保高效的利用高含水有机废弃物制备固体燃料的方法以及利用该方法的热电联产系统

本发明涉及环保高效的利用高含水有机废弃物制备固体燃料的方法,具体地涉及利用高含水有机废弃物制备固体燃料的方法,上述利用高含水有机废弃物制备固体燃料的方法包括:废弃物混合步骤(a),将高含水有机废弃物和城市垃圾投入于Fe系的反应器并进行混合;水解步骤(b),对上述反应器施加高温的蒸气,来加压上述有机废弃物和城市垃圾的混合物之后,通过在加压状态下进行搅拌,来使上述混合物水解;减压步骤(c),排出上述反应器的内部的蒸气,来将反应器的内部快速减压并进行静置,从而将经过上述水解步骤(b)的有机废弃物低分子化,或者通过增大经过上述水解步骤(b)的城市垃圾的比表面积来使其破碎;真空或差压步骤(d),对上述反应器施加真空或差压条件,来去除经过上述减压步骤(c)的反应物的水分;以及固体染料化步骤(e),将经过上述真空或差压步骤(d)的反应物进行自然干燥及压缩成型,来制备水分含量为10~20%的固体燃料。

标签:
固废
其他 - 其他 来源:北方有色网 2023-03-19
使用来自熟料冷却器的气体干燥固体废弃物材料的方法和设备

本发明涉及一种干燥固体废弃物材料的方法,其包括:-提供包括向上部段(44)的干燥管(40);-在位于所述向上部段的底部的进料点(32)处进行待干燥的固体废弃物材料的进料;-将干燥气体以大于15m/s的速度供应至所述向上部段中,所述干燥气体包括来自熟料冷却器的排放气体,从而在所述向上部段中产生所述废弃物材料的向上流,并提供最终干燥气体和经干燥的固体废弃物材料;以及-在所述干燥管的下游将所述最终干燥气体与经干燥的固体废弃物材料分离。本发明还涉及用于干燥固体废弃物的设备。

标签:
固废
其他 - 其他 来源:北方有色网 2023-03-19
包括生物可降解城市固体废物的生物可降解废物的生物处理的系统和方法

本发明涉及应用自然到自然(N2N)理论完成生物质的生态循环的方法和系统,在非常短的时间跨度内、利用自然处理和自然/有机材料、通过任何生物可降解废物或有机废物(包括MSW的生物可降解部分)的生物处理(8,9,10),产生作为终产物的富集生物化肥、甲烷和许多有用副产物。这种取自自然的任何物质在自然时间跨度内返回自然,被称为N2N理论。

标签:
固废
其他 - 其他 来源:北方有色网 2023-03-19
用于生物质废物及相关的易挥发固体的气化器

气化器(20)包括一个主室(30)用于接纳要被气化的废物料(22)。一个烟雾传送通风口(38),让烟雾从主室逸出。一个混合室(40),接受从烟雾传送通风口出来的烟雾。然后烟雾流向一个后燃烧室(42),在此处一个燃烧器(48)产生一灼热的火焰,为的是造成烟雾组分的附加的完全氧化作用。一分隔墙(50)安装在火焰室和主室之间,以便阻挡灼热的火焰进入主室,也阻挡灼热的火焰产生的辐射作用直接进入主室,因此可阻挡废物料的直接接触和物理性的干扰。一个与后燃烧室连通的热传送室(52)接受从后燃烧室来的完全氧化了的烟雾。从烟雾的完全氧化产生的热量加热传送室。主室具有一导热的底板(36)安装在热传送室的上面,它与导热底板之间以独立的关系安装,以致形成主室的传导加热和对流加热,这样造成主室中废物的加热。一个与热传送室连通的排气通风口(54)使烟雾排放到周围环境。

标签:
固废
其他 - 其他 来源:北方有色网 2023-03-19
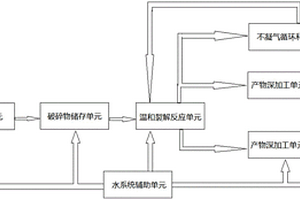
一体化集成固体废弃物温和裂解系统

本实用新型涉及一种一体化集成固体废弃物温和裂解系统,包括固废破碎单元、破碎物储存单元、温和裂解反应单元、产物深加工单元一、产物深加工单元二以及水电辅助单元。尤其适用于废轮胎循环利用,系统设备集成度高,且一次能够同时制备和回收粗炭黑、橡胶裂解油、钢丝及不凝气产品,其中不凝气作为清洁能源,循环供给温和裂解反应单元,使废轮胎得到百分之百利用;同时,利用先进改性处理加工技术将一次产品制成新型功能性材料,目前已应用于轮胎、橡胶制品、改性沥青添加剂、塑料、色素领域中,并通过了行业及国家相关标准;轮胎裂解油通过特殊改性技术后制成改性橡胶裂解油,是橡胶工业所必须添加的先进基础材料,用以改善橡胶的加工和使用性能,也是工业炉所需的清洁燃料。

标签:
固废
其他 - 其他 来源:北方有色网 2023-03-19
用于选择收集固体城市废物的粉碎容器以及专门适用于每一种不同类型的废物的粉碎容器,包括家庭垃圾粉碎容器

这是专门用于家庭垃圾粉碎的容器系统,它的人力的形式对于环境保护是完全有利的,能够减少我们日常消耗产生的各式各样城市废物的过量的数量,是利用横向设置在支撑轴上的穿孔/粉碎刀片系统,且穿孔/粉碎刀片和支撑轴充分锁定在一起,通过轴的特定排列和使用不同类型的刀片和锤子来适应不同类型的废物(塑料、罐头、四方砖形物(tetra?bricks)、纸、玻璃、有机材料和其他组合刀片系统用于下脚料废物),能使废物减小到原来体积的五分之一。该系统的实质特征在于以人力方式,通过特殊的齿轮装置产生刀片的运动,齿轮装置通过打开上盖而被启动,通过简单的踏板帮助打开所述的上盖,从而启动设置在容器内部侧面带齿的滚筒,所述滚筒依次启动设置在每个侧面带齿的滚筒内的齿轮,所述齿轮设置于四个刀片轴的每个端部为了启动粉碎功能和在容器内拖拽废物,所述齿轮以特定方式绕该轴旋转,大大减小了废物的体积。这种专门的人力和电动粉碎容器以及不同的固定与运动的具体装置是为了显著的节省家庭的时间和货币花费而设计的,该时间和货币的花费包括将上述废物从家运输到放置在公路上的垃圾箱以及从上述公共垃圾箱再运输到各自的回收站。废物回收利用在预防更多的自然资源变化和减少更多自然资源的滥用中起一定的作用,并且通过使用这些专门类型的具有上述专门刀片系统的粉碎容器会变得更方便。由于每个刀片具有彼此互相独立的侧向倾斜扭矩和弹性旋转的双重功能,所述容器能够有助于欧洲联盟成员国达到第2004/12/Econ号指令强制实行的回收目标,在它的第二个转换阶段,将要粉碎废物(参见说明书附图中的图2.2和图2.3)诸如此类是必需的。

标签:
固废
其他 - 其他 来源:北方有色网 2023-03-19
固体成分分离机的控制装置、固体成分分离装置、船舶用废气洗涤系统以及船舶用柴油机

为了容易地做到在适当的时刻将固体成分从固体成分分离机中排出,离心分离机控制装置(133)(固体成分分离装置)包括根据与柴油机(101)的输出相对应的值来决定将固体成分从所述离心分离机(122)中排出的排出时刻的排出时刻控制部。在将从发动机(柴油机(101))中排出的固体成分吸收到洗涤水中后,用离心分离机(122)(固体成分分离机)将所述固体成分从所述洗涤水中分离出来,该离心分离机控制装置(133)对将已分离出来的固体成分从所述离心分离机中(122)排出的排出时刻进行控制。

标签:
固废
其他 - 其他 来源:北方有色网 2023-03-19
废弃物热解方法以及其具有预热装置的设备

本发明涉及一种用于热解固体的设备,它包括一个在其中进行热解的旋转炉(1)和对旋转炉加热的装置(21)。本发明的设备还包括一个位于所述炉子上游的用于预热固体的装置(2),该装置(2)则包括至少两个在不同温度预热固体的区域(2a,2b)以及一个令热解气体流过至少一个所述预热区(2a,2b)后进入的排气装置(12)。

标签:
固废
其他 - 其他 来源:北方有色网 2023-03-19
页岩气油基钻屑固体废物的处理方法

本发明涉及一种页岩气油基钻屑固体废物的处理方法,本发明的页岩气油基钻屑固体废物的处理方法,通过使用海藻有机聚合物分离剂实现油水固废分层继而实现油回收;使用海藻有机聚合物氧化剂形成高级氧化反应,实现固废无害化处理,不采用高温加热蒸馏技术或无氧热解炭化技术,节省能耗,处理中不产生恶臭异味;本发明的处理方法将固废中的泥和砂经过物理方法分离之后,砂粒通过使用海藻有机聚合物固化剂,经过加工改良球性,具有较好的润滑性,耐温性和防腐蚀性,可作为石油生产用压裂砂使用,这样可以减轻固废处理达标后处置或填埋的压力,并为企业提供另一种的资源化利用的途径。

标签:
固废
其他 - 其他 来源:北方有色网 2023-03-19
利用可燃废物生产废物衍生固体燃料的设备

公开了一种利用可燃废物生产废物衍生固体燃料的设备。本发明的设备包括成形主体(10),所述成形主体具有料斗(10A),可燃废物通过料斗(10A)供应到成形主体(10)内,驱动单元(11)安装到成形主体(10)。该设备还包括安装到成形主体(10)的压力输送管(30)。热油流过构成压力输送管(30)的层之间限定的空间。压力输送螺杆(50)设置在压力输送管(30)内。该设备还包括虹吸管(70),所述虹吸管设置在限定在压力输送螺杆内的空间中,以使热油流过虹吸管(70),从而干燥可燃废物。该设备还包括多个棒型加热器(90),所述加热器设置在压力输送管(30)的第一末端,从而加热压缩废物的外表面。

标签:
固废
其他 - 其他 来源:北方有色网 2023-03-19
用于控制城市固体废物密度和提高热值以改善废物变能量锅炉运行的方法和系统

指示城市固体废物(MSW)热值的变化并具有在MSW被送进锅炉前控制MSW的装置,能够实现改善的燃烧控制并增加废物变能量锅炉的能力。MSW的湿度含量对燃烧时其热值和锅炉效率具有显著的影响。湿度含量的变化还改变MSW的密度。在将MSW送到锅炉之前直接测量MSW的密度,允许额外的水或者液体废物的受控的添加,以减少MSW热值的变动。

标签:
固废
其他 - 其他 来源:北方有色网 2023-03-19
用于尖锐物、针和固体废弃物的废弃物销毁装置

用于尖锐物、针和固体废弃物的废弃物销毁装置,优选地包括材料引入构件、销毁装置和存储构件。材料引入构件包括引入外壳和引入覆盖件。引入覆盖件从打开取向枢转到关闭取向以接纳要被切碎的物体。至少一个微处理器板用于控制废弃物销毁装置的装置。废弃物销毁装置优选地包括切割器外壳、第一切割器构件、第二切割器构件、切割器马达和切割器引入外壳。废弃物销毁装置优选地包含用于其消毒的消毒装置。存储构件优选地包括存储外壳、容器抽屉和废弃物容器。容器抽屉以可滑动的方式由存储外壳接纳。

标签:
固废
其他 - 其他 来源:北方有色网 2023-03-19
废物处理的方法和组合物

本发明提供包含一组或多组酵母细胞的组合物,其中所述酵母细胞的特征是在具有特定频率和特定场强的交变电磁场存在下培养后,与没有这样培养的酵母细胞相比,它们(1)降解聚合物如多糖和塑料;(2)降解含氮化合物如蛋白质和核酸;(3)降解环境毒素,例如某些有毒化学品如有机溶剂和饲料中使用的抗生素和有机农药;(4)将培养基中的生物可利用氮转化为它们自身的生物量;(5)将培养基中的生物可利用磷转化为它们自身的生物量;(6)减少恶臭材料的恶臭;(7)抑制致病微生物的增殖;和/或(8)抑制藻类的生长或分解藻类残骸的能力大幅度提高。本发明还包括制备这些组合物的方法以及使用这些组合物处理废水的方法。

标签:
固废
其他 - 其他 来源:北方有色网 2023-03-19
生物发电装置和利用该生物发电装置处理含有有机固体污染物质的废弃物的方法、处理含有有机聚合物的废液的方法、处理含有有机物质的废液的方法以及实施这些处理方法的装置

本发明公开了一种生物发电装置以及使用该生物发电装置处理有机废弃物的方法,所述生物发电装置包括含有能够在缺氧状态之下生长的微生物和具有电子介体固定化在其上并且在pH7具有-0.13V至-0.28V范围内的标准电极电位(E0′)的阳极的厌氧性区域,和含有分子氧和阴极的好氧性区域,以及限定所述厌氧性区域和所述好氧性区域的隔膜。

标签:
固废
其他 - 其他 来源:北方有色网 2023-03-19
由废料制备的固体燃料组合物

本发明介绍一种包含废物材料的固体燃料和一种使用方法。组合物由热值组分、中和组分和有害废物组分构成。其中每一组分均是便于获得的废物材料。每个组分可以是固体或液体,但液体不超过组合物的40%,有害废物组分是一种化合物或几种化合物的混合物,工业上这些废物很难于处理。有害废物可包括氯化烃如多氯联苯、含硫化合物、生物废物和/或各种金属,这些废物当燃料并在窑或炉中燃烧时转化为稳定的和易于处理的化合物,因此可由废物制备一种便宜的燃料。

标签:
固废
其他 - 其他 来源:北方有色网 2023-03-19
以海洋废弃物和可燃性废弃物的混合物为原料的固体燃料制造装置

本发明涉及一种制造固体燃料的海洋废弃物及固体燃料制造装置。上述海洋废弃物是将经脱盐、脱水、压缩后的海洋废弃物与可燃性废弃物一起粉碎、混合制造固体燃料。上述固体燃料制造装置是以海洋废弃物和可燃性废弃物的混合物为原料的固体燃料制造装置。本发明中以海洋废弃物与可燃性废弃物的混合物为原料的固体燃料制造装置,其特征在于,它由如下几个部分构成:对海洋废弃物进行脱盐、脱水处理的脱盐脱水装置(1);将经脱盐、脱水处理后的海洋废弃物进行压缩的压缩装置(3);将经压缩后的海洋废弃物与可燃性废弃物一起粉碎、混合的粉碎·混合装置(4);将海洋废弃物与可燃性废弃物的混合物挤压成型的挤压成型机(5)。

标签:
固废
其他 - 其他 来源:北方有色网 2023-03-19
固体碳源、生物反应器及以该固体碳源处理废水的方法

一种固体碳源、具有该固体碳源的生物反应器及以该固体碳源处理废水的方法,该固体碳源,包括:多个具有至少一转折部的条状单元,各该条状单元藉该转折部构成限位区,且任一该条状单元的限位区中配置有至少另一该条状单元,而使该多条状单元整合而成一骨架结构;以及多个间隙,其形成于任二该条状单元之间,以供气体或液体通过,其中,形成各该条状单元的材质为密度大于0.9g/cm3的复合材料。

标签:
固废
其他 - 其他 来源:北方有色网 2023-03-19
用于废物的处置和处理的方法和设备

有机废物处置处理设备(10),包括一个其中可形成堆肥床(12)的处理室组件(11),一个入口(21),有机废物可经过该入口加到堆肥床(12)中,用于促进堆肥床(12)的需氧菌致分解的通风装置(28),用于防止废物物料变成厌氧的排水装置(43),和用于进入和排去形成的堆肥的进入装置(39,40,41)。

标签:
固废
其他 - 其他 来源:北方有色网 2023-03-19
用于使液体废物和固体废物分离的废物收集系统

根据本发明的一个方面,提供了一种使液体废物和固体废物分离的废物收集系统,该系统包括一个具有一个上传送滚筒、一个下传送滚筒以及绕这些传送滚筒延伸的环形传送带的传送机。传送带的上滑道朝上凹陷。在截面上,上滑道具有一个最低部和从该最低部侧向向上分开的侧部。上滑道从上传送滚筒向下传送滚筒纵向倾斜。一个废物偏导装置在上滑道的最低部上方沿该最低部延伸。分开的液体废物收集器和固体废物收集器位于上、下传送滚筒附近。一个传送驱动器连接到上述传送滚筒中的一个。

标签:
固废
其他 - 其他 来源:北方有色网 2023-03-19
上一页 55 56 57 58 下一页
共58页    到第

北方有色为您提供最新的其他有色金属固/危废处置技术理论与应用信息,涵盖发明专利、权利要求、说明书、技术领域、背景技术、实用新型内容及具体实施方式等有色技术内容。打造最具专业性的有色金属技术理论与应用平台!

全国热门有色金属设备推荐
展开更多 +
全国热门有色金属技术推荐
展开更多 +

 

江西省隆恩特环保设备有限公司
宣传

报名参会
更多+

报告下载

有色专家
更多+

江西理工大学
副校长/教授
赣州江钨钨合金有限公司
工程师
任灵宝金源矿业股份有限公司
技术发展部经理
赣州有色冶金研究所有限公司
副主任/高级工程师
有研资源环境技术研究院(北京)有限公司
副总经理/教授级高工
赤泥综合利用研究报告2025
推广

热门技术
更多+

推荐企业
更多+

福建省金龙稀土股份有限公司
宣传

发布

在线客服

公众号

电话

顶部
咨询电话:
010-88793500-807