青岛垚鑫智能科技有限公司
宣传

位置:北方有色 >

有色技术频道 >

> 固/危废处置技术

分类:
全部
矿山技术
冶金技术
材料制备及加工技术
环境保护技术
分析检测技术
 
全部
废水处理技术
大气治理技术
固/危废处置技术
土壤修复技术
地区:
全部
北京
天津
上海
重庆
河北
山西
辽宁
吉林
黑龙江
江苏
浙江
安徽
福建
江西
山东
河南
湖北
湖南
广东
海南
四川
贵州
云南
陕西
甘肃
青海
内蒙
广西
西藏
宁夏
新疆
其他
其他
展开
 
全部
济南
青岛
淄博
枣庄
东营
烟台
潍坊
济宁
泰安
威海
日照
滨州
德州
聊城
临沂
菏泽

山东济南有色金属固/危废处置技术理论与应用

免费发布技术信息>>
固体废弃物消解炉过滤机构

本实用新型提供了固体废弃物消解炉过滤机构,属于固体废弃物处理领域。包括基管;扩口形过滤组件,扩口形过滤组件为一对,其中一个扩口形过滤组件连于基管的一端,另一个扩口形过滤组件连于基管的另一端,扩口形过滤组件包括一端至另一端呈扩口形且呈圆筒状的过滤罩筒,过滤罩筒的缩口端连于基管上,扩口形过滤组件还包括过滤件一和过滤件二,过滤件一包括呈圆台形且内部为空心的基壳一,基壳一的上下端面均开设有若干个通气孔一,基壳一内部填充有过滤基质一,过滤件二包括基壳二,基壳二的上下端面均开设有若干个通气孔二,基壳二内部具有过滤基质二。本部件有利于增加对气体的过滤范围,有利于增强过滤效果。

标签:
固废
山东 - 济南 来源:北方有色网 2023-03-19
可调型固体废弃物粉碎装置

本实用新型公开了废弃物粉碎技术领域的一种可调型固体废弃物粉碎装置,包括粉碎箱,所述粉碎箱一端开设有T型槽,所述T型槽内部中部固定安装有转向器,所述转向器一端安装有把手,所述转向器外侧处于T型槽内部均安装有丝杆,所述丝杆外侧通过螺纹连接有滑块,所述滑块一端活动安装有皮带轮,若干所述皮带轮外侧通过皮带相连接,两个所述皮带轮一端处于粉碎箱内部固定安装有粉碎辊,底端所述滑块一端固定安装有电机,与现有技术相比,本实用新型的有益效果是,方便工作人员对粉碎辊之间的间距进行调节,提高调节的效率,进而方便对不同的废弃物进行粉碎,可以扩大粉碎的范围,提高粉碎的效率和效果。

标签:
固废
山东 - 济南 来源:北方有色网 2023-03-19
利用中药废渣无害化固体发酵生产的农用益生菌剂及其制备方法

本发明提供了一种利用中药废渣无害化固体发酵生产的农用益生菌剂及其制备方法,采用花生壳、稻壳、玉米浆、豆粕粉、硫酸镁、硫酸铵、葡萄糖、氯化钠、中药渣为基料进行合理配比,开展了枯草芽孢杆菌、地衣芽孢杆菌、巨大、胶质、乳酸菌和酵母菌以及真菌孢子粉的固体发酵,使枯草、地衣芽孢杆菌的菌体数目达到100亿cfu/克以上,巨大、胶质的菌体数目达到50亿cfu/克以上,乳酸菌的菌体数目达到100亿cfu/克以上,酵母菌的菌体数目达到50亿cfu/克以上,真菌孢子粉的菌体数目达到50亿cfu/克以上。其优点是:在解决了中药渣对环境造成污染问题的同时,并开发了低成本的益生菌剂。

标签:
固废
山东 - 济南 来源:北方有色网 2023-03-19
固体废物中半挥发性有机物的测定方法

本发明涉及检测技术领域,尤其涉及一种固体废物中半挥发性有机物的测定方法及其应用。包括以下步骤:S1.采集固体废物样品;S2.标准样品的配制;S3.前处理样品;将样品与硅藻土按照重量比为1:(5‑15)混合,研磨至120‑160目,然后加入萃取池中,设置萃取温度为95‑120℃,萃取压力为1300‑1600Pa,萃取时间为5min,萃取溶剂为二氯甲烷和丙酮的混合溶液,二氯甲烷和丙酮的体积比为1:1,反复萃取3次得到提取液;将提取液用旋转蒸发仪减压浓缩至2mL,然后通过固相萃取装置进行活化,上样,淋洗,洗脱,浓缩至1mL,加1μL内标迅速密封,待测;S4.将前处理后的样品和标准样品放入气相色谱质谱联用仪中进行检测;气相色谱质谱联用仪至少包括气相色谱模块和质谱模块。

标签:
固废
山东 - 济南 来源:北方有色网 2023-03-19
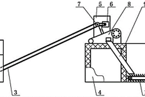
固体和液体危废等离子裂解和玻璃化处理设备及方法

本发明要解决的问题是提供一种能避免炉体因玻璃体挂壁堵塞报废且工作效率高的固体和液体危废等离子裂解和玻璃化处理设备及方法,包括对危废预处理减量化的等离子焚烧裂解炉,以及将减量化处理后灰渣玻璃化的玻璃化熔融炉;所述等离子焚烧裂解炉的排料口与玻璃化熔融炉的进料口相连通,先减量化,再玻璃化。

标签:
固废
山东 - 济南 来源:北方有色网 2023-03-19
用于监测固体废弃物颗粒的定量取样装置

本实用新型属于定量取样装置领域,尤其是一种用于监测固体废弃物颗粒的定量取样装置,针对现有的用于监测固体废弃物颗粒的通常是工作人员直接通过手拿取,同时工作人员直接用手拿取容易造成监测物污染的问题,现提出如下方案,其包括储料罐,所述储料罐上开设有储料腔,所述储料罐的底部转动安装有转动盘,储料罐的底部开设有两个漏料孔,漏料孔和储料腔连通,所述转动盘上开设有两个出料孔,两个出料孔分别和两个漏料孔相配合,所述转动盘的一侧设有转动把手,本实用新型结构简单,使用方便,通过对出料孔的开启关闭,能够及时对储料罐出料量的控制,从而更加准确的对监测物用量的控制,避免人工拿取对监测物产生污染的问题。

标签:
固废
山东 - 济南 来源:北方有色网 2023-03-19
建筑固体废弃物挤压桩制作方法

本申请公开了一种建筑固体废弃物挤压桩制作方法;利用经过粉碎的建筑固体废弃物作为骨料,用水泥浆进行拌和,后浇入特制设备中进行挤压凝固成桩,并通过预先制作模型桩进行强度测试,并与其他桩型对比后,确定该桩能够将路基沉降控制在合理范围内,满足工程要求,然后利用大型挤压设备获取满足实际施工需求的挤压桩,整个其制作简单、原材料易得、对环境几乎无影响且成桩质量能够满足工程要求。

标签:
固废
山东 - 济南 来源:北方有色网 2023-03-19
废弃固体物料回收再利用系统

一种废弃固体物料回收再利用系统,包括支架和工作台,支架上设置进料漏斗,工作台上设置鄂破机和固定架,进料漏斗下方与鄂破机进料口上方之间设置上料提升机,上料提升机的下端安装在支架上,上料提升机的上端安装在固定架上,固定架上安装电机,电机与上料提升机连接,工作台一侧设置盛放池,工作台内设置倾斜的出料管,出料管的上端位于鄂破机出料口的下方,出料管的下端位于盛放池底部。本实用新型的优点在于:本实用新型中将废弃固体物料通过进料漏斗和上料提升机送入鄂破机,通过鄂破机破碎加工,成为混凝土生产中可利用的再生骨料,避免资源和成本上的大量浪费。本实用新型还具有结构简单、制造方便和成本低的优点。

标签:
固废
山东 - 济南 来源:北方有色网 2023-03-19
分选机构及应用该机构的固体废弃物分类设备

一种分选机构及应用该机构的固体废弃物分类设备,用于解决现有垃圾分类设备不能使条状和块状固体垃圾有效分离的问题。设计要点在于分选机构,分选机构包括平行并列设置的若干轴,形成轴阵列,轴上绕有螺旋叶片,轴可旋转,且所有轴的旋转方向及转速是一致的,螺旋叶片在所有轴上的缠绕方式和初始位置完全相同,在轴阵列的径向上形成一条可以容纳棒条状物料的通道。本实用新型简单依据物料粒径大小来实现固体废弃物分类的传统方式,而是设计了一套分选机构,通过轴和螺旋叶片的复合运动和单独作用,形成了不同形状的固体垃圾沿着不同的方向运动,进而达到了分选的目的。

标签:
固废
山东 - 济南 来源:北方有色网 2023-03-19
固体和液体危废等离子裂解和玻璃化处理设备

本实用新型要解决的问题是提供一种能避免炉体因玻璃体挂壁堵塞报废且工作效率高的固体和液体危废等离子裂解和玻璃化处理设备,包括对危废预处理减量化的等离子焚烧裂解炉,以及将减量化处理后灰渣玻璃化的玻璃化熔融炉;所述等离子焚烧裂解炉的排料口与玻璃化熔融炉的进料口相连通,先减量化,再玻璃化。

标签:
固废
山东 - 济南 来源:北方有色网 2023-03-19
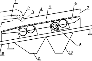
固体废弃物筛分设备
固体废弃物筛分设备 948     
 0

本实用新型公开了固体废弃物筛分设备,属于筛分设备,其结构包括筛体、传动装置、进料机构、机架和外壳,筛体倾斜设置在外壳内与传动装置相连,筛体包括带筛孔的筛板和锯齿状挡板,筛体左侧的外壳上设置有低出料口,筛体右侧的外壳上设置有高出料口,筛体下部的外壳上设置有第一中出料口和第二中出料口,传动装置包括动力装置、第一曲轴、第二曲轴、第三曲轴、第四曲轴、第一中间轴、第二中间轴、第一同步齿轮箱和第二同步齿轮箱,进料机构包括输送机和溜槽,机架包括底盘和支腿。本实用新型具有不仅能够提高固体废弃物的分选效率,降低了工人的劳动强度,而且环保节能,不会影响人体健康,高频运动,有效避免物料堵塞,效率高等特点。

标签:
固废
山东 - 济南 来源:北方有色网 2023-03-19
移动式固体废物清理机

移动式固体废物清理机,包括车体,车体上安装行走轮和转向轮,转向轮与转向装置连接,车体前部设置第一吊杆和第二吊杆,第一吊杆和第二吊杆后部均与车体活动连接,第一吊杆和第二吊杆中部均通过限位拉簧与车体连接,第一吊杆和第二吊杆下方均安装清扫滚刷,各清扫滚刷均与清扫驱动电机的输出轴连接,清扫驱动电机能够驱动清扫滚刷旋转。本实用新型的优点是:清扫范围可根据道路状况灵活调整,遇到障碍时驾驶人员可控制清扫部件抬起,离开地面来避让障碍物,适用于农村环境,对农村中常见的各种固体废物均能够有效清理收集等。

标签:
固废
山东 - 济南 来源:北方有色网 2023-03-19
环境工程固体废物回收利用装置

本实用新型公开了环境工程固体废物回收利用装置,包括底板,所述底板的上表面右侧设有回收箱,所述回收箱的内部后侧设有隔板,所述隔板与回收箱的前侧壁之间转轴连接有两个传送轴,两个所述传送轴之间设有传送带,左侧所述传送轴的后端穿过隔板且连接有第一电机的输出端,所述第一电机固定安装于回收箱的内部后侧,两个所述传送轴之间设有磁铁板,所述磁铁板的前后两端分别固定安装于回收箱的前侧壁和隔板上,所述磁铁板靠近右侧所述传送轴,所述回收箱的内部下端左侧设有金属收集箱,所述回收箱的内部下端右侧设有废料收集箱,本装置可以对固体废物中的金属物质提取分离的过程,实现了对金属物质的回收,避免资源浪费。

标签:
固废
山东 - 济南 来源:北方有色网 2023-03-19
隧道式固体废弃物前处理系统

本发明公开了一种隧道式固体废弃物前处理系统,属于固体废弃物技术领域,第一输送带、第二输送带和第三输送带呈台阶式排布,且第一输送带、第二输送带和第三输送带上方均覆盖有一透明罩,透明罩包括第一罩体、第二罩体及第三罩体,第一罩体前端设有用于进料的进料口,进料口与进料斗相连通,第三罩体后端设有用于出料的出料口,第一罩体、第二罩体、第三罩体内部前侧均装有一搅拌叶片,第一输送带、第二输送带、第三输送带的中间空隙内均安装有太阳能电热棒和辅助电热棒,且太阳能电热棒和辅助电热棒间隔分布,第一罩体、第二罩体、第三罩体上端均装有太阳能板,太阳能板通过控制器与太阳能电热棒电性连接,辅助电热棒与电源电性连接。

标签:
固废
山东 - 济南 来源:北方有色网 2023-03-19
固体废物破碎清除装置

本实用新型公开了一种固体废物破碎清除装置,包括支架、破碎箱、风箱;所述破碎箱、风箱固定连接在支架顶部;所述破碎箱通过连接管路与风箱固定相连;所述风箱侧壁还固设有伺服电机;所述伺服电机的输出端转动连接有丝杠;所述丝杠上滑动连接有丝杠螺母;所述丝杠螺母侧壁固设有连杆;所述连杆滑动连接在破碎箱的侧壁;所述连杆置于破碎箱内的一端固设有清理板;其中,所述风箱侧壁设有排渣槽;所述破碎箱的侧壁设有排料槽;本实用新型利用鼓风机将破碎时从固体废物表面脱落的包装表皮排出,且能够实现破碎后物料的顺畅出料。

标签:
固废
山东 - 济南 来源:北方有色网 2023-03-19
以固体废弃物为原料的无硼低介电常数的玻璃纤维及其制备方法

本发明公开了一种以固体废弃物为原料的无硼低介电常数的玻璃纤维及其制备方法,玻璃纤维中高炉矿渣40-65wt%,硅灰35-45wt%,氧化铝0-20wt%。本发明以高炉矿渣、硅灰和少量的氧化铝为原料,通过对高炉矿渣进行预处理,并合理搭配这三种原料可以制备出低介电常数的玻璃纤维,制备工艺简单,玻璃纤维的介电性能优良,工艺参数合理、可行性强、生产成本低廉,可以将高炉矿渣广泛应用于低介电常数铝硅酸盐玻璃纤维的生产。

标签:
固废
山东 - 济南 来源:北方有色网 2023-03-19
大掺量固体废弃物的活性粉末混凝土及制备使用方法

一种大掺量固体废弃物的活性粉末混凝土及制备使用方法,包括如下质量份数的原料:胶凝材料:60‑100份;粉煤灰:10‑30份;硅灰:1‑10份;花岗岩锯泥:30‑60份;金尾矿:80‑160份;膨胀剂:0.02‑0.05份,还包括体积掺量为0.5‑2%的高强纤维。本发明的特点掺入大量工业固体废弃物,采用比表面积大具有一定活性指数的花岗岩锯泥替代磨细石英粉,利用金尾矿砂强度高的特点,替代细石英砂作为骨料,少量硅灰填充花岗岩锯泥与胶凝材料堆积孔隙,制备的活性粉末混凝土颗粒堆积孔隙率小、密实度高、制备成本低、工业废弃物资源化利用程度高、环保、强度高、抗外界环境侵蚀性性能好、制备方法简单等优点。

标签:
固废
山东 - 济南 来源:北方有色网 2023-03-19
含挥发性有机污染物的固体废物处理装置

本实用新型公开了一种含挥发性有机污染物的固体废物处理装置,包括处理箱,所述处理箱的内腔活动安装有转轴,所述转轴的外侧固定安装有螺纹叶,所述转轴的左端贯穿有处理箱的左端置于处理箱的左侧,所述转轴的左端固定安装有从动盘,所述处理箱的左端上侧固定安装有转动电机。本实用新型通过进料口将固定废物防止处理箱内,然后通过控制面板启动转动电机和热风枪,从而通过热风枪吹热风加快废物固定体含有的挥发气体挥发,然后通过启动吸风机将含有二氧化硫的气体通过吸风管和排风管进入到氢氧化钠溶液中进行吸收,然后进行排放,通过转动电机带动转轴和螺纹叶带动固体通过出料口进入带收集箱内,从而完成固体的处理和回收。

标签:
固废
山东 - 济南 来源:北方有色网 2023-03-19
用于固体废物的回收装置

本实用新型公开了一种用于固体废物的回收装置,涉及固体废物回收技术领域。它包括回收箱体,回收箱体包括沿竖向设置的收集斗;收集斗的上端和后端分别对应设置有开口;收集斗后端罩设有挡盖;挡盖与收集斗后端的开口对应;挡盖内壁前部的左右两侧分别沿竖向固定有滑条;收集斗外壁后部的左右两侧分别开有滑槽;滑条与滑槽一一对应滑动连接;挡盖上设置有开放限制机构;回收箱体外设置有翻转调节机构;所述的开放限制机构包括固定在挡盖后端上部的支座;支座上转动连接有双向螺套;双向螺套沿左右方向设置。本实用新型的有益效果是:其能够方便固体废物的放入和移出,而且便于对残留物的清理。

标签:
固废
山东 - 济南 来源:北方有色网 2023-03-19
固体废弃物热裂解焚烧炉

本发明属于固体废弃物处理技术领域,本公开涉及一种固体废弃物热裂解焚烧炉,包括热裂解室及热裂解室内的扰动器;扰动器,包括旋转管、V型的导流板,V型导流板的两个侧板的内侧壁均与旋转管的外壁外切设置,扰动器的两端分别与热裂解室的侧壁连接;驱动装置,驱动装置与旋转管的两端连接,使扰动器的旋转管相对于热裂解室的侧壁在360度的范围内旋转和停止。解决固体物料焚烧过程中出现烧穿烧偏、熄火等问题,使整个系统连续稳定运行。

标签:
固废
山东 - 济南 来源:北方有色网 2023-03-19
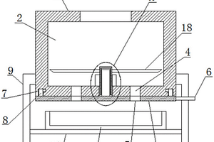
固体废弃物中重金属的采样装置

本实用新型公开了一种固体废弃物中重金属的采样装置,包括装置台和采样箱,所述装置台的内部安装有液压阻尼器,所述装置台的顶端安装有控制台和采样箱,所述采样箱的顶端安装有电动伸缩架,且电动伸缩架的底端连接有下压板,所述下压板的顶端连接有伺服电机,所述伺服电机穿过下压板连接有采样钻头,且采样钻头的外部设有采样筒,所述采样筒的上方通过出料管连接有收集箱,所述收集箱的内部设有滑道。本实用新型通过在装置中安装的采样钻头和伺服电机,这样在工作过程中启动伺服电机,伺服电机带动采样钻头对固体废弃物进行采样,将需要收集的样本带入采样筒中,再由出料管传送至收集箱内部的收集板上,这样大大提高了工作效率。

标签:
固废
山东 - 济南 来源:北方有色网 2023-03-19
固体废弃物分级处理方法

一种固体废弃物分级处理方法,将固体废弃物粉碎,在惰性气氛下以升温速率5~100℃/MIN升温至300~450℃,停留5~30分钟,然后将剩余热解残余物和热解生成的气体送入燃烧区燃烧。本发明用于处理固体废弃物。

标签:
固废
山东 - 济南 来源:北方有色网 2023-03-19
固体危废裂解箱集中运输装置

本实用新型涉及一种固体危废裂解箱集中运输装置,该装置包括可在运载轨道上运行的车体,车体上方设置有储料槽,储料槽两侧设置有导轨,在导轨上设置有用于提升及输送裂解箱的龙门,龙门立柱内侧对应设置有一对螺杆,通过螺杆连接有夹取支架,该支架底部为对称的弧形夹取臂;采用这种结构的运输装置,可将固体危废裂解箱集中置于储料槽中,利用夹取支架垂直方向的移动实现对裂解箱的提升并可随龙门在导轨上水平方向移动,较之现有技术提高了运输效率和运输准确性。

标签:
固废
山东 - 济南 来源:北方有色网 2023-03-19
河道固体废弃物清理系统

本实用新型涉及河道废物清理领域,且公开了一种河道固体废弃物清理系统,该系统可以在河道内漂浮行走,设有水草割除组件和水草回收组件,能够有效解决以往河道中央位置固体废弃物和水草不便清理的问题。其结构包括驾驶舱,所述的驾驶舱前侧设有上开口的第一机械舱,所述的第一机械舱内底部固定设有柴油机,所述的柴油机上侧设有注油口,柴油机侧面通过连接线路与驾驶舱内的第一控制板电连接,所述的第一控制板上设有若干第一控制按钮,连接线路外侧包有橡胶管,柴油机右端部穿出有横向的第一转轴,所述的第一转轴右端部固定安装有第一齿轮,所述的第一齿轮前侧设有与之相匹配的第二齿轮。它操作简单,使用方便,适用于多种场所。

标签:
固废
山东 - 济南 来源:北方有色网 2023-03-19
工业企业环境治理固体废弃物取样装置

本实用新型公开了一种工业企业环境治理固体废弃物取样装置,包括取样桶,取样桶的桶口朝下且上端均布有多个水平连杆,水平连杆的上端设有抓握圈,使得手抓抓握圈,取样桶向下插入固体废弃物内;桶口处贴靠有封堵布,封堵布设有取样布孔,封堵布左右两端分别绕着取样桶向上延伸,封堵布的左右两侧的上端分别设有握持块,处于取样桶右侧的握持块上设有水平连杆,水平连杆上设有嵌套在竖直连杆上的滑动套筒。本实用新型改变铲起放入取样桶的取样方式,取样桶倒立插入固体废弃物,在取样桶相对桶口的外侧设有抓握圈,然后在桶口周围设置带有取样布孔的封堵布,取样布孔与桶口同心且处于桶口周围,取样效率高且完整性好,避免取样仅取了废弃物表层。

标签:
固废
山东 - 济南 来源:北方有色网 2023-03-19
利用风冷和水冷的固体废料冷却回收设备

本实用新型公开了一种利用风冷和水冷的固体废料冷却回收设备,包括废料冷却转筒;所述废料冷却转筒表面设置有进料口和出料口,内部设置有冷却腔;废料冷却转筒表面中部设置有第一齿轮;废料冷却转筒左侧面设置有鼓风管;废料冷却转筒右侧面设置有抽风管;废料冷却转筒内部设置有冷却管;冷却管表面设置有吸热片;所述冷却水添加装置由传动装置、第二电机和引水管组成;所述传动装置中设置有第三齿轮和第四齿轮;本实用新型通过废料冷却转筒带动第一电机旋转,废料随废料冷却转筒一同旋转,便于提高废料的冷却速度;鼓风机将冷空气鼓入废料冷却转筒中,对废料进行降温,抽风机将废料中的高温气体抽出,加速冷却。

标签:
固废
山东 - 济南 来源:北方有色网 2023-03-19
固体废物处理系统及方法

本发明涉及废物处理领域,更具体的说是一种固体废物处理系统及方法。处理系统包括框板、勾杆和挡柱,所述框板上从前至后设置有多个挡柱,每个挡柱上均从左至右设置有多个勾杆。方法包括:S1:将固体废物倒在两个框板的上侧;S2:驱动两个框板相互交替做逆时针圆周轨迹平移运动;S3:砂石状物从两个框板落下;S4:轻质布状物被多个勾杆带动至两个框板的左侧;S5:重质硬物沿着两个框板向右滑下。可以筛分出砂石状物、轻质布状物和重质硬物。

标签:
固废
山东 - 济南 来源:北方有色网 2023-03-19
基于固体废弃物混合发酵复合菌剂及其生产工艺

本发明涉及一种基于固体废弃物的混合发酵工艺,是基于木薯渣、蘑菇渣、糠醛渣、秸秆等低值农业废弃物通过三次固体复合发酵生产高附加值产品的一种发酵方式。包括:摇瓶种子培养、原料配混、灭菌、第一次接种、第一次发酵、第二次补料、第二次接种、第二次发酵、第三次补料、第三次接种和第三次发酵,本发明包括三次接种、一次配料、二次补料、三次烘干等步骤,充分腐熟废弃物中的有机物质,得到充分腐熟、高密度、高肥效、抗病害的高附加值的混合菌剂。

标签:
固废
山东 - 济南 来源:北方有色网 2023-03-19
固体废料环保处理设备

本发明涉及废料环保处理技术领域,具体为一种固体废料环保处理设备,一种固体废料环保处理设备,包括前输送带,前输送带的上表面后端固定连接有安装机架,安装机架的后端固定连接有后输送带,安装机架的左右对称设置有两个侧安装板,两个侧安装板的内侧滑动连接有滑动安装块,滑动安装块的下端固定连接有下压块,下压块的下方设置有下处理箱。通过下压块内部结构的设置,可以在挤压粉碎前线对机壳进行预切割和预粉碎,将其逐步挤压成较小的碎片后,再进一步的进行粉碎成塑料颗粒,通过下处理箱内部结构的设置,可以对粉碎后的塑料颗粒进行均匀的铺展,避免出料时产生堵塞,同时可对混杂在塑料颗粒中的金属零件进行挑拣和分类。

标签:
固废
山东 - 济南 来源:北方有色网 2023-03-19
固体废弃物内部金属收集装置

本实用新型公开了一种固体废弃物内部金属收集装置,包括桶体,所述桶体的支腿底部设有底板,所述桶体的下侧设有支撑板,所述支撑板的周侧面设有与桶体底部连接的第一电动推杆,所述支撑板的上表面设有贯穿并与桶体底部上下滑动连接金属板,且支撑板的底部设有电磁铁,所述底板的上表面一侧设有安装架,所述安装架的底部设有第二电动推杆,所述第二电动推杆的底部设有挤压件,所述安装架的侧面设有开关组。该固体废弃物内部金属收集装置,可以对固体废弃物进行破碎,并且可以对破碎后废弃物和金属部件进行分批次取出,便于金属部件的合理利用,能够减少资源的浪费,节能环保,操作简单,使用方便。

标签:
固废
山东 - 济南 来源:北方有色网 2023-03-19
上一页 50 51 52 53 54 ... 56 下一页
共56页    到第

北方有色为您提供最新的山东济南有色金属固/危废处置技术理论与应用信息,涵盖发明专利、权利要求、说明书、技术领域、背景技术、实用新型内容及具体实施方式等有色技术内容。打造最具专业性的有色金属技术理论与应用平台!

全国热门有色金属设备推荐
展开更多 +
全国热门有色金属技术推荐
展开更多 +

 

江西省隆恩特环保设备有限公司
宣传

报名参会
更多+

报告下载

有色专家
更多+

南昌航空大学
副院长/教授
武汉科技大学
校学术委员会主任 / 教授
赣州江钨钨合金有限公司
工程师
北京科技大学
副院长/教授
中铝检测科技(郑州)有限公司/国家轻金属质量检验检测中心
正高级工程师
赤泥综合利用研究报告2025
推广

热门技术
更多+

推荐企业
更多+

福建省金龙稀土股份有限公司
宣传

发布

在线客服

公众号

电话

顶部
咨询电话:
010-88793500-807