青岛垚鑫智能科技有限公司
宣传

位置:中冶有色 >

有色技术频道 >

分类:
全部
矿山技术
冶金技术
材料制备及加工技术
环境保护技术
分析检测技术
 
全部
功能材料技术
复合材料技术
新能源材料技术
合金材料技术
加工技术
地区:
全部
北京
天津
上海
重庆
河北
山西
辽宁
吉林
黑龙江
江苏
浙江
安徽
福建
江西
山东
河南
湖北
湖南
广东
海南
四川
贵州
云南
陕西
甘肃
青海
内蒙
广西
西藏
宁夏
新疆
其他
其他
展开
 
全部
其他

其他有色金属材料制备及加工技术理论与应用

免费发布技术信息>>
从含碳纤维的塑料中回收碳纤维的热解系统及方法

本发明涉及热解装置和方法,用于从含碳纤维的塑料中,特别是从碳纤维增强塑料(CFP或CFP材料)中,优选是从含碳纤维和/或碳纤维增强复合物(复合材料)中回收(再利用)碳纤维。

标签:
复合材料
其他 - 其他 来源:中冶有色网 2023-03-18
提高触变性的添加剂和含有所述添加剂的组合物

本发明涉及处于游离化合物形式或者处于至少一种酸的盐的形式的至少一种缩合产物(A)作为提高触变性的添加剂的应用、含有至少一种该缩合产物(A)和至少一种触变剂(B)的组合物和还包含至少一种粘合剂(C)的所述组合物作为胶粘剂、密封剂、油漆、涂料、胶粘剂树脂、浇注树脂、合成大理石、地面覆盖物、聚合物混凝土或者纤维复合材料的应用,所述缩合产物能够通过使至少一种聚合脂肪酸、或者至少两种聚合脂肪酸与至少一种具有至少两个伯氨基的多元胺的至少一种反应产物(U)作为成分(a1)与至少一种聚亚烷基多元胺反应而得到,所述至少一种聚亚烷基多元胺能够形成至少一种咪唑啉单元和/或四氢嘧啶单元并且具有至少两个伯氨基或者至少一个伯氨基和至少一个仲氨基。

标签:
复合材料
其他 - 其他 来源:中冶有色网 2023-03-18
具辐条接设座的复合材自行车轮圈结构

本发明主要提供一种具辐条接设座的复合材自行车轮圈结构。其包含有:一金属框,为金属材料的框体,以一中隔缘分隔出朝外开口呈冂字状的一外框体,及朝内开口呈冂字状的一内框体,该外框体供一轮胎组设其上;一复材框,为复合材料的框体,与该内框体接设,并与该内框体共同形成封闭状的一中空部,该复材框的内径缘部位为具预设厚度的一内框底部;一辐条座,为金属材料座体,于制造该复材框时埋设于该内框底部,其具有外露该复材框的一接设部,其上设有与该复材框的框体两侧横向贯设的一辐条穿孔,以供一辐条穿设定位其内;借此可提升轮圈的安全性功效。

标签:
复合材料
其他 - 其他 来源:中冶有色网 2023-03-18
低沾染研磨振动研磨机及其使用方法

本发明提供了一种用于研磨牙齿填料的振动研磨机(2),其带有一个研磨室(18),研磨室上优选涂敷着一层耐磨损聚合物(16),研磨室中填充着玻璃球(20),玻璃球的直径在大约0.1mm至10.0mm的范围内而折射率与将要被研磨的牙齿填料基本相配。还提供一种方法,其利用研磨机(2)和介质(20)加工出基本纯净的研磨颗粒,颗粒的平均颗粒尺寸小于可见光的平均波长,当颗粒被用于牙齿修复复合材料中后,会使固化的材料具有良好的光学性能。

标签:
复合材料
其他 - 其他 来源:中冶有色网 2023-03-18
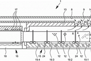
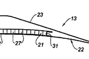
排气喷嘴的结构化组件

本发明涉及一种用于排气喷嘴的结构化组件(13),包括下述主要元件:(a)包括非吸音部分(33)的外部表皮(22);(b)内部结构化表皮(23);(c)包括具有蜂窝状芯体的蜂窝单元(27)的吸音结构(21),所述吸音结构设置在外部表皮(22)和内部结构化表皮(23)之间,至少一个所述主要元件由复合材料制成,并且吸音结构(21)通过连接装置(31;41)支撑在外部表皮(22)和内部结构化表皮(23)之间,连接装置(31;41)连接至内部结构化表皮(23)和外部表皮(22)的非吸音部分(33),从而将力传递到内部结构化表皮(23)和外部表皮(22)的非吸音部分(33)。本发明还涉及用于发动机舱的包括所述结构化组件(13)的排气喷嘴,以及一种发动机舱。

标签:
复合材料
其他 - 其他 来源:中冶有色网 2023-03-18
抗冲击性改进的基于环氧树脂的组合物

本发明公开了一种单组分或双组分粘合剂、基体树脂或结构泡沫用的树脂组分,其含有:C1)至少一种环氧树脂,所述环氧树脂的每个分子具有平均超过一个环氧基团,并且环氧树脂不符合组分C2)的定义;C2)至少一种低聚或聚合的没有氨基甲酸酯基团的聚醚化合物。本发明还公开了含有前述树脂组分的单组分或双组分环氧基粘合剂、结构泡沫或复合材料的基体材料。

标签:
复合材料
其他 - 其他 来源:中冶有色网 2023-03-18
电气构件的支承平台和具有支承平台的模块

本发明涉及一种支承平台和一种具有该支承平台的模块、尤其是一种用于连接到电网的模块,这种模块完成一种移相器或者一种电源滤波器的功能。按照本发明的模块的特征在于,使各种不同的构件如接触器、电容器和保险装置高度集成在一个共同的外壳里,该外壳具有一个由纤维复合材料制成的支承平台和至少一个与该支承平台固定连接的、最好由金属制成的罩盖。在支承平台里集成了带有外接头的接触轨(1A,2A,3A,11,11A,11B,11C,14)以及最好也设在所述构件和接触轨(1A,2A,3A,11,11A,11B,11C,14)之间的导电线。

标签:
复合材料
其他 - 其他 来源:中冶有色网 2023-03-18
基于聚醚酯多元醇的PUR-聚酯软质泡沫材料

本发明涉及羟值为60至160毫克KOH/克,75℃粘度≤500MPAS的聚醚酯多元醇。这些聚醚酯多元醇含有由I)脂族多元羧酸、II)羟值大于550毫克KOH/克的多元醇和III)含有醚基且羟值小于120毫克KOH/克的多元醇所得到的重复单元。本发明还涉及一种制备这些聚醚酯多元醇的方法、含有本发明的聚醚酯多元醇的混合物、制备该混合物的方法、由含有本发明的聚醚酯多元醇的混合物生产PUR-聚酯软质泡沫材料的方法、PUR-聚酯软质泡沫材料、生产含有PUR-聚酯软质泡沫材料的织物/泡沫材料和/或印刷/泡沫复合材料的方法,以及织物/泡沫材料和/或印刷/泡沫材料。

标签:
复合材料
其他 - 其他 来源:中冶有色网 2023-03-18
无机润滑涂覆的玻璃纤维束以及包括它的产品

本发明提供涂覆有非可水合的无机固体润滑剂颗粒的玻璃纤维束,可用于补强复合材料层压电子载体。

标签:
复合材料
其他 - 其他 来源:中冶有色网 2023-03-18
微型芯片天线的制造方法

一种微型芯片天线的制造方法,该天线的预形体包含有建构在一介电基板的天线辐射导体、馈入端及焊接端,该预形体接着封装在一个介电复合材中。其中,天线辐射导体线路为单一或多重输入端及多重曲折线路所组成,并可进行平面化或立体化的设计而建构于一介电基板以形成天线预形。这个天线预形体接着以另一容易调整其介电常数的复合材料封装。这个方式制成的天线反射损失中心频率的调整可由调整此封装复合材的介电常数达成,而不需繁琐地调整天线的线路。

标签:
复合材料
其他 - 其他 来源:中冶有色网 2023-03-18
环氧树脂预浸处理制品

本发明为把以聚环氧化物、环氧树脂改性剂和环氧树脂固化剂为主要成分的环氧树脂组合物,在增强纤维中浸渍所得到的环氧树脂预浸处理制品,上述的聚环氧化物使用40重量%以上的双酚A型环氧树脂,另外,上述的环氧树脂改性剂使用以在其一个分子中含有一个以上羧酸基的、而且其末端官能团当量在500-50,000克/当量范围内的聚合脂肪酸系聚酰胺树脂为主要成分的酰胺化合物,本发明提供具有优良粘接性、韧性和挠性,尤其是优良的非纤维方向特性的成型固化物和在娱乐用途和有关运动制品等的各种用途中广泛作用的复合材料。

标签:
复合材料
其他 - 其他 来源:中冶有色网 2023-03-18
聚吲哚纤维及由其构成的物品

本发明涉及在织物、编物、编带、绳索、软线等的后加工工序中,即使纱受到破坏而在纱上产生纽结带之后,在高温高湿度下也具有优异的耐久性的聚吲哚纤维、及含有其而形成的物品,尤其是纺织纱、橡胶加强材、纤维强化复合材料、编织物、防刃材或防弹背心、绳索、帆布等物品。

标签:
复合材料
其他 - 其他 来源:中冶有色网 2023-03-18
电解质、电极组合物以及由此制成的电化学电池

本发明公开了包括电极的电化学电池,所述电极包括含有碳酸亚乙烯酯或卤代碳酸亚乙酯的电解质、复合材料电极、以及粘结剂。

标签:
复合材料
其他 - 其他 来源:中冶有色网 2023-03-18
具有遮断性的管材
具有遮断性的管材 594     
 0

本发明提供了一种具有遮断性的管材。通过模塑包含聚烯烃树脂、具有遮断性的纳米复合材料、增容剂和增强剂的干混合组合物而制备的管材具有优良的遮断性,因此其可用作车辆加油管、空调管等。

标签:
复合材料
其他 - 其他 来源:中冶有色网 2023-03-18
具有高防渗性的制品
具有高防渗性的制品 938     
 0

本发明提供了一种具有防渗性的制品。该制品包括在聚烯烃树脂中以特定形式分散的具有防渗性的纳米复合材料且具有氟涂敷的内壁,从而具有优良的机械强度并对氧气、有机溶剂和湿气形成强防渗性。

标签:
复合材料
其他 - 其他 来源:中冶有色网 2023-03-18
改善聚合物介电性质的方法和相关制品及器件

在本发明的一个方面,本发明描述一种提高聚合物介电击穿强度的方法。所述方法包括提供聚合物,并使聚合物的表面在反应室中与气体等离子在规定等离子条件下接触。聚合物选自具有至少约150℃玻璃化转变温度的聚合物和包含至少一种无机成分的聚合物复合材料。与气体等离子接触进行足以使另外的化学官能性结合到聚合物薄膜表面区域的时间,以提供经处理聚合物。本发明还提供制品和制造方法。

标签:
复合材料
其他 - 其他 来源:中冶有色网 2023-03-18
自粘性的加成交联硅酮组合物

本发明涉及自粘性的加成交联硅酮组合物、其生产方法以及由其生产的硅酮弹性体和复合材料。该硅酮组合物特别对含双酚A的热塑性塑料令人惊讶的良好粘合性能通过粘合增强组分有机含氢聚硅氧烷(B)、通式(III)(SiHR7O)g(SiR8R9O)h的环状有机含氢聚硅氧烷(C)和粘合增强剂(D)的协同相互作用而获得。粘合增强剂(D)对应于通式(IV),其中R12表示氢原子、羟基、卤素原子、烷基、烯基、烷氧基、烯氧基或芳基,或含有烯基、烷氧基、缩水甘油基、羰基、羰氧基、甲硅烷氧基或烷氧基硅烷基的单价有机基团,基团R12中的至少一个表示烯基或含烯基单价有机基团,而X选自以下基团:-(R13-)C-(-R13)-、-(O=)S(=O)-、-(O=)S-、-C(=O)-、-O-(CH3-)Si(-CH3)-O-、-(CH2)s-和-O-,其中R13表示氢原子、卤素原子,或者取代或未取代的烷基、芳基、烯基或炔基,而s为至少2的正数,而r为0或1。

标签:
复合材料
其他 - 其他 来源:中冶有色网 2023-03-18
包括复合SiAlON基陶瓷材料的发光器件

本发明涉及具有基本上成分为M1-yA2-xBxO2-2xN2+x:Euy的陶瓷复合材料的发光器件,特别是LED,其中M选自包括Sr、Ca、Ba、Mg或其混合物的群组,A选自包括Si、Ge或其混合物的群组,B选自包括Al、B、Ga或其混合物的群组,以及x和y独立地选自从>0到≤1。该材料已经被发现是两相成分,一个相为琥珀色到红色的发光相,另外一个为青色到绿色的发光相。

标签:
复合材料
其他 - 其他 来源:中冶有色网 2023-03-18
用于透明热塑性塑料的冲击改性剂组合物

本发明涉及透明热塑性塑料以及具有无规共聚物嵌段和弹性体嵌段的嵌段共聚物的增韧透明热塑性复合材料。一个优选的实施方案是用嵌段共聚物改性的聚碳酸酯,该共聚物含有甲基丙烯酸甲酯(MMA)以及甲基丙烯酸萘酯或取代的甲基丙烯酸萘酯嵌段以及弹性体嵌段。这种嵌段共聚物具有与聚碳酸酯树脂优异的可混溶性,甚至在升高的温度下制备透明的聚碳酸酯混合物。该混合物可以提供强度增韧的聚碳酸酯,同时保持其优良的光学性质。

标签:
复合材料
其他 - 其他 来源:中冶有色网 2023-03-18
真空吸尘器用滤袋及其应用

本发明涉及用于真空吸尘器的滤袋。所述滤袋由包含至少三层的复合材料制成。其中由无纺织物层和至少一个无纺纤维层构成的至少两层通过焊接接头连接。本发明还涉及这种滤袋的应用。

标签:
复合材料
其他 - 其他 来源:中冶有色网 2023-03-18
脚踏车车架
脚踏车车架 1118     
 0

一种脚踏车车架,主要以竹子切割的条状片体黏结形成的竹材制成管体,并于管体的二端头分别固结一连结件,再与相对的金属或复合材料所制成的接头结合为车架,藉由竹材的强度、韧性及吸震性都非常良好,同时材质也很轻,而可在确保车架稳固性及功能性的需求下,能够降低制造的成本,且没有回收及污染的困扰,同时管体并能依需求车削出不同的形状,来提升设计的宽广度。

标签:
复合材料
其他 - 其他 来源:中冶有色网 2023-03-18
增强的复合夹芯板
增强的复合夹芯板 1086     
 0

本发明涉及一种复合夹芯板(1),包括至少一个被包含在内表层(3)与外表层(4)之间的网(2),每一表层均由一种由多个纤维层(5、6、7、8)构成的复合材料制成,其特征在于,所述内表层和/或所述外表层的一部分均在所述网的中断区域延伸至少部分穿过所述网,以共同形成至少一个由所述复合夹芯板的所述内表层延伸至所述外表层的贯穿增强体(9)。本发明还涉及一种包含这种复合夹芯板的航空器元件。

标签:
复合材料
其他 - 其他 来源:中冶有色网 2023-03-18
喂料器和挤出装置及其使用方法

本发明总体涉及用于例如颗粒聚合物废料等颗粒材料的喂料器。更具体地,本发明涉及挤出机,其包括用于改善例如颗粒聚合物废料等材料的挤出的喂料器,其可有效改变聚合物废料的质量和特性/性能,以例如形成商业可用产物,例如脱硫橡胶粉末或复合材料。在特定实施例中,所述方法包括以下步骤:(1)将一批或多批废料聚合物存放在一个或多个各自的料斗中,(2)调节从所述一个或多个料斗供到输送机的废料聚合物的流量,(3)将所述废料聚合物从所述一个或多个料斗并且沿所述一个或多个输送机传送到挤出机,以使至少一些间隙空气从所述废料聚合物排出,(4)将所述废料聚合物从所述一个或多个输送机供给到挤出机,和(5)将所述废料聚合物传送通过所述挤出机,以提供粉碎的活性脱硫聚合物产物。本发明特别可用于加工轮胎,所述轮胎包括轮胎段或切碎的轮胎废料。

标签:
复合材料
其他 - 其他 来源:中冶有色网 2023-03-18
厌氧可堆肥的聚合物组合物、制品和填埋生物降解

可堆肥的烃聚合物、复合材料和制品,其在相对短的时间内在填埋中厌氧地生物降解。复合聚合物制品和片材如室内或室外标志、广告牌、横幅、图像、防护障、背景幕和墙壁覆盖物具有非常有用的服务时间但也是填埋可生物降解的。

标签:
复合材料
其他 - 其他 来源:中冶有色网 2023-03-18
用于高炉内衬的复合耐火材料

一种特别是用于高炉内衬的耐火材料,其是包含保护层和导热层的层状复合材料,其中单个层之间的层间结合强度大于6MPa。

标签:
复合材料
其他 - 其他 来源:中冶有色网 2023-03-18
分段式纤维复合板簧及其生产方法

本发明涉及一种由纤维复合材料制成的、用于车辆的车轮悬架的板簧(1),其具有中心纵向部分(3)及与之相连接的两个端部部分(10,11),其中,该端部部分设计成板簧宽度逐渐变细,该板簧(1)由树脂浸渍过的单向的纤维(23)组合而成,该纤维不经裁剪地延伸于该板簧(1)的轴向端部(4,5)之间,且其中,在未完工板簧(2)完成之前,该轴向端部部分(10,11)具有基本上呈V形的切口或基本上呈V形的端部几何形状并由此在轴向上各构成与未完工板簧(2)的纵向延伸方向相垂直的两条股边(8,9),其中,在完成的板簧(1)中,该股边(8,9)相互贴靠在一起。为了能够成本低廉地生产该种板簧,根据本发明做了如下设置,即,该板簧(1,2)由单独的、几何上长度大体上相同的片段(6;13,14)组合而成,该片段作为纤维复合体单独生产,并且,在将其硬化成该板簧(1,2)之前,先将其连接到一起。

标签:
复合材料
其他 - 其他 来源:中冶有色网 2023-03-18
液晶聚合物组合物和其模制品

本发明涉及液晶聚合物组合物和其模制品。液晶聚合物组合物,其包含液晶聚合物和通过在惰性气体气氛中热处理陶瓷粉末和软磁性金属粉末的复合材料形成的磁性填料。

标签:
复合材料
其他 - 其他 来源:中冶有色网 2023-03-18
双组分胶粘剂组合物
双组分胶粘剂组合物 1052     
 0

本发明提供一种双组分胶粘剂组合物,具体地,所述双组分胶粘剂组合物,包含:1.5‑18重量份的环氧树脂;有效份的过氧化物氧化剂;有效份的还原剂;22‑37重量份的甲基丙烯酸甲酯;4‑15重量份的丙烯酸四氢呋喃酯和/或丙氧基化丙烯酸四氢呋喃酯;8‑19重量份的自由基反应型丙烯酸酯低聚物;其中,所双组分胶粘剂组合物包含部分A和部分B,所述部分A包含所述过氧化物氧化剂,所述组分B包含所述还原剂,并且所述环氧树脂、甲基丙烯酸甲酯、丙烯酸四氢呋喃酯和/或丙氧基化丙烯酸四氢呋喃酯和所述自由基反应型丙烯酸酯低聚物存在于所述部分A和部分B中的一者或两者中。该双组分胶粘剂组合物对于聚对苯二甲酸丁二醇酯复合材料以及金属材料(尤其是,铝材)具有良好的粘合性能。

标签:
复合材料
其他 - 其他 来源:中冶有色网 2023-03-18
电子部件和其制造方法
电子部件和其制造方法 1019     
 0

本发明涉及一种电子部件,其具有由树脂材料和金属粉末的复合材料构成的单元体。在单元体的外表面,金属粉末中的多个粒子从树脂材料露出且相互接触。

标签:
复合材料
其他 - 其他 来源:中冶有色网 2023-03-18
包含标记物的涂料和其他材料

本发明公开一种使用自动化系统或半自动化系统对不同回收材料物品的混合物进行分类的方法,其中至少一种物品包含一种或多种标记物;以及用于实施该方法的系统或设备。也公开了包括标记物的塑料或复合材料,以及包括标记物的建筑构件。公开了加入到涂料或清漆中的标记物组合物,其包括耐火组分和/或抗细菌、抗病毒与/或抗真菌组分,其中标记物在被激发时分别发射红光或绿光,以指示当组合物在基材上的涂料或清漆中时存在这些组分。也公开了具有相似特征的涂料和清漆。

标签:
复合材料
其他 - 其他 来源:中冶有色网 2023-03-18
上一页 512 513 514 515 516 ... 863 下一页
共863页    到第

中冶有色为您提供最新的其他有色金属材料制备及加工技术理论与应用信息,涵盖发明专利、权利要求、说明书、技术领域、背景技术、实用新型内容及具体实施方式等有色技术内容。打造最具专业性的有色金属技术理论与应用平台!

全国热门有色金属设备推荐
展开更多 +
全国热门有色金属技术推荐
展开更多 +

 

江西省隆恩特环保设备有限公司
宣传

报名参会
更多+

报告下载

有色专家
更多+

紫金矿业信息化研发中心
副总经理
武汉科技大学
院长 / 教授
长沙有色冶金设计研究院有限公司
正高级工程师/中国铝业首席工程师/全国有色金属行业设计大师/国家注册采矿工程师
长沙矿山研究院有限责任公司
高级工程师
昆明冶金研究院有限公司
党委书记、执行董事
赤泥综合利用研究报告2025
推广

热门技术
更多+

推荐企业
更多+

福建省金龙稀土股份有限公司
宣传

发布

在线客服

公众号

电话

顶部
咨询电话:
010-88793500-807