青岛垚鑫智能科技有限公司
宣传

位置:中冶有色 >

有色技术频道 >

分类:
全部
矿山技术
冶金技术
材料制备及加工技术
环境保护技术
分析检测技术
 
全部
功能材料技术
复合材料技术
新能源材料技术
合金材料技术
加工技术
地区:
全部
北京
天津
上海
重庆
河北
山西
辽宁
吉林
黑龙江
江苏
浙江
安徽
福建
江西
山东
河南
湖北
湖南
广东
海南
四川
贵州
云南
陕西
甘肃
青海
内蒙
广西
西藏
宁夏
新疆
其他
其他
展开
 
全部
其他

其他有色金属材料制备及加工技术理论与应用

免费发布技术信息>>
包含液体聚二有机硅氧烷的固体载体组分及制备和使用该固体载体组分的方法

本发明公开了一种固体载体组分,该固体载体组分包含液体聚二有机硅氧烷和乙烯基聚合物。该固体载体组分可用于制备木塑复合材料制品诸如建筑材料的方法中。

标签:
复合材料
其他 - 其他 来源:中冶有色网 2023-03-18
电子部件及其制造方法

本发明提供一种能够提高金属磁性粉和金属膜的粘结信赖性的电子部件。电子部件具备由树脂和金属磁性粉的复合材料构成的复合体和配置在上述复合体的外表面上的金属膜,上述金属磁性粉包含Fe,上述金属膜主要包含Cu,还包含Fe,与上述树脂和上述金属磁性粉接触。

标签:
复合材料
其他 - 其他 来源:中冶有色网 2023-03-18
碳纤维及其制造方法
碳纤维及其制造方法 1067     
 0

课题在于得到在成型加工为碳纤维增强复合材料的过程中、最终得到的成型品中显示出优异分散性的碳纤维。本发明的碳纤维为从侧面在直线距离1mm的范围内观察单纤维时,单纤维的纤维轴的波动幅度为2.5μm以上,该波动幅度的变异系数为100%以下的单纤维的纤维长度为10cm以下的碳纤维。该碳纤维由下述碳纤维的制造方法制造,其中,对聚丙烯腈系碳纤维前体纤维束进行耐燃化处理之后依次进行预碳化处理、碳化处理,将所得的呈连续纤维形态的碳纤维束切断,将碳化处理中的纤维束的捻度设为16个捻回/m以上或者将纤维束的表面的加捻角设为2.0°以上。

标签:
复合材料
其他 - 其他 来源:中冶有色网 2023-03-18
齿轮、制造齿轮的方法和齿轮传动的燃气涡轮发动机

本发明涉及齿轮、制造齿轮的方法和齿轮传动的燃气涡轮发动机。燃气涡轮发动机(10)包括齿轮箱(28),齿轮箱包括太阳齿轮(30)、环形齿轮(32)、多个行星齿轮(34)和托架(36)。太阳齿轮与行星齿轮啮合,行星齿轮与环形齿轮啮合。行星齿轮包括第一环形结构(44)、多个从第一环形结构径向延伸的齿(46)和抵靠并固定到第一环形结构的圆柱形表面(45)的第二环形结构。第一环形结构(44)和齿(46)由钢构成,第二环形结构(48)包括金属基体复合材料,金属基体(50)包括铝、铝合金、钢、钛或钛合金,增强材料(52)包括二硼化钛、碳化钛或氮化钛。第二环形结构减小质量但维持或增加行星齿轮的刚度以承载离心负载并维持行星齿轮的圆度。

标签:
复合材料
其他 - 其他 来源:中冶有色网 2023-03-18
保护性通气件和制备保护性通气件的方法

本发明涉及一种复合材料,其用于具有至少一个载体层和静电纺丝膜的保护性通气件,所述静电纺丝膜设置在所述至少一个载体层上,其中所述静电纺丝膜由彼此重叠而形成多孔结构的叠合纤维组成,由此设计多孔结构,由此,载体层包含单丝织物,将等离子体涂层施加到静电纺丝膜和所述至少一个载体层的单丝织物两者,并且提供连接载体层和膜的粘合。此外,本发明涉及制造本发明保护性通气件的相应方法。

标签:
复合材料
其他 - 其他 来源:中冶有色网 2023-03-18
用于机动车辆的液体容器和用于制造液体容器的方法

本发明涉及用于机动车辆的液体容器,包括存储液体(6)的存储容积(4)和至少一个壳体(8、10),所述壳体(8、10)至少部分界定所述存储容积(4),其中,所述壳体(8、10)至少部分采用注塑成型工艺制造,所述壳体(8、10)包括阻挡膜(12、32)和增强元件(14、34),所述增强元件(14、34)至少部分或完全由热塑性纤维增强复合材料形成;所述壳体(8、10)还包括单部件或多部件支承结构(16、36),所述单部件或多部件支承结构(16、36)至少部分或完全采用注塑成型工艺形成;所述阻挡膜(12、32)整体结合至所述增强元件(14、34),以及所述阻挡膜(12、32)和所述增强元件(14、34)分别整体结合至所述支承结构(16、36)。

标签:
复合材料
其他 - 其他 来源:中冶有色网 2023-03-18
由增强纤维制成的织物基质

本发明涉及用于生产复合材料预制件的由增强纤维制成的织物基质,其包含由至少一个彼此并排和平行排列且通过横向丝线结合的复丝增强纱平层的单向铺设织物,其中热塑性聚合物材料的非织造物排列在至少一个复丝增强纱平层上,所述非织造物与复丝增强纱平层粘结连接。织物基质的特征在于横向丝线具有芯/鞘结构,其具有构成鞘的第一组分和构成芯的第二组分,其中第一组分具有比第二组分更低的熔点,第一组分为可熔热塑性聚合物材料且彼此并排排列的复丝增强纱通过熔体粘合借助横向丝线的第一组分连接在一起。

标签:
复合材料
其他 - 其他 来源:中冶有色网 2023-03-18
铺叠头
铺叠头 777     
 0

本发明提供了一种铺叠头(18),用于将细长纤维增强材料(14)施加到施加表面(12)。铺叠头(18)包括支撑头(20),具有横向轴线T;分配机构(28),由支撑头承载,用于分配细长纤维增强材料(14);以及滚筒(24),用于将细长纤维复合材料(14)压靠在施加表面(12)上。滚筒(24)相对于支撑头(20)可倾斜,使得滚筒轴线R可相对于支撑头(20)的横向轴线成角度。铺叠头(18)还包括保持机构(40),保持机构(40)可操作以将滚筒(24)保持在中心位置,在该中心位置,滚筒轴线R平行于支撑头的横向轴线T。

标签:
复合材料
其他 - 其他 来源:中冶有色网 2023-03-18
端环氧基丁二烯和丁二烯丙烯腈共聚物

本发明公开了一种通过采用端羟基聚丁二烯和端羟基丁二烯丙烯腈共聚物作为起始材料合成制备端环氧基丁二烯和丁二烯丙烯腈共聚物增韧剂的新方法。由该新方法合成的端环氧基丁二烯和丁二烯丙烯腈共聚物相比采用传统方法制备的传统增韧剂具有意想不到的更低粘度,不包含自由环氧基并在抗T‑剥离方面提供良好的改进。采用本发明的方法得到的增韧剂的粘合剂、复合材料和涂料在本发明的范围内。

标签:
复合材料
其他 - 其他 来源:中冶有色网 2023-03-18
用于制动盘的摩擦环、制动盘、以及对应的生产方法

本发明涉及一种具有摩擦环(1)的制动盘(12)、或者涉及一种摩擦环(1),该摩擦环至少在摩擦环的摩擦表面的区域中包含PMMC材料(颗粒金属基复合材料)或者由所述材料构成。本发明的目的是实现减小且可预测的磨损量,以及最优的摩擦阻力和简化的生产过程,根据本发明,实现此目的是在于摩擦环(1)的摩擦表面(2)设有机械地引入的微槽(4),并且这些微槽相对于该摩擦环(1)的周向旋转方向(8)沿径向方向、以不相对于该周向旋转方向成切角的方式延伸。

标签:
复合材料
其他 - 其他 来源:中冶有色网 2023-03-18
具有粘着性的粘合剂以及在木质复合制品中的用途

本发明公开了粘合剂组合物,其用于在固化之前为颗粒(例如制造刨花板时产生的木材颗粒垫子)提供内聚强度。所述粘合剂组合物具有:a)一种或多种生物聚合物和b)一种或多种单体或低聚物。低聚物的聚合度为4或更低。单体/低聚物与生物聚合物的重量比任选地为30:70至80:20。任选地,粘合剂组合物可以与异氰酸酯结合。可以使用粘合剂组合物来制造不添加甲醛的木质复合材料,例如刨花板。

标签:
复合材料
其他 - 其他 来源:中冶有色网 2023-03-18
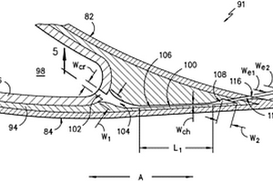
陶瓷基复合翼型冷却
陶瓷基复合翼型冷却 843     
 0

提供了一种用于燃气涡轮发动机的翼型。在一个实施例中,由陶瓷基复合材料形成的翼型包括相对的压力侧和吸力侧,压力侧和吸力侧沿着跨距径向地延伸并且限定翼型的外表面。翼型还包括沿着跨距径向延伸的相对的前缘和后缘。压力侧和吸力侧在前缘与后缘之间轴向地延伸。前缘限定翼型的前端部,后缘限定翼型的后端部。此外,翼型包括在翼型的后端部处邻近后缘限定的后缘部分;限定在后缘部分前方的翼型内的气室;以及限定在邻近吸力侧的后缘部分内的冷却通道。还提供了用于形成用于燃气涡轮发动机的翼型的方法。

标签:
复合材料
其他 - 其他 来源:中冶有色网 2023-03-18
用于注塑成型的植物基材料

本发明提供了一种具有高拉伸强度、具有高弹性模量的植物基材料,其具有低吸水率,其可被注塑成型,并且其可被熔化和重塑。本发明的材料可以是通过挤出混合物而制备的复合材料,所述混合物包含a)由与结构(I)的一个或多个基团O‑连接的细碎的植物部分组成的表面改性的植物部分;b)聚甲基丙烯酸甲酯(PMMA);c)热塑性聚合物。

标签:
复合材料
其他 - 其他 来源:中冶有色网 2023-03-18
电化学元件电极用导电材料分散液、电化学元件电极用浆料组合物及其制造方法、电化学元件用电极以及电化学元件

本发明的目的在于提供电化学元件电极用导电材料分散液,其为导电材料的分散性良好的导电材料分散液,且能够制备电极复合材料层与集流体的粘结性良好的电极、以及能够得到循环特性优异的电化学元件的浆料组合物。本发明的电化学元件电极用导电材料分散液包含导电性碳、聚合物和有机溶剂,所述聚合物为含有10质量%以上且60质量%以下的芳香族乙烯基单体单元和0.1质量%以上且30质量%以下的烯属不饱和腈基单体单元的共聚物。

标签:
复合材料
其他 - 其他 来源:中冶有色网 2023-03-18
用于机动车辆关闭装置的翻板以及制造这样的翻板的方法

本发明涉及一种用于机动车辆关闭装置的关闭翻板(26),特别是用于关闭机动车辆前面的空气入口的装置,包括翻板主体(28),该翻板主体(28)至少部分地由纤维增强复合材料制成,特别是使用连续增强纤维(42、44)的材料。本发明还涉及一种包括这种翻板的机动车辆关闭装置以及制造该翻板和用于机动车辆的该关闭装置的方法。

标签:
复合材料
其他 - 其他 来源:中冶有色网 2023-03-18
二维无定形碳涂层以及使干细胞生长和分化的方法

描述了复合材料,其由设置在基底(金属、玻璃、氧化物)顶部上的原子级薄(单层)无定形碳构成;由其形成的制品及形成所述制品的方法,所述方法包括:分解含碳气体(即甲烷)以产生至少一种经分解物质;以及在所述基底的表面上形成2D无定形碳(2DAC)膜。所述2DAC膜可用作涂层,所述涂层具有由非六方碳环和六方碳环组成的原子结构,具有小于1.0的所述六方碳环与非六方碳环的比值,其中所述涂层是植入体涂层。本公开内容还提供了使干细胞生长和分化的方法,其包括在涂覆有2DAC的基底的表面上设置籽晶层;以及使干细胞培养基中的生长因子吸收到所述涂覆有2DAC的基底的表面上。

标签:
复合材料
其他 - 其他 来源:中冶有色网 2023-03-18
用于空气动力学结构的集成式防雷和电气除冰

本公开涉及用于空气动力学结构的集成式防雷和电气除冰。一种示例方法包括:在基底的表面的至少一部分上形成导电层,其中所述基底包括空气动力学结构的复合材料,并且其中所述导电层被构造成提供导电路径以将由雷击产生的电流传导到电接地位置;在所述导电层上沉积绝缘层;去除所述绝缘层的一个或多个部分,以在所述绝缘层中形成相应间隙并且暴露所述导电层的一个或多个对应部分;以及在所述绝缘层上形成电阻加热器层,使得所述电阻加热器层填充所述绝缘层中的所述相应间隙并且接触所述导电层的所述一个或多个对应部分,使得当向所述导电层提供电力时,所述电力被传递到所述电阻加热器层,由此从所述电阻加热器层中产生热量。

标签:
复合材料
其他 - 其他 来源:中冶有色网 2023-03-18
聚合物中的抗氧化剂稳定剂

本发明涉及硬木木质素、软木木质素和/或草木素作为聚合物中的抗氧化剂稳定剂或聚合物组合物(例如热塑性塑料、热塑性复合材料、热固性材料、涂料、膜、粘合剂、个人护理组合物或其任意组合)的用途。

标签:
复合材料
其他 - 其他 来源:中冶有色网 2023-03-18
混合纳米组合物材料、激光扫描系统及其在立体图像投影中的用途

本发明主要涉及用于立体投影的混合纳米复合材料领域,例如在3D成像(例如娱乐领域或医学领域)中。具体而言,本发明描述了包括至少两种类型的(纳米)粒子和/或不同的分子(量子点、金属纳米粒子、碳纳米管)的二元混合投影基质、用于制造基质的方法、3D投影系统以及包括使用基质的方法。第二种类型的粒子的添加使得可以修改基质的性质,以实现更好的立体投影性能或者产生单个粒子没有的新特征。新的基质还可以降低用于投影的激光器的功率,同时获得与现有基质相等的亮度。

标签:
复合材料
其他 - 其他 来源:中冶有色网 2023-03-18
用于液密密封两个部分重叠的包装部件的装置和方法

本发明涉及一种用于液密密封两个部分重叠的包装部件(11,12)的装置和方法,其中,一个包装部件为管状主体(11),其尤其由纸板/塑料复合材料制成的毛坯形成,并且另一包装部件(12)形成包装头部或包装底部,所述装置具有至少一个心轴(D)和模具(M),其中,心轴(D)具有至少两个膨胀元件(1A,1B,1C,1D),至少两个膨胀元件从其工作位置被朝向彼此地移动到空闲位置中以减小横截面,以便管状主体(11)可容易地滑动,其中,膨胀元件(1A,1B,1C,1D)具有密封颚(2A,2B,2C,2D),密封颚在密封颚的工作位置中形成闭合外围的外轮廓(AK),外轮廓对应于由模具(M)中的开孔(8)所形成的内轮廓(IK),其中,在内轮廓(IK)与外轮廓(AK)之间,留下狭窄的环形间隙,环形间隙用于从内侧向包装部件(11,12)的重叠区域(13)施加压紧力,并且其中,膨胀元件(1A,1B,1C,1D)的每一者可枢转地布置在公共的基部元件(5)上。为了优化膨胀元件的运动学特性和同步性并且为了实现简单的、低磨损的、可靠的、并且容易清洁的设计,通过该设计还可以制造无菌填充的包装,每一膨胀元件(1A,1B,1C,1D)被固定到至少一个抗扭转的刚性的片簧元件(4A,4B,4C,4D),这使得尤其膨胀元件(1A,1B,1C,1D)在空闲位置和工作位置之间精确枢转。

标签:
复合材料
其他 - 其他 来源:中冶有色网 2023-03-18
干混可再分散纤维素长丝/载体产品及其制备方法

本说明书涉及产生包含纤维素长丝(CF)和载体纤维的干混产品以及可再分散纤维素长丝和载体纤维的干混产品的方法,所述方法允许CF保持其在水中的可分散性,并因此保持在使用CF的造纸配料、复合材料或其它材料中的优异强化能力。所述方法包括使从未干燥过的CF的水悬浮液与纤维素纤维纸浆载体混合,然后增稠至合适的浓度,以使得其可在常规装置诸如纸浆机的干燥罐或急骤干燥器中进一步处理和干燥。

标签:
复合材料
其他 - 其他 来源:中冶有色网 2023-03-18
单晶提拉用晶种保持器及使用该装置的硅单晶的制造方法

本发明提供一种能够防止晶种内的应力集中的单晶提拉用晶种保持器以及使用该晶种保持器的安全且可靠性高的硅单晶的制造方法。晶种保持器(1)由碳纤维强化碳复合材料构成,且为具有与大致棒状的晶种(9)的外形相符的形状的空心部(10h)的大致圆筒状部件,至少与晶种(9)的外周面接触的部分的碳纤维(10f)的方向具有周向成分,从空心部(10h)的中心轴(Z)观察时具有各向同性。

标签:
复合材料
其他 - 其他 来源:中冶有色网 2023-03-18
加成‑断裂低聚物
加成‑断裂低聚物 1053     
 0

本发明描述了应用于牙科用修复剂、薄膜、硬质涂层、复合材料、粘合剂和其它经受应力减小的用途的新型应力减小的交联低聚物。交联的加成‑断裂过程引起了链转移的结果,这提供了可另外官能化的新型聚合物。此外,加成‑断裂低聚物包含通过形成离子键或共价键粘结到基底或通过从基底中化学去除一些材料来蚀刻基底的侧基官能团。

标签:
复合材料
其他 - 其他 来源:中冶有色网 2023-03-18
牙科用植入体及其制造方法

本发明提供一种牙科用植入体,其构成为:包括圆柱状芯材和粘附在该芯材的外周面的至少一部分的、包含再结晶化了的磷灰石系陶瓷的被覆层,其中,被覆层是将含有熔点不同的两种以上的磷酸钙系化合物的复合材料,基于磷酸钙系化合物中熔点低的磷酸钙系化合物的熔点,对芯材的外周面进行等离子喷涂而形成的等离子喷涂被覆的水热处理物。该牙科用植入体具备对于咀嚼力可以长期充分承受的强度、与牙龈的早期结合性及亲和性,而且拔出强度也优异。

标签:
复合材料
其他 - 其他 来源:中冶有色网 2023-03-18
运动器械用品的握持构件

本发明涉及用于握持运动器械用品的握持构件,包括由复合材料制成的芯部(2),所述芯部(2)具有包含在聚合物基体中的纤维加强物。握持构件具有包裹所述芯部(2)并且包括交错纺织材料的外层(3),所述交错纺织材料独立于框架、部分地嵌入所述基体中并且在所述握持构件的外表面(4)上从所述基体显露。本发明还涉及用于体操装置的把手(1)以及具有这种握持构件的运动器械用品。最后,本发明涉及用于制造这种握持构件的方法。

标签:
复合材料
其他 - 其他 来源:中冶有色网 2023-03-18
具有可逆交联的基于二烯官能化的(甲基)丙烯酸酯和(杂)狄尔斯-阿尔德亲二烯体的成型件

本发明涉及制备储存稳定的预浸料的方法和以此制备的成型件(复合材料部件)。根据本发明用于制备预浸料的组合物在此含有:A)单体,特别是(甲基)丙烯酸酯和/或苯乙烯,B)至少一种具有含共轭二烯的残基的(甲基)丙烯酸酯,C)具有至少两个亲二烯基团的交联剂,D)至少一种合适的引发剂。另选,替代组分B)和C),或者除了组分B)和C)之外额外地,所述组合物可以含有所述两种组分B)和C)的狄尔斯‑阿尔德反应的产物C)。

标签:
复合材料
其他 - 其他 来源:中冶有色网 2023-03-18
包覆了由母材和粒状材料混合成的受体层的传感器

本发明使用由聚合物等的母材和吸附被检体的粒子组成的复合材料的膜作为受体层。例如,如果将本发明应用于表面应力传感器,通过独立地对吸附期待的被检体的粒子和使该粒子分散于其中的母材进行选择,能够以高自由度来设定对检测灵敏度有很大影响的受体层的杨氏模量。

标签:
复合材料
其他 - 其他 来源:中冶有色网 2023-03-18
用于粘结和生物修复含烃组合物的经表面处理碳酸钙

本发明涉及一种用于粘结和生物修复含烃组合物的经表面处理碳酸钙,一种用于粘结和生物修复含烃组合物的方法,以及经表面处理碳酸钙用于粘结和生物修复含烃组合物的用途,以及一种包含经表面处理碳酸钙和含烃组合物的复合材料。

标签:
复合材料
其他 - 其他 来源:中冶有色网 2023-03-18
为基于环氧化物的涂料组合物提供柔韧性的硅氧烷有机混合材料

本文公开了包括聚硅氧烷增韧剂和氨基官能烷氧基硅烷的基于环氧化物的组合物,其为该组合物提供了柔韧性、硬度和光泽度且可用作涂料、粘合剂、密封剂和复合材料。还公开了固化组合物和用该基于环氧化物的组合物涂覆的基底。

标签:
复合材料
其他 - 其他 来源:中冶有色网 2023-03-18
用于车辆的背梁
用于车辆的背梁 880     
 0

本发明提供一种用于车辆的背梁,该用于车辆的背梁可包括框架和盖部,其中框架由包含纤维的高强度塑料复合材料制成,以及盖部采用插入的框架注射模制以覆盖框架的外侧。

标签:
复合材料
其他 - 其他 来源:中冶有色网 2023-03-18
上一页 511 512 513 514 515 ... 863 下一页
共863页    到第

中冶有色为您提供最新的其他有色金属材料制备及加工技术理论与应用信息,涵盖发明专利、权利要求、说明书、技术领域、背景技术、实用新型内容及具体实施方式等有色技术内容。打造最具专业性的有色金属技术理论与应用平台!

全国热门有色金属设备推荐
展开更多 +
全国热门有色金属技术推荐
展开更多 +

 

江西省隆恩特环保设备有限公司
宣传

报名参会
更多+

报告下载

有色专家
更多+

昆明理工大学
教授
江西省科学院应用化学研究所
副主任/副研究员
云南锡业集团(控股)有限责任公司
副总经理
西北有色金属研究院、中国工程院
院士
中铝郑州有色金属研究院有限公司
正高级工程师/总经理
赤泥综合利用研究报告2025
推广

热门技术
更多+

推荐企业
更多+

福建省金龙稀土股份有限公司
宣传

发布

在线客服

公众号

电话

顶部
咨询电话:
010-88793500-807