青岛垚鑫智能科技有限公司
宣传

位置:中冶有色 >

有色技术频道 >

> 加工技术

分类:
全部
矿山技术
冶金技术
材料制备及加工技术
环境保护技术
分析检测技术
 
全部
功能材料技术
复合材料技术
新能源材料技术
合金材料技术
加工技术
地区:
全部
北京
天津
上海
重庆
河北
山西
辽宁
吉林
黑龙江
江苏
浙江
安徽
福建
江西
山东
河南
湖北
湖南
广东
海南
四川
贵州
云南
陕西
甘肃
青海
内蒙
广西
西藏
宁夏
新疆
其他
其他
展开
 
全部

有色金属加工技术理论与应用

免费发布技术信息>>
锂离子电池正极集电体用铝合金箔及其制造方法

本发明提供了具有优良的抗拉强度和伸长率的锂离子电池正极集电体用铝合金箔及其制造方法。本发明的锂离子电池正极集电体用铝合金箔的特征在于,具有由含有0.003~0.3质量%的Mn、剩余部分为Al和不可避免的杂质构成的组成。在本发明的锂离子电池正极集电体用铝合金箔中,优选抗拉强度为190MPa以上,且伸长率为3.0%以上。

标签:
加工技术
其他 - 其他 来源:中冶有色网 2023-03-18
电解二氧化锰及其制造方法、以及锂锰系复合氧化物的制造方法

本发明提供一种电解二氧化锰,其BET比表面积为20~60m2/g,细孔直径为2~200nm的细孔的容积至少为0.023cm3/g。此外,提供一种电解二氧化锰的制造方法,在具有使锰氧化物悬浮在硫酸-硫酸锰混合溶液中的工序的电解二氧化锰的制造方法中,将锰氧化物颗粒连续混合到硫酸-硫酸锰混合溶液中,使得硫酸-硫酸锰混合溶液中的锰氧化物颗粒的浓度为5~200mg/L。还提供一种锂锰系复合氧化物的制造方法,其具有将上述电解二氧化锰与锂化合物混合进行热处理得到锂锰系复合氧化物的工序。

标签:
加工技术
其他 - 其他 来源:中冶有色网 2023-03-18
锂离子电芯制备方法
锂离子电芯制备方法 996     
 0

本发明公开了一种锂离子电芯制备方法,其步骤包括:1)涂布:沿着集流体卷料的放卷方向进行涂布,涂布区域为一条或多条,每一条涂布区域的两个侧边均留有用作极耳成型部分的未涂布区域;2)压实;3)极片切割成型;4)制备单电芯和半电芯;5)阶梯型裸电芯堆叠;6)热压成型。与现有技术相比,本发明锂离子电芯制备方法通过涂布区域和未涂布区域的合理设置,实现了倒圆角与极耳的连续成型,保证了生产的流畅与高效,使生产效率不会因电芯的形状特殊而大幅降低,因此特别适用于生产各种与不规则空间形状相匹配的锂离子电池电芯。

标签:
加工技术
广东 - 东莞 来源:中冶有色网 2023-03-18
磷酸铁锂-改性导电碳黑复合电极材料的制备方法

本发明涉及储能和动力电池材料技术领域,具体涉及一种磷酸铁锂-改性导电碳黑复合电极材料的制备方法,包括(1)将普通导电炭黑退火处理后,再在强氧化剂中氧化处理制得改性导电炭黑,和(2)制备磷酸铁锂-改性导电碳黑复合电极材料。本发明通过添加改性SP,易于分散,使合成的磷酸铁锂-改性导电碳黑复合电极材料比表面小,利于电池制备。

标签:
加工技术
浙江 - 金华 来源:中冶有色网 2023-03-18
从硫酸钠亚型盐湖联合提取钾镁肥、硼酸和碳酸锂的方法

本发明提供了一种从硫酸钠亚型盐湖联合提取钾镁肥、硼酸和碳酸锂的方法。该方法将原卤采用盐田法蒸发除去部分钠盐;经酸化萃取、蒸发冷冻工艺提取硼酸;萃余液经蒸发-冷冻工艺提取硫酸钾镁肥;提钾母液采用沸石离子交换法进行二次提钾;二次提钾母液经净化除杂、蒸发浓缩除去钠后,采用碳酸钠沉淀法制备碳酸锂;提锂母液返回循环利用。采用这种分阶段、多种方法结合的提取工艺,实现了有价成分的分步有序提取。该方法具有工艺简单、资源利用率高、产品质量好、环保等优点。

标签:
加工技术
河南 - 郑州 来源:中冶有色网 2023-03-18
改性复合锰酸锂正极材料及其制备方法

本发明公开了一种改性复合锰酸锂正极材料,其特征在于,由下列重量份的原料制成:锰酸锂500、氧化锌2-3、钼酸铵1-2、二氧化硅2-3、铝粉1-2、改性银粉4-5、水适量;本发明添加改性银粉,使锰酸锂材料质量稳定,性能均一,具有良好的高温循环型;本发明具有无毒、无污染、安全性能好、原材料来源广泛、价格便宜,寿命较长等优点,适合工业化生产。

标签:
加工技术
安徽 - 合肥 来源:中冶有色网 2023-03-18
正极耳、软包锂离子电池和正极耳的制造方法

本发明公开了一种正极耳、软包锂离子电池和正极耳的制造方法。软包锂离子电池包括软包装外壳和正极耳,软包装外壳的正极耳插口与正极耳通过正极耳贴附的极耳胶压合密封;正极耳包括铝带和镍带,铝带的上端与镍带的下端搭接,镍带的中部包括极耳的密封区,镍带密封区部位的上下表面各贴附1层极耳胶;极耳胶向下延伸到铝带与镍带搭接部位的前后表面,并超过镍带的下端,极耳胶的宽度大于铝带的宽度。本发明的正极耳强度高,装配后不需要弯折,可以节省人工成本,提高产品合格率,正极耳占用电池厚度小,有利于提高电池容量,降低软包锂离子电池的厚度。

标签:
加工技术
广东 - 惠州 来源:中冶有色网 2023-03-18
合成钛酸锂纳米微球的制备方法

本发明提供一种锂离子电池负极材料钛酸锂纳米微球的制备方法。制备方法包括如下步骤:将二氧化钛与水或有机溶剂混合,采用喷雾造粒后得到TiO2纳米微球,将所得TiO2纳米微球进行热处理后与锂盐混合,经高温处理得到Li4Ti5O12纳米微球。本发明与现有技术相比,采用本发明制备出的Li4Ti5O12纳米微球,其一次颗粒为纳米颗粒,二次颗粒具有球形或类球形的微观特征,兼具纳米材料和微米材料的优点,离子扩散和电子传导路径短;而且材料热力学稳定易于应用,加工性能较好,所制备材料倍率性能良好并且循环性能优异。另外,该发明,所需原材料廉价、工艺流程简单;适合工业化生产。

标签:
加工技术
北京 - 北京 来源:中冶有色网 2023-03-18
提高方形锂离子二次电池安全性能的方法

本发明涉及一种提高方形锂离子二次电池安全性能的方法,该电池由含锂复合氧化物的正极、嵌锂碳材料的负极、采用聚乙烯隔膜进行卷绕,注入电解液组成;其特征是在负极表面涂覆无机氧化物涂层;所述无机氧化物涂层由无机氧化物及粘结剂混合为涂层溶液。具体步骤如下:将无机氧化物和负极粘结剂匀速搅拌2~4小时,并将其均匀的涂覆到负极表面上,静置30~60秒,在80~110℃条件下进行烘干。通过对电池的负极表面涂覆氧化物涂层来达到降低活性电极表面与电解液的反应,同时也减少了自放电;尤其在滥用高温下,电池内部隔膜被熔融时,该氧化物涂层的存在,起到很好的隔离作用,减少了电池正负极短路的机会,有效提高了电池的安全可靠性。

标签:
加工技术
天津 - 天津 来源:中冶有色网 2023-03-18
≤12μm高精度锂电池用电解铜箔及其制备方法

本发明涉及电解铜箔,特别是一种≤12μm高精度锂电池用电解铜箔及其制备方法。该铜箔的毛面粗糙度≤0.40μm。制备方法中包括含铜量为50-90g/l、含酸量为60-100g/l电解液,在35-55℃的条件下进行电解,该电解液中加入有机混合添加剂,该有机混合添加剂包括聚二硫丙烷磺酸钠、聚乙二醇(分子量600)、2-巯基苯骈咪唑、乙撑硫脲、甲基紫、甲基蓝;该有机混合添加剂的添加量是每小时3-4个单位。本发明所利用添加剂原先主要用于电镀工艺,用以提高表面平整度,通过在电解铜箔的制备方法中加入此种添加剂,使得电解铜箔的毛面表面粗糙度降低至与光面表面粗糙度接近的水平,有利于锂电池制造中的应用,提高了锂电池的质量。

标签:
加工技术
上海 - 上海 来源:中冶有色网 2023-03-18
外壳具备隔热阻燃结构的锂电池

本实用新型公开了一种外壳具备隔热阻燃结构的锂电池,包括锂电池,所述锂电池的表面套设有绝缘层,所述绝缘层的表面粘贴有散热盒,所述散热盒的内部填充有第一导热层,所述散热盒的内部填充有位于第一导热层底部的第二导热层,所述散热盒的外侧贴合有隔热层。本实用新型通过在锂电池的表面套设一层橡胶层,贴合完毕后再在隔热层的表面贴合一层防割层,通过防割层对锂电池进行防护,最后套设一层防水薄膜对水渍进行去除,从而具备了高效阻热隔燃的优点,解决了现有的锂电池在外部环境过热的时候容易出现损耗过大导致电致受到损害,并且热量多大会使锂电池出现膨胀自燃的现象,降低了锂电池使用性能的问题。

标签:
加工技术
广东 - 深圳 来源:中冶有色网 2023-03-18
锂电池磁吸机构
锂电池磁吸机构 961     
 0

本实用新型公开了一种锂电池制造技术领域的锂电池磁吸机构,旨在解决现有技术中将锂电池取出时容易造成锂电池的热缩套破皮,影响最终锂电池产品的合格率等问题,其包括主体、柔性保护套、以及利用自身磁力吸取锂电池的磁铁组件;所述主体上开设有磁吸口;所述柔性保护套套设于所述磁吸口上,并与所述磁吸口形成有空腔;所述磁铁组件设于所述空腔内,并能够沿靠近或远离所述柔性保护套的方向运动。本实用新型方便一次性可以取出更多的锂电池,并且在主体外侧套设有柔性保护套,避免了与电池的直接接触,提升了最终锂电池产品的合格率。

标签:
加工技术
江苏 - 淮安 来源:中冶有色网 2023-03-18
磷酸铁锂电芯的保护结构

本实用新型属于锂电芯保护技术领域,公开了一种磷酸铁锂电芯的保护结构,包括保护壳及其顶部的顶盖,且保护壳的内部可放置多个锂电芯,所述保护壳的两侧外壁上均开设有第一限位槽,所述顶盖的两侧内壁上均滑动安装有限位块,且每个限位块均可与一个第一限位槽配合,所述顶盖的底部滑动设置有两个夹块,本实用新型通过在顶盖的底部设置两个可滑动的夹块,保护壳内装满锂电芯后,两个夹块分别位于边缘的两个锂电芯侧部,锂电芯完成运输从保护壳内取出时,通过令两个夹块相向移动,将所有锂电芯夹紧,再将顶盖从保护壳上拆下,即可将所有锂电芯一次性取出,节约时间和精力,给工作人员带来便利。

标签:
加工技术
广东 - 惠州 来源:中冶有色网 2023-03-18
低温环境使用的锂电池系统

一种低温环境使用的锂电池系统,它涉及锂离子电池技术领域。铝盒内安装有环氧树脂板,环氧树脂板上设置有锂电池组、太阳能控制器、BMS电池管理模块,锂电池组上安装有加热片,加热片上设置有正极接线端与负极接线端,正极接线端与负极接线端通过导线与BMS电池管理模块相连接,BMS电池管理模块分别与锂电池组、太阳能控制器电性连接。本实用新型修改了太阳能控制器充电原理,即改成提供一个稳定输出的电压电流,充电最高电压值和锂电池组充电电压一致,保障锂电池组电压,又保证加热片电压,太阳能控制器不再判断高于锂电池组充电电压时切断电路,只做限流工作,整体实用性强,具有较大的市场推广价值。

标签:
加工技术
广东 - 深圳 来源:中冶有色网 2023-03-18
防爆阻燃锂电池
防爆阻燃锂电池 716     
 0

本实用新型提供一种防爆阻燃锂电池,包括第一壳体和第二壳体,所述第一壳体与第二壳体之间栓接,所述第一壳体和第二壳体的内部设置有锂电池块,所述第一壳体和第二壳体的顶部设置有密封盖,且密封盖的左侧与第一壳体之间铰接,所述密封盖的右侧安装有固定扣。本实用新型具备能够有效提高锂电池使用过程中的安全性,在锂电池发生燃烧或者爆炸时,能够对周围的使用者进行防护,提高锂电池的使用寿命的优点,解决了现有的锂电池在使用过程中不具备防爆阻燃功能,当锂电池在使用时受到挤压、碰撞或者遇到其他意外情况导致短路,会使锂电池发生燃烧,甚至发生爆炸,威胁使用者的人身安全的问题。

标签:
加工技术
江苏 - 扬州 来源:中冶有色网 2023-03-18
有自我保护装置的高倍率锂离子电池

本实用新型公开了一种有自我保护装置的高倍率锂离子电池,包括锂离子电池本体和自我保护机构,所述锂离子电池本体与所述自我保护机构相连,通过锂离子电池本体和自我保护机构构成本实用新型的主体结构,其中锂离子电池本体可进行充放电,通过下保护壳体和上保护壳体对锂离子电池本体进行固定,通过内壳体、外壳体和连接组件构成组成下部自我防护部分,其空腔和连接组件可抵御一定扩张力,通过第一支撑组件、环形支撑件和第二支撑组件组成上部防护部分,可通过形变抵御一定扩张力,既对锂离子电池本体产生较好的支撑作用,又可有效保证锂离子电池本体的扩张空间,避免挤压爆炸,具有防膨胀、防爆炸和安全性高的特点。

标签:
加工技术
江苏 - 盐城 来源:中冶有色网 2023-03-18
锂电池组用固定装置
锂电池组用固定装置 726     
 0

本实用新型公开了一种锂电池组用固定装置,包括成型支架、壳子底盘、六角螺母柱、锂电池组固定螺母、支架紧固螺栓、锂电池、壳子底盘螺纹柱和减震组件,所述壳子底盘设于减震组件上,所述成型支架设于壳子底盘上,所述锂电池设于成型支架之间,所述六角螺母柱贯穿成型支架和锂电池设置,所述支架紧固螺栓设于六角螺母柱上,所述壳子底盘螺纹柱设于壳子底盘上,所述壳子底盘螺纹柱贯穿成型支架设置,所述锂电池组固定螺母设于壳子底盘螺纹柱上,本实用新型属于锂电池技术领域,具体是指一种锂电池组用固定装置。

标签:
加工技术
山东 - 枣庄 来源:中冶有色网 2023-03-18
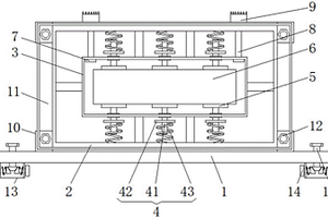
锂电池短路测试装置
锂电池短路测试装置 860     
 0

本实用新型公开了一种锂电池短路测试装置,包括外防护罩和顶盖。有益效果:在进行锂电池短路测试时,可将锂电池装入到安装座中,向内转动手柄螺栓,带动夹持板夹住锂电池,而后使用钳子将铜棒弯折成U型,便于连接锂电池阴极触片和阳极触片,形成短路,准备完备后,工作人员可撤退到一边,远离外防护罩,远程启动电推杆伸长,推动顶盖盖在外防护罩顶面,同时,带动U型的铜棒接触锂电池阴极触片和阳极触片,完成短路连接,电池在这一过程中,可能会发生爆炸或者燃烧,外防护罩避免锂电池爆炸导致零件飞散伤害检测人员,同时,外防护罩避免锂电池起火导致火势蔓延,起到了良好的防护作用,避免了安全事故,保证了人身安全。

标签:
加工技术
广东 - 广州 来源:中冶有色网 2023-03-18
具有自保功能的锂电池模组

本实用新型公开了一种具有自保功能的锂电池模组,涉及锂电池模组技术领域,包括壳体,所述壳体内部一侧设有固定架,所述固定架内部设有锂电池电芯,所述壳体内部设有散热组件,所述散热组件包括固定板和分隔板,所述固定板内壁开设有排气孔,所述排气孔的数量设置为多个,所述固定板外壁远离固定架一侧设置有散热风扇。本实用新型通过散热组件的风冷和水冷的设置相互配合,可以将锂电池芯产生的热量带走,同时均衡各锂电池电芯单体之间的温度,有效提高锂电池模组的散热效率,同时减震组件对固定架进行安装固定,并对其进行减震,满足了锂电池模组在不同道路的运输,提高了锂电池模组的使用寿命以及稳定性。

标签:
加工技术
山东 - 枣庄 来源:中冶有色网 2023-03-18
改进型锂电池
改进型锂电池 742     
 0

本实用新型公开了一种改进型锂电池,包括壳体和锂电池组;壳体包括中空上盖、中空下盖,中空下盖的外壁固定连接有橡胶垫圈;锂电池组包括若干个单体锂电池和多个电池连接片,两个相邻的单体锂电池之间通过电池连接片连接;壳体内还设有过压保护电路,该过压保护电路包括电压采集电路、电压比较电路、保险丝和保护开关,保险丝一端连接外部电源的正极,另一端连接在锂电池组的正极端,电压采集电路的输入端连接单体锂电池,输出端连接电压比较电路的输入端,电压比较电路的输出端连接保护开关的控制端,保护开关的输入端连接保险丝的一端。本实用新型能够有效保护锂电池的充电,更加安全可靠;通过橡胶垫圈阻挡水的进入,达到较好的防水效果。

标签:
加工技术
广东 - 深圳 来源:中冶有色网 2023-03-18
锂电池激光焊接夹具
锂电池激光焊接夹具 796     
 0

本实用新型涉及动力电池制造领域,目的是提供一种锂电池激光焊接夹具。一种锂电池激光焊接夹具,包括底座,所述底座上设有用于定位锂电池的电芯的电芯定位结构,底座上还设有供锂电池的盖板以内侧面向上的方式定位放置并使盖板位于锂电池的转接片下方的定位凹槽,锂电池激光焊接夹具还包括用于遮盖锂电池的防护板,所述防护板上设有供激光穿过以焊接转接片和盖板的避让槽。护板可以有效阻挡激光焊接产生的飞溅金属屑,避免金属屑溅到锂电池电芯上,防护板上的镂空避让槽能够让激光顺利穿过,定位凹槽可以固定盖板的位置,使得焊接定位更准确。

标签:
加工技术
河南 - 洛阳 来源:中冶有色网 2023-03-18
磷酸铁锂电池包
磷酸铁锂电池包 1183     
 0

本申请涉及一种磷酸铁锂电池包,包括磷酸铁锂电池包壳体、电池组、电池管理芯片、电源装置和监测装置。所述电池组、所述电池管理芯片、所述电源装置和所述监测装置设置于所述磷酸铁锂电池包壳体的内部。所述电池组存储和传输电能,并同时与所述电池管理芯片、所述电源装置电连接。所述电池管理芯片采集所述电池组的电压和温度。所述电源装置和所述电池管理芯片电连接,为所述电池管理芯片传输电能。所述监测装置与所述电池管理芯片电连接,监测所述磷酸铁锂电池包的工作状态和发出警报。本申请提供的磷酸铁锂电池包,通过自带的监控装置监测磷酸铁锂磷酸铁锂电池包的工作状态并可及时发出警报,提高了传统磷酸铁锂电池使用的安全性。

标签:
加工技术
广东 - 深圳 来源:中冶有色网 2023-03-18
圆柱型锂电池燃爆实验专用夹具

本实用新型公开了一种圆柱型锂电池燃爆实验专用夹具。包括耐高温夹板、可移动式夹辊、绝热处理的锂电池夹块、紧固螺栓,可移动式夹辊上设置有多个绝热处理的锂电池夹块,每个锂电池夹块上均设置有四个绝缘夹点,锂电池夹块之间夹持有圆柱形锂电池,可移动式夹辊设置在耐高温夹板上,两个可移动式夹辊外端通过紧固螺栓固定连接。该夹具可实现单个及多个圆柱形锂电池的稳定夹持,耐热、耐爆炸冲击、锂电池间绝热安装,所夹持电池位置与间距任意可调。

标签:
加工技术
四川 - 德阳 来源:中冶有色网 2023-03-18
用于锂电子电池的防水封装结构

本实用新型公开了一种用于锂电子电池的防水封装结构,包括锂电子电池本体,所述锂电子电池本体的顶部固定连接有电极,所述锂电子电池本体的表面套设有密封层,所述密封层包含有氯丁橡胶层,氯丁橡胶层的顶部固定连接有聚氯乙烯层,聚氯乙烯层的顶部固定连接有聚氨酯层。本实用新型通过电极、密封层、第一固定壳、第二固定壳、腔体、横杆、活动板、弹簧、卡块、卡槽、氯丁橡胶层、聚氯乙烯层、聚氨酯层、聚异丁烯层和连接块的配合使用,解决了现有锂电子电池的防水封装结构密封性差的问题,该锂电子电池的防水封装结构具备密封性好的优点,可以有效的防止水分接触锂电子电池,提高了锂电子电池的防水封装结构的实用性。

标签:
加工技术
广东 - 惠州 来源:中冶有色网 2023-03-18
新型超薄式锂电池
新型超薄式锂电池 827     
 0

本实用新型涉及一种新型超薄式锂电池,包括壳体,所述壳体上对称设有通孔,所述通孔内腔设有导向管,所述导向管内腔设有电极柱,所述导向管与电极柱之间设有套管,所述导向管外侧均通过螺纹连接有螺母,且所述螺母与壳体顶部活动连接,所述通孔下方设有锂电池本体,且所述锂电池本体与壳体内腔顶部固定连接,所述锂电池本体顶部对称设有正电极与负电极,且所述正电极与负电极均套设于导向管内,所述正电极与负电极分别通过弹性导电片与电极柱连接,所述锂电池本体外侧套装有缓冲套,结构简单,设计合理,能够对锂电池进行有效地保护,避免震动或掉落对锂电池造成伤害,同时能够对锂电池进行良好散热。

标签:
加工技术
江苏 - 苏州 来源:中冶有色网 2023-03-18
锂电池防爆铝壳
锂电池防爆铝壳 1039     
 0

本实用新型涉及防爆装置技术领域,且公开了一种锂电池防爆铝壳,包括固定板,所述固定板的顶部固定安装有外铝壳,所述外铝壳的内腔设置有内铝壳,所述内铝壳内腔的顶部和底部均活动套装有三个缓冲装置,所述缓冲装置的顶部固定套装有压实块,所述压实块的顶部放置有锂电池,所述内铝壳内腔顶部的两侧均固定连接有吸热块,且吸热块的顶部固定连接有导接杆。该锂电池防爆铝壳,通过缓冲装置和压实块的配合使用,使得该装置能够对锂电池进行缓冲和保护,同时便于对锂电池进行挤压固定,避免了锂电池在使用的过程中受到碰撞或挤压,进而使得锂电池发生爆炸,提高了锂电池的使用寿命和安全性。

标签:
加工技术
广东 - 深圳 来源:中冶有色网 2023-03-18
锂电池测试工装
锂电池测试工装 746     
 0

本实用新型公开了一种锂电池测试工装,包括固定平台,所述的固定平台包括基板,所述的基板的一侧边垂直设置有竖板,所述的竖板上垂直布置有探针,所述的探针的内端与锂电池的正负极极柱对应,所述的探针的外端与电流电压线束连接,所述的基板上布置有热电偶。将锂电池放置于固定平台上,然后锂电池与竖板贴靠,使得锂电池的正负极极柱对准探针接触,探针的另一端通过电压电流线束与检测柜连接,及时监测锂电池的电压电流变化;锂电池的底面与热电偶也贴靠,热电偶通过信号线与检测柜进行连接,通过热电偶可以监测锂电池在充放电过程中表面温度变化情况。

标签:
加工技术
安徽 - 合肥 来源:中冶有色网 2023-03-18
带有快速组合连接机构的锂电池组

本实用新型公开了一种带有快速组合连接机构的锂电池组,包括固定底座,所述固定底座顶端等距开设有固定槽,所述固定槽内壁等距开设有挤压槽,所述挤压槽内壁顶端一侧开设有收纳槽,所述挤压槽内壁两端边部均开设有限位滑槽,所述挤压槽内壁侧面安装有挤压弹簧,所述挤压弹簧一端连接有挤压板,所述固定槽内部放置有锂电池,所述锂电池顶端安装有限位板,所述限位板顶端两侧均开设有连接槽,通过固定槽、挤压槽、收纳槽、限位滑槽、挤压弹簧和挤压板,可以对锂电池进行挤压固定,通过对锂电池进行挤压固定,可以防止锂电池在焊接时出现晃动的现象,有利于降低锂电池组的焊接安装难度,提高工作人员焊接安装锂电池组的速度。

标签:
加工技术
河北 - 保定 来源:中冶有色网 2023-03-18
聚合物锂离子电池改良连接结构

一种聚合物锂离子电池改良连接结构,包括锂电池,所述锂电池通过连接扣连接,所述连接扣包括连接板,所述连接板的两端滑动连接有伸缩插板,所述锂电池上固定设有插板固定滑轨,所述伸缩插板滑动插入在插板固定滑轨内,所述伸缩插板上贯穿插有固定螺栓,本实用新型在连接锂电池的时候,可以先将两个锂电池靠在一起,将连接板的两端分别对准两个锂电池的插板固定滑轨,然后滑动连接板两端的伸缩插板,将伸缩插板插入插板固定滑轨并用固定螺栓固定即可,通过插板固定滑轨和伸缩插板的设置,可以增加连接板和锂电池之间连接的稳定性。

标签:
加工技术
湖北 - 黄冈 来源:中冶有色网 2023-03-18
多防护安全锂电池
多防护安全锂电池 733     
 0

本实用新型公开了一种多防护安全锂电池,包括金属外壳体、充放电保护板、由若干个单体锂电池电芯以及用于固定单体锂电池电芯的支架组成的锂电池组,锂电池组设置于金属外壳体内,所述锂电池组连接至充充放电保护板,其特征在于:锂电池组内置于塑料盒内,塑料盒内设置有导热油,塑料盒上包裹有陶瓷纤维层覆,塑料盒的上端覆盖有盖板,盖板的上表面固定所述充放电保护板。本实用新型通过设置金属外壳体进行强化加固,避免电池变形,通过设置陶瓷纤维层提高高温防火能力,并将锂电池组沉浸在导热油内,不仅可以提高散热效果,并且可以隔绝空气,从而提高防爆能力。

标签:
加工技术
江苏 - 南通 来源:中冶有色网 2023-03-18
上一页 5016 5017 5018 5019 5020 ... 6681 下一页
共6681页    到第

中冶有色为您提供最新的有色金属加工技术理论与应用信息,涵盖发明专利、权利要求、说明书、技术领域、背景技术、实用新型内容及具体实施方式等有色技术内容。打造最具专业性的有色金属技术理论与应用平台!

全国热门有色金属设备推荐
展开更多 +
全国热门有色金属技术推荐
展开更多 +

 

江西省隆恩特环保设备有限公司
宣传

报名参会
更多+

报告下载

有色专家
更多+

中南大学
中国工程院 院士
昆明理工大学
校长
中国矿业大学(北京)
教授
长沙矿冶院检测技术有限责任公司
总经理
中南大学
教授
赤泥综合利用研究报告2025
推广

热门技术
更多+

推荐企业
更多+

福建省金龙稀土股份有限公司
宣传

发布

在线客服

公众号

电话

顶部
咨询电话:
010-88793500-807