青岛垚鑫智能科技有限公司
宣传

位置:中冶有色 >

有色技术频道 >

> 加工技术

分类:
全部
矿山技术
冶金技术
材料制备及加工技术
环境保护技术
分析检测技术
 
全部
功能材料技术
复合材料技术
新能源材料技术
合金材料技术
加工技术
地区:
全部
北京
天津
上海
重庆
河北
山西
辽宁
吉林
黑龙江
江苏
浙江
安徽
福建
江西
山东
河南
湖北
湖南
广东
海南
四川
贵州
云南
陕西
甘肃
青海
内蒙
广西
西藏
宁夏
新疆
其他
其他
展开
 
全部

有色金属加工技术理论与应用

免费发布技术信息>>
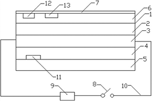
智能液晶调光膜
智能液晶调光膜 854     
 0

本实用新型公开了一种智能液晶调光膜,包括液晶调光膜本体,所述液晶调光膜本体包括第一透明基材保护层、第一透明基材导电层、液晶聚合物层、第二透明基材导电层、第二透明基材保护层,所述第一透明基材保护层内设置有蓝牙接收模块和信息处理模块,所述第二透明基材导电层的内部设置有PLC控制器,且所述第一透明基材保护层的外侧设置有太阳能电池板层;通过在液晶调光膜本体的外侧设置太阳能电池板层,不仅能够对液晶调光膜起到保护的作用,还能收集太阳能并转换为电能储存在锂聚合物电池组内,供系统使用,节省大量电能;在液晶调光膜本体内部设置蓝牙接收模块,可以通过手机蓝牙控制液晶调光膜的打开和关闭,方便人们的使用。

标签:
加工技术
广东 - 深圳 来源:中冶有色网 2023-03-19
电芯防反装装置
电芯防反装装置 1005     
 0

本实用新型涉及一种电芯防反装装置,其包括接触顶针,至少两个所述接触顶针的各一端通过电线连接,并且在所述电线的线路中串联有发光二极管。本实用新型设置接触顶针,并且在至少两个接触顶针的各一端通过电线将接触顶针连接,在电线线路中设置发光二极管,当与发光二极管正极连接的接触顶针接触电芯正极,同时与发光二极管负极连接的接触顶针接触电芯负极,发光二极管亮灯,否则发光二极管灭灯,以此实现对锂电池正反装的精确检测,以便及时纠正反装电芯。该实用新型结构简单、操作方便,使组装后的动力电池报废率大幅降低,节约动力电池的生产成本。

标签:
加工技术
广东 - 深圳 来源:中冶有色网 2023-03-19
正极片及含有该正极片的叠片电芯

本实用新型属于锂离子电池技术领域,尤其涉及一种正极片包括正极集流体和涂覆于正极集流体的正反两面的正极活性物质层,正极活性物质层边缘区域的厚度薄于中间区域的厚度。另外,本实用新型还提供一种叠片电芯,包括正极片、负极片以及间隔设置于所述正极片和所述负极片之间的隔膜,所述正极片为本实用新型所述的正极片。相比于现有技术,本实用新型的正极片避免了尖角刺破隔膜的风险,从而改善了叠片电芯的自放电问题。

标签:
加工技术
湖南 - 株洲 来源:中冶有色网 2023-03-19
双自耗旋转电极电弧等离子体合成硅碳材料的装置

本实用新型提出一种双自耗旋转电极电弧等离子体合成硅碳材料的装置,包括容器、2个自耗电极夹头、2个集流棒、2个接触电刷、2个绝缘连接轴套、2个伺服电机;所述容器包括圆柱形反应腔体,反应腔体侧壁上对称设置2个集流棒的绝缘轴封,集流棒的一端连接位于反应腔体内的自耗电极夹头,另一端通过绝缘连接轴套与伺服电机连接,绝缘连接轴套设置在轴承座上;2个集流棒分别通过2个接触电刷连接到直流电源的两极;其中一个伺服电机与一个轴承座设置在移动机架上。本实用新型提出的装置,结合了旋转电极雾化金属粉末的原理和直流电弧等离子体制备纳米粉体技术的原理,可用于制备锂离子电池硅碳负极材料,工艺简单,适合工业化生产。

标签:
加工技术
北京 - 北京 来源:中冶有色网 2023-03-19
蓝牙拨杆鼠标
蓝牙拨杆鼠标 1217     
 0

一种蓝牙拨杆鼠标,包括鼠标主体壳、蓝牙单元、微型控制拨杆、第一切换按钮、第二切换按钮、控制芯片、鼠标控制主板,电脑端接收器、锂电池,所述鼠标控制主板设置在鼠标主体壳内部,所述第一切换按钮、第二切换按钮均设置在鼠标主体壳侧边,并且均与控制芯片电连接,所述鼠标主体壳顶层设有拨杆孔,所述微型控制拨杆穿过拨杆孔与控制芯片电连接,本实用新型基于一种4.0蓝牙传输的无线鼠标,鼠标主体外侧设置有第一切换按钮和第二切换按钮,实现当按下切换按钮时,鼠标能够对应控制不同的电脑鼠标指针,实现一个鼠标控制同时控制多台电脑鼠标指针。

标签:
加工技术
广东 - 深圳 来源:中冶有色网 2023-03-19
青少年机器人赛车计时记分系统

本实用新型公开了一种青少年机器人赛车计时记分系统,包括开始部分和结束部分两大模块;开始部分采用7.4V锂电池供电,包括第一AVR单片机模块、第一超声波模块、清零按键、蓝牙发送模块、LED指示灯和电源模块;结束部分采用5V/1A开关电源供电,包括第二AVR单片机模块、第二超声波模块、蓝牙接收模块、蜂鸣器模块、6位LED显示模块、红外遥控接收模块;所述第二AVR单片机模块由单片机A和单片机B构成,所述单片机A和单片机B的PA0、PA1和PA2分别连接,单片机A作为输出、单片机B作为输入。本实用新型模块化设计合理,集成度高,性能稳定,经过测试和使用,能够达到完美的计时记分效果。

标签:
加工技术
上海 - 上海 来源:中冶有色网 2023-03-19
应急式新能源汽车充电桩

本实用新型公开了一种应急式新能源汽车充电桩,包括立柱、位于所述立柱底端的底座,所述立柱顶部安装有充电机,所述立柱正面设置有嵌入所述立柱内部且可拆卸的应急充电小车;所述应急充电小车包括贴合所述立柱表面的防护背板,所述防护背板位于所述立柱外侧表面设置有拉手,所述防护背板底部安装有两组车轮,所述防护背板朝向所述立柱一侧安装有电池支架;有益效果在于:本实用新型通过在所述立柱上设置可拆卸移动的所述应急充电小车,可通过将所述应急充电小车取下后移动至车辆处,通过所述锂电池组对车辆进行充电,以便在车辆电能耗尽时进行快速的电能补充,使用方便,操作简单。

标签:
加工技术
福建 - 福州 来源:中冶有色网 2023-03-19
轧机排杂强制润滑机构

本实用新型公开了一种轧机排杂强制润滑机构,包括轧机轴承座,及安装于轧机轴承座内侧的轴承,及安装于轴承端部的油封,还包括全封闭的油箱;所述油箱顶部设置有进油塞;所述油箱内侧设置有出油管;所述出油管连接到抽油泵;所述抽油泵输出端连接到直通油管;所述直通油管连接到轴承润滑点;所述直通油管上设置有调压阀和压力表;至少有一侧所述油封为开口式油封。本实用新型的轧机排杂强制润滑机构具有以下优点:增加稀油润滑系统,既能够减少锂基脂的使用,一旦轧机运行中发现轴承损坏,导致铁沫或铜沫出现,油封的改进可使杂物溢出,避免轧钢机轴承烧坏。

标签:
加工技术
山东 - 德州 来源:中冶有色网 2023-03-19
充电式恒温手环
充电式恒温手环 930     
 0

本实用新型公开了一种充电式恒温手环,包括控制壳体,所述控制壳体的外壁一侧镶嵌有充电接口,所述控制壳体的内壁左侧固定连接有变压器,所述控制壳体的内壁底端固定连接有锂电池组,所述控制壳体的外壁两端对称设置有铰链块。该充电式恒温手环,在温控开关的作用下对加热组件内的陶瓷加热片进行控制,达到恒温加热的效果;通过该手环套在水杯的外侧,由搭扣子端与搭扣母端的配合使用,达到对水杯内的液体进行加热的效果;该加热组件内的铝合金散热片配合导热硅胶片,有利于提高手环恒温加热的效果;该加热组件的背面连接有耐热橡胶板和医用硅胶片,能够有效的避免烫伤操作人员,提高了使用过程中的安全性。

标签:
加工技术
福建 - 福州 来源:中冶有色网 2023-03-19
激光切割装置和激光切割系统

本实用新型提供一种激光切割装置和激光切割系统,涉及锂电池制造技术领域,该激光切割装置包括切割室、入料辊、出料辊、切割托板、激光切割件和金属吸附带组件,入料辊设置在切割室的上方,出料辊设置在切割室的下方并与入料辊平行设置,切割托板设置在切割室内,激光切割件设置在切割室外并与切割托板相对设置,用于切割抵持在切割托板上的极片,金属吸附带组件与出料辊传动连接并伸入切割室内,用于吸附切割产生的废料并送出切割室。相较于现有技术,本实用新型提供的激光切割装置,能够及时吸附住切割产生的废料,防止废料自由无约束状态抖动影响切割,提高切割极耳的稳定性。

标签:
加工技术
广东 - 深圳 来源:中冶有色网 2023-03-19
用于汽车电池的加热片

本实用新型提供了一种用于汽车电池的加热片,包括上层导热绝缘层、第一粘接层、发热元件、第二粘接层和下层导热绝缘层;上层导热绝缘层和下层导热绝缘层采用高导热系数材料,分别设置在所述加热片的上下外层,第一粘接层和第二粘接层分别位于上层、下层导热绝缘层和发热元件之间;发热元件包括附着碳材料的纤维层,并设有与电源两极相连的电极。通过对电池盒进行设计,能实现对传统蓄电池的加热,同时加热片也可采用一体式结构包绕在锂电池电芯间隙中直接对电芯进行加热。该汽车加热片具有加热速度快、能量利用率高、功率和温度可控、成本低,安全性能高、环保无污染等优势,能有效提高电池的温升速率,同时该材料也满足宽电压下的使用条件。

标签:
加工技术
北京 - 北京 来源:中冶有色网 2023-03-19
电动钓鱼轮专用竿电源配重手把

本实用新型涉及一种电动钓鱼轮专用竿电源配重手把,包括电池仓和电源线,其中电池仓安装在钓竿的尾端,电池仓为多节,每节之间活动连接,每节电池仓正好可以容纳一节锂电池,所述的电池仓为铝合金外壳,电池仓内部空腔前端设有绝缘心,绝缘心上设有金属触点,电源线内含有两根导线,一根导线连接铝合金外壳,另一根导线连接金属触点,两根导线的另一端连接渔轮上的电源连接点。本实用新型用于克服目前渔轮与电池先结合后,再固定至钓竿上方可使用,鱼竿手感沉重,长时间使用非常疲劳,更换电池不方便的问题。

标签:
加工技术
江苏 - 南京 来源:中冶有色网 2023-03-19
规正机构及汇流条焊接一体机

本实用新型提供了一种规正机构及汇流条焊接一体机,涉及锂电池制造装备的技术领域。一种规正机构包括:传送组件和多组规正组件;所述传送组件用于将载有电池串的承载座传送至焊接区域;多组所述规正组件能够分别推挤位于所述传送组件上的所述承载座的侧面,以规正所述承载座在所述传送组件上的位置。一种汇流条焊接一体机包括规正机构。本实用新型的目的在于提供一种规正机构及汇流条焊接一体机,以缓解现有技术中玻璃及其上的电池串在传送过程中位置偏离而影响电池串焊接精度的问题。

标签:
加工技术
江苏 - 无锡 来源:中冶有色网 2023-03-19
电加热鞋垫及充电智能保健电热鞋

本实用新型实施例涉及一种电加热鞋垫及充电智能保健电热鞋,其中该电加热鞋垫,包括:鞋垫本体,所述鞋垫本体包括叠摞设置的第一保护层、电加热层和第二保护层;所述电加热层与第二保护层之间还设置有防止汗液进入电加热层的防汗层。本本实用新型实施例提供的一种电加热鞋垫及充电智能保健电热鞋,通过在电加热层与第二保护层之间还设置有防止汗液进入电加热层的防汗层,可以防止脚汗液体渗透到电加热层的合金电热丝上面,避免电热丝锈断,造成发热丝产生断路。大容量锂电池与合金电热丝及触摸开关连接,鞋内温度可使用触摸开关任意调节不同温度。

标签:
加工技术
重庆 - 重庆 来源:中冶有色网 2023-03-19
层板机构
层板机构 868     
 0

本申请涉及一种层板机构,属于锂离子电池生产设备技术领域。本申请提出一种层板机构,包括层板本体和换热管路,换热管路设置在层板本体的内部,换热管路包括多个直管和至少一个U形管,多个直管沿层板本体的高度方向间隔布置,每个直管沿层板本体的长度方向延伸,相邻的两个直管的同侧端口通过U形管相连。由于换热管路的多个直管沿层板本体的长度方向延伸,使得该换热管路中接头处较少,从而不易漏水。

标签:
加工技术
广东 - 惠州 来源:中冶有色网 2023-03-19
磁吸插头
磁吸插头 1100     
 0

本实用新型公开了一种磁吸插头,包括公接头和母接头,公接头和母接头连接,公接头包括公头上壳、公头下壳、鼠尾、线缆、通信公针、大电流公针、公针固定架和公头铁环,母接头包括母座盖板、盖板扭簧、盖板转轴、母座、大电流母针、通信母针、密封胶圈和母座磁环。本实用新型磁吸插头,改善换电柜中换电池操作时锂电池充电中接头使用的便捷性,方便用户操作,简单易用,公接头和母接头通过公头铁环和母座磁环相吸连接,采用磁吸方式,可承受25A以下大电流充电及通信,采用防呆设计可有效避免由于接错而造成的设备短路,避免引起事故,负极凸起设计,插入时可提前接触,进而可避免产生火花击穿设备通信模块。

标签:
加工技术
北京 - 北京 来源:中冶有色网 2023-03-19
瓦斯-蒸汽-有机工质联合循环冷热电联供系统

本实用新型提供了一种瓦斯‑蒸汽‑有机工质联合循环冷热电联供系统,涉及瓦斯处理的技术领域,该瓦斯‑蒸汽‑有机工质联合循环冷热电联供系统包括供热装置、有机工质发电系统、余热发电系统和供热系统。本实用新型提供的瓦斯‑蒸汽‑有机工质联合循环冷热电联供系统的供热装置能够通过燃烧瓦斯进行发电,利用供热系统与有机工质凝结器和蒸汽凝结器进行热交换,从而使该瓦斯‑蒸汽‑有机工质联合循环冷热电联供系统能够适用煤矿工业场地与瓦斯发电利用场地距离较长地方,解决了抽气供暖并联溴化锂吸收式制冷方式受制于煤矿工业场地与瓦斯发电利用场地距离的问题,提高该系统的适应性。

标签:
加工技术
山东 - 济南 来源:中冶有色网 2023-03-19
极片冲切成型机和激光切极耳设备

本实用新型提供了一种极片冲切成型机和激光切极耳设备,涉及锂离子电池制造技术领域,该极片冲切成型机包括承载基座、直线驱动件、冲切机架、冲切驱动组件和冲切组件,冲切机架活动设置在承载基座上并与直线驱动件传动连接,用于在直线驱动件的带动下作直线运动并与极片同步运动,冲切驱动组件设置在冲切机架上,冲切组件设置在冲切机架上并与冲切驱动组件传动连接,且冲切组件具有供极片穿过的冲切夹槽,用于跟随冲切机架作直线运动并冲切极片。相较于现有技术,本实用新型提供的一种极片冲切成型机,能够在极片不停止运动的情况下实现冲切动作,提高了冲切速度,从而大幅提高了冲切效率。

标签:
加工技术
广东 - 深圳 来源:中冶有色网 2023-03-19
尼龙6聚合工艺中的热切系统

一种尼龙6聚合工艺中的热切系统,依次包括后聚反应器和BKG切粒系统,采用BKG切粒系统和切粒水循环系统,BKG切粒系统单台产能可达到300吨/天,对于大产能生产线可选用1台以满足生产要求,且相较于单台拉条切粒机占地面积小,操作简便,这就大大缩减了前期的厂房占地规划及岗位人员配置,较于拉条切粒的切粒水需冷冻水进行冷却,且切粒过程中有抽吸的烟气排出;BKG热切机仅需循环水进行冷却,整个切粒过程中全密封无烟气外排,在切粒水循环冷却过程中使得公用工程的运行成本大大降低,对于一些园区内无配套公用工程的生产厂家,可节省溴化锂冷冻机组的采购及运行维护成本。

标签:
加工技术
浙江 - 温州 来源:中冶有色网 2023-03-19
高效切割甘蔗收割机
高效切割甘蔗收割机 1112     
 0

本实用新型公开了一种高效切割甘蔗收割机,旨在提供一种方便携带、适合复杂地形作业、有效工作时间长、切割效率高的甘蔗收割工具,它包括操作杆、锂电池;电机依次与伞齿轮传动副、圆柱齿轮副、动刀连接;操作杆的下端与机座连接,机座上设有定刀,动刀可相对于定刀可做开合运动;圆柱齿轮副和动刀安装在机座铰链上;定刀的刀刃为凹形,刀刃上设有切割齿;动刀的刀刃上设有切割齿;机座的下端设有支撑杆;操作杆的中间设有把手;操作杆把手部位设有启动按键,操作杆的下部设有电源/档位开关(0,Ⅰ,Ⅱ)和工作状态指示灯。本实用新型不仅适用于甘蔗的收割,还适用于玉米等径杆类农作物的收割。

标签:
加工技术
广西 - 南宁 来源:中冶有色网 2023-03-19
带有生物识别模块的VR头戴设备

本实用新型公开了一种带有生物识别模块的VR头戴设备,包括壳体和两条束带,壳体内置有光学镜片和显示屏,两条束带分别固定安装在壳体表面的两侧,两条束带的端部分别固定安装有用于锁合的卡扣和卡头,且其中一条束带的上设置有用于调节长度的调节扣,壳体内部还安装有一块控制电路板、生物识别单元和警报提示单元和锂离子电池。本实用新型通过设置的生物识别单元采集用户的生物识别信息,并将其控制电路板中,在使用时能够通过对比输入的生物识别信息,鉴别是否为设备的拥有者,从而他人避免未经允许使用VR设备,其次设置的警报提示单元,能够给予在使用者触碰障碍物前警报,降低由于过度的沉浸式体验带来的安全隐患。

标签:
加工技术
江苏 - 南京 来源:中冶有色网 2023-03-19
人行道砖面扫雪机
人行道砖面扫雪机 893     
 0

本实用新型公开了一种人行道砖面扫雪机,其结构包括固定杆、连接杆、遮挡防护机构、转动轴、清扫毛刷、调节件、伸缩杆、辅助把手、操作手柄、控制按钮、锂电池、电机、蜗杆和蜗轮,通过设置了遮挡防护机构于连接杆前端面,接着将卡座通过卡槽上与连接杆进行转动卡位固定,然后对连接板施加拉力,连接板通过铰链在挡板上进行转动,并且通过卡扣与固定槽进行卡位固定,防止晃动跑位,接着通过阻挡柱对清扫时所掩埋的石头进行遮挡,并且通过松雪锥提前对积雪进行冲撞松动。

标签:
加工技术
江苏 - 扬州 来源:中冶有色网 2023-03-19
集成电池充电管理及多功率输出的电源模块

本实用新型涉及充电电源技术领域,具体涉及一种集成电池充电管理及多功率输出的电源模块,包括主芯片、电池、电池充电及电压监测模块和多功率输出模块,所述主芯片为STM32系列芯片,所述电池充电及电压监测模块的输入端与充电电源连接,所述电池充电及电压监测模块输出端与电池连接,所述电池与所述多功率输出模块输入端连接,所述多功率输出模块包括若干个稳压电路以及若干个与所述若干个稳压电路连接的输出接口,所述电池充电及电压监测模块和多功率输出模块均与主芯片连接,所述电池包括若干个串联的锂电池,所述多功率输出模块内集成有滤波电路。本实用新型的有益效果是:实现了大功率,稳定且安全的电池充放电功能。

标签:
加工技术
浙江 - 杭州 来源:中冶有色网 2023-03-19
电池浆料搅拌装置
电池浆料搅拌装置 805     
 0

本实用新型提供一种应用于锂离子电池生产设备技术领域的电池浆料搅拌装置,所述的电池浆料搅拌装置的料筒(1)上部扣装筒盖(2),筒盖(2)上表面安装电机(3),电机(3)与穿过筒盖(2)的搅拌杆(4)连接,搅拌杆(4)上设置公转搅拌桨(5),公转搅拌桨(5)上设置多个公转搅拌叶(6),筒盖(2)下表面还设置自转搅拌桨(7),自转搅拌桨(7)上设置多个与自转搅拌桨(7)活动连接的自转搅拌叶(8),筒盖(2)上表面安装的电机(3)与控制部件(19)连接,本实用新型所述的电池浆料搅拌装置,能够有效加快浆料各成分的快速流动混合,提高了打浆效率和打浆质量,同时可以有效的去除浆料中的气泡,提高浆料搅拌质量。

标签:
加工技术
安徽 - 宣城 来源:中冶有色网 2023-03-19
应用于工程机械电子电气设备在线式UPS系统

本实用新型具体涉及一种应用于工程机械电子电气设备在线式UPS系统,包括依次连接的充电、源接口、一级防护电路、充电电路、锂电池、电池保护电路、二级防护电路以及电气设备接口。所述一级防护电路包括依次连接的抗干扰单元、高压一级防护单元、高压二级防护单元。所述高压一级防护电路包括P沟道MOS管Q10、稳压管Q16、三极管Q9、三极管Q17以及稳压管Q18;所述高压二级防护包括两个并联的瞬态抑制二极管D7、D10;所述二级防护电路包括二极管D1与保险丝。本实用新型能够提供需要持续供电的设备的电压,使需要持续供电的设备从载蓄电池的供电设备中脱离开来,并且本装置体积小、重量轻、节省空间。

标签:
加工技术
江苏 - 南京 来源:中冶有色网 2023-03-19
智能管道三通接头
智能管道三通接头 1064     
 0

本实用新型公开了一种智能管道三通接头,包括接头本体、支座、端盖和智能水压监控器,支座为箱体结构,由所述接头本体的侧壁向外延伸形成,所述支座的内壁上设有轴向的卡槽,所述支座的一个侧壁的端面下沉形成缺口;端盖为箱体结构,其凹腔内设有芯片组件和电池组件,其外壁上设有开关按钮,所述端盖的敞口端设有周向的凸缘,所述凸缘插入所述卡槽内;水压监测传感器设置在所述支座内的安装座上,且所述安装座设有与所述接头本体的内腔相通的通孔,所述水压监测传感器、所述锂电池组件、所述芯片组件和所述开关按钮通过信号线连接。本实用新型智能化程度高,可以24小时实时监控三通接头内的水压情况。

标签:
加工技术
河南 - 郑州 来源:中冶有色网 2023-03-19
关节艾灸仪
关节艾灸仪 1063     
 0

本实用新型的一种关节艾灸仪,包括固定座、外壳、仓门盖子、气囊支架、气囊、主控板、发热片螺丝固定座、锂电池、风扇、发热片固定座、存放仓、发热片、磁铁、电动气泵、仓门打开传动机构、灯板安装座、LED灯珠、LED灯罩和按键等。本实用新型不但既能遥控控制,又能语音控制,其还同时具备按摩功能和疗理的功能,其将按摩功能与艾灸功能组合使用,使其特别适合对具有风湿关节问题的人群使用,其通过在外壳的顶面上设置有仓门盖子,并将设计有仓门打开传动机构与仓门盖子组合使用,使仓门盖子在仓门打开传动机构的驱动下实现能自动打开和自动关闭,其又通过在存放仓的下面设置有发热片,使发热片能自动对放入艾草的存放仓进行加热。

标签:
加工技术
广东 - 东莞 来源:中冶有色网 2023-03-19
安装架、电池的组成工装以及电池包

本实用新型涉及锂离子电池技术领域,尤其涉及一种安装架、电池的组成工装以及电池包。本实用新型提供的安装架用于电池的安装,该安装架包括从电池的两端共同夹持电池的第一支架和第二支架,安装架还包螺母以及次穿过第一支架和第二支架的螺栓,螺母与螺栓相配合将第一支架、第二支架和电池的相对位置固定。电池在工作或者运输的过程中,即便有较大的震动导致安装在安装架上的电池跌落,也能够避免电池从第一支架和第二支架上脱离,防止电池因受到冲击而出现爆炸现象,保证电池在工作或者运输过程中的安全性。本实用新型还提出一种电池的组成工装以及电池包,能够避免电池在工作及运输过程中的脱离,保证电池的安全性。

标签:
加工技术
山东 - 济南 来源:中冶有色网 2023-03-19
具有减震功能的手枪钻
具有减震功能的手枪钻 1200     
 0

本实用新型公开了一种具有减震功能的手枪钻,包括手枪钻壳体,所述手枪钻壳体的左端转动安装有嵌设钻杆的夹头,所述手枪钻壳体腔内的左端固定安装有驱动夹头同步转动的直流电机,所述手枪钻壳体腔内的左端还开设有固定吸音材料的空腔,所述手枪钻壳体腔内的右端固定连接有减震结构,所述吸音材料包括中心开设有孔的两个隔音层,两个所述隔音层的相对面固定连接有中心也开设有孔的吸音层,所述直流电机的输出轴穿过所述孔并与所述夹头相固定。本实用新型,通过吸音材料,达到吸音降噪的效果;通过减震结构,达到吸震减震的效果;通过显示屏,能够实时显示锂电池本体的剩余电量,科学合理的利用电能。

标签:
加工技术
广东 - 惠州 来源:中冶有色网 2023-03-19
纯电动汽车驱动电机水冷系统教学实训考核平台

本实用新型公开了一种纯电动汽车驱动电机水冷系统教学实训考核平台,包括可升降的支架、设于所述支架上端的实训平台、安装在所述实训平台上的显示屏元件、以及安装于所述实训平台上的电机水冷系统,所述电机水冷系统包括汽车水箱、设于所述汽车水箱上的电子扇、用于为所述汽车水箱内的水提供循环动力的电动水泵、用于驱动所述电子扇旋转的驱动电机、用于控制驱动电机启停的电机驱动模块、以及用于为各用电元件提供电能的锂电池组。本实用新型通过模拟数字信号技术控制并表现纯电动驱动电机水冷系统的故障现象,为学生提供一套真实的电动汽车水冷同步电机工作系统。

标签:
加工技术
天津 - 天津 来源:中冶有色网 2023-03-19
上一页 492 493 494 495 496 ... 500 ... 2000 ... 5000 ... 6681 下一页
共6681页    到第

中冶有色为您提供最新的有色金属加工技术理论与应用信息,涵盖发明专利、权利要求、说明书、技术领域、背景技术、实用新型内容及具体实施方式等有色技术内容。打造最具专业性的有色金属技术理论与应用平台!

全国热门有色金属设备推荐
展开更多 +
全国热门有色金属技术推荐
展开更多 +

 

江西省隆恩特环保设备有限公司
宣传

报名参会
更多+

2025年10月15日 ~ 17日
2025年10月17日 ~ 19日
2025年10月31日 ~ 11月02日
2025年11月07日 ~ 09日

报告下载

有色专家
更多+

南昌航空大学
副院长/教授
昆明理工大学
教授
矿冶科技集团有限公司工程公司
副总经理
长沙矿冶院检测技术有限责任公司
总经理
昆明冶金研究院有限公司
党委书记、执行董事
赤泥综合利用研究报告2025
推广

热门技术
更多+

推荐企业
更多+

福建省金龙稀土股份有限公司
宣传

发布

在线客服

公众号

电话

顶部
咨询电话:
010-88793500-807