青岛垚鑫智能科技有限公司
宣传

位置:中冶有色 >

有色技术频道 >

分类:
全部
矿山技术
冶金技术
材料制备及加工技术
环境保护技术
分析检测技术
 
全部
功能材料技术
复合材料技术
新能源材料技术
合金材料技术
加工技术
地区:
全部
北京
天津
上海
重庆
河北
山西
辽宁
吉林
黑龙江
江苏
浙江
安徽
福建
江西
山东
河南
湖北
湖南
广东
海南
四川
贵州
云南
陕西
甘肃
青海
内蒙
广西
西藏
宁夏
新疆
其他
其他
展开
 
全部
其他

其他有色金属材料制备及加工技术理论与应用

免费发布技术信息>>
耐火、耐水并且耐机械压力的电缆

描述了一种电缆,其包括至少一个导体和布置在至少一个导体外部的阻隔物。阻隔物包括:包括无机材料的两个第一层和包括聚合物金属复合材料的第二层,第二层插在两个第一层之间。在至少一个导体和阻隔物之间的中间位置,该电缆还仅仅包括不连续层和/或热不垮塌材料层。

标签:
复合材料
其他 - 其他 来源:中冶有色网 2023-03-18
冲压铆钉和将单组件彼此附接的方法及设备

一种用于将单组件彼此固定的冲压铆钉,其中至少一个组件是复合材料的工件形成的,冲压铆钉具有较大直径的法兰、较小直径的铆钉部和位于法兰的邻近铆钉部的一侧并环绕铆钉部的环状组件接触表面;铆钉部在其自由端具有用于刺穿两个组件的环表面,两个组件至少基本上与冲压铆钉的中央纵轴垂直,铆钉部还具有内部凹环表面,内部凹环表面形成从冲压铆钉的端面到铆钉部的空腔内部空间的过渡。在铆钉部的大致圆柱形外表面上具有平行于纵轴延伸的凸棱,凸棱优选地延伸到铆钉部的自由端面。此外,还要求保护一种方法。

标签:
复合材料
其他 - 其他 来源:中冶有色网 2023-03-18
用于VARTM的压敏流动分配介质

公开了一种用于通过真空辅助树脂传递模塑制造纤维增强复合材料的方法,其包括以下步骤:将纤维材料(1)放置在模具(6)中,将流动分配介质(4,6,14)放置在所述纤维材料(1)上,和用真空箔(5)覆盖所述纤维材料(1)和所述流动分配介质(4,6,14)以在所述模具(6)与所述真空箔(5)之间形成封闭的模腔。其特征在于使用的流动分配介质(4,6,14)的厚度(h)取决于真空箔(5)上的压力梯度。

标签:
复合材料
其他 - 其他 来源:中冶有色网 2023-03-18
带由碳和石墨材料制成的热交换器板或管的旋转热交换器

一种旋转热交换器被描述为用蓄热块来回收热。该旋转热交换器由布置为转子(1)的热交换器板或热交换器管组成,转子(1)接收来自热气流的热并将热释放给较冷的气流,其中热交换器板或热交换器管可由碳复合材料和/或石墨和/或难燃碳组成。

标签:
复合材料
其他 - 其他 来源:中冶有色网 2023-03-18
玻璃纤维胶料组合物
玻璃纤维胶料组合物 787     
 0

本发明涉及用于玻璃纤维的胶料组合物,其包括以下组分:(a)硅烷基偶联剂,其不为氨基硅烷;(b)成膜剂;(c)硼酸盐;和(d)润滑剂,其特征在于,所述组合物中至少75wt%的硅烷偶联剂被二烷氧基化。本发明还涉及上胶有所述胶料组合物的反应产物的玻璃纤维,以及用这样的玻璃纤维增强后的高分子复合材料。

标签:
复合材料
其他 - 其他 来源:中冶有色网 2023-03-18
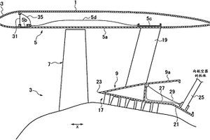
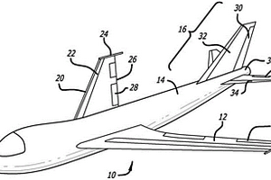
纤维复合部件、小翼和具有纤维复合部件的飞行器

一种由纤维复合材料制成的纤维复合部件(12),包括至少一个第一表面区段(14)、至少一个第二表面区段(16)和至少一个过渡区域(18)。第一表面区段(14)和第二表面区段(16)设置成相对于彼此成角度并且与过渡区域(18)结合。过渡区域(18)包括平均曲率不同于彼此的至少一个第一弯曲区段(20)和至少一个第二弯曲区段(22),这些弯曲区段以在切向方向上连续的方式连接至彼此。在各种情况下,第一表面区段(14)以在切向方向上连续的方式连接至过渡区域(18)以及过渡区域(18)以在切向方向上连续的方式连接至第二表面区段(16)。优选地,第一弯曲区段(20)的曲率半径小于第二弯曲区段(22)的曲率半径。

标签:
复合材料
其他 - 其他 来源:中冶有色网 2023-03-18
用于天线罩的预浸渍介电带

本发明涉及包含含有连续或不连续纤维和在室温至300℃的温度下为粘性的树脂的纤维结构的连续带,所述带在20℃和9.375GHz下具有2至7的介电常数和1×10-4至3×10-2的介电损耗角正切,所述纤维结构是足够刚性的以使所述带在所述树脂为粘性的温度下具有5o至30o的刚性,该带的刚性用15厘米长的直线片段进行测量,将其5厘米片段置于水平面的边缘上,剩余的无支承的10厘米下降以与水平面呈一定角度,所述角度表征该带的刚性。本发明的带非常适于用纤维铺放技术制造介电复合材料,如天线罩。

标签:
复合材料
其他 - 其他 来源:中冶有色网 2023-03-18
用于平滑由CMC材料制成的部件的表面的方法

一种平滑由陶瓷基复合材料制成的具有粗糙和起伏的表面的部件的表面的方法。该方法包括在所述部件的表面上沉积耐高温玻璃涂层(90),所述玻璃涂层实质上包含二氧化硅、氧化铝、重晶石和石灰。

标签:
复合材料
其他 - 其他 来源:中冶有色网 2023-03-18
在核和化石发电厂中用于燃料安全壳屏蔽和其它应用的多层陶瓷管

多层陶瓷管含有高纯度Β相化学计量碳化硅的内层,连续Β相化学计量碳化硅纤维的中心复合材料层,和细粒状碳化硅的外层。陶瓷管特别适于用作燃料棒的包壳,该燃料棒用于发电厂或反应堆。陶瓷管具有高初始耐开裂性,刚度,最终强度,和耐冲击和热震荡性的所需组合。

标签:
复合材料
其他 - 其他 来源:中冶有色网 2023-03-18
门结构模块
门结构模块 982     
 0

本发明涉及一种门结构模块,优选一种用于机动车辆的门结构模块,特别优选用于具有金属-塑料-复合材料设计(混合技术)的一种机动车辆的门或一种机动车辆后车尾门,其中将至少一个面板型材连接到至少两个不同的塑料元件上,其中这两个塑料元件是由通过该双注塑模制工艺同时注塑模制的不同塑料材料构成的,并且其结果是在这些的熔体前沿彼此相遇时它们与彼此互相融合并且同时进入与这个或这些面板型材的紧固结合中。本发明的门结构模块重量减轻并且成本降低。

标签:
复合材料
其他 - 其他 来源:中冶有色网 2023-03-18
压敏电阻块
压敏电阻块 997     
 0

一种压敏电阻块(1),环绕在圆柱形壳层表面上,并由一个复合材料构成的、带有陶瓷基体和/或防爆箍(4,5,6)的环(2)包围。

标签:
复合材料
其他 - 其他 来源:中冶有色网 2023-03-18
阻燃弹性纳米复合聚氨酯泡沫

本发明总体上涉及掺入部分和/或完全剥离粘土基纳米复合材料的弹性聚氨酯泡沫组合物。本发明还涉及由该组合物形成的泡沫体、该泡沫体的制备方法及其用途。

标签:
复合材料
其他 - 其他 来源:中冶有色网 2023-03-18
用以穿透薄膜式基层的方法和装置

本发明涉及用以穿透薄膜式基层的方法和装置,以便可以简便地分离各最不同的材料的薄膜层(8),这些薄膜层通过粘结、材料粘合或类似的粘附方式相互气密地连结。只在每次只刺穿一层(18)的情况下实现分离并且借助螺旋形的螺纹(16)通过旋转将其升起,而且在与第二薄膜层(17)形成的空间中可以引入气态的(例如空气)或液态的(例如水)介质。该方法和装置的特征在于,其便于操作并且可以应用在薄膜工件上的任何位置。因此,为了在以后可以充填这样制成的袋,不必在薄膜中考虑任何的附加的开口、垫片、阀等或不必考虑事先的材料处理(插入分离装置)。借此使生产费用减至最小,缩短处理时间并且避免材料费用或由于引入其他的材料而形成复合材料。

标签:
复合材料
其他 - 其他 来源:中冶有色网 2023-03-18
固态聚合物电解质、用其制作的电池、电极和双电层电容器

一种固态聚合物电解质包括以下物质的复合材 料:(a)能够由至少一种化合物得到的聚合物,该化合物包含源 自带有三羟基或多个羟基的多元醇的结构,上述醇式羟基基团 中至少两个氢原子分别被如下通式(2)代表的单元取代:CH2=C(R1)C(=O)[O(CH2)x(CH(CH3))y]zNHC(=O)(OR3)n- (2)其中R1、R3、n、x、y和z定义如说明书;和(b)至少一种电解质盐。固态聚合物电解质膜强度和可加工性很好,而且离子导电率高,适合制作薄电极、电池和双电层电容器。

标签:
复合材料
其他 - 其他 来源:中冶有色网 2023-03-18
含再生原料的生物可降解材料和其制造方法

本发明涉及一种含有由胶乳,淀粉和聚-β-羟基丁酯和/或纤维素粉末组成的基体的生物可降解材料。为制成复合材料在此基本的基体中可埋放植物填料,如谷类种子的颗粒或纤维植物的纤维。本发明还涉及可降解材料的制造方法。此方法的特征在于,所有的原料和尤其是橡胶以粉碎的形状存在。将此粉碎的,如成颗粒的原料进行混合和在一螺杆挤压机或一压铸机中塑化。塑化的物料可直接压铸成型或挤压成条,再将此条加工成用于作压铸材料的的颗粒。

标签:
复合材料
其他 - 其他 来源:中冶有色网 2023-03-18
踝部支撑装置
踝部支撑装置 1042     
 0

本发明公开了一种踝部支撑装置,包括由球形颗粒和润滑剂复合材料充填的衬垫。

标签:
复合材料
其他 - 其他 来源:中冶有色网 2023-03-18
铆接元件及相关的装配工具

本发明涉及用于复合材料(M1和M2)制成的部件的铆接元件(R),其特征在于包括:一个空心衬套(200),该衬套的一端包括一个头部(210)和一个空心杆(220),其中所述头部(210)抵靠在所要组装的部件之一的表面上;以及,一个半管状插入部(100),它包括能够被插入衬套(200)的空心部分中的一个第一端(110)和一个开放端(130),一旦所述插入部(100)被平移锁定在所述衬套(200)中时该开放端(130)能够变形以形成抵靠在所要组装的另一部件的表面上的一个扩大的基部。本发明还涉及用于这种铆接元件的装配工具。

标签:
复合材料
其他 - 其他 来源:中冶有色网 2023-03-18
通过消毒方法制备的食物组合物

本发明涉及一种通过消毒方法制备的食物组合物。更具体地讲,本发明涉及设计用于无菌过程的消毒方法,所述消毒方法包括以下步骤:提供食物组合物;使电流通过所述组合物;通过调节电流来维持电压范围;并且其中所述组合物包含具有约.001ML至约16ML体积的复合材料。

标签:
复合材料
其他 - 其他 来源:中冶有色网 2023-03-18
用于涡轮机涡轮的改进的CMC导向叶片

一种绕中心轴线(X)延伸的涡轮机涡轮喷嘴,包括至少一个径向外护罩(43)、至少一个径向内护罩(42)和至少一个由陶瓷基质复合材料制成的叶片(50),该叶片与径向内护罩(42)和径向外护罩(43)不同,并且在所述径向内护罩(42)与所述径向外护罩(43)之间径向延伸,该叶片(50)是中空的,并且包括在该叶片(50)的径向内端部和径向外端部处开口的腔体,该喷嘴包括至少一个管状主杆(30),该管状主杆布置在叶片的腔体中,并且允许使通风空气行进穿过该叶片(50)的所述腔体,该主杆(30)包括附接到径向外护罩(43)的径向外端部(33)和与用于定位径向内护罩(42)的径向凸缘(423)协配的径向内端部(32),该主杆(30)的径向内端部(32)包括通过与所述径向定位凸缘(423)的凹口(424)互锁而协配的接合部分,以便限制该主杆相对于径向定位凸缘的相对运动。

标签:
复合材料
其他 - 其他 来源:中冶有色网 2023-03-18
用于制造罐的方法
用于制造罐的方法 1081     
 0

用于制造罐的方法。潜水泵组件包括电动马达(1)和由该电动马达(1)驱动的离心泵,该电动马达具有由塑料或复合材料制成的转子罐(4),该转子罐以挤压成型或拉挤成型方法制造。

标签:
复合材料
其他 - 其他 来源:中冶有色网 2023-03-18
包括包含可机加工材料部分的钻头体的钻地旋转钻头及相关方法

用于形成钻地旋转钻头的钻头体的至少一部分的位移件,该位移件可包括可机加工材料部分,该可机加工材料部分被构造成形成钻头体的整体可机加工部分。此类位移件可任选地还包括牺牲材料部分。根据使用此类位移件而得到的钻头体可包括由颗粒‑基质复合材料组成的主体和多个整体可机加工部分。钻地旋转钻头可包括此类钻头体。还公开了制造此类钻头体的方法以及利用位移件制造钻地旋转钻头的方法。

标签:
复合材料
其他 - 其他 来源:中冶有色网 2023-03-18
镶板和生产镶板的方法

本发明涉及一种用于构造地板覆盖物或墙壁覆盖物的镶板。该镶板包括:基本平坦的顶表面;由复合材料制成的至少一个芯层,该芯层设置有腔;以及底表面。该镶板还包括至少一对相对的边缘,所述一对相对的边缘优选地包括互补的联接部分,联接部分构造成用于相邻镶板的相互联接。

标签:
复合材料
其他 - 其他 来源:中冶有色网 2023-03-18
磁性颗粒、制造方法及其用途

在一个方面中,组合物包含多个磁性颗粒。所述磁性颗粒各自独立地包含具有式Ni1‑xMxFe2+yO4的镍铁氧体芯,其中M为Zn、Mg、Co、Cu、Al、Mn或Cr中的至少一者;x为0至0.95,以及y=‑0.5至0.5;以及至少部分包围所述芯的铁镍壳,其中所述铁镍壳包含铁、镍和任选的M。在另一个方面中,形成磁性颗粒的方法包括在氢气气氛中对多个镍铁氧体颗粒进行热处理,以形成在镍铁氧体芯上具有铁镍壳的多个磁性颗粒。在又一个方面中,复合材料可以包含磁性颗粒和聚合物。

标签:
复合材料
其他 - 其他 来源:中冶有色网 2023-03-18
非水系二次电池正极用浆料组合物、非水系二次电池用正极以及非水系二次电池

本发明的目的在于提供一种非水系二次电池正极用浆料组合物,其能够形成使非水系二次电池发挥优异的输出特性的正极复合材料层并且稳定性优异。本发明的浆料组合物包含正极活性物质和共聚物,上述正极活性物质中镍占过渡金属的比例为30.0摩尔%以上且100.0摩尔%以下,上述共聚物包含70.0质量%以上且96.0质量%以下的含腈基单体单元、包含0.1质量%以上且5.0质量%以下的含碱性基单体单元。

标签:
复合材料
其他 - 其他 来源:中冶有色网 2023-03-18
通过将酚类催化剂添加到聚天冬氨酸类地板配制物来改进的操作时间与开放步行时间比

本发明提供了一种聚天冬氨酸类组合物,其包含在催化剂的存在下反应的多胺和迈克尔加成受体的反应产物,所述催化剂包含酚类化合物,条件是所述酚类化合物不是在氧的两个邻位均被叔丁基基团取代的酚。合适的酚类化合物包括酚、酚醛、烷基酚、苯二醇、腰果油及其组合。包含聚脲组合物的涂料、粘合剂、密封剂、复合材料、浇铸料和膜可以通过使多异氰酸酯与本发明的聚天冬氨酸类组合物反应来制备。特别地,与现有的地板涂料相比,用本发明的聚天冬氨酸类组合物制备的地板涂料具有延长的操作时间和短的开放步行时间。

标签:
复合材料
其他 - 其他 来源:中冶有色网 2023-03-18
高温涂层
高温涂层 810     
 0

本发明公开了一种方法,该方法包括在碳‑碳复合材料基底的表面上形成结晶金属碳化物底涂层。该方法还包括在底涂层的表面上形成外涂层。该外涂层包含多个结晶超高熔点外涂料层。每个外涂料层是通过向下面层的表面施加混合物以及将混合物加热而按顺序形成的。该混合物包含多个超高熔点耐火陶瓷颗粒和陶瓷预制体聚合物。该混合物在惰性气氛中或者在真空下被加热到热处理温度以使陶瓷预制体聚合物热解并形成外涂料层。因此,外涂料层包含结晶超高熔点聚合物衍生的陶瓷基体,该结晶超高熔点聚合物衍生的陶瓷基体包含多个超高熔点耐火陶瓷颗粒。

标签:
复合材料
其他 - 其他 来源:中冶有色网 2023-03-18
用杂混聚酰胺颗粒增韧的基质树脂

可以固化/模制形成航空航天复合零件的预浸渍复合材料(预浸料)。所述预浸料包含碳增强纤维和未固化树脂基质。所述树脂基质包含环氧组分、作为增韧剂的聚醚砜、和固化剂。所述树脂基质还由热塑性颗粒组分构成,所述热塑性颗粒组分包含杂混聚酰胺颗粒,其中每个杂混颗粒含有无定形聚酰胺和半结晶聚酰胺的混合物。

标签:
复合材料
其他 - 其他 来源:中冶有色网 2023-03-18
用于自动化无损检测航空器复合结构的强化件的装置

本发明提供一种检查航空器上由复合材料制成的结构的强化件的装置,包括:至少一个可以提供所述强化件的材料健康状态相关的测量值的超声传感器(21),所述超声传感器的保护外壳(20),所述超声传感器安装于其内,适于沿着所述强化件(R)移动的移动机架(10),其内部安装有含所述超声传感器的保护外壳,适于驱动所述机架沿着所述强化件移动的驱动元件(30),夹紧元件(40),其与所述保护外壳紧密连接并使所述超声传感器(21)保持紧贴于被检查的强化件(R)的表面,用于将所述强化件的表面的各个区域与所述超声传感器的测量同步的定位元件。

标签:
复合材料
其他 - 其他 来源:中冶有色网 2023-03-18
圆筒状壳体以及喷气发动机

本发明提供圆筒状壳体。使用碳纤维强化塑料的复合材料来形成喷气发动机(3)的风扇壳体(5)的壳体主体(5a)。在壳体主体(5a)的前端和后端分别安装金属环(5b、5c)。金属环(5b、5c)间通过导电电缆(5d)而电连接。两金属环(5b、5c)和导电电缆(5d)构成雷电流的路径。

标签:
复合材料
其他 - 其他 来源:中冶有色网 2023-03-18
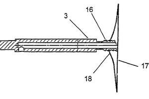
片、层积体、管、立管和流送管

提供一种片,其与包含氟树脂作为基体的现有的纤维增强复合材料相比拉伸强度更大。一种片,其特征在于,其包含碳纤维和位于构成上述碳纤维的碳单纤维的周围的氟树脂层,构成上述氟树脂层的氟树脂为聚偏二氟乙烯,该片的拉伸强度为400MPa以上。

标签:
复合材料
其他 - 其他 来源:中冶有色网 2023-03-18
上一页 491 492 493 494 495 ... 500 ... 863 下一页
共863页    到第

中冶有色为您提供最新的其他有色金属材料制备及加工技术理论与应用信息,涵盖发明专利、权利要求、说明书、技术领域、背景技术、实用新型内容及具体实施方式等有色技术内容。打造最具专业性的有色金属技术理论与应用平台!

全国热门有色金属设备推荐
展开更多 +
全国热门有色金属技术推荐
展开更多 +

 

江西省隆恩特环保设备有限公司
宣传

报名参会
更多+

报告下载

有色专家
更多+

中国矿业大学
教授
中国瑞林工程技术有限公司
中国工程院院士
中冶沈勘秦皇岛工程技术有限公司
原矿山院院长/教授级高工
中国矿业大学
副院长/教授
西安建筑科技大学
院长/教授
赤泥综合利用研究报告2025
推广

热门技术
更多+

推荐企业
更多+

福建省金龙稀土股份有限公司
宣传

发布

在线客服

公众号

电话

顶部
咨询电话:
010-88793500-807