青岛垚鑫智能科技有限公司
宣传

位置:中冶有色 >

有色技术频道 >

分类:
全部
矿山技术
冶金技术
材料制备及加工技术
环境保护技术
分析检测技术
 
全部
功能材料技术
复合材料技术
新能源材料技术
合金材料技术
加工技术
地区:
全部
北京
天津
上海
重庆
河北
山西
辽宁
吉林
黑龙江
江苏
浙江
安徽
福建
江西
山东
河南
湖北
湖南
广东
海南
四川
贵州
云南
陕西
甘肃
青海
内蒙
广西
西藏
宁夏
新疆
其他
其他
展开
 
全部
其他

其他有色金属材料制备及加工技术理论与应用

免费发布技术信息>>
将多个聚合体工件焊接在一起时使用目标运动学分布图的适应性工艺控制的系统和方法

将多个聚合体工件焊接在一起时使用目标运动学分布图的适应性工艺控制的系统和方法。本发明涉及用于将多个工件焊接在一起的改良的技术,以及更确切地指用于聚合体复合材料的改良的超声波焊接的系统和方法,使用适应性工艺控制将超声焊头运动学匹配至预先制定的目标焊头运动学,例如目标焊头位移、速度或加速度分布图。

标签:
复合材料
其他 - 其他 来源:中冶有色网 2023-03-18
具有不饱和单元的基底的预处理

本发明涉及一种处理基底的方法,该方法包括向包含具有不饱和单元的材料的基底(1)上施加一种组合物,所述组合物包含至少一种潜在烷基硼烷并且基本上不含用于所述潜在烷基硼烷的解络合剂,向用所述潜在烷基硼烷预处理的基底(1)上施加自由基可固化物质,和让所述自由基可固化物质固化以形成复合结构。根据本发明的方法特别适合用于将漆料、涂料或密封材料/填充材料施加于基底,例如EPDM、NBR和SBR上,和适合于粘合剂粘结这样的基底。相应地粘合剂粘结的复合材料的特征在于所述粘合剂尤其牢固粘附到所述基底上,其中可以使用常规粘合剂,它们具有关于它们的贮存稳定性、开放时间和固化时间方面优化的性能。

标签:
复合材料
其他 - 其他 来源:中冶有色网 2023-03-18
具有改进的负荷路径的轴支架

本发明涉及一种用于机动车的轴支架(1),其具有至少两个连接点(6),其中,轴支架(1)具有金属的上壳(2)和由纤维复合材料构成的下壳(3),它们相互联接,其中,在两个连接点(6)之间在轴支架(1)的边缘区域(7)中,负荷路径(9)穿过上壳(2)延伸,并且与此相比较短的负荷路径(12)穿过下壳(3)延伸。

标签:
复合材料
其他 - 其他 来源:中冶有色网 2023-03-18
硅烷官能化的化合物及其组合物

提供了包括硅烷官能化的化合物的组合物。在一个实施方案中,所述硅烷官能化的化合物包括具有从骨架悬垂或充当末端封闭基团的硅烷官能基团的环氧树脂衍生的骨架。可以将包括硅烷官能化的化合物的组合物用于各种应用,包括涂料制剂、粘合剂制剂、复合材料及其组合。

标签:
复合材料
其他 - 其他 来源:中冶有色网 2023-03-18
复合支承结构
复合支承结构 1118     
 0

本发明涉及一种复合支承结构,由非导电的或非充分导电的复合材料制成,该复合支承结构包括至少一条接地线(11-13)。为了在使用复合支承结构时简化接地连接,所述接地线(11-13)被集成到该复合支承结构(1)中。本发明还涉及一种相应的插入件和/或接地线,以及涉及一种具有该复合支承结构的机动车辆。

标签:
复合材料
其他 - 其他 来源:中冶有色网 2023-03-18
铆接元件
铆接元件 805     
 0

本发明涉及一种铆接元件,特别是用于附接到纤维复合材料的部件的铆接元件,该铆接元件具有铆接部分,该铆接部分至少局部地形成为在朝着尖端的方向上逐渐变细并可通过冲模母模扩张的尖状部。

标签:
复合材料
其他 - 其他 来源:中冶有色网 2023-03-18
摆动锤
摆动锤 965     
 0

本发明涉及摆动锤,意在使用于自动上发条表机构中。该摆动锤包括由复合材料制造的基本部件(1)和重金属元件(9)。该基本部件包括内部部分(5)和周围部分(3),周围部分包括在其中设置重金属元件的槽。

标签:
复合材料
其他 - 其他 来源:中冶有色网 2023-03-18
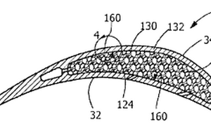
CMC构件、功率发生系统和形成CMC构件的方法

本发明涉及CMC构件、功率发生系统和形成CMC构件的方法。一种用于功率发生系统(10)的陶瓷基质复合构件(100)包括陶瓷泡沫芯体(120)和包围陶瓷泡沫芯体(120)的至少一部分的陶瓷基质复合材料(130)。陶瓷泡沫芯体(120)在功率发生系统(10)中的构件(100)的运行期间保持就位。另外,提供一种形成陶瓷基质复合构件(100)的方法(700)。

标签:
复合材料
其他 - 其他 来源:中冶有色网 2023-03-18
车辆底板结构
车辆底板结构 877     
 0

一种车辆底板结构,其特征在于:其主体结构为双层结构,包括由热塑性纤维强化复合材料形成的两个面板;在所述双层结构延伸的该区域中,每个面板具有至少两个具有凸形开放截面的连续强化结构;所述强化结构在至少两个位置设置有凹槽;在一个面板上的强化结构与其他面板上的相交;并且面板与设置在彼此装配的强化结构中的凹槽一起结合。

标签:
复合材料
其他 - 其他 来源:中冶有色网 2023-03-18
具有碳纤维加强弹簧的直线压缩机

本发明涉及一种直线压缩机(1),包括活塞壳体(2)和在其中沿着轴线(3)来回运动的压缩机活塞(4),包括用于沿着与轴线(3)垂直的方向引导压缩机活塞(4)的装置(5),和用于缓冲压缩机活塞(4)的来回运动的动能的装置(6),用于压缩机活塞(4)的运动方向的反向,用于引导的装置(5)和/或用于缓冲的装置(6)具有由复合材料制成的弹性元件(7),特别是通过由碳纤维加强的弹簧(8)形成;本发明涉及一种制冷装置(17),例如冰箱,包括所述的直线压缩机(1);并涉及一种方法,用于压缩流体,涉及一种用于冷却物品(18)的方法。本发明允许构造具有简单设计的直线压缩机(1)或制冷装置(17),并且提供了节能、有效并且可靠的工作方法,用于冷却物品(18)或者压缩流体。

标签:
复合材料
其他 - 其他 来源:中冶有色网 2023-03-18
用于模拟两个部件的粘合接头的特性的方法

本发明涉及一种用于模拟具有粘合材料层(13)的两个复合材料部件(11,15)的粘合接头的特性的方法,包括下述步骤:a)提供具有用于分析结构接头的所有相关信息的有限元模型;b)提供用于在粘合材料层(13)经受拉伸/剥离和剪切应力时计算粘合材料层(13)的变形的计算模型,包括处于拉伸/剥离状态下的线性类型和处于剪切状态下的非线性类型的粘合剂的塑料特性;c)通过应用计算模型,模拟粘合接头的特性,以获得每个故障模式的故障指数。本发明还涉及一种用于采用所述结构接头的由计算机执行的有限元模型辅助设计所述结构接头的系统。

标签:
复合材料
其他 - 其他 来源:中冶有色网 2023-03-18
涂层构造及表面处理方法

一种涂层构造,在高温部件2的一部分的表面,通过喷涂形成由包含玻璃的氧化物陶瓷所构成的中间层3,在中间层3的表面形成由具有耐热性-耐水蒸气腐蚀性的涂层材料所构成的耐环境覆膜4。该氧化物陶瓷,是在室温至1400℃范围内结晶相不变化或虽然结晶相变化但保持相同体积的多种氧化物陶瓷,所述多种氧化物陶瓷的热膨胀系数,是在构成所述高温部件2的SiC系列陶瓷基复合材料的热膨胀系数和构成耐环境覆膜4的所述涂层材料的热膨胀系数之间。

标签:
复合材料
其他 - 其他 来源:中冶有色网 2023-03-18
用于以自定心及固定的方式插入可变长度的绕轴的、带有内部中心点的塑料衬里

使用塑料内部衬里(3)作为纤维缠绕复合材料压力容器的芯材料。这些容器用于装载4型气瓶中的压缩天然气(CNG),并作为现有的LPG钢气瓶的可选择性的替代品。内部衬里(3)具有至少一个用于安装阀的开口,该阀液密及气密地连接至纤维缠绕纤维强化的气瓶表面的表面。

标签:
复合材料
其他 - 其他 来源:中冶有色网 2023-03-18
沉积结晶二氧化钛纳米颗粒和薄膜的方法

一种一步式和室温处理工艺,利用超快脉冲激光烧蚀氧化钛或金属钛靶将金属氧化物,如结晶二氧化钛(TiO2)的纳米颗粒或纳米复合材料(纳米颗粒组合的)薄膜沉积在基片表面上。所述系统包括脉冲激光,它的脉冲持续时间范围从几飞秒至几十皮秒;光学设置,用于处理激光束,使得激光束以适当的平均能量密度和适当的能量密度分布聚焦在靶表面上;和真空腔,其中安装有靶和基片,并且在其中可适当调节背景气体和它们的压强。

标签:
复合材料
其他 - 其他 来源:中冶有色网 2023-03-18
分离式风力涡轮机叶片的部件的制造方法

本发明提供一种分离式风力涡轮机叶片的部件(如内侧壳或内侧杆)的制造方法,该部件带有与其互补部件(如外侧的壳或外侧的杆)连接的连接元件。方法包括以下步骤:a)制造具有嵌入其中的连接元件的复合材料连接层压件,所述连接层压件构造成部件的一部分;b)用连接层压件做预制件来制造所述部件。本发明还涉及包括由上述制造方法制造的部件的分离叶片。

标签:
复合材料
其他 - 其他 来源:中冶有色网 2023-03-18
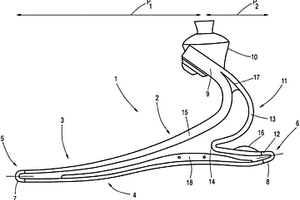
脚假肢
脚假肢 985     
 0

本发明涉及一种脚假肢,包括上部部分和在步行时底侧着地的下部部分,所述上部部分和下部部分以叠置的、相互间隔开的方式延伸并且在脚尖和脚后跟处相互连接并且以形成弹簧的方式在步行时相对彼此运动,其中,所述上部部分(3)和所述下部部分(4)由一体的、封闭的、碳素纤维复合材料的部件(2)形成。

标签:
复合材料
其他 - 其他 来源:中冶有色网 2023-03-18
用于液体金属处理的设备和方法

本发明涉及一种用于通过强熔体剪切处理液体金属的设备(高剪切装置)和方法。该设备包括在其之间具有小的间隙的定子和转子以提供强熔体剪切,用于在液体金属中有效地分散并均匀地分布气相、液相和固相而不在熔体表面产生严重的湍流。该装置可以通过同心地(一个套一个)或垂直地排列单独的转子/定子组合体而扩展为多级高剪切泵。可以容易地将该装置和高剪切泵集成至现有铸造工艺中。该装置适合于在包括以下各项的铸造工艺中使用:高压模铸、低压模铸、重力模铸、砂型铸造、熔模铸造、直接冷硬铸造、双辊连铸以及需要液体金属作为原料的任何其他铸造工艺。此外,该装置特别适合于提供用于金属材料的形状铸造和连续(或半连续)铸造两者的调节过的液体金属、制备高品质半固体浆料、颗粒加强的金属基体复合材料的固化加工、混合不相混的金属液体以及液体金属在任何铸造工艺之前的脱气。

标签:
复合材料
其他 - 其他 来源:中冶有色网 2023-03-18
粘合剂添加剂及含有粘合剂添加剂的粘合剂组合物

与聚异氰酸酯树脂联合使用形成粘合剂组合物的粘合剂添加剂。该粘合剂添加剂含有蓖麻油、蓖麻油与三酸甘油酯的混合物、或者一种或多种多羟基化合物与一种或多种三酸甘油酯的酯交换反应反应产物。该粘合剂组合物很适合在制造各种复合产品中尤其是在包括OSB建筑面板和层压复合材料的木材复合物中用作粘合剂。

标签:
复合材料
其他 - 其他 来源:中冶有色网 2023-03-18
保护层、其形成材料和方法以及含该保护层的PDP

一种保护层,其由氧化镁形成并且包含至少一种附加组分,所述附加组分选自:选自铜和氧化铜的铜组分、选自镍和氧化镍的镍组分、选自钴和氧化钴的钴组分以及选自铁和氧化铁的铁组分;一种用于形成该保护层的复合材料;一种形成该保护层的方法;以及一种包含该保护层的等离子显示板。所述保护层,应用在PDP中,保护电极和介电层不受Ne和Xe,或者He、Ne和Xe构成的混合气体产生的等离子体离子,并且放电延迟时间和放电延迟时间对于温度的依赖性均可降低以及抗溅射性增强。

标签:
复合材料
其他 - 其他 来源:中冶有色网 2023-03-18
用于测井系统的声学隔离器

一种用于衰减穿过工具的声学信号的声学隔离器,包括:多个U型链接单元(11),每一个链接单元有两组耳部(17,18);多个轭部单元(12),适于装配在协同的耳部组之间;多个销(13),用于连接所述的多个U型链接单元(11)和所述多个轭部单元(13),提供有限的灵活性适应。该隔离器可由金属或复合材料制成。

标签:
复合材料
其他 - 其他 来源:中冶有色网 2023-03-18
用于燃料电池中水和/或燃料处理的芯吸结构

在本发明中,直接液体燃料电池特别是直接甲醇燃料电池中水的回收,是通过引入一种邻近于阴极的、由一种芯吸材料(它可为一种复合材料)组成的芯吸结构而实现的。所述芯吸材料具有的自由起发芯吸高度至少为其最长尺寸的一半。所述芯吸材料可选自泡沫体、编织的纤维、捆扎的纤维、纺织纤维和非纺织纤维。在一种实施方案中,透过所述薄片厚度形成小孔或穿孔,并有一个导电层邻近于、粘附在或涂布所述芯吸材料的至少一个表面上。为了再循环水,在邻近所述阳极结合有一个芯吸材料的第二芯吸结构,在所述第一和第二芯吸结构之间具有一个液体流动通路。吸收的水流过所述液体流动通路,与燃料进行混合并输送到邻近所述阳极的第二芯吸结构中。

标签:
复合材料
其他 - 其他 来源:中冶有色网 2023-03-18
耐腐蚀性CMP修整工件及其制造和使用方法

一种用于修整CMP垫的研磨工具包括通过金属粘结剂联接到基底上的磨料颗粒以及一个涂层,例如一个氟掺杂的纳米复合材料涂层。这些磨料颗粒可以按一种自避免式随机分布来排列。在一种实现方式中,一种研磨工具包括一个涂覆的板以及一个涂覆的磨料物品,该物品具有两个研磨表面。其他的实现方式涉及一种用于生产研磨工具的方法,该研磨工具包括在其一个或多个表面上的涂层。在此还描述了用于整修CMP垫的方法。

标签:
复合材料
其他 - 其他 来源:中冶有色网 2023-03-18
刚性骨移植替代品
刚性骨移植替代品 1113     
 0

一种骨移植替代品,其包括至少部分被增强外层覆盖的多孔基质。多孔基质可以是胶原-陶瓷复合材料,并且增强外层可以由高度交联的胶原形成。植入物也可以包括一个或者多个由磷酸钙或者致密胶原制成的增强肋。另外,骨移植替代品优选地包括有效量的生物活性制剂,诸如BMP-2、rhBMP-2或者其功能片段。生物活性制剂优选地布置在多孔基质内。

标签:
复合材料
其他 - 其他 来源:中冶有色网 2023-03-18
在待加固部件表面敷设加固件的实施方法

本发明涉及一种在待加固部件(10)的表面(14)敷设加固件(12)的实施方法,至少两个部件之一是由未完全聚合的复合材料制成,所述加固件(12)沿着横向有两个与表面(14)接触的接触区(16.1,16.2),加固件(12)和待加固部件(10)在这两个接触区之间形成了一个通向加固件至少一端部的空腔(18),使用一个放置在空腔(18)内的型芯(24)并在聚合后从上述空腔内移出,其特征在于,使用的所述型芯(24)具有膨胀系数小的第一部分(26)以确保几何精度要求,并且具有第二部分(28),该第二部分(28)具有大的延伸系数,通过牵拉所述第二部分(28)的某个端部取出所述第二部分从而引起其截面的收缩。

标签:
复合材料
其他 - 其他 来源:中冶有色网 2023-03-18
UV交联的聚合物官能化分子筛/聚合物混合基质膜

本发明公开一种高性能的UV交联的聚合物官能化分子筛/聚合物混合基质膜(MMM),其制备方法、复合材料和使用方法,其中聚合物基质与分子筛的界面上没有大孔或小于几埃的孔。这些UV交联的MMM如下制备:将聚合物官能化分子筛掺进连续的可UV交联聚酰亚胺聚合物基质中,随后用UV交联。对称致密膜、不对称平板膜或不对称中空纤维膜形式的该UV交联的MMM具有良好的挠性、高的机械强度,并且与从相应的连续聚酰亚胺聚合物基质制备的聚合物膜相比,对于二氧化碳/甲烷和氢/甲烷分离呈现出显著增强的选择性和透过性。该MMM适于各种液体、气体和蒸气分离。

标签:
复合材料
其他 - 其他 来源:中冶有色网 2023-03-18
具有吸收红外线功能的纤维、其制法及纺织品

本发明涉及一种具有吸收红外线功能的纤维、其制法以及纺织品。所述纤维包含纤维主体以及添加分散于该纤维主体的内部的具有吸收红外线功能的粉体。将具有吸收红外线功能的粉体与单体掺合,再聚合成聚合物,或将粉体与聚合物直接混掺,接着将混掺粉体的聚合物复合材料以纺丝工程加工,形成具有吸收红外线功能的纤维,并利用此纤维制成具有吸收红外线功能的纺织品。添加本发明的具有吸收红外线功能的粉体所制成的纺织品,其颜色改变相对于未添加粉体的纺织品而言,平均可见光反射率差异只有2%左右。此性能远优于添加碳化锆粉体的具有吸收红外线功能的纺织品,其颜色改变非常明显,平均可见光反射率差异可以达到40%以上。

标签:
复合材料
其他 - 其他 来源:中冶有色网 2023-03-18
由聚酰亚胺制备嵌段共聚物的方法以及嵌段共聚物用于生产粉末和模塑品的用途

本发明涉及一种制备粉状聚酰亚胺-聚酰亚胺嵌段共聚物的方法。所得的聚酰亚胺-聚酰亚胺嵌段共聚物以及使用这些共聚物生产的复合材料通过直接成型方法或通过热压模方法压成模塑品。可以通过常规机械和热机械和成型方法生产聚合物模塑品。

标签:
复合材料
其他 - 其他 来源:中冶有色网 2023-03-18
滤尘净化方法及其小型化结构

本发明公开了一种滤尘净化方法及其小型化结构,包含:一几何形立体滤尘净化模块,用于让气体或液体流通并加以滤尘及净化,其内部空间包含:一前光触媒滤网,置于靠近前开口处,用以净化污染物;一后光触媒滤网,置于靠近后开口处,用以加强净化污染物;以及一紫外光灯杀菌模块,置于该前光触媒滤网及该后光触媒滤网之间,其内部壁面涂布一光触媒材料或固着一光触媒复合材料,并以一紫外光LED(发光二极管)灯模块激发该光触媒材料,用以杀菌净化通过的气体或液体。

标签:
复合材料
其他 - 其他 来源:中冶有色网 2023-03-18
降低对塑料化学侵蚀的保护性组合物

本发明提供了一种组合物和一种抵抗聚合物泡沫发泡剂在塑料如苯乙烯的聚合物上的发泡作用的聚合物膜。该聚合物膜为致冷设备提供了一适宜的屏障,其中高冲击性聚苯乙烯(HIPS)对来自聚氨基甲酸乙酯卤化发泡剂的化学侵蚀特别敏感。还提供了由热塑性合成树脂片如HIPS,聚合物膜,聚合物泡沫和外壁部分制成的复合材料。该聚合物膜为至少三种聚合物和共聚物的混合物:聚烯烃,由包含烯属不饱和脂肪族或脂环族烃单体和包含乙烯基团和羧酸基团的单体化合物的单体衍生而来的共聚物和合成嵌段共聚物。

标签:
复合材料
其他 - 其他 来源:中冶有色网 2023-03-18
具有侧面外部控制元件的环形橡胶胎面的轮胎

本发明涉及具有胎冠/胎基结构的环形胎面的轮胎,该结构由具有胎面跑合面的外部胎面胶胎冠层和下层胎面胶胎基层组成,其中胎冠层由两个纵向相邻区域组成,即主胎冠区域和辅侧面外部控制元件。主胎冠区域和侧面外部胎冠元件提供显着分级的-25℃冷动态储能模量(G′)和100℃的热TANΔ值,及相近的60℃热动态储能模量(G′)。主胎冠区域和侧面外部控制胎冠元件在从胎面的跑合面向整体胎基橡胶层径向向内延伸的意义上承载负荷。分区的橡胶胎冠层和整体的橡胶胎基层在共挤出意义上是单一胎面复合材料。主胎冠区域橡胶组合物富含二氧化硅而侧面外部元件橡胶组合物富含炭黑,并提供分级的填料增强物含量;分级的二氧化硅对炭黑比;及分级的顺式1,4-聚丁二烯橡胶含量。

标签:
复合材料
其他 - 其他 来源:中冶有色网 2023-03-18
上一页 493 494 495 496 497 ... 500 ... 863 下一页
共863页    到第

中冶有色为您提供最新的其他有色金属材料制备及加工技术理论与应用信息,涵盖发明专利、权利要求、说明书、技术领域、背景技术、实用新型内容及具体实施方式等有色技术内容。打造最具专业性的有色金属技术理论与应用平台!

全国热门有色金属设备推荐
展开更多 +
全国热门有色金属技术推荐
展开更多 +

 

江西省隆恩特环保设备有限公司
宣传

报名参会
更多+

报告下载

有色专家
更多+

长沙有色冶金设计研究院有限公司
正高级工程师/中国铝业首席工程师/全国有色金属行业设计大师/国家注册采矿工程师
郑州大学
副校长
中铝郑州有色金属研究院有限公司
党委书记 董事长
中铝郑州有色金属研究院有限公司
正高级工程师/总经理
中国有色金属工业协会
教授级高级工程师
赤泥综合利用研究报告2025
推广

热门技术
更多+

推荐企业
更多+

福建省金龙稀土股份有限公司
宣传

发布

在线客服

公众号

电话

顶部
咨询电话:
010-88793500-807