青岛垚鑫智能科技有限公司
宣传

位置:中冶有色 >

有色技术频道 >

分类:
全部
矿山技术
冶金技术
材料制备及加工技术
环境保护技术
分析检测技术
 
全部
功能材料技术
复合材料技术
新能源材料技术
合金材料技术
加工技术
地区:
全部
北京
天津
上海
重庆
河北
山西
辽宁
吉林
黑龙江
江苏
浙江
安徽
福建
江西
山东
河南
湖北
湖南
广东
海南
四川
贵州
云南
陕西
甘肃
青海
内蒙
广西
西藏
宁夏
新疆
其他
其他
展开
 
全部
其他

其他有色金属材料制备及加工技术理论与应用

免费发布技术信息>>
氨基(甲基)丙烯酸酯
氨基(甲基)丙烯酸酯 1190     
 0

本发明的材料适合用于涂料组合物、油墨、油漆、清漆、粘合剂中,用于制备凝胶漆、复合材料、模塑组合物或3D制品。本发明的材料特别适合作为UV和UV LED应用中的表面固化促进剂。

标签:
复合材料
其他 - 其他 来源:中冶有色网 2023-03-18
电抗器
电抗器 833     
 0

一种电抗器,具备磁芯和具有卷绕部的线圈,所述磁芯具有:内侧芯部,配置于所述卷绕部的内部;及外侧芯部,配置于所述卷绕部的外部,所述电抗器具备螺栓,该螺栓连结所述内侧芯部与所述外侧芯部,所述螺栓由在树脂中分散软磁性粉末而成的复合材料构成,所述螺栓具备贯通所述外侧芯部的轴部,所述轴部具备到达所述内侧芯部的前端,所述内侧芯部和所述外侧芯部分别为非分割结构的一体物。

标签:
复合材料
其他 - 其他 来源:中冶有色网 2023-03-18
刮墨刀室的主体、其刮墨刀室及其制造方法

本发明涉及一种刮墨刀室(1)的主体(2),所述主体包括:第一部分(2a),其构造成保持第一刮墨刀(3);第二部分(2b),其构造成保持第二刮墨刀(4);第三部分(2c),其连接第一部分(2a)和第二部分(2b);腔体(2e),其旨在接收油墨并且至少由第一部分(2a)、第二部分(2b)和第三部分(2c)限定,其特征在于,所述主体(2)为沿着纵向主轴线X‑X延伸的单个封闭中空型材,所述主体(2)由拉挤复合材料制成。

标签:
复合材料
其他 - 其他 来源:中冶有色网 2023-03-18
电子部件
电子部件 857     
 0

本公开提供一种电子部件,其与外部电路连接时,能够降低线路的电阻。电子部件:具备复合体,由树脂和金属磁性粉末的复合材料构成;内部电极,设置在上述复合体内且端面从上述复合体的外表面露出;以及金属膜,配置在上述复合体的上述外表面上和上述内部电极的上述端面上,上述金属膜具有第1区域和第2区域,上述第1区域配置在上述内部电极的上述端面上,上述第2区域与上述外表面中露出的上述金属磁性粉末接触而配置在上述复合体的上述外表面上的第2区域,上述第1区域的厚度比上述第2区域的厚度小。

标签:
复合材料
其他 - 其他 来源:中冶有色网 2023-03-18
用超临界流体用于天然纤维纳米颗粒增强物的收获后方法

本公开提供了“用超临界流体用于天然纤维纳米颗粒增强物的收获后方法”。一种形成复合材料的方法包括将干燥的植物材料、纳米颗粒和超临界流体和设置在容器中。当设置在所述超临界流体中时,所述干燥的植物材料的细胞结构膨胀,并且所述纳米颗粒迁移到所述设置的干燥的植物材料的所述膨胀的细胞结构中并被嵌入所述设置的干燥的植物材料的所述膨胀的细胞结构内。将具有嵌入的纳米颗粒的所述设置的干燥的植物纤维从所述容器取出,并且与聚合物混合以形成聚合物‑纳米颗粒混合物。可将化学添加剂添加到所述超临界流体,并且所述化学添加剂能够从所述干燥的植物材料去除半纤维素、木质素以及果胶中的至少一种。

标签:
复合材料
其他 - 其他 来源:中冶有色网 2023-03-18
用于接合模块化叶片的装置

本发明涉及一种用于接合模块化叶片的装置,由多个螺栓(8)形成接头,所述多个螺栓(8)被固定到容纳在两个待接合模块(1,2)的复合材料中的插件(3,4)之间。该装置允许螺栓(8)被预加载比已知系统更少的施加力和更大的精度,这样还确保了装置免维护。为此目的,每个装置均由侧盖(9)、上楔(10)和下楔(11)以及横向螺栓(12)形成,所有这些都围绕设置在两个叶片模块(1,2)之间的孔内部的对应螺栓(8)。当向楔(10,11)施加力F1时,侧盖(9)以将模块(1,2)分离的力响应并且对螺栓(8)施加预应力。

标签:
复合材料
其他 - 其他 来源:中冶有色网 2023-03-18
曲轴组件及其制造方法
曲轴组件及其制造方法 1029     
 0

提供了用于如发动机组件等车辆组件的曲轴组件以及制造曲轴组件的方法。该曲轴组件包括设置在第一对腹板之间的第一曲柄销和连接到第一对腹板的至少第一主轴承轴颈,其中第一曲柄销、第一对腹板或第一主轴承轴颈中的至少一个是包括聚合物和多个增强纤维的聚合物复合材料。

标签:
复合材料
其他 - 其他 来源:中冶有色网 2023-03-18
方法及热塑性叶片
方法及热塑性叶片 894     
 0

本发明涉及制造叶片的方法。叶片包括由热塑性复合材料制成的子组件(10),每个子组件(10)包括内部布置(15)和至少一个外部布置(20),每个内部布置(15)包括一叠中间层(16),其包括浸渍有半晶质热塑性基体的加强纤维,每个外部布置(20)包括至少一个表面层(21),其包括浸渍有半晶质热塑性聚合物和非晶形热塑性聚合物的合金的加强纤维。包括非晶形热塑性材料和铁磁构件的组装膜插入将通过经过感应局部加热的方法组装在一起的两个不同的子组件的两个表面层(21)之间。

标签:
复合材料
其他 - 其他 来源:中冶有色网 2023-03-18
加强封头的压力容器
加强封头的压力容器 816     
 0

本发明涉及一种具有加强的封头(22)的压力容器(1)和制造所述压力容器(1)的方法,所述压力容器包括由筒状中部(21)形成的内容器(2)、两个分别在两侧封闭所述中部(21)的拱形封头(22)和缠绕在所述内容器(2)上的外层(3),所述外层用于加强所述内容器(2)以抵抗压力负荷,其中,所述外层(3)包括由纤维复合材料(FVM)制成的至少一个封头加强层(31)和压力容器加强层(32),其中,所述封头加强层(31)至少部分覆盖所述封头(22),所述压力容器加强层(32)覆盖所述封头(22)和中部(21),并且用做所述封头加强层(31)的轮廓稳定的预制件(5)被设置在至少一个所述封头(22)上,优选地,在两个所述封头(22)上。

标签:
复合材料
其他 - 其他 来源:中冶有色网 2023-03-18
部分分纤纤维束及其制造方法、以及使用了部分分纤纤维束的纤维增强树脂成型材料及其制造方法

部分分纤纤维束、及其制造方法、以及使用了该部分分纤纤维束的纤维增强树脂成型材料及其制造方法,所述部分分纤纤维束是沿着由多条单丝形成的纤维束的长度方向交替地形成被分割成至少三条以上的多条束的分纤处理区间和未分纤处理区间而成的部分分纤纤维束,其特征在于,在部分分纤纤维束的长度方向的任意宽度方向截面中,相邻的分割纤维束经未分纤处理部而结合的区域中包含的单丝的比例为该宽度方向截面中的全部单丝的67%以下。在将部分分纤纤维束制成复合材料成型中使用的不连续纤维的纤维束的中间基材时,能够将细纤维束和粗纤维束控制为最佳范围内的比率、最佳的分布状态,能够均衡性良好地呈现出成型时的流动性和成型品的力学特性。

标签:
复合材料
其他 - 其他 来源:中冶有色网 2023-03-18
高模量单加捻尼龙6,6纱线

在成形橡胶复合材料中使用在2.0和2.8cN/分特之间的4%伸长率下的拉伸应力值的高模量单加捻尼龙6.6纱线作为增强物。所述帘线的最小热收缩率为4%,且最大热收缩率为7%。

标签:
复合材料
其他 - 其他 来源:中冶有色网 2023-03-18
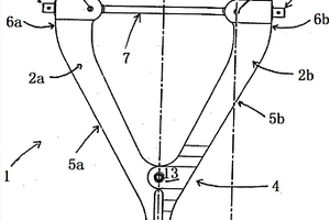
用于飞机起落架的支柱

本发明涉及一种用于飞机起落架、优选用于飞机前起落架的支柱,该支柱包括Y形分支结构(1),其中该Y形结构被制造为多件式结构并且至少包括两个杆(5a,5b),其中第一杆(5a)形成该结构的第一分支,而第二杆(5b)形成该结构(1)的第二分支,并且其中两个杆(5a,5b)部分或完全由纤维复合材料构成。

标签:
复合材料
其他 - 其他 来源:中冶有色网 2023-03-18
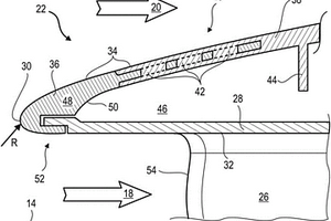
用于轴流涡轮机械压缩机的复合分流器唇边

本发明提出一种用于飞机的轴流涡轮机械的低压压缩机的分流器唇边(22)。所述分流器唇边(22)包括金属制成的具有圆形前导边缘(30)的上游环形壁(36)以及有机基质、短纤维复合材料制成的下游环形隔板(38)。所述分流器唇边(22)也支撑用于压缩机的上游的定子的外护套(28)。所述上游壁(36)包括环形锚固部分(40),该锚固部分布置在所述下游隔板(38)的厚度内,以将隔板(38)和壁(36)彼此锚固。所述锚固部分(40)具有分布的六边形开口(42)以增加锚固。本发明也提出通过模制用于生产双材料分流器唇边(22)或混合唇边的方法。

标签:
复合材料
其他 - 其他 来源:中冶有色网 2023-03-18
具有非平行的易磁化轴取向的稀土类永磁体形成用烧结体的制造方法

本发明提供一种具有任意的形状、且对任意的多个区域内的磁体材料粒子赋予了各自不同的方向的易磁化轴的取向的单一烧结构造的、稀土类永磁体形成用烧结体的制造方法。在该方法中,利用混合含有稀土类物质的磁体材料粒子和树脂材料而形成的复合材料形成立体形状的第1成形体。一边将该第1成形体维持在比该树脂的软化温度高的温度,一边对第1成形体施加具有平行磁通的平行外部磁场,从而使磁体材料粒子的易磁化轴与该外部磁场的方向平行地取向,通过对该第1成形体施加该第1成形体中的横向截面的至少一部分的形状在该横向截面内变化那样的变形力,形成该横向截面的至少一部分中的磁体材料粒子的易磁化轴的取向方向变更成与第1成形体中的取向方向不同的取向方向的第2成形体。该第2成形体被加热成烧结温度,维持在该烧结温度预定时间。该第2成形体内的树脂被蒸腾,磁体材料粒子彼此被烧结而形成烧结体。

标签:
复合材料
其他 - 其他 来源:中冶有色网 2023-03-18
具有分布于其中的生理活性的矿物质的纤维素成形体

描述了纤维素成形体,所述纤维素成形体具有分布在其中的具有生理作用的矿物质化合物,所述矿物质化合物结合在成形体的纤维素基质中并且在其横截面上均匀分布。矿物质化合物是水溶性的,其中其包含至少一种选自钠、钾、镁、钙、铁、铜、锰和锌的元素。即使在多次清洗之后纤维素成形体仍然包含高份数的矿物质。纤维素成形体优选具有纤维、长丝、薄膜或由纤维制成的纺粘法非织造布的形式。其特别用于人类皮肤上的局部目的,特别是用于美容或皮肤病学目的。所述成形体可以单独或与其它成形体和纤维混合加工成片状结构、层压件、复合材料和非织造布。

标签:
复合材料
其他 - 其他 来源:中冶有色网 2023-03-18
内置抗菌塑料树脂及其制备方法

公开了一种内置、可加工的抗菌商品热塑性树脂的配方,具有包括如下的混合组分:聚合物、主链连接基团、非不稳定的防污且生物相容的偶联剂,所述抗菌商品热塑性树脂可熔融加工且在不使用杀生物或抗菌添加剂的前提下能制成固体、整体料、管、复合材料、纤维、薄膜、薄板或清漆形式的成品。所述配方适于包括但不限于熔融混合、旋压、挤出、模塑、压缩、发泡和牵拉的热成型和热固化过程。抗菌性能归因于不粘的防细菌束缚层的持久形成,其中所述配方的防污组分在产品形成后多相相分离和/或迁移至表面,从而使细菌的吸附和/或定植最小化。

标签:
复合材料
其他 - 其他 来源:中冶有色网 2023-03-18
轨道交通工具受电弓
轨道交通工具受电弓 936     
 0

本发明涉及轨道交通工具受电弓(1),其包括下臂(8)、上臂(9)、导电装置,上臂(9)铰接到下臂(8)并且移动接触头(7),上臂(9)在其一端固定至接触头(7),导电装置在接触头(7)和安装在轨道交通工具的顶部中的一根或多根电源线之间,上臂(9)由复合材料制成且导电装置包括与上臂(9)不同的导电元件,该导电元件固定至接触头(7),并且电连接至电源线或多根电源线。

标签:
复合材料
其他 - 其他 来源:中冶有色网 2023-03-18
用于锂二次电池的阳极活性材料和其制备方法

本发明涉及用于锂二次电池的阳极活性材料,其包含:包含碳-硅复合材料的芯层;和均匀地涂敷在所述芯层表面上的、包含导电材料和用于固定所述导电材料的碳质材料的壳层;和其制备方法。

标签:
复合材料
其他 - 其他 来源:中冶有色网 2023-03-18
生产加强塑性材料零件的工艺

一种用于生产塑性材料零件的方法,包括由至少一个由复合材料制成的纤维嵌件制成的至少一个加强件,使用包括第一部分和第二部分的注塑模具,在第一部分和第二部分之间定义了具有要被生产的塑性材料零件的形状的模具腔,所述方法包括步骤使用操纵工具将加强件传输并放置到注塑模具的第一部分上,将纤维嵌件成型到加强件中;将塑性材料注射到模具中,使得加强件被塑性材料二次成型并生产出塑性材料零件。

标签:
复合材料
其他 - 其他 来源:中冶有色网 2023-03-18
电抗器、电抗器用线圈部件、转换器和功率转换器件

该电抗器(1A)设置有:套筒状的线圈(2);磁芯(3),其设置在套筒状的线圈(2)的内侧和外侧以形成闭合磁路;以及壳体(4A),其容纳套筒状的线圈(2)和磁芯(3)。磁芯(3)的至少一部分(在该情况下外芯部(32)设置在线圈(2)的外周侧)由含有磁性体粉末和树脂的复合材料形成。壳体(4A)的底板部(40)和壁部(41)是独立的部件。在电抗器(1A)中,线圈(2)和由非磁性金属材料构成的底板部(40)被由绝缘树脂形成的树脂模具(21)一体地保持。线圈(2)和底板部(40)被树脂模具(21)固定起来并且线圈(2)的热量有效地传递至安装对象。因此,电抗器(1A)表现出良好散热性。

标签:
复合材料
其他 - 其他 来源:中冶有色网 2023-03-18
用于包装应用的氧气阻隔体

本发明涉及一种用作涂层材料的木葡聚糖和粘土的复合材料。本发明还涉及一种制备所述涂层的方法。

标签:
复合材料
其他 - 其他 来源:中冶有色网 2023-03-18
亚乙基胺环氧树脂硬化剂

公开了一种可固化组合物,其包含a)环氧树脂与b)包含多官能胺的硬化剂的掺合物。所述可固化组合物可以在多种应用中使用,包括(但不限于)涂料、土木工程、地板、复合材料、粘合剂以及电层压物。

标签:
复合材料
其他 - 其他 来源:中冶有色网 2023-03-18
光学单元及用于制造光学单元的方法

本发明涉及一种尤其用于机动车的光学单元(2),该光学单元具有光学构件(15)以及固定构件(11),其中所述光学构件(15)和所述固定构件(11)形成双组分注塑单元。在此规定,所述固定构件(11)构造为具有至少一个至少部分地用塑料(10)挤压包封的织物幅面(8)的纤维复合材料构件,并且所述光学构件(15)由相同的塑料(10)制成。此外,本发明涉及一种制造方法。

标签:
复合材料
其他 - 其他 来源:中冶有色网 2023-03-18
涡轮增压器及用于涡轮增压器的轴向轴承盘

本发明涉及涡轮增压器及用于涡轮增压器的轴向轴承盘。一种涡轮增压器,具有带叶片的涡轮转子(19)和包括涡轮壳体(18)用于使排出气体膨胀的涡轮(11),且涡轮增压器具有用于压缩填充空气的压缩机(12),压缩机(12)包括带叶片的压缩机转子(20)和压缩机壳体(17),其中,压缩机转子(20)可通过从涡轮转子(19)开始而被驱动,且为此目的经由包括轴向轴承(25)的轴(21)而联接到涡轮转子(19)上,其中,轴向轴承(25)包括轴向轴承盘,且其中,轴向轴承盘由纤维复合材料制成。

标签:
复合材料
其他 - 其他 来源:中冶有色网 2023-03-18
高导热及EMI遮蔽的高分子复合材

本发明的高分子复合材主要以利用添加导热性材料(例如石墨烯),与具EMI遮蔽功效的电磁波屏蔽材料与高分子黏结剂(Binder)充分混掺,提升整体复合材的导热系数及遮蔽效能,以提供兼具确保热能由发热源排散及有效遮蔽电磁波干扰的复合材料。

标签:
复合材料
其他 - 其他 来源:中冶有色网 2023-03-18
优化风力涡轮机叶片效能的方法

保护复合材料制成的风力涡轮机叶片表面的方法,用能承受通常遇到的外部媒介物,就是雨、冰和大气污染的尘埃的表面涂层来装备叶片,该方法包括第一步的表面处理和涂覆给定厚度的底漆和第二涂层的两步。

标签:
复合材料
其他 - 其他 来源:中冶有色网 2023-03-18
生物基聚合物组合物
生物基聚合物组合物 1173     
 0

在促进生物基聚合物与丙烯酰化的硅酮聚醚之间自由基反应的温度下,通过将生物基聚合物与丙烯酰化的硅酮聚醚进行熔融加工来制备聚合物复合材料。所述生物基组合物具有极好的机械性能平衡,并适于阻燃应用。

标签:
复合材料
其他 - 其他 来源:中冶有色网 2023-03-18
具有至少一个电绕组的装置以及具有这种装置的电机

本发明涉及一种具有至少一个电绕组的装置以及具有这种装置的电机,该装置具有一个由软磁性粉末复合材料生产的、一件式或多件式的构件(5),该构件至少区域性地引导绕组(3)的电磁通量(6)并具有设置在该通量引导区域中的间隙(7),该装置还具有一件式或多件式的、尤其是金属的联接件(8),该联接件相对于该构件(5)具有更高的机械强度和/或电导率和/或热导率并且突入构件(5)的间隙(7)中。为了实现特定的热、机械和/或电性质提出:间隙(7)在构件的通量引导区域中贯穿该构件(5),并且经由该间隙(7)突入的联接件(8)形成将构件(5)桥接的机械桥、电桥和/或热桥。

标签:
复合材料
其他 - 其他 来源:中冶有色网 2023-03-18
肋脚
肋脚 1111     
 0

本发明涉及一种肋脚,该肋脚具有叶片,该叶片由通过咬合部连接的第一叶片部分和第二叶片部分形成。该肋脚具有第一基部部分和第二基部部分,该第一基部部分通过第一拐角连接至第一叶片部分,该第二基部部分通过第二拐角连接至第二叶片部分。该肋脚还具有第一凸缘和第二凸缘,该第一凸缘连接至第一基部部分并且离开第一基部部分延伸,该第二凸缘连接至第二基部部分并且离开第二基部部分延伸。叶片和基部部分由包括嵌入在基质中的增强纤维的复合材料形成。至少一些增强纤维从第一基部部分经由第一拐角、叶片以及第二拐角连续地延伸至第二基部部分中。

标签:
复合材料
其他 - 其他 来源:中冶有色网 2023-03-18
含三(壬基苯基)亚磷酸酯和四甲基乙二胺的组合的弹性体、其制备、组合物及制品

本发明公开了含三(壬基苯基)亚磷酸酯和四甲基乙二胺的组合的弹性体、其制备、组合物及制品。本发明涉及由包含由三(壬基苯基)亚磷酸酯(TNPP)和四甲基乙二胺(TMEDA)的组合组成的抗氧剂的基于二烯的弹性体组成的组合物。本发明还涉及包含这样的弹性体组合物的橡胶组合物和聚苯乙烯复合材料。本发明还涉及其制品,包括轮胎和基于聚苯乙烯的制品。在一个实施方案中,本发明涉及在TNPP和TMEDA的组合存在下,通过从溶液中汽提有机溶剂,从一种或多种基于二烯的弹性体的有机溶剂溶液中回收所述一种或多种基于二烯的弹性体的方法。

标签:
复合材料
其他 - 其他 来源:中冶有色网 2023-03-18
上一页 492 493 494 495 496 ... 500 ... 863 下一页
共863页    到第

中冶有色为您提供最新的其他有色金属材料制备及加工技术理论与应用信息,涵盖发明专利、权利要求、说明书、技术领域、背景技术、实用新型内容及具体实施方式等有色技术内容。打造最具专业性的有色金属技术理论与应用平台!

全国热门有色金属设备推荐
展开更多 +
全国热门有色金属技术推荐
展开更多 +

 

江西省隆恩特环保设备有限公司
宣传

报名参会
更多+

报告下载

有色专家
更多+

中南大学
常务副校长
北京科技大学
教授
昆明理工大学
教授
长沙矿冶研究院
总经理
昆明理工大学
校长
赤泥综合利用研究报告2025
推广

热门技术
更多+

推荐企业
更多+

福建省金龙稀土股份有限公司
宣传

发布

在线客服

公众号

电话

顶部
咨询电话:
010-88793500-807