青岛垚鑫智能科技有限公司
宣传

位置:中冶有色 >

有色技术频道 >

分类:
全部
矿山技术
冶金技术
材料制备及加工技术
环境保护技术
分析检测技术
 
全部
功能材料技术
复合材料技术
新能源材料技术
合金材料技术
加工技术
地区:
全部
北京
天津
上海
重庆
河北
山西
辽宁
吉林
黑龙江
江苏
浙江
安徽
福建
江西
山东
河南
湖北
湖南
广东
海南
四川
贵州
云南
陕西
甘肃
青海
内蒙
广西
西藏
宁夏
新疆
其他
其他
展开
 
全部
其他

其他有色金属材料制备及加工技术理论与应用

免费发布技术信息>>
复丝碳纤维及生产该种纤维的闪纺加工机械

本发明涉及一种制备纤维的方法,其包括:(a)提供一种纺丝混合物,其包含一闪蒸剂及过量碳质沥青的分散体;及(b)使该纺丝混合物自一高压区域经一喷丝孔至一低压区域以形成复丝沥青纤维。视情况该沥青纤维可经进一步处理以形成复丝碳纤维或石墨纤维,其可与一树脂结合形成一轻质的传导性复合材料。

标签:
复合材料
其他 - 其他 来源:中冶有色网 2023-03-18
聚合物PTC器件的制造方法

一种可用来作为超温保护器件的可板面安装聚合物PTC器件的电阻-温度分布调整方法。该方法包括:制备一种包含夹持于金属箔电极之间的导电性聚合物复合材料的层压体;使该层压体交联;从该交联的层压体通过使该层压体图案化而形成一种板材,以形成多个可板面安装器件;使用至少20Mrad的电子束照射,照射该板材;和通过细分该照射的板材,提供个体器件。

标签:
复合材料
其他 - 其他 来源:中冶有色网 2023-03-18
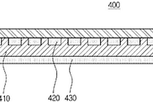
桁梁的制造方法
桁梁的制造方法 1112     
 0

一种桁梁的制造方法。首先将用复合材料制成 的多个延伸件4围绕多个隔板2做出骨架1。然后 围绕骨架缠绕多根张紧的线5,5′,使每个延伸件4 在每个隔板2的平面内同其中一根线接触。线可以 随后粘在骨架上,最好用熔化线的热塑性外壳并使其 粘固的方法。本法制造的梁重量轻而强度高。

标签:
复合材料
其他 - 其他 来源:中冶有色网 2023-03-18
含磷树脂及含该树脂的阻燃树脂组合物

本发明涉及一种含磷树脂及含该树脂的阻燃树脂组合物。该阻燃树脂组合物包括所述含磷树脂、含氮的树脂固化剂以及固化反应促进剂。该阻燃树脂组合物不含卤素且不需另外添加阻燃剂即具有良好阻燃性质及高耐热性且可用于制造粘合片、复合材料、层压板、印刷电路板、铜箔粘合剂及半导体封止材料。

标签:
复合材料
其他 - 其他 来源:中冶有色网 2023-03-18
大功率半导体模块的散热装置

大功率半导体模块的散热装置有散热器下半部(1)和散热器上半部(2),其中散热器上半部(2)与散热器下半部(1)是材料结合连接在一起的。散热器上半部(2)有由金属型片复合体制成的散热板(20),用于安放至少一个半导体元件(4)。为了使散热器上半部(2)和散热器下半部(1)直接的材料结合连接成为可能,在散热板(20)上成形一个金属边(21)。因此创造了可以容易制造和价格便宜的散热装置。

标签:
复合材料
其他 - 其他 来源:中冶有色网 2023-03-18
组合件、航空器或航天器以及方法

本发明创造了一种用于航空器或航天器的组合件(1),所述组合件包括:外壳部分(2);纵梁(3),连接到外壳部分(2);和成形件(4),由纤维复合材料制成,所述成形件(4)被连接到外壳部分(2)并且形成有开口(11),所述纵梁(3)大致横向于成形件(4)延伸通过开口(11)。

标签:
复合材料
其他 - 其他 来源:中冶有色网 2023-03-18
柔性基板
柔性基板 909     
 0

本发明的柔性基板1是将厚度50μm以下的薄板玻璃10、以及在纤维素纳米纤维的集合体上复合非结晶性合成树脂得到的厚度100μm以下的复合材料片材20层压而成的基板。

标签:
复合材料
其他 - 其他 来源:中冶有色网 2023-03-18
采用了活性材料的护罩升举机构和使用方法

一种用于在车辆护罩(12)的大致作用力水平下可逆地提高能量吸收能力的护罩升举机构(24),其包括车辆护罩(12),在操作上与车辆护罩(12)连通的活性材料,其中活性材料包括形状记忆合金、铁磁形状记忆合金、形状记忆聚合物、磁流变流体、电活性聚合物、磁流变弹性体、电流变流体、压电体材料、离子聚合物金属复合材料、或包含至少其中一种前述活性材料的组合物;以及操作上与活性材料连通的激活装置,其中激活装置可操作,以便选择性地将激活信号施加在活性材料上,并产生活性材料的至少一个特性上的可逆变化,其中这种可逆变化导致在车辆护罩(12)和下面部件之间(16)的间隙距离增大。

标签:
复合材料
其他 - 其他 来源:中冶有色网 2023-03-18
涡轮发动机中的涡轮级

本发明公开了一种用于涡轮发动机的涡轮级,所述涡轮级包括在由复合材料所制成和由外壳(14)所带有的扇段环(54)中旋转的装有叶片的叶轮,每个所述环形扇段具有下游周缘(52),所述下游周缘(52)固定以径向地抵靠于环形接头(56),所述环形接头(56)径向地接合于所述环(54)的下游周缘(52)的环形凹槽(50)中并且在低温情况下具有轴向间隙,所述轴向间隙被设计为在运转过程的高温情况下减小为0,并且能够使得所述外壳(14)的环形接头(56)在所述环形扇段的环形凹槽(50)内以密封的方式得以轴向夹固。

标签:
复合材料
其他 - 其他 来源:中冶有色网 2023-03-18
制备仿木材料的热塑性弹性体组合物及利用该组合物制造仿木材料的方法

本发明系一种制备仿木材料的热塑性弹性体组合物及利用该组合物制造仿木材料的方法。该方法包括下列步骤:将至少包含有热塑性弹性体材料的一复合材料与一发泡剂、一架桥剂进行混合成为原料;将该原料进行热熔混合成为热熔原料;将该热熔原料利用胶布机形成一薄片;将复数个该薄片迭合进行热压发泡、整平及裁切。本发明方法中并不添加任何木质碎片或粉末,但所制备出的仿木材料具有木质纹路,此外利用本发明方法制备的仿木材料具有防水的优点,并兼具完整的高分子材料特性,使用后仍可再次收回使用。

标签:
复合材料
其他 - 其他 来源:中冶有色网 2023-03-18
通过表面功能化合成的纳米金刚石化合物

本文所公开的是一种在液相中将羧基、醇、胺或者酰胺基团通过化学作用结合在纳米金刚石(ND)表面的方法。本文还公开了通过该方法得到的功能性纳米金刚石化合物及其应用。该方法包括对大小为1-100nm的合成纳米金刚石以声波和强酸处理从而提供ND-(COOH)n。所述ND-(COOH)n化合物用作提供表面结合有醇、胺或者酰胺基团的纳米金刚石化合物的起始材料。表面功能化纳米金刚石化合物采用X射线衍射仪、FTIR、AFM、粒度分析仪和Zeta电位分析仪来表征。该纳米金刚石化合物显示出的官能度及高溶解性可以使在液相中提供稳定的纳米金刚石溶液。因此,纳米金刚石化合物可以用作金刚石涂层剂。纳米金刚石的粉末可以用作生产聚合物、塑料、合成纤维、陶瓷等复合材料的原材料,或者作为牙膏、洗发剂、肥皂和化妆品组合物的添加剂。

标签:
复合材料
其他 - 其他 来源:中冶有色网 2023-03-18
光反射单元、具该光反射单元的电子设备及其制造方法

本发明提供一种薄膜状光学反射单元、光反射高分子复合材料、具有该光学反射单元的背光模块、具有光学反射单元的数字电子设备及其制造方法,包括至少一种薄片状基质相材料(MATRIX PHASE MATERIAL)、第一光反射结构与第二光反射结构,其中该第一光反射结构为分散于该基质相材料内的无机填料(INORGANIC FILLER)。由于该第二光反射结构由至少一种不同于该基质相材料的高光反射率有机高分子聚合物所构成,并且掺合于该基质相材料内,再以单轴拉伸或双轴拉伸制成板材,添加高光反射率的第二光反射结构可以有效提高成品的光反射效率,并且同步节省无机填料的使用量,来降低光反射板材及背光模块的制造成本。

标签:
复合材料
其他 - 其他 来源:中冶有色网 2023-03-18
生产纳米结晶整料物品的方法

本发明提供了至少一部分具有纳米结晶微结构的产品的制造方法。该方法需要加工本体以生产具有纳米结晶微结构的多晶碎片。由所述加工操作产生的碎片可以是微粒状、带状、线状、丝状和/或板状的。所述碎片可被固结(粉碎或不粉碎)以形成产品,以便所述产品基本上是纳米结晶整料材料,所述材料基本上或完全由纳米晶体组成,或由从纳米晶体生长的晶粒组成。作为选择,所述碎片可被分散在基体材料中,以便使所述产品为复合材料,其中碎片作为加强材料分散在其中。根据本发明的特定方面,整料物品可完全由单个碎片形成,它是通过使所述碎片变形和/或从所述碎片去除材料而形成的。

标签:
复合材料
其他 - 其他 来源:中冶有色网 2023-03-18
触摸输入设备、包括其的车辆及其制造方法

触摸输入设备包括包含金属复合材料的基底;在基底的一个表面中凹入地形成的第一图案凹槽,在基底的另一个表面中凹入地形成的第二图案凹槽;第一感测图案,其设置在第一图案凹槽中,并且包括导电材料;第二感测图案,其设置在第二图案凹槽中,并且包括导电材料;以及将第一感测图案和第二感测图案连接到集成电路的导线。

标签:
复合材料
其他 - 其他 来源:中冶有色网 2023-03-18
用于3D打印的基于摄像机的监控系统

一组基于摄像机的监控子系统的集合,可以添加到复合材料增材制造(CBAM)系统中,以自主检查每一层的完整性并实时修复问题。摄像机位于遍布整个工艺的各个站点。根据与模型的比较,分析生成的图像以查看处理的页面是否在公差范围内。摄像机可以位于打印台板处、位于用来将已铺设粉末的页面传送到堆垛机的后传送机上、以及位于堆垛机本身内,以确保页面被正确堆叠和对齐。本发明提供了质量保证和质量控制,以在层级验证构建工艺。这减少了执行的构建后工作量,并且由于其显示了零件内部的数据,因此大大减少了所需的破坏性测试量。

标签:
复合材料
其他 - 其他 来源:中冶有色网 2023-03-18
疏水性高热光学丙烯酸系共聚物

本发明涉及掺入具有高热稳定性和优异光学性质的高Tg疏水性(甲基)丙烯酸酯的丙烯酸系共聚物和三元共聚物。这些共聚物是光学透明的,并且提供具有115‑140℃的Tg以及足够高分子量的共聚物。发现所述共聚物展现出高抗热性、高透光率、低雾度、低湿气摄取、优异的环境稳定性、优异的高温热稳定性和优异的机械性质,以及优异的抗紫外线性。所述共聚物或三元共聚物可用于形成照明管、薄壁零件、光学透镜、挤出膜、(共)挤出片材/型材、可热成形片材、流延片材、复合材料等。

标签:
复合材料
其他 - 其他 来源:中冶有色网 2023-03-18
环氧官能化的聚(芳基醚砜)共聚物

本发明涉及侧链环氧官能化的共聚物(P1)和用于制备此共聚物(P1)的方法。本发明还涉及共聚物(P1)在制备膜、复合材料或涂层中的用途。本发明还涉及至少包含根据本发明的共聚物(P1)的树脂组合物。

标签:
复合材料
其他 - 其他 来源:中冶有色网 2023-03-18
模内复合覆面膜
模内复合覆面膜 1116     
 0

本发明涉及一种用于结构复合材料的模内覆面膜,其为热固化型多层膜的形式,所述热固化型多层膜包含:(a)离型载体,(b)覆盖离型载体的覆面膜层,其中所述覆面膜层包含OH官能聚氨酯和可热活化的固化剂,所述固化剂可在高于120℃的温度下与OH基团反应,和(c)离型衬纸。还公开了一种使用预浸料坯和所述多层膜模内制备复合制品的方法。

标签:
复合材料
其他 - 其他 来源:中冶有色网 2023-03-18
飞轮储能装置
飞轮储能装置 728     
 0

飞轮储能装置示例包括连续弯曲的纤维‑树脂复合材料卵形壳体。轮毂同心地布置在轴处的壳体内外。多个具有均匀宽度的径向定向纤维树脂复合螺旋缠绕用于构造卵形壳体,并将壳体耦合到轮毂上,以实现共同旋转和扭矩传递。集成的内部结构连接到外部卵形壳体,并为外部卵形壳体提供压缩支撑。旋转时,卵形壳体略微拉长,以增加飞轮在运行速度下的有效惯性矩。

标签:
复合材料
其他 - 其他 来源:中冶有色网 2023-03-18
用于制造航空结构件的方法

本发明提供了用于叠层制造一体式复合材料航空结构件的方法,该方法包括:(a)提供增材制造工具,该增材制造工具包括使空气动力表面成形的沉积模具以及至少一个头部,至少一个头部构造成在该沉积模具上移动并且构造成使纤维材料加强件和/可熔融材料沉积;(b)将嵌入在可熔融材料内的纤维材料加强件沉积到沉积模具上,由此制成下部空气动力面板的至少一层;(c)将可熔融材料沉积到下部空气动力面板的外层的至少一部分上,由此制成芯结构件的至少一层;以及(d)将嵌入在可熔融材料内的纤维材料加强件沉积到芯结构件的至少外层上,由此制成上部空气动力面板的至少一层;步骤(b)、步骤(c)和步骤(d)采用增材制造技术来实现。

标签:
复合材料
其他 - 其他 来源:中冶有色网 2023-03-18
冲击防护材料及其制造方法

本发明提供了一种新的冲击防护材料及其制备方法。更具体地说,冲击防护材料是聚合物基剪切增稠复合材料,包括非剪切增稠聚合物基材料和一种或多种剪切增稠材料。优选地,所述非剪切增稠聚合物基材料其含量从约5%重量到约90%重量,剩余含量为一种或多种剪切增稠材料。第一种剪切增稠材料是溶胶‑凝胶基剪切增稠材料,其中无机小颗粒连接在凝胶网络中;第二种是聚合物基剪切增稠材料,其中聚合物链形成网络。与现有的剪切增稠材料相比,该材料具有不同的分子结构和配方,具有良好的冲击防护性能和稳定性。

标签:
复合材料
其他 - 其他 来源:中冶有色网 2023-03-18
钻头和孔形成方法
钻头和孔形成方法 1059     
 0

本发明提供即使在被加工材料为难削金属材料、纤维增强复合材料的情况下也能够形成高品质的孔的孔形成方法,及提供该方法中使用的钻头。钻头(1)具备:至少一个切削刃(10)、和位于切削刃(10)附近的面(第2面(20)和第3面(30)),该面上设置有呈现规定平面形状的凹部(沟(40))。孔形成方法包括:孔形成工序,使切削加工辅助润滑材料(2)边与被加工材料(W)的被加工部分接触,边通过钻孔加工切削被加工部分而形成孔,在孔形成工序中使用钻头(1)。

标签:
复合材料
其他 - 其他 来源:中冶有色网 2023-03-18
通过电阻加热的原料气的吸热反应

布置用于催化原料气的吸热反应的结构化催化剂,所述结构化催化剂包含导电材料的宏观结构,所述宏观结构负载陶瓷涂层,其中所述陶瓷涂层负载催化活性材料,其中导电材料至少部分地是导电金属材料和陶瓷材料的均匀混合物形式的复合材料,其中宏观结构至少部分地由具有不同电阻率的两种或更多种材料组成。

标签:
复合材料
其他 - 其他 来源:中冶有色网 2023-03-18
用于通过铺设机确定剥离能的方法和铺设机

本发明涉及用于通过铺设机确定剥离能的方法和铺设机。具体地,本发明涉及通过使用铺设机自动制造用于结构、优选地用于飞行器结构的复合层压体。更具体地,本发明涉及一种用于通过铺设机确定复合材料层压体的层之间的剥离能的方法。本发明还涉及一种用于执行所述方法的铺设机。

标签:
复合材料
其他 - 其他 来源:中冶有色网 2023-03-18
用于制造关节轴承的方法及所属的关节轴承

本发明涉及一种用于制造关节轴承(10、12、16)的方法,关节轴承包括具有凸状拱曲的球形滑动面(5)的内圈(1)和包围内圈(1)的外圈(4),方法具有如下步骤:制造由金属材料构成的内圈(1);制造由聚合物复合材料构成的一件式或两件式的滑动体(2、3、13、14、17);制造由金属材料构成的圆柱形的外圈(4);并且将内圈(1)和滑动体(2、3、13、14、17)置入外圈(4)中并且对外圈(4)进行压合或卷边。

标签:
复合材料
其他 - 其他 来源:中冶有色网 2023-03-18
恒定体积燃烧系统
恒定体积燃烧系统 1019     
 0

本发明涉及一种恒定体积燃烧系统,包括至少一个燃烧腔室(1),该燃烧腔室(1)具有至少一个进入端口(5)和一个排放端口;该系统的特征在于,包括形成空气进入阀的至少一个由陶瓷基质复合材料制成的弹性可变形的片簧(10),该片簧位于腔室内部并定位成面向进入端口,该片簧包括相对于腔室的内壁(9a)固定的第一端(12)和与第一端相对的自由的第二端(14),第二端能相对于内壁移动。

标签:
复合材料
其他 - 其他 来源:中冶有色网 2023-03-18
聚氨酯
聚氨酯 799     
 0

本发明涉及一种自复原聚氨酯,在该聚氨酯中使用的多元醇,和多元醇和/或聚氨酯在涂料,弹性体,复合材料,粘合剂和/或密封剂中的用途。该聚氨酯能显示出自复原(例如,固有的自复原),这导致一定比例的一种或多种物理参数恢复。能自复原的聚氨酯是含多元醇,多异氰酸酯;和任选地扩链剂的反应物的反应产物。该多元醇包括至少一种二聚体脂肪残基;至少一种氨基甲酸酯,酰胺或碳酸酯基,和至少两个羟基端基。

标签:
复合材料
其他 - 其他 来源:中冶有色网 2023-03-18
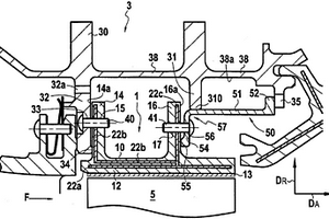
以爪形离合器方式保持的涡轮环组件

一种涡轮机环组件,其包括由陶瓷基质复合材料制成的并形成涡轮环(1)的多个环区域(10)以及被固定到涡轮罩壳(30)并包括两个环形凸缘(32、54)的环支撑结构(3),每个环区域(10)具有被保持在环支撑结构(3)的两个环形凸缘(32、36)之间的两个接片(14、16)。环支撑结构包括安装在涡轮罩壳上的环形保持凸缘,该环形保持凸缘包括形成环支撑结构的凸缘之一(36)的环形腹板。环支撑结构(3)的两个环形凸缘(32、54)施加压力到环区域(10)的接片(14、16)。环支撑结构(3)的凸缘之一(54)在涡轮环(1)的轴向方向(DA)弹性地变形。保持凸缘报包括圆周地分布在所述保持凸缘上的第一系列齿(52),而涡轮罩壳包括圆周地分布在所述罩壳上的第二系列齿(35),并且其中,第一系列齿的齿和第二系列齿的齿形成圆周爪形耦合。

标签:
复合材料
其他 - 其他 来源:中冶有色网 2023-03-18
包括具有传导性聚合物壳的金属纳米粒子和传导性膜的电极及其制备方法

本发明公开了包括具有传导性聚合物壳的金属纳米粒子和传导性膜的电极及其制备方法。具体地,本发明公开一种用于燃料电池的电极,其包括:聚合物基质;以及分散在聚合物基质中的催化剂,其中所述催化剂具有核‑壳结构,所述核‑壳结构包括:包含金属纳米粒子的核部;以及包含传导性聚合物的壳部。根据本发明的各种示例性实施方案,可以通过将聚(3‑己基)噻吩(P3HT)之外的其它传导性聚合物与金属纳米粒子组合来形成各种杂化纳米复合材料。例如,该方法可以包括将金属纳米粒子选择性地置于表面改性的传导性聚合物上,所述传导性聚合物包含两种或更多种类型传导性聚合物的嵌段共聚物。

标签:
复合材料
其他 - 其他 来源:中冶有色网 2023-03-18
复合镀覆制品及其制造方法

本发明提供一种几乎没有外观不均、接触电阻低且耐磨性良好的复合镀覆制品及其制造方法,该制造方法不需要任何含有氰化物的银镀液和任何含有硝酸银作为银盐的银镀液。在使碳粒子悬浮在水中之后,向其中添加氧化剂以对该碳粒子进行湿式氧化处理,并且使用含有至少一种磺酸和经湿式氧化处理过的碳粒子的银镀液来对基材进行电镀,以在基材上形成银层中包含碳粒子的复合材料涂膜,从而制成复合镀覆制品。

标签:
复合材料
其他 - 其他 来源:中冶有色网 2023-03-18
上一页 489 490 491 492 493 ... 500 ... 863 下一页
共863页    到第

中冶有色为您提供最新的其他有色金属材料制备及加工技术理论与应用信息,涵盖发明专利、权利要求、说明书、技术领域、背景技术、实用新型内容及具体实施方式等有色技术内容。打造最具专业性的有色金属技术理论与应用平台!

全国热门有色金属设备推荐
展开更多 +
全国热门有色金属技术推荐
展开更多 +

 

江西省隆恩特环保设备有限公司
宣传

报名参会
更多+

报告下载

有色专家
更多+

广西大学
处长/教授
北京科技大学
副院长/教授
武汉科技大学
院长 / 教授
中铝科学技术研究院有限公司
董事长
东华理工大学
院长
赤泥综合利用研究报告2025
推广

热门技术
更多+

推荐企业
更多+

福建省金龙稀土股份有限公司
宣传

发布

在线客服

公众号

电话

顶部
咨询电话:
010-88793500-807