青岛垚鑫智能科技有限公司
宣传

位置:北方有色 >

有色技术频道 >

> 固/危废处置技术

分类:
全部
矿山技术
冶金技术
材料制备及加工技术
环境保护技术
分析检测技术
 
全部
废水处理技术
大气治理技术
固/危废处置技术
土壤修复技术
地区:
全部
北京
天津
上海
重庆
河北
山西
辽宁
吉林
黑龙江
江苏
浙江
安徽
福建
江西
山东
河南
湖北
湖南
广东
海南
四川
贵州
云南
陕西
甘肃
青海
内蒙
广西
西藏
宁夏
新疆
其他
其他
展开
 
全部
南京
无锡
徐州
常州
苏州
南通
连云港
淮安
盐城
扬州
镇江
泰州
宿迁

江苏无锡有色金属固/危废处置技术理论与应用

免费发布技术信息>>
钢铁业酸洗废液中氟的去除工艺

本发明公开了一种钢铁业酸洗废液中氟的去除工艺,包括以下技术步骤:a、向酸洗废液中加入絮凝剂,搅拌絮凝,进行初步过滤,滤除固体杂质和油脂;b、向过滤后的滤液中加入碱进行pH调节;c、将步骤b所得溶液送入重金属捕捉器,溶液中各种重金属离子与重金属捕捉剂进行反应,形成重金属沉淀物;d、将步骤c的反应物送入过滤器,过滤回收重金属沉淀物,滤液待用;e、向步骤d所得滤液中加入氯化钙进行沉淀反应,过滤氟化钙产物;f、向滤液中添加活性氧化铝进行吸附反应,过滤,得到水完全达到国家排放标准,也可循环使用。本发明的方法工艺简便、易于操作,成本低,适宜于工业化推广应用。

标签:
固废
江苏 - 无锡 来源:北方有色网 2023-03-19
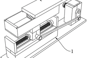
高效的酸性废气处理装置

本实用新型公开了一种高效的酸性废气处理装置,包括第一支架,所述第二支架的顶端设置有鼓风机,所述料箱的顶端设置有电机,且料箱的顶端靠近电机的一侧设置有加料口,所述连杆的底端设置有筛箱,所述筛箱的底端的两侧均设置有弹簧,所述弹簧的底端设置有支撑板,所述第二连接管的一端设置有水箱,所述水箱的顶端连接有排气管。本实用新型本实用新型结构科学合理,使用安全可靠,设置有旋风除尘器,可以去除废气中的固体粉尘颗粒,设置有筛箱,可以使加料口加入的石灰粉均匀的落入反应罐内,设置有鼓风机,可以使加水管加入的水形成雾状,设置有水箱,可以进一步去除废气的酸性物质。

标签:
固废
江苏 - 无锡 来源:北方有色网 2023-03-19
废液蒸发设备
废液蒸发设备 887     
 0

本实用新型属于高浓度废液处理领域,旨在提供一种废液蒸发设备,其技术方案要点是包括蒸馏釜和冷凝器,二者之间设有排气管,蒸馏釜上设有进料管和排渣管,蒸馏釜内设有搅拌装置,蒸馏釜外则设有蒸汽加热装置,冷凝器上设有排水管,排水管背向冷凝器一端接有真空泵,还包括转动架设在排渣管处的转轴,所述转轴沿竖直方向设置,且位于排渣管中部,转轴底部位于排渣管内,且固接有推板,转轴顶部位于排渣管外,且排渣管外壁上设有用于固定转轴的固定组件,所述推板与排渣管的内壁相抵,且排渣管的内部侧壁设置为弧面;这种废液蒸发设备具有能够将蒸发干燥得到的固体残渣完全排出,排渣管内没有残留的优点。

标签:
固废
江苏 - 无锡 来源:北方有色网 2023-03-19
便于清理悬浮物的废水处理用格栅机

本发明公布了一种便于清理悬浮物的废水处理用格栅机,包括沟渠,该废水处理用格栅机包括底座、固定板、升降板、排污装置和升降装置,该废水处理用格栅机设置在沟渠中使用,固定板和升降板相间布置,升降装置用于驱动各升降板作竖向的往复升降运动,排污装置包括排污座、输送轴和电机,升降装置包括往复丝杆、联动轴和动力轴,本发明的有益效果是,本发明相间设置有固定板和升降板,固定板上设置有用于截留固体杂质的格栅板,通过升降装置驱动升降板竖向往复运动,从而升降板可以将杂质沿从左向右的方向抬升,进而实现连续不断的杂质清理工作,本设备结构简单,且能实现连续自动的杂质截留和清理工作。

标签:
固废
江苏 - 无锡 来源:北方有色网 2023-03-19
三废焚烧综合处理系统及方法

本发明公开了一种三废焚烧综合处理系统和方法,包括固体废料输送机、液体废料输送管道,燃料管道和助燃气体管道,回转窑、二燃室、水冷集成器、急冷塔、喷淋洗涤塔、布袋除尘装置、再热器及烟囱组成,还包括降膜吸收塔,降膜吸收塔的烟气进口连接布袋除尘装置,降膜吸收塔的直接或者间接连接喷淋洗涤塔,降膜吸收塔的排液口连接一个循环泵,循环泵再连接降膜吸收塔的进液口,降膜吸收塔的进气口处设有预冷器,设置降膜吸收塔可以有效吸收气体中的氯化氢气体,降膜吸收塔吸收后,可以有效减少喷淋洗涤塔中碱液的消耗量,且可以得到酸液。

标签:
固废
江苏 - 无锡 来源:北方有色网 2023-03-19
抗生素废水处理系统及方法

本发明涉及污水处理技术领域,具体涉及一种抗生素废水处理系统及方法,首先,在含有抗生素废水中添加氧化剂,并将其输入耦合氧化反应器中进行反应,然后,将耦合氧化反应器中端的反应液输入介质阻挡放电反应器进行反应,而后回流至耦合氧化反应器进行互催化氧化反应,最后,互催化氧化反应的出水经过过滤器,被过滤器去除微量悬浮固体物后再排出,实现高效降解抗生素,有利于提高废水处理效率。

标签:
固废
江苏 - 无锡 来源:北方有色网 2023-03-19
屠宰废水处理系统
屠宰废水处理系统 1030     
 0

本实用新型公开了一种屠宰废水处理系统,包括依次相连的格栅井、废水调节池、厌氧池、接触氧化池、沉淀池、回用水池,接触氧化池上设有回流泵,回用水池上设有第二回流泵,第二回流泵连接至接触氧化池,回用水池上设有排水口,还包括用于将所述的污泥地的污泥压滤成块的压滤机以及向压滤机将污泥压滤成块过程中投加干粉的干粉投加机,还包括与所述的接触氧化池相连接的风机。通过格栅井拦截屠宰废水中的固体悬浮物,再通过厌氧结合无需消耗电能的酸化水解工艺来去除部分有机物可节约运行成本。

标签:
固废
江苏 - 无锡 来源:北方有色网 2023-03-19
三废焚烧综合处理系统
三废焚烧综合处理系统 1139     
 0

本实用新型公开了一种三废焚烧综合处理系统,包括固体废料输送机、液体废料输送管道,燃料管道和助燃气体管道,回转窑、二燃室、水冷集成器、急冷塔、喷淋洗涤塔、布袋除尘装置、再热器及烟囱组成,还包括降膜吸收塔,降膜吸收塔的烟气进口连接布袋除尘装置,降膜吸收塔的直接或者间接连接喷淋洗涤塔,降膜吸收塔的排液口连接一个循环泵,循环泵再连接降膜吸收塔的进液口,降膜吸收塔的进气口处设有预冷器,设置降膜吸收塔可以有效吸收气体中的氯化氢气体,降膜吸收塔吸收后,可以有效减少喷淋洗涤塔中碱液的消耗量,且可以得到酸液。

标签:
固废
江苏 - 无锡 来源:北方有色网 2023-03-19
三氯蔗糖废水的处理装置及使用方法

本发明公开了一种三氯蔗糖废水的处理装置,包括集水槽、厌氧反应器、好氧反应器、BAF反应器和深度氧化池,所述集水槽、厌氧反应器、好氧反应器、BAF反应器和深度氧化池依次相连。同时,本发明还公开了上述三氯蔗糖废水的处理装置的使用方法。本发明各反应器在各级分隔的空间中培养与该空间的底物组分和环境因子相适宜的微生物种群,防止各个单独空间中形成的污泥相互混合,不同部分产生的气体单独排放,不与其他部分混合,之间采用动力布水,使得废水在流动过程中与大量的活性生物量发生多次接触,大大提高了反应器的容积利用率,有效降低了出水COD浓度,提高了污水处理效率,固液分离效果好,耐冲击负荷,生物固体截留能力高的特点。

标签:
固废
江苏 - 无锡 来源:北方有色网 2023-03-19
废退锡液的蒸馏母液连续水洗分离系统

一种废退锡液的蒸馏母液连续水洗分离系统,包括一个原液槽和四个水洗槽;原液槽和四个水洗槽按顺序摆放,其放置的水平位置从前至后依次升高,后一个水洗槽的液体出口位于前一个原液槽或者水洗槽的原料入口上方;原液槽和前面三个水洗槽的固体出口均连接至同一台污泥提升泵;污泥提升泵的出口通过管道连接至四个水洗槽的原料入口处;原液槽的液体出口连接至硝酸铜电解工序;第四个水洗槽的固体出口连接至溶解提锡系统;原液槽的原料入口连接废退锡液的蒸馏母液;四个水洗槽的原料入口连接自来水。本实用新型设备简单,实现水的自流和梯度用水,使用最大程度节省用水量,保证硝酸铜中硝酸酸度,在常温下进行,有效节省能源,使得体系分离成本较低。

标签:
固废
江苏 - 无锡 来源:北方有色网 2023-03-19
洗井废水收集装置
洗井废水收集装置 1252     
 0

本实用新型公开了一种洗井废水收集装置,包括打井设备、振动除杂装置和静置沉淀装置;所述振动除杂装置和静置沉淀装置依次设置在打井设备的泥浆输送管上,且静置沉淀装置对接打井设备的上清水输送管;所述振动除杂装置用于振动筛除泥浆中的硬质固体杂质,所述静置沉淀装置用于对泥浆进行静置沉淀分为下层污泥与上层上清水。本实用新型提供的一种洗井废水收集装置,废水收集经除杂、沉淀去污泥后循环导入打井设备进行打井过程中的洗井作业,能够节约水资源,减少环境污染,降低成本。

标签:
固废
江苏 - 无锡 来源:北方有色网 2023-03-19
含盐废水资源化回收处理系统及方法

本发明涉及一种含盐废水水资源化回收处理系统及方法,废水首先经过预浓缩单元,得到回收水,浓液去减量化单元进一步浓缩,得到回收水;浓缩液TDS达到80000 mg/L以上后去回收硫酸钠单元。经过回收硫酸钠单元得到回收水和工业硫酸钠,外排的母液去调质单元沉淀硫酸根,使硫酸根浓度降低至20000 mg/L以下。经过调质净化的外排母液去回收氯化钠单元得到回收水和工业氯化钠,外排母液一部分返回至调质单元,一部分去杂盐处置单元。含盐废水经过上述全部或部分系统,可回收97%以上回收水,同时得到工业硫酸钠,工业氯化钠或工业硫酸钠和工业氯化钠中的一种,及少量固体杂盐。

标签:
固废
江苏 - 无锡 来源:北方有色网 2023-03-19
负载型钼酸铁催化剂的制备及在染料废水降解中的应用

负载型钼酸铁催化剂的制备及在染料废水降解中的应用。以钼酸铵、硝酸铁、硅藻土、沸石、分子筛为原料,采用水相沉淀法合成负载型钼酸铁固体酸催化剂。合成时先将载体与钼酸铵溶液充分混合,用氨水调节介质至弱碱性。再将硝酸铁溶液逐滴加入到钼酸铵溶液中,充分搅拌,陈化,过滤,洗涤,干燥后,于马弗炉中550℃焙烧2h。该催化剂能快速有效降解亚甲基蓝模拟废水及翠兰实际废水,无须调节染料的pH值,节省试剂,不产生铁污泥,且分离容易,催化剂可重复使用。

标签:
固废
江苏 - 无锡 来源:北方有色网 2023-03-19
养猪场猪粪尿废水资源化处理装置

本实用新型涉及一种养猪场猪粪尿废水资源化处理装置,首先通过猪粪尿水分离系统分离出猪圈冲洗水,产出固体有机肥与液体有机肥;其次通过沼气处理系统分离出沼渣,产出沼气;最后通过废水预处理系统与废水浓缩净化系统分离出浓水与冲洗水回用,剩余的出水满足灌溉标准回收利用,达到养猪废水资源化处理的目的。

标签:
固废
江苏 - 无锡 来源:北方有色网 2023-03-19
生物医用固液废弃物桶
生物医用固液废弃物桶 1131     
 0

本实用新型涉及医疗用品技术领域,提供一种生物医用固液废弃物桶,包括桶体,所述桶体的顶部形成有桶口,所述桶体的底部开设有排水口,所述桶体的底部呈向所述排水口方向倾斜的斜面,所述桶口处可拆卸地设置有引流结构,所述引流结构位于所述桶体内部,所述引流结构自所述桶口向所述桶体底部的方向呈漏斗状。本实用新型的优点在于:防止废弃液体溅出和固体废弃物翻出,实现固液废弃物分开处理,添加桶盖,且密封桶体,便于携带户外使用。

标签:
固废
江苏 - 无锡 来源:北方有色网 2023-03-19
电泳废液有害物检测装置

本实用新型公开了一种电泳废液有害物检测装置,涉及废液检测技术领域。本实用新型包括检测动导结构和便更检测盒结构,检测动导结构的顶端设置有便更检测盒结构,检测动导结构用于检测过程中动力提供,便更检测盒结构用于对废液进行多功能检测,检测动导结构包括搭载定位板、电机、偏心推板、定位销和双向连接杆,搭载定位板一侧的一端通过螺钉固定连接有电机。本实用新型通过检测动导结构和便更检测盒结构的配合设计,使得装置便于快速使得电泳废液往复流动,加快检测过程中有害物质的挥发,从而便于提高检测效率,并通过便更检测盒结构的设计,使得装置便于更换检测卡,并便于同步收集检测固体有害物和气化有害物。

标签:
固废
江苏 - 无锡 来源:北方有色网 2023-03-19
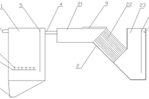
废退锡液制备稀硝酸、海绵锡和聚合氯化铝的方法

一种废退锡液制备稀硝酸、海绵锡和聚合氯化铝的方法:(1)将废退锡液经蒸汽隔套加热、循环进料进行减压蒸馏,得到稀硝酸和锡泥;(2)将锡泥补加水,加入絮凝剂溶液并搅拌,回收上清液和下层锡泥;(3)把锡泥收集并重复步骤(2)得下层锡泥A;而后将步骤(2)和步骤(3)的上清液混合得上清液B;(4)将上清液B置于电解槽中电解回收铜,电解尾液通过浓缩富集可作为稀硝酸产品;(5)将下层锡泥A加入浓盐酸搅拌溶解得溶液C;(6)溶液C中加入水,投加铝片,加入配制絮凝剂溶液,过滤得到海绵锡和聚合氯化铝。本发明处理工艺操作简单,无次生固体废物产生,可同时得到稀硝酸、海绵锡和聚合氯化铝三种产品,有较好的经济收益。

标签:
固废
江苏 - 无锡 来源:北方有色网 2023-03-19
硅切割废砂浆回收利用的方法

一种硅切割废砂浆回收利用的方法,主要工序为将废砂浆固液分离,固体流水洗、真空抽滤,将所得滤饼烘干,与去离子水混合并活化反应;先后加入水玻璃、氢氧化钠,加热反应;所得产物固液分离,将所得液相通过离子交换树脂脱色、蒸馏得到硅溶胶,固相水洗、烘干得碳化硅原料;废砂浆固液分离所得液相经超精滤,加入脱色剂和助滤剂后固液分离,降低电导率,加热蒸发水分,得到成品聚二乙醇切割液。本发明技术方案适合流水线生产,硅切割废砂浆变废为宝,且有效制备硅溶胶,减少环境污染。

标签:
固废
江苏 - 无锡 来源:北方有色网 2023-03-19
硅片切割废液的回收方法

本发明公开了一种硅片切割废液的回收方法,使用静置分离和压滤机相结合的办法去除废液中的固体颗粒。这种方法更加节能,高效。

标签:
固废
江苏 - 无锡 来源:北方有色网 2023-03-19
养猪场猪粪尿废水资源化处理装置及方法

本发明涉及一种养猪场猪粪尿废水资源化处理装置及方法,首先通过猪粪尿水分离系统分离出猪圈冲洗水,产出固体有机肥与液体有机肥;其次通过沼气处理系统分离出沼渣,产出沼气;最后通过废水预处理系统与废水浓缩净化系统分离出浓水与冲洗水回用,剩余的出水满足灌溉标准回收利用,达到养猪废水资源化处理的目的。

标签:
固废
江苏 - 无锡 来源:北方有色网 2023-03-19
电子工业废水回收再利用装置

本发明涉及废水回收装置领域,尤其为一种电子工业废水回收再利用装置,包括回收装置主体与沉淀室,所述回收装置主体的上端外表面设有通风口,所述回收装置主体的前端外表面设有控制面板,所述回收装置主体的一侧固定安装有废水入口,且回收装置主体的另一侧固定安装有回收水出口,所述回收装置主体的底端固定安装有底座。本发明所述的一种电子工业废水回收再利用装置,设有限流板、沉淀室、加药机与固液分离型膜组件,可以均衡水量,增加水的调节时间,还可以回收有用的固体颗粒,又可以去除多种有毒有害污染物,并且能够大幅去除水中的悬浮物、细菌与病毒,带来更好的使用前景。

标签:
固废
江苏 - 无锡 来源:北方有色网 2023-03-19
改进的废烟气脱硝催化剂回收处理方法

本发明提供一种改进的废烟气脱硝催化剂回收处理方法,在减少固体废物污染、对资源的循环利用、降低成本,节约能源、实现环保治理及提高综合效益的同时,减少了回收工艺、降低了回收处理难度,从而降低了处理成本,而且有效减少了废烟气脱硝催化剂回收过程中产生的二次污染。其包括步骤如下:(1)、制备清洗液;(2)、清洗除杂;(3)、固液分离;(4)、干燥处理,(5)、精细粉碎。

标签:
固废
江苏 - 无锡 来源:北方有色网 2023-03-19
难降解废水处理的催化剂、制备方法及制备设备

本发明公开了一种难降解废水处理的催化剂,包括纳米零价铁、粉末活性炭和石墨烯的第一组分和与硝酸铜的第二组分,本发明还公开了难降解废水处理的催化剂的制备方法,包括如下步骤:制备纳米零价铁;将各原料按质量比混合;将硝酸铜按质量比投入第一组分中,并加入催化双氧水和催化过硫酸盐即可制得催化剂;本发明还公开了难降解废水处理的催化剂的制备装置,包括混合结构、合成结构和排放结构,混合结构包括入料口、分散阀和混合腔体,分散阀包括设有若干通孔的阀叶、转动轴和倾斜管,本发明通过用催化剂来解决难降解的废水,并对催化剂的制备方法进行改进,合理配合原料的固体细粒,有效提升混合的均匀程度,也即提升催化剂的性能。

标签:
固废
江苏 - 无锡 来源:北方有色网 2023-03-19
降解废弃聚酯纤维制备黄色偶氮染料的方法

本发明涉及一种降解废弃聚酯纤维制备黄色偶氮染料的方法,包括以下工艺步骤:(1)乙二醇降解废弃聚酯纤维,得到产物对苯二甲酸乙二醇酯(BHET);(2)BHET的硝化及还原,得到氨基对苯二甲酸乙二醇酯(ABHET);(3)ABHET的重氮偶合制备偶氮染料。本发明涉及固体废弃物处理、聚酯降解、纺织印染等技术领域。通过乙二醇降解废弃聚酯纤维,得到BHET经过硝化、还原、重氮、偶合等反应可制备一系列偶氮染料,充分实现了废弃聚酯纤维的有效回收和循环利用。此类偶氮染料可用于锦纶、涤纶等合成纤维及其织物的染色。

标签:
固废
江苏 - 无锡 来源:北方有色网 2023-03-19
生物实验室废液收集器

本实用新型公开了一种生物实验室废液收集器,包括箱体,箱体顶部设置有进料口,进料口与箱体连通,进料口底部固定连接有一号输料管,箱体内壁靠近进料口一侧顶部固定连接有分离仓,一号输料管贯穿分离仓,一号输料管位于分离仓内部底部设置有过滤层,分离仓底部靠近箱体一侧固定连接有二号输料管,二号输料管远离分离仓一端固定连接有杀菌仓,有益效果是:一号输料管底部过滤层和分离仓的设置,可以有效的实现固液分离,将废液中的固体颗粒物筛出,杀菌仓的设置,可以对废液进行高温杀菌,防止废液排出后对环境产生危害,检测仓的设置可以有效检测废液的PH值是否达标,输液管的设置可以输送调和剂值存储仓。

标签:
固废
江苏 - 无锡 来源:北方有色网 2023-03-19
医药废水处理氧化剂及其制备方法

本发明公开了一种医药废水处理氧化剂的制备方法,包括以下步骤:制备多孔钛胶粒;将多孔钛胶粒置于乙二醇中,滴加硅源,在无水条件下反应后快速加入到丙酮中,剧烈搅拌反应,反应结束后得到的沉淀置于去离子水中反应,制得多孔硅/钛复合胶粒;采用共沉淀的方法,将多孔硅/钛复合胶粒负载镁铝;然后将其在甲酰胺中制得类水滑石纳米片胶液;加入氧化石墨烯的分散液,超声处理,加入多孔硅/钛复合胶粒,混合后过滤,将固体进行冷冻干燥,制得片层状多孔复合载体;将片层状多孔复合载体、高铁酸钾、氢氧化钾溶液混合搅拌吸附处理,制得医药废水处理氧化剂。本发明制得的医药废水处理氧化剂稳定性以及分散性好,能有效除去医药废水中的有机污染物。

标签:
固废
江苏 - 无锡 来源:北方有色网 2023-03-19
处理有机废气的光催化反应器

本发明涉及一种处理有机废气的光催化反应器,包括风扇、筛网、过滤介质、壳体、紫外灯、进气口、出气口、废液排出口。筛网为能除去有机废气所含固体颗粒的活性炭纤维,并固定在筛板上。过滤介质为负载有纳米二氧化钛光催化剂筛板。在两层相邻的过滤介质之间设有灯管卡,灯管安装在灯管卡上,灯管卡固定在箱体上。过滤介质和固定灯管的灯管卡都可以单独拆卸下来,以便与检查维修。箱体安装或搁置在支座上,排水口安装在箱体的位势较低处,箱体内的清洗水或废液由排水口排出壳体。具有装卸、维修方便;结构简单。成本低廉;适用性好的优点。

标签:
固废
江苏 - 无锡 来源:北方有色网 2023-03-19
电子级混合废酸回收及循环利用生产系统

本实用新型涉及废酸处理技术领域,尤其为一种电子级混合废酸回收及循环利用生产系统,包括浓缩塔、支撑架、转动电机和螺纹杆,所述浓缩塔上端面固定连接有支撑架,所述支撑架上端面固定连接有转动电机,所述转动电机主轴末端固定连接有螺纹杆,所述螺纹杆外侧螺旋连接有滑动筒,所述滑动筒下端面固定连接有挡板,所述浓缩塔左端面连通有进料管,所述浓缩塔左右端面均固定连接有支腿,位于左侧的支腿后端面固定连接有耐酸泵;本实用新型中,通过设置的支撑架、滑动筒和挡板,稀硫酸在加热时固体析出,然后通过挡板与凹槽卡合,通过排污管可以将固定排出,然后增大传热效果,能有效增快废酸的分离,节省时间有效提高工作效率。

标签:
固废
江苏 - 无锡 来源:北方有色网 2023-03-19
树脂油污废水处理装置

本实用新型涉及树脂油污废水处理装置,包括污物收集室、油污收集室,所述油污收集室分为油污紊流区、油污斜管收集区、清水收集区,所述污物收集室一侧上部设有废水进口,另一侧设有出口,出口与油污紊流区连接,出口低于废水进口,靠近出口的污物收集室内设有返流板,污物收集室下部设有曝气管,曝气管上设有多个曝气头,污物收集室底部为斜板结构,最底部设有污物出口,所述油污紊流区上部设有油污收集槽,所述清水收集区一侧设有溢流口,靠近溢流口的清水收集区内设有清水返流板。本装置实现了废水的固体污物处理和油污处理,处理后的水可以循环再利用,保护了环境,节约了水资源。

标签:
固废
江苏 - 无锡 来源:北方有色网 2023-03-19
含氟和硝酸废水的回收处理方法

本发明提供了一种含氟和硝酸废水的回收处理方法,其能对含氟硝酸废水进行处理,并回收其中的氟离子和硝酸根离子。其包括以下步骤:一、将含氟硝酸废水通入反应槽中,加入碳酸钙,搅拌至溶液呈中性;二、通入一级沉降槽中沉降,沉降时间为2h~4h,上清液经过滤后通入二级沉降槽中,污泥置入压滤机进行压滤,压滤得到的滤液通入二级沉降槽中,滤饼干燥后回收;三、向二级沉降槽中添加絮凝剂,沉降时间为2h~4h,上清液经过过滤后通入蒸馏釜中进行减压蒸馏,絮凝污泥外排进行处理;四、蒸馏后得到的固液混合物通入至离心机中进行分离,离心后的液体回流至蒸馏釜中,固体颗粒进行干燥后通入至硝酸钙收集槽中进行收集。

标签:
固废
江苏 - 无锡 来源:北方有色网 2023-03-19
上一页 47 48 49 50 51 ... 61 下一页
共61页    到第

北方有色为您提供最新的江苏无锡有色金属固/危废处置技术理论与应用信息,涵盖发明专利、权利要求、说明书、技术领域、背景技术、实用新型内容及具体实施方式等有色技术内容。打造最具专业性的有色金属技术理论与应用平台!

全国热门有色金属设备推荐
展开更多 +
全国热门有色金属技术推荐
展开更多 +

 

江西省隆恩特环保设备有限公司
宣传

报名参会
更多+

报告下载

有色专家
更多+

江西铜业集团有限公司
党委书记、董事长
中南大学
院长/教授
矿冶科技集团
中国工程院院士
西安建筑科技大学
院长/教授
中铝检测科技(郑州)有限公司/国家轻金属质量检验检测中心
正高级工程师
赤泥综合利用研究报告2025
推广

热门技术
更多+

推荐企业
更多+

福建省金龙稀土股份有限公司
宣传

发布

在线客服

公众号

电话

顶部
咨询电话:
010-88793500-807