青岛垚鑫智能科技有限公司
宣传

位置:中冶有色 >

有色技术频道 >

> 复合材料技术

分类:
全部
矿山技术
冶金技术
材料制备及加工技术
环境保护技术
分析检测技术
 
全部
功能材料技术
复合材料技术
新能源材料技术
合金材料技术
加工技术
地区:
全部
北京
天津
上海
重庆
河北
山西
辽宁
吉林
黑龙江
江苏
浙江
安徽
福建
江西
山东
河南
湖北
湖南
广东
海南
四川
贵州
云南
陕西
甘肃
青海
内蒙
广西
西藏
宁夏
新疆
其他
其他
展开
 
全部
沈阳
大连
鞍山
抚顺
本溪
丹东
锦州
营口
阜新
辽阳
盘锦
铁岭
朝阳
葫芦岛

辽宁沈阳有色金属复合材料技术理论与应用

免费发布技术信息>>
医用镁合金/磷酸钙复合材料

本发明涉及一种可以应用于医用植入材料的镁合金/磷酸钙复合材料,特别适合作为人体环境下使用的可吸收骨植入材料。它含有(重量%):1-30%磷酸钙。磷酸钙可以是磷酸钙(CaO·P2O5),β-磷酸钙(3CaO·P2O5),羟基磷灰石(Ca10(PO4)6(OH)2),含镁羟基磷灰石,含硅羟基磷灰石中的一种或几种。镁合金可以是高纯镁、Mg-Mn、Mg-Zn、Mg-Ca、Mg-Zn-Ca、Mg-Zn-Y、Mg-Zn-Mn和Mg-Zn-Zr合金中的任何一种。在本发明的镁合金基复合材料中,通过调整羟基磷灰石的含量,可以有效地改变复合材料的强度;同时,降低镁合金的腐蚀降解速率,提高镁合金基复合材料的表面生物相容性和生物诱导性。

标签:
复合材料
辽宁 - 沈阳 来源:中冶有色网 2023-03-18
花状结构CuO-In2O3复合材料制备方法及其应用

本发明一种花状结构CuO‑In2O3复合材料制备方法及其应用,涉及一种复合材料制备方法及应用,本发明花状结构CuO‑In2O3复合材料制备采用的是简单高效的一步水热法,通过改变原材料比例建立最佳结构,使其具有优异的应用性能。整个生产过程工艺简单、成本低廉、可控性好、无毒无害,制备的材料纯度高、结晶好、分散性好,适合大规模工业化生产。本发明制备的花状结构CuO‑In2O3复合材料对甲醛在较低温度下表现出较高的灵敏度、良好的选择性和稳定性,应用于气体敏感材料制作气体传感器,用于甲醛气体的检测,使其在检测室内环境中的有机挥发气体方面展现出广阔的应用前景。

标签:
复合材料
辽宁 - 沈阳 来源:中冶有色网 2023-03-18
填料定向排布的复合材料及其制备方法

本发明公开了一种填料定向排布的复合材料及其制备方法,属于新材料及其制备技术领域。该方法首先将片层状填料与有机高分子材料均匀混合,再通过挤压方式实现填料在基体中的有序定向排布,进而制备出所述填料定向排布的复合材料。所制备的复合材料是由片层状填料和有机高分子材料基体组成,片层状填料有序定向排布于有机高分子材料基体中,从而充分发挥填料在特定方向上的性能的优势,因此该复合材料具有优异的性能(如特定方向上的导热性能)、良好的弹性和柔韧性,在导热、导电或电磁屏蔽等诸多领域存在应用潜力。

标签:
复合材料
辽宁 - 沈阳 来源:中冶有色网 2023-03-18
加工复合材料用铣刀的参数化设计方法

本发明提供一种加工复合材料用铣刀的参数化设计方法,包括以下步骤:设计开始;确定加工复合材料铣刀的设计要求及数据;根据被加工零件的材料及其结构参数、铣刀的设计标准并依据复合材料刀具设计与制造的知识库模块自动进行刀具结构的设计;根据被加工零件的材料及其结构参数、铣刀的设计标准并依据复合材料刀具设计与制造的知识库模块自动进行刀具材料及其结构参数的计算;应用VB程序设计软件编制渐开线齿形参数计算软件,然后进行渐开线齿形参数的计算,并计算出渐开线齿轮与花键齿形的坐标;根据得到的结构数据、参数数据以及齿形坐标数据,通过VB程序直接驱动AutoCAD软件自动完成AutoCAD版本的刀具图纸设计。本发明具有提高效率、减少设计误差等特点。

标签:
复合材料
辽宁 - 沈阳 来源:中冶有色网 2023-03-18
六方氮化硼-钇硅氧复合材料及其制备方法

本发明涉及陶瓷基复合材料领域,具体为一种六方氮化硼(h-BN)-钇硅氧(Y2SiO5)复合材料及其制备方法。该复合材料中六方氮化硼相的体积百分数为5~95%,钇硅氧相的体积百分数为5~95%。钇硅氧相由三氧化二钇(Y2O3)和二氧化硅(SiO2)通过原位反应合成制备,具体制备方法:原料为氮化硼粉、三氧化二钇粉和二氧化硅粉,其中Y2O3:SiO2的摩尔比为1 : 1。原料粉经物理机械方法混合2~24小时,装入石墨模具中冷压成型,施加的压强为10~20MPa,在通有保护气氛的热压炉内烧结,升温速率为5~20℃/分钟,烧结温度为1600~1900℃、烧结时间为1~5小时、烧结压强为10~40MPa。从而,采用本发明方法能够实现原位合成制备氮化硼-钇硅氧复合材料。

标签:
复合材料
辽宁 - 沈阳 来源:中冶有色网 2023-03-18
复合材料气瓶及其外表面防护方法

本发明涉及一种对复合材料气瓶界面和缠绕层进行防护处理的复合材料气瓶及其外表面防护方法。通过对钢质内胆外表面吹砂、清漆,及对缠绕层进行打磨粗化,刮涂腻子,喷涂底漆及面漆,从而改善了复合材料气瓶的外表面状态,同时提高了复合材料气瓶对抗恶劣条件耐受程度,可以稳定产品质量并提高气瓶贮存使用寿命。

标签:
复合材料
辽宁 - 沈阳 来源:中冶有色网 2023-03-18
表面铝基复合材料制备方法

一种表面铝基复合材料制备方法,其特征在于:把分散有碳化硅粒子的有机溶剂溶浆均匀地涂敷在清洁的铝板表面,在工具转动速度200-800转/分钟、横向运行速度5-50毫米/分钟的工艺条件下,对干燥后的铝板进行表面搅拌摩擦加工。本发明所获得的表面复合材料层的厚度在50-200微米,与铝合金载体有良好的结合。

标签:
复合材料
辽宁 - 沈阳 来源:中冶有色网 2023-03-18
快响应低成本高精度的复合材料构件辅助维修方法

一种快响应低成本高精度的复合材料构件辅助维修方法,包括以下步骤:步骤1,基于装机状态下损伤复合材料构件的三维数模,制备胎面与构件工作型面一致,形成实体或框架结构的复合材料工艺假件;步骤2,在工艺假件表面依次铺敷气凝胶膜和脱模布,铺展后在其表面损伤区域以工艺假件型面为基准制备维修工装坯体,将坯体塑形后封装;步骤3,冷却定型维修工装后,抛光其贴胎面,在损伤复合材料构件表面将补片、维修工装及工艺辅料封装为整体,高温负压下完成复合材料构件的维修。特别适用于局部损伤且损伤区域具备分散特征的航空复合材料构件的辅助维修过程,能够大幅度提升维修质量,降低维修成本,缩短维修周期。

标签:
复合材料
辽宁 - 沈阳 来源:中冶有色网 2023-03-18
原位合成碳纳米管增强铝基复合材料

为了改善粉末合金的硬度、耐磨性,设计了一种原位合成碳纳米管增强铝基复合材料。采用铝粉和CO(NO3)2·6H2O为原料,所制得的原位合成碳纳米管增强铝基复合材料,其硬度、致密化程度、抗弯强度都得到大幅提升。其中,不添加PCA得到的CNTS/Al复合材料的抗拉强度和伸长率均为最高,展现了优异的拉伸性能,随球磨时间的增加,CNTS/Al复合材料的硬度和抗拉强度均不断增加,伸长率先增后减。复合材料硬度和强度的显著提升部分原因是铝基体加工硬化,均匀分散在基体内的CNTS有效承担了载荷,充分发挥了强化作用。本发明能够为制备高性能的铝基复合材料提供一种新的生产工艺。

标签:
复合材料
辽宁 - 沈阳 来源:中冶有色网 2023-03-18
用于腐蚀介质冲蚀工况下的聚醚醚酮/泡沫镍基合金双连续复合材料及其制备方法

本发明公开了一种用于腐蚀介质冲蚀工况下的聚醚醚酮/泡沫镍基合金双连续复合材料及其制备方法,该复合材料的制备是将泡沫镍基合金板加工成所需的形状后,采用模压成型法将熔融态的聚醚醚酮压入柱状的泡沫镍基合金中,获得结构完整、充填紧密的聚醚醚酮/泡沫镍基合金双连续复合材料。所制备的复合材料由三维方向均连续的基体和增强体组成,其具有三维空间拓扑结构,材料分布连续均匀,界面结合力好;金属材料作为增强体,利于分散和传递应力,导热效果好;镍基合金(含铬、铝),耐腐蚀能力强;聚醚醚酮材料比强度高,耐磨性能好,能获得较好的耐冲蚀效果。该材料尺寸可控,可在腐蚀介质冲蚀工况条件下替代传统材料或作为传统材料内衬使用。

标签:
复合材料
辽宁 - 沈阳 来源:中冶有色网 2023-03-18
树脂改性的C/(C-)SiC-ZrC复合材料的制备方法

本发明公开了一种树脂改性的C/(C‑)SiC‑ZrC复合材料的制备方法,属于超高温陶瓷基复合材料制备技术领域。本发明采用化学气相渗(CVI)工艺结合前驱体浸渍裂解(PIP)工艺制备了C/(C‑)SiC‑ZrC复合材料,通过在ZrC和SiC前驱体内直接引入树脂作为碳源,可制备出具有化学计量比的ZrC‑SiC基体,并有效避免前驱体在裂解过程中对碳纤维、热解碳(PyC)界面和基体的损伤,可显著改善复合材料的力学性能。

标签:
复合材料
辽宁 - 沈阳 来源:中冶有色网 2023-03-18
混合稀土孕育Al-Mg<sub>2</sub>Si复合材料及其制备方法

一种混合稀土孕育Al‑Mg2Si复合材料及其制备方法,属于材料熔炼与铸造技术领域;复合材料的化学成分按质量百分比:Mg:7.3~20%,Si:3.7~10%,Mg+Si:10~40%,余量为Al;Ce+La:0.2~1.5%;其中,按原子比,Ce∶La=(1~4)∶(1~4),Mg∶Si=2∶1,且该复合材料含有片状和/或藕片状Mg2Si强化相;制备方法:1)熔炼制得熔化后的合金熔液;2)精炼:加入除渣除气剂,得到精炼后的合金熔体;3)浇注至预热好的铸型模具中,制得混合稀土孕育Al‑Mg2Si复合材料;其极限抗拉强度为181~238MPa,硬度为86~146HB。

标签:
复合材料
辽宁 - 沈阳 来源:中冶有色网 2023-03-18
高强度高导电率铜基复合材料及其制备方法

一种高强度高导电率铜基复合材料,为Cu?Ag?X三元复合材料,组成成分按重量百分比为:Ag为6~30%,金属X为0.1~6%,余量为Cu;其中,金属X为Nb、Cr或Mo;制备步骤包括:(1)制备合金铸锭;(2)均匀化热处理;(3)退火处理;(4)轧制或拉拔变形处理。通过在Cu?Ag二元合金中添加一定量的Nb、Cr或Mo第三组元,利用弥散强化的方式强化合金;通过对合金施加合适温度和时间的热处理,控制Ag相的析出方式,促进Ag的连续析出;通过将铸态组织优化和变形结合,以纳米纤维强化和第三组元弥散强化相结合,提高材料强度的同时增大导电性能,获得综合性能较好的高强高导铜基材料。

标签:
复合材料
辽宁 - 沈阳 来源:中冶有色网 2023-03-18
复合材料整体登机梯的成型工装

本实用新型属于飞机复合材料成型领域,公开了一种复合材料整体登机梯的成型工装。包括型板组件、框架组件、脚轮组件、吊块组件、卸扣组合组件、螺母和螺钉。吊块组件通过螺母、螺钉与框架组件侧面连接后再焊接,脚轮组件通过螺母和螺钉与框架组件下部连接后再焊接,型板组件安装在框架组件上部,焊接连接;焊接区域采用齿状结构减少焊接工作量,同时减少焊接变形。通过该成型工装可实现复合材料登机梯的精确成型,解决了复合材料登机梯成型工装沉重,不易分解和转运的问题,提高了成型质量和转运效率。

标签:
复合材料
辽宁 - 沈阳 来源:中冶有色网 2023-03-18
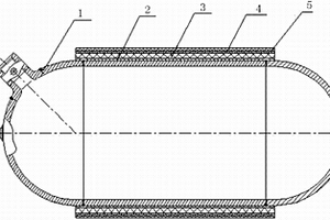
耐高温复合材料口盖
耐高温复合材料口盖 902     
 0

本实用新型公开了一种耐高温复合材料口盖,属于飞机结构设计领域。所述口盖包括口盖蒙皮(1)、加强边(2)以及筋条(3),在所述口盖蒙皮(1)的一侧面沿周向设置有环状的加强边(2),若干个筋条(3)设置在口盖蒙皮(1)上,其两端分别固定在所述环状的加强边(2)的内侧壁上。本实用新型提供的耐高温复合材料口盖,采用高温复合材料解决了金属材料口盖不能在高温环境下长时间使用的问题,布置的加强边与筋条满足了口盖的强度和刚度使用要求,口盖蒙皮与加强边、筋条的共固化及二次胶接成型工艺减少了紧固件数量,降低了装配难度。同时,结合复合材料较金属相比的低密度优势,能够有效的解决口盖的高温及减重难题。

标签:
复合材料
辽宁 - 沈阳 来源:中冶有色网 2023-03-18
含炔基和芳醚腈结构苯并噁嗪树脂、复合材料及其制法

一种含炔基和芳醚腈结构苯并噁嗪树脂、复合材料及其制法,属于高分子材料技术领域。该含炔基和芳醚腈结构苯并噁嗪树脂的分子结构式为:其制法:主要采用二元酚类化合物、二卤代苯甲腈类化合物、碱性化合物催化剂在极性非质子溶剂中首先合成酚羟基封端的聚芳醚腈齐聚物;继而再与醛类化合物、氨基苯乙炔反应合成含炔基和芳醚腈结构苯并噁嗪树脂;其与纤维复合制备复合材料。该苯并噁嗪树脂分子结构中同时引入了炔基、芳醚、芳腈基团,改善了树脂的溶解性、反应活性以及与其他热固性树脂的相容性,提高树脂的综合力学性能和附着力;是一种兼具优异加工性能、耐热性和力学性能的高性能树脂体系。

标签:
复合材料
辽宁 - 沈阳 来源:中冶有色网 2023-03-18
放电等离子烧结制备的Ti3SiC2/金刚石复合材料

为了改善粉末合金的硬度、耐磨性,设计了一种放电等离子烧结制备的Ti3SiC2/金刚石复合材料。采用Ti3SiC2粉,金刚石颗粒为原料,所制得的放电等离子烧结制备的Ti3SiC2/金刚石复合材料,其硬度、致密化程度、抗弯强度都得到大幅提升。其中,当金刚石粒度较细时,在1000℃烧结温度下,基体主相是TiCx,TiC和Ti3SiC2,随温度升高,TiCx逐渐转变成TiC,当温度升高至1200℃时,基体主相为TiC,含少量Ti3SiC2。含较粗金刚石的复合材料较致密,存在大量板条状Ti3SiC2晶粒以及少量颗粒状TiC。金刚石与Ti3SiC2晶粒间存在很薄的TiC过渡层,金刚石颗粒与基体结合良好。随烧结温度升高,材料的磨削性能提高。本发明能够为制备高性能的Ti3SiC2/金刚石复合材料提供一种新的生产工艺。

标签:
复合材料
辽宁 - 沈阳 来源:中冶有色网 2023-03-18
混合型聚醚-聚酯聚氨酯/环氧阻尼复合材料制备方法

一种混合型聚醚-聚酯聚氨酯/环氧阻尼复合材料制备方法,属于聚合物阻尼材料制备技术领域,制备方法分别用聚醚多元醇、二异氰酸酯与环氧树脂制备环氧聚醚聚氨酯预聚体和用聚酯多元醇与二异氰酸酯制备聚酯预聚体,然后按比例混合两类预聚体,再用扩链剂交联制备新型的混合型聚醚-聚酯聚氨酯/环氧阻尼复合材料。其兼具聚醚聚氨酯、聚酯聚氨酯和环氧树脂材料之优异性能,并具备宽温域阻尼性能。本发明制备方法简便、工艺稳定及温和、产品性能可控,可大规模工业化生产。可广泛用做阻尼材料、弹性材料、耐磨材料、密封材料、防腐材料、医用材料、运动材料及粘结材料等。

标签:
复合材料
辽宁 - 沈阳 来源:中冶有色网 2023-03-18
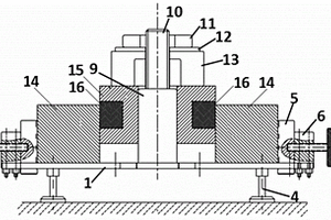
用于金属基复合材料环形包套精准定位组装装置

本实用新型涉及金属基复合材料环形件的制备,具体是一种用于金属基复合材料环形包套精准定位组装装置。该装置主要包括:承载平台、限位滑块、限位固定端、限位滑块导轨、限位调节螺杆、限位圆筒、下压螺杆、下压螺母、滑片和压头,采用包套承载系统、外环定位系统、内环定位系统和内环压入系统相结合,精确控制包套内外环同轴和平稳压入内环。本实用新型可以解决现有金属基复合材料环形包套装配过程中出现的低效率、包套多次装配磨损和芯材损坏等问题,用于高效、精准装配金属基复合材料环形包套。

标签:
复合材料
辽宁 - 沈阳 来源:中冶有色网 2023-03-18
层叠结构C/C-SiC-ZrB<sub>2</sub>复合材料及其制备方法

本发明公开了一种层叠结构C/C‑SiC‑ZrB2复合材料及其制备方法,属于陶瓷基复合材料技术领域。该复合材料为变组分层叠一体化结构,从中心到两侧依次对称分布有C/C、梯度C/C‑SiC、C/SiC‑ZrB2复合材料以及SiC涂层,通过碳、SiC基体在材料中心的分布以提高力学性能、降低密度,通过ZrB2在外层的富集以实现耐超高温烧蚀;本发明在20‑40小时内即可完成C/C和C/C‑SiC层的制备,并在碳纤维预制体表层留有大量孔隙,利于后续前驱体浸渍裂解工艺引入ZrB2‑SiC超高温陶瓷。该材料的设计充分考虑到了力学、烧蚀、氧化、轻质等综合性能的提高,且制备周期大大缩短。材料2100℃电弧风洞考核材料下零烧蚀。

标签:
复合材料
辽宁 - 沈阳 来源:中冶有色网 2023-03-18
用于SiCp/Al复合材料缺陷超声精准定量检测的模拟试块

本发明的目的在于提供一种用于SiCp/Al复合材料缺陷超声精确定量的模拟试块及其应用,用于检测铝基复合材料,所述模拟试块包括本体、平底孔和填充物,其中:所述本体呈等宽阶梯状,包括3个以上阶梯,且每个阶梯均设有孔径相同的平底孔,在中间的阶梯上并列设有三个平底孔,其中一个平底孔不填充材料,另两个平底孔分别填充不同的填充物,所述填充物分别为Al柱和SiCp/Al复合材料。该模拟试块对于SiCp/Al复合材料中特有的缺陷类型(SiCp团聚、偏析、Al线)检测效果良好。

标签:
复合材料
辽宁 - 沈阳 来源:中冶有色网 2023-03-18
黑磷复合材料及其制备和应用

本发明涉及贵金属离子废液处理技术领域,尤其涉及一种黑磷复合材料及其制备在含贵金属离子溶液中回收贵金属的应用。黑磷复合材料为在黑磷(BP)表面利用重氮盐进行共价修饰,再由2‑溴丙酰溴的酯化和N‑异丙基丙烯酰胺(NIPAM)的原子转移对共价修饰的黑磷(BP)进行自由基聚合得BP‑PNIAPM复合材料。所述黑磷复合材料在回收贵金属离子中的应用。本发明合成的BP‑PNIPAM材料,可将回收低浓度贵金属离子和生产贵金属纳米颗粒结合到一起,具有对贵金属离子回收率高,在干扰离子存在下回收的选择性好,提升了回收贵金属离子的应用价值,回收过程对环境友好。

标签:
复合材料
辽宁 - 沈阳 来源:中冶有色网 2023-03-18
复合材料隔框结构四点弯曲试验方法

本发明涉及一种复合材料隔框结构四点弯曲试验方法,用于研究不同隔框结构形式及不同长桁鼠洞形状对隔框结构应力应变分布及承载能力的影响,及评定结构承受BVID损伤的能力,验证结构剩余强度,所述复合材料隔框结构四点弯曲试验方法包括1:选取试验件、2:设计加载方案和3:加载试验。本发明的复合材料隔框结构四点弯曲试验方法可为我国在研及在役民用飞机机身复合材料隔框结构的研制提供技术支撑,降低结构重量,提升飞机性能,降低使用维护成本,提高经济效益。

标签:
复合材料
辽宁 - 沈阳 来源:中冶有色网 2023-03-18
多面体低聚倍半硅氧纳米复合材料的制备方法

多面体低聚倍半硅氧纳米复合材料的制备方法属于纳米复合材料技术领域,具体的说,本发明涉及多面体低聚倍半硅氧纳米复合材料的制备方法。本发明提供了一种采用POSS作为无机组分,通过ATRP法制备了多面体低聚倍半硅氧纳米复合材料的制备方法。本发明采用方法如下:步骤1、取POSS-CI为0.05~0.08g、苯乙烯5mL、POSS/CuCI/bpy按摩尔比为1:1.2:3,与小磁子一同放于密闭容器中。步骤2、抽真空,置于110℃油浴,搅拌,反应15h。溶液呈红褐色,冷却后变粘稠。加入少量四氢呋喃溶解,用滤纸过滤,加大量甲醇于滤液中;立即出现白色絮状沉淀,过滤,烘干即得到产物。

标签:
复合材料
辽宁 - 沈阳 来源:中冶有色网 2023-03-18
优化飞机复合材料零件装配贴合面间隙的方法

本发明涉及一种优化飞机复合材料零件装配贴合面间隙的方法,包括以下步骤:1)装配工装设计;2)容差分配;3)真空吸盘设计;4)骨架与复合材料壁板配合过程:4.1)首先将骨架定位到骨架工装上;4.2)通过电机驱动壁板工装向骨架工装方向移动,并使真空吸盘装置上的顶紧机构工作;4.3)待壁板工装到位与骨架工装对合后,真空吸盘装置的顶紧机构在该处已施加15kg的基础上,再增加顶紧力,使骨架与复合材料壁板贴合面间隙最小。该方法通过对零件公差的控制,以及合理的使用定位过程中加载的方法,使复合材料零件在装配过程中,尽可能的减小与骨架贴合面的间隙,从而减少零件贴合面之间需要使用固体或液体垫片填充误差累计间隙的问题。

标签:
复合材料
辽宁 - 沈阳 来源:中冶有色网 2023-03-18
铝基复合材料板材的轧制方法

本发明公开了一种铝基复合材料板材的轧制方法,属于金属基复合材料成型加工领域。该方法规定了用于轧制复合材料坯锭的密度,在此基础上采用多方向自由锻或挤压制备板坯,轧制板材厚度为1~150mm;采用分段温度轧制,开坯和换向轧制均在再结晶温度区间进行以避免后续轧制产生缺陷,其余道次在动态回复温度下采用大变形量轧制,提高轧制效率;缩小了轧制温度和轧制速度区间,从而可以精确控制组织并避免缺陷;采用中低温下终轧以确保板材性能。由此所制备的铝基复合材料板材具有高强度、良好的耐腐蚀和耐疲劳性能,且能实现大尺寸板材的高效轧制。

标签:
复合材料
辽宁 - 沈阳 来源:中冶有色网 2023-03-18
消防水带用复合材料及其制备方法

本发明涉及塑料复合材料,具体涉及一种消防水带用复合材料及其制备方法。为克服现有消防水带内衬不耐老化和价格较贵的缺陷,本发明所述消防水带用复合材料由下列重量份配比的原料制得:聚氯乙烯55-65份、丙烯酸酯7-9份、粘合剂5-10份、活化剂3-5份、硫化剂2-5份、轻质碳酸钙25-35份、石蜡0.1-1份、增塑剂15-30份、防老剂1-3份、复合稳定剂3-6份、钛白粉0.5-1.0份、白炭黑10-16份、氧化镁5-8份。本发明的复合材料可用于消防水带作为消防水带的橡胶内衬,通过对组分的合理分配以及采用适宜的制备方法,获得了耐磨、耐高压、耐腐蚀、耐高温、使用寿命长的消防水带。

标签:
复合材料
辽宁 - 沈阳 来源:中冶有色网 2023-03-18
轧制态碳纤维增强铝合金复合材料的制备方法

本发明涉及碳纤维增强铝基复合材料技术领域,特别是一种轧制态碳纤维增强铝合金的制备方法。其结构设计方法为:首先将金属锡包覆在折叠成波纹形的碳纤维布周围以形成(锡包覆碳纤维)波纹状夹层;然后将夹层植入到铝合金基体中构筑出锡层包覆波纹形碳纤维增强铝基复合材料铸锭。随后对铸锭进行热轧,金属锡在热轧过程中呈液态,可以较大程度上释放碳纤维布上的载荷,有效地克服碳纤维布上的应力集中,减轻纤维损伤。最后进行多级次热处理使锡与铝合金固溶,进一步增强复合材料力学性能。通过构筑[(锡包覆碳纤维)波纹形植入铝合金]多层次结构实现碳纤维协同铝合金基体协同延展的同时保护了碳纤维抗损伤能力,可为我国的航空航天新型轻量高强碳纤维增强铝基复合提供技术支撑。

标签:
复合材料
辽宁 - 沈阳 来源:中冶有色网 2023-03-18
光催化复合材料ZnO-KTaO3/K2Ta2O6及其制备方法和应用

本发明属于光催化材料技术领域,具体公开了一种降解气态污染物的光催化复合材料ZnO‑KTaO3/K2Ta2O6及其制备方法与应用。制备方法包括如下步骤:将钽酸钾和锌盐加入去离子水中,水浴搅拌,烘干,得前驱体;将前驱体研磨,在惰性气体环境或空气环境下进行煅烧,自然冷却,得到一种降解气态污染物的光催化复合材料ZnO‑KTaO3/K2Ta2O6。利用本发明的方法制备的光催化复合材料ZnO‑KTaO3/K2Ta2O6复合形成异质结,有效地克服了电子和空穴的重组,从而提高光催化活性,有效降解气体污染物。

标签:
复合材料
辽宁 - 沈阳 来源:中冶有色网 2023-03-18
铪铝硅碳-碳化硅复合材料及其制备方法

本发明涉及耐高温陶瓷及其制备技术,提供了一种铪铝硅碳-碳化硅复合材料以及原位反应热压制备铪铝硅碳-碳化硅复合材料的方法,可以解决铪铝硅碳陶瓷强度和韧性偏低的问题。具体的工艺流程为:采用一定化学计量比的Hf粉、Al粉、Si粉和C粉为原料,原料经过物理机械方法混合5~50小时,以5~20MPa的压力冷压成饼状,装入石墨模具中,在通有惰性气体作为保护气(或真空下)的热压炉中加热至1600℃~2400℃原位热压反应0.1~4小时,热压压力为20~40MPa。本发明可以在较低温度下、短时间内合成高硬度、高强度、高韧性、耐超高温等性能的铪铝硅碳-碳化硅复合材料,采用本发明方法获得的材料可以在大于1600℃的高温下使用。

标签:
复合材料
辽宁 - 沈阳 来源:中冶有色网 2023-03-18
上一页 44 45 46 47 48 ... 64 下一页
共64页    到第

中冶有色为您提供最新的辽宁沈阳有色金属复合材料技术理论与应用信息,涵盖发明专利、权利要求、说明书、技术领域、背景技术、实用新型内容及具体实施方式等有色技术内容。打造最具专业性的有色金属技术理论与应用平台!

全国热门有色金属设备推荐
展开更多 +
全国热门有色金属技术推荐
展开更多 +

 

江西省隆恩特环保设备有限公司
宣传

报名参会
更多+

报告下载

有色专家
更多+

矿冶科技集团有限公司
中国工程院院士
昆明理工大学
校长
江西理工大学
教授
北京科技大学
副院长/教授
云南锡业集团(控股)有限责任公司
副总经理
赤泥综合利用研究报告2025
推广

热门技术
更多+

推荐企业
更多+

福建省金龙稀土股份有限公司
宣传

发布

在线客服

公众号

电话

顶部
咨询电话:
010-88793500-807