青岛垚鑫智能科技有限公司
宣传

位置:中冶有色 >

有色技术频道 >

> 加工技术

分类:
全部
矿山技术
冶金技术
材料制备及加工技术
环境保护技术
分析检测技术
 
全部
功能材料技术
复合材料技术
新能源材料技术
合金材料技术
加工技术
地区:
全部
北京
天津
上海
重庆
河北
山西
辽宁
吉林
黑龙江
江苏
浙江
安徽
福建
江西
山东
河南
湖北
湖南
广东
海南
四川
贵州
云南
陕西
甘肃
青海
内蒙
广西
西藏
宁夏
新疆
其他
其他
展开
 
全部
合肥
芜湖
蚌埠
淮南
马鞍山
淮北
铜陵
安庆
黄山
阜阳
宿州
滁州
六安
宣城
池州
亳州

安徽芜湖有色金属加工技术理论与应用

免费发布技术信息>>
锂电池保护板分口接线结构

本实用新型属于电池技术领域,具体是涉及一种锂电池保护板分口接线结构。锂电池保护板分口接线结构,其特征在于,所述保护板设有放电保护管和充电保护管,所述充电保护管的一端与充电端口连接,另一端与放电保护管及放电端口连接;所述放电保护管的一端与电路连接,另一端与充电保护管及放电端口连接。本实用新型锂电池保护板分口接线结构,真正做到分口,外观结构为分口,充放电在不同端口进行,电路结构也是真实分口的,除电压输出无压差、内阻小等优点外,充放电可以同时进行,真正做到充、放电分口模式。

标签:
加工技术
安徽 - 芜湖 来源:中冶有色网 2023-03-18
改性锂离子电池正极片及其制备方法

本发明提供了改性锂离子电池正极片及其制备方法,所述制备方法包括以下步骤:(1)将二价镍源、二价钴源和柠檬酸溶于水中,在持续混合条件下加热反应,冷却后,加入锂源化合物进行混合,然后进行煅烧;其中,二价镍源、二价钴源和锂源化合物的摩尔比为0.75‑0.85:0.15‑0.25:1;(2)将煅烧后的产物超声分散于含有硫代乙酰胺的无水乙醇中,然后加热反应,得锂离子电池正极材料;(3)将锂离子电池正极材料、导电剂和粘结剂混合后球磨,制得球墨浆;(4)将球墨浆压片成型后裁片。本发明得到的改性锂离子电池正极片具有较好的充放电性能。

标签:
加工技术
安徽 - 芜湖 来源:中冶有色网 2023-03-18
锂离子电池负极粘结剂、负极以及电池

本发明公开了一种锂离子电池负极粘结剂、负极以及电池,属于锂离子电池技术领域。本发明的负极粘结剂包括海藻酸盐以及丁苯橡胶,所述海藻酸盐与丁苯橡胶的重量比例为1:1~5:1。本发明通过在丁苯橡胶中加入海藻酸盐,有效提高了所得负极粘结剂的粘结性能,防止充放电循环过程中由于硅体积膨胀导致的锂离子电池结构破坏,提高锂离子电池的循环稳定性能,使锂离子电池在0.5C倍率下充放电循环200次后,容量保持率仍然能够保持在90%以上。

标签:
加工技术
安徽 - 芜湖 来源:中冶有色网 2023-03-18
破碎锂电池双螺旋输送装置

本实用新型提供了一种破碎锂电池双螺旋输送装置,包括双螺旋输送机,双螺旋输送机左侧上端连通有输送斗,双螺旋输送机右侧下端连接有出料斗,出料斗下方设置有皮带输送机,皮带输送机通过密封壳体与出料斗连接,密封壳体内设置有圆弧形输送导料板。本实用新型便于对破碎锂电池的输送,将破碎锂电池通过输送斗输送到双螺旋输送机中进行输送,然后通过出料斗输出,密封壳体的设置便于减少粉尘的飞扬,圆弧形输送导料板的设置便于减少破碎锂电池直接通过出料斗冲击皮带输送机的冲击力,也便于对输送的破碎锂电池的导流,减少卡住的状态,提高了输送量,进而提高了输送效率。

标签:
加工技术
安徽 - 芜湖 来源:中冶有色网 2023-03-18
快充石墨负极材料、其制备方法及锂离子电池

本发明公开了属于锂离子电池的技术领域,具体涉及一种快充石墨负极材料、其制备方法及锂离子电池,锂离子电池负极材料为石墨烯/碳纳米管复合物和石墨炔改性石墨,石墨烯/碳纳米管复合物和石墨炔包覆于石墨颗粒的表面,石墨烯/碳纳米管复合物占改性石墨的质量百分数为0.1‑1%;石墨炔占改性石墨的质量百分数为0.05‑0.5%。石墨烯/碳纳米管复合物中,石墨烯与碳纳米管的质量比为1:1~5:1。该快充石墨负极材料在提升快充性能的同时,还可以有效提升电池的安全性能。

标签:
加工技术
安徽 - 芜湖 来源:中冶有色网 2023-03-18
锂离子电池壳体及其制备方法

本发明公开了一种锂离子电池壳体及其制备方法,其中,所述制备方法包括:将聚氯乙烯、聚酰胺、丙烯酸树脂、月桂醇硫酸钠、醇酸树脂、发泡剂、聚乙二醇和乳化剂混合,并加热至55‑75℃,形成混合液M;往所述混合液M中通入发泡气体形成匀相熔体N;将所述匀相熔体N在225‑310℃下加热膨胀,成型、冷却后形成所述锂离子电池壳体。解决了目前的锂离子电池壳体长期处于高温环境下会变形、开裂的问题。

标签:
加工技术
安徽 - 芜湖 来源:中冶有色网 2023-03-18
锂电池用新型增塑剂的制备方法

本发明公开了一种锂离子电池用新型增塑剂的制备方法,该方法包括以下步骤:(1)单体MPEGM和HPEGM的制备;(2)共聚物P(MPEGM-co-HPEGM)的制备;(3)MPEG-Al酯的制备;(4)P(MPEGM-co-HPEGM)/MPEG-Al电解质薄膜的制备。本发明制备的增塑剂具有不燃烧、不挥发的性质,可以有效解决传统增塑剂的挥发性和易燃性带来的锂离子安全问题,且由于其路易斯酸性大,有利于增加锂盐的解离度,显著提高聚合物电解质的离子电导率。

标签:
加工技术
安徽 - 芜湖 来源:中冶有色网 2023-03-18
锂电池负极材料铁基二元复合金属氧化物的制备方法

本发明提供一种粒径小、具有介孔孔道结构的锂电池负极材料铁基二元复合金属氧化物的制备方法,包括如下步骤:制备出粒径为50~500nm的聚合物微乳液小球,离心后得模板材料;将M源化合物、铁源化合物混合并配制成金属离子总浓度为1~3mol/L的溶液;将模板材料浸泡在溶液中,抽滤后所得固体进行干燥;将干燥后所得固体进行煅烧,冷却后得黑色粉末,即为MFe2O4。本发明锂电池负极材料铁基二元复合金属氧化物的制备方法工序简单,反应条件易于控制,且制得的MFe2O4品质均一、形貌好、缺陷少,粒子直径为20~30nm,具有介孔孔道结构,储锂性能佳。

标签:
加工技术
安徽 - 芜湖 来源:中冶有色网 2023-03-18
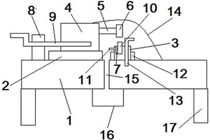
锂电池极柱打磨装置
锂电池极柱打磨装置 698     
 0

本实用新型提供一种应用于锂电池生产技术领域的锂电池极柱打磨装置,所述的锂电池极柱打磨装置的装置台面(1)上设置打磨机安装座(2)和极柱定位座(3),打磨机安装座(2)上设置向极柱安装座(3)方向延伸的T型槽,打磨机(4)通过底部的T型块活动卡装在T型槽内,打磨机(4)的转轴(5)上靠近极柱定位座(3)一端安装打磨轮(6),极柱定位座(3)上部设置极柱定位凹槽(7),本实用新型所述的锂电池极柱打磨装置,能够方便快捷对锂电池极柱进行打磨处理,有效去除极柱表面异物,使产品外观和性能满足客户需求,同时能够用于不同型号和尺寸的锂电池的极柱的打磨处理,通用性强,降低成本。

标签:
加工技术
安徽 - 芜湖 来源:中冶有色网 2023-03-18
锂离子电池安全存放及监测装置

本发明公开了一种锂离子电池安全存放及监测装置,旨在解决现有的锂离子电池的存储装置只具有存储的功能,对于锂离子电池的监测能力较差使得存储过程中的安全性较低的问题。该锂离子电池安全存放及监测装置,包括存储柜、监测系统、控制系统、电力系统和水冷系统;其中,监测系统,安装在所述存储柜内;控制系统、电力系统和水冷系统,安装在所述存储柜内。通过设置监测系统能够对存储柜内部的锂离子电池进行监测,通过热成像、温度来监测锂离子电池是否属于过热状态,同时通过水冷系统能够对存储柜内部进行水冷散热,能够有效避免因热失控产生的锂离子电池爆炸,提高了锂离子电池的安全存储能力。

标签:
加工技术
安徽 - 芜湖 来源:中冶有色网 2023-03-18
新能源汽车锂电池箱灭火装置

本发明公开了一种新能源汽车锂电池箱灭火装置,属于电池安全技术领域,包括电池板、盖板、若干个锂电池、移动板和灭火机构,每个所述锂电池均安装在所述电池板内,所述盖板安装在所述电池板上且所述盖板与所述电池板相匹配,所述移动板能够移动的安装在所述盖板上,所述灭火机构安装在所述盖板一端。本发明在盖板上设置有移动板,当锂电池起火产生烟雾时,烟雾传感器接收到信号,拉动气缸动作使移动板移动将盖板上的所有散热孔覆盖,隔绝电池板与外界的空气流动,同时主控制器控制主阀体和阀体转换器工作,罐体内的稀有气体通过主阀体进入阀体转换器中,稀有气体通过阀体转换器进入电池板内,实现电池板内锂电池的自动灭火。

标签:
加工技术
安徽 - 芜湖 来源:中冶有色网 2023-03-18
组合式锂电池外壳
组合式锂电池外壳 747     
 0

本发明涉及一种组合式锂电池外壳,包括底部组件,连接组件与顶部组件。本发明可以解决现有锂电池在使用过程中存在以下难题,传统的锂电池在组合串联使用时需要人工使用导线对需要组合使用的锂电池的正负极进行串联,人工使用导线串联锂电池需要对导线连接的位置处进行包裹封闭,人工进行包裹作业容易因为疏忽导致连接位置处裸露,容易造成电池漏电,存在安全隐患,且影响电池组合后的使用效果,b、组合使用的电池需要人工使用胶带对将组合的电池缠绕在一起,电池在使用中散发的热量无法流通使电池热量过高,容易降低电池的使用寿命,而且会使电池发生鼓包的情况。

标签:
加工技术
安徽 - 芜湖 来源:中冶有色网 2023-03-18
用于锂电池阳极的复合材料及其制备方法

本发明公开了一种用于锂电池阳极的复合材料及其制备方法。所述复合材料由氧化铜、W2O3和C三者复合形成,氧化铜呈三维叶片状均匀地排列在多孔铜基体表面,氧化铜纳米叶片的片厚度约20‑35nm,W2O3和C包覆在氧化铜的表面,在氧化铜纳米叶片的三维架构基础上,形成立体的网状纳米结构。本发明还提供了该复合材料的制备方法,通过两步水热法,在高温下的热处理获得所述具有三维立体网状纳米结构的复合材料。本发明制得复合材料作为锂电池阳极材料时,电池能量密度达到650‑800mAh/g,电池循环达到1500次。

标签:
加工技术
安徽 - 芜湖 来源:中冶有色网 2023-03-18
锂离子电池青檀纸筛隔膜及其制备方法

本发明公开了一种锂离子电池青檀纸筛隔膜及其制备方法。包括以下步骤:制备青檀纸膜;将水溶性胶液与PE粉末混合调和,形成固液混合黏胶液;在青檀纸膜的表面均匀涂覆固液混合黏胶液,然后通过固液混合黏胶液依次堆叠多层青檀纸膜;将堆叠完成的青檀纸膜进行压合并垂直于表面用激光纵向切割成片,即可得到锂离子电池青檀纸筛隔膜。其内部形成了“纳米管道”空腔,且空腔的管道和管口直接朝向锂离子电池的正、负极,有利于锂离子的快速传输和减少电池内阻,且“纳米管道”空腔具有较大的比表面积,能够储存更多的电解液,电池蓄电能力更大;在热失控的情况下,PE粉末固液混合黏胶层能关闭隔膜锂离子通道,起到保护电池的作用,达到安全目的。

标签:
加工技术
安徽 - 芜湖 来源:中冶有色网 2023-03-18
镍钴锰酸锂改性材料及其制备方法及其应用

本发明公开了一种镍钴锰酸锂改性材料及其制备方法及其应用,属于锂离子电池正极材料领域。该镍钴锰酸锂改性材料,包括:镍钴锰酸锂或掺杂金属离子的镍钴锰酸锂,以及包覆在所述镍钴锰酸锂或掺杂金属离子的镍钴锰酸锂表面的LiMn2-aMaO4,其中,LiMn2-aMaO4中,0<a<1.2,M选自Cr、Co、Ni、Cu、Fe、Mo或V。通过在使用LiMn2-aMaO4作为包覆层,不仅使得镍钴锰酸锂在充放电过程中的耐过充性能增强,防止其结构塌陷,提高了镍钴锰酸锂的稳定性,而且提高了镍钴锰酸锂的充电截止电压,即提高了镍钴锰酸锂电池的能量密度,使其具有良好的循环性能、倍率性能及安全性能。

标签:
加工技术
安徽 - 芜湖 来源:中冶有色网 2023-03-18
锂离子电池及其制造工艺

一种锂离子电池及其制造工艺,属于新能源电池技术领域,此锂离子电池,包括由正极片、负极片和隔离膜依次层叠卷绕形成的多层极片层的电芯,正极片上连接有正极极耳,负极片上连接有负极极耳,负极片的四周设置有覆盖正极片边缘的绝缘层,该锂离子电池的制造工艺包括极片的制片、绝缘层的包覆、隔离膜在极片中的Z字形卷绕成电芯、电芯的封装成型,本发明的有益效果是,锂离子电池整体结构稳定,对极片的四周进行绝缘隔离,降低了由于毛刺刺穿隔离膜而使电芯短路的风险,隔离膜以Z字形依次卷绕在正极片和负极片之间使正极片和负极片进一步绝缘隔离,提高了锂离子电池的合格率和安全性能。

标签:
加工技术
安徽 - 芜湖 来源:中冶有色网 2023-03-18
纳米棒状镍锰酸锂正极材料及其制备方法

本发明公开了一种纳米棒状镍锰酸锂正极材料及其制备方法,属于锂电池正极材料领域。该方法包括:按照化学式LiNi0.5Mn1.5O4中各元素的物质的量比,将锰盐和过硫化物溶于蒸馏水,搅拌均匀后得到混合溶液;对该混合溶液进行密闭加热处理,得到MnO2沉淀,并对其进行洗涤、烘干处理,得到MnO2纳米棒;将MnO2纳米棒与镍盐混合在极性溶剂中,进行超声分散,然后向其中滴加碱性溶液,得到镍锰的氢氧化物沉淀,对其进行洗涤、烘干处理,在滴加过程中,保持反应体系处于密闭加热状态;将烘干后的氢氧化物沉淀与锂盐混合,研磨处理后进行煅烧处理,得到纳米棒状镍锰酸锂正极材料。本发明通过上述方法制备的镍锰酸锂为纳米棒状结构,其结构稳定,循环稳定性高。

标签:
加工技术
安徽 - 芜湖 来源:中冶有色网 2023-03-18
车辆锂电池温控系统及其控制方法

本发明揭示了一种车辆锂电池温控系统设有内部填充有散热介质的电池箱,电池箱内竖直设有多个放置腔,所述放置腔呈行列矩阵结构固定在电池箱底部,所述放置腔之间均具有间隙,所述电池箱顶部设有封盖,所述封盖上下垂有多根注液支管,所述注液支管延伸至每相邻四个放置腔中间的间隙内,所述电池箱底部设有出液管,每根所述注液支管上均设有支管阀且与注液总管连通,所述出液管通过散热泵连接汽车散热器输入端,所述散热器输出端连接注液总管;本系统使用安全可靠,对于锂电池使用环境可控性强,不仅能够可靠的降温,还能在低温环境下给予锂电池加热,保证锂电池的工况环境,提高锂电池的使用安全性、可靠性以及使用寿命。

标签:
加工技术
安徽 - 芜湖 来源:中冶有色网 2023-03-18
空心球磷酸钒锂/碳复合电池正极材料及其制备方法和应用

本发明公开了一种空心球磷酸钒锂/碳复合电池正极材料的制备方法,该制备方法包括:1)将钒源、还原剂和水混合,接着加入磷源、锂源和模板剂并搅拌以制得初始溶液;2)将初始溶液雾化、热分解以得到粉体;3)将粉体在保护气的存在下进行煅烧以制得空心球磷酸钒锂/碳复合电池正极材料;其中,以含有2mol的钒元素的钒源为基准,锂源中锂元素的含量为2.95‑3.05mol,磷源中磷酸根的含量为2.95‑3.05mol,还原剂的用量为3mol,模板剂的用量为100‑200g。通过该方法制得的空心球磷酸钒锂/碳复合电池正极材料具有规整的形貌以及优异的比表面积进而使得其能够作为锂电池的正极材料。

标签:
加工技术
安徽 - 芜湖 来源:中冶有色网 2023-03-18
锂离子电池保护胶粘贴装置

本实用新型提供一种应用于锂离子电池生产设备技术领域的锂离子电池保护胶粘贴装置,所述的锂离子电池保护胶粘贴装置的竖直挤压粘贴模块(1)包括连杆Ⅰ(3)、压块Ⅰ(4),水平滚动粘贴模块(2)包括连杆Ⅱ(5)、压块Ⅱ(6),连杆Ⅰ(3)下端与压块Ⅰ(4)连接,连杆Ⅱ(5)下端与压块Ⅱ(6)连接,连杆Ⅰ(3)上端与连杆Ⅱ(5)上端通过销(7)活动连接,连杆Ⅰ(3)和连杆Ⅱ(5)通过弹簧(8)连接,连杆Ⅰ(3)和连杆Ⅱ(5)之间存在夹角α,本实用新型的锂离子电池保护胶粘贴装置,结构简单,能够提高绝缘保护胶的粘贴质量和粘贴效率,对锂离子电池极耳处进行充分有效的保护,有效降低电池自放电,并提升电池安全性能。

标签:
加工技术
安徽 - 芜湖 来源:中冶有色网 2023-03-18
用于高纯氟化锂制备的氢氟酸纯化及配制方法

本发明涉及用于高纯氟化锂制备的氢氟酸纯化及配制方法,通过工业无水氢氟酸直接通过0.5μm过滤后进入低、高沸精馏塔得到的HF气体冷却得到高纯的无水氢氟酸,然后在吸收塔中用超纯水吸收稀释为50%电子级的氢氟酸,随后经0.1μm过滤进入氟化锂反应槽,与高纯碳酸锂反应,制得用于锂电的氟化锂,该技术流程简单,操作方便,降低投资及运行成本。

标签:
加工技术
安徽 - 芜湖 来源:中冶有色网 2023-03-18
测定玻璃中锂含量的方法

本发明涉及玻璃检测领域,公开了一种测定玻璃中锂含量的方法,该方法包括:(1)将待测玻璃研磨成玻璃粉,将玻璃粉与氢氟酸和高氯酸接触进行第一加热处理,冷却,向冷却后的产物中加入水进行第二加热处理,得到玻璃溶解液;(2)将玻璃溶解液用水定容,得到定容液,并测定定容液中的锂含量;(3)根据定容液的体积和测定的锂含量确定待测玻璃中的锂含量。本发明的测定玻璃中锂含量的方法,操作简单、基体效应小、精密度高、加标回收率高、检出限低、结果可信度高,完全能满足生产的需求。

标签:
加工技术
安徽 - 芜湖 来源:中冶有色网 2023-03-18
锡碳复合材料及其制备方法、锂离子电池

本发明提供一种锡碳复合材料及其制备方法、含该材料的锂离子电池,属于锂离子电池技术领域,其可解决现有的锡碳复合材料和由其制备的锂离子电池的工艺复杂、成本高或比容量低、循环性能差、首次库仑效率较低的问题。本发明的锡碳复合材料的制备方法包括将锡盐溶液和膨胀石墨混合获得锡碳悬浮液的步骤和用还原剂还原锡碳悬浮液中的锡的步骤。本发明通过选取适当的工艺参数获得了工艺简单、成本低、比容量高、首次库仑效率高且循环性能优良的锡碳复合材料,并制备了含该材料的锂离子电池。本发明的锡碳复合材料是由上述方法制备的。本发明的锂离子电池包括上述锡碳复合材料。

标签:
加工技术
安徽 - 芜湖 来源:中冶有色网 2023-03-18
高容量锂离子动力电池管理系统

本发明的目的是提供一种高容量锂离子动力电池管理系统,温度传感器感应电池温度、电流传感器感应电流和电压传感器感应电压,之后传输数据给主控制模块,主控制模块分析数据,设置充电机进行充电,设置加热器给每个锂离子单芯电池在低温环境下进行预热,发挥其性能,设置散热风机对整个管理系统进行散热,设置保护模块对锂离子单芯电池进行过流保护、过放电保护和预充电检测,设置湿度传感器和水浸传感器感应水,热风机进行烘干,每个锂离子单芯电池单独连接有冷却系统对高温下进行冷却,每两个锂离子单芯电池之间有离心风机对接触处热量进行散热,整个系统可以很好的对锂离子动力电池进行管理,最大限度的发挥其性能,保证其寿命。

标签:
加工技术
安徽 - 芜湖 来源:中冶有色网 2023-03-18
改性镍锰锂离子电池正极材料及其制备方法

本发明公开了一种改性镍锰锂离子电池正极材料的制备方法,所述制备方法包括以下步骤:(1)将二价镍源、二价锰源和柠檬酸溶于水中,在持续混合条件下加热反应,冷却后,加入锂源化合物进行混合,然后进行煅烧;其中,二价镍源、二价锰源和锂源化合物的摩尔比为0.65‑0.75:0.25‑0.35:1;(2)将煅烧后的产物超声分散于含有硫代乙酰胺的无水乙醇中,然后加热反应。本发明得到的改性镍锰锂离子电池正极材料的充放电性能和循环使用性能得到较大程度的提升,与现有镍锰锂离子电池正极材料相比,改性镍锰锂离子电池正极材料具有较好的充放电性能和循环使用性能。

标签:
加工技术
安徽 - 芜湖 来源:中冶有色网 2023-03-18
动力锂离子电池的化成方法

本发明公开了一种动力锂离子电池的化成方法,是以钛酸锂为负极、以磷酸铁锂为正极,采用闭口化成方式,具体步骤为:先分三个阶段对电池进行恒流充电,再对电池进行恒压充电,在恒压充电至截止电流后,将电池放入注液手套箱中,打开注液口,真空抽去电池内产生的气体后再密封注液口。本发明实施例所述方法能有效的促使负极表面形成致密且稳定的SEI膜,化成过程中采用闭口化成的方式,避免了电池内部吸水而造成水分与电解液发生反应,影响电池性能的问题,且在恒压充电至截止电流后,真空抽去电池内产生的气体后再密封注液口,有效的改善电池壳体内部环境,避免了电池在使用过程中电池产生鼓胀及延缓电池的性能衰减,提高电池电性能及安全性能。

标签:
加工技术
安徽 - 芜湖 来源:中冶有色网 2023-03-18
锂离子电池用复合热熔双面胶带及其制备方法

本发明公开了一种锂离子电池用复合热熔双面胶带及其制备方法,所述锂离子电池用复合热熔双面胶带由下至上依次包括:第一热熔胶层、第一基膜层、丙烯酸胶层、第二基膜层、第二热熔胶层、离型膜层,本发明通过设置两层基膜层,且两层基膜层的内表面通过丙烯酸胶层相连,所述锂离子电池用复合热熔双面胶带在85℃电池电解液中浸泡24h,其中的丙烯酸胶层会出现胶层软化现象,浸泡48h后丙烯酸胶层会出现膨胀的絮状凝胶现象,此丙烯酸胶层在电解液中的状态与胶带的结构,大大提高了胶带的抗缓冲性能。

标签:
加工技术
安徽 - 芜湖 来源:中冶有色网 2023-03-18
便携式锂离子电池储能装置

本发明公开了一种便携式锂离子电池储能装置,包括箱体,箱体的内部固定连接有锂离子电池组,锂离子电池组的外表面固定连接有环氧玻璃纤维板,箱体的内侧壁固定连接有干燥板和活性炭板,活性炭板设置在干燥板的下方,活性炭板的上表面固定连接有第一连接杆,第一连接杆的上端固定连接有压缩弹簧,压缩弹簧的上端固定连接有第二连接杆,第一连接杆的前端外壁转动连接有减震架,箱体的下表面固定连接有吹风箱,吹风箱的内部设置有扩风罩,所述箱体的一侧外侧壁固定连接有小型风机。本发明体积小,结构紧凑,携带方便,增加了抗震、抗颠簸和去湿散热的功能。

标签:
加工技术
安徽 - 芜湖 来源:中冶有色网 2023-03-18
含硅酸锂高强度耐水加气砖及其制备方法

一种含硅酸锂高强度耐水加气砖,由下列重量份的原料制成:煤矸石粉4-5、可再分散乳胶粉0.7-1、甲酸钙0.3-0.5、石膏7-9、粉煤灰50-60、加气铝粉6-7、水泥8-9、高炉灰4-6、生石灰9-11、改性煤灰7-8、硅粉6-8、硬脂酸0.6-1、硅酸锂0.8-1.2、水适量;本发明加气砖通过使用硅酸锂、可再分散乳胶粉,增加了加气砖的强度和耐水性,通过添加硅粉,增加了加气砖的耐磨性,同时该加气砖还具有良好的耐腐蚀性、耐火性、保温性、隔音性和尺寸稳定性;通过使用改性煤灰,增强了隔热效果,耐水性好,减少了环境污染,同时减水效果好。

标签:
加工技术
安徽 - 芜湖 来源:中冶有色网 2023-03-18
硅碳复合材料及其制备方法、含该材料的锂离子电池

本发明公开了一种硅碳复合材料及其制备方法及使用该材料制备的锂离子电池。该硅碳复合材料的制备方法包括以下步骤:(1)将一氧化硅制得的二氧化硅包覆纳米硅的复合材料、多孔性碳基体材料、过量的氢氟酸溶液混合,得到多孔性碳基体材料孔隙间复合有纳米硅粒子的复合材料;(2)用高分子聚合物包覆多孔性碳基体材料孔隙间复合有纳米硅粒子的复合材料,在惰性气氛下,加热得到多孔碳球包覆的硅碳复合材料。该工艺原料易得、制备简单。该硅碳复合材料具有电化学可逆嵌脱锂性能,极大地缓解活性颗粒在充放电过程中的粉化脱落现象,同时具备硅类材料的高储锂容量特性和碳类材料的高循环稳定性,由该硅碳复合材料制得的电池具有更好的循环性能。

标签:
加工技术
安徽 - 芜湖 来源:中冶有色网 2023-03-18
上一页 35 36 37 38 39 ... 48 下一页
共48页    到第

中冶有色为您提供最新的安徽芜湖有色金属加工技术理论与应用信息,涵盖发明专利、权利要求、说明书、技术领域、背景技术、实用新型内容及具体实施方式等有色技术内容。打造最具专业性的有色金属技术理论与应用平台!

全国热门有色金属设备推荐
展开更多 +
全国热门有色金属技术推荐
展开更多 +

 

江西省隆恩特环保设备有限公司
宣传

报名参会
更多+

报告下载

有色专家
更多+

武汉理工大学
副主任/研究员
武汉科技大学
校学术委员会主任 / 教授
郑州大学
校长/党委书记
矿冶科技集团有限公司
所长/研究员级高工
江西铜业集团有限公司
党委书记、董事长
赤泥综合利用研究报告2025
推广

热门技术
更多+

推荐企业
更多+

福建省金龙稀土股份有限公司
宣传

发布

在线客服

公众号

电话

顶部
咨询电话:
010-88793500-807