青岛垚鑫智能科技有限公司
宣传

位置:北方有色 >

有色技术频道 >

> 新能源材料技术

分类:
全部
矿山技术
冶金技术
材料制备及加工技术
环境保护技术
分析检测技术
 
全部
功能材料技术
复合材料技术
新能源材料技术
合金材料技术
加工技术
地区:
全部
北京
天津
上海
重庆
河北
山西
辽宁
吉林
黑龙江
江苏
浙江
安徽
福建
江西
山东
河南
湖北
湖南
广东
海南
四川
贵州
云南
陕西
甘肃
青海
内蒙
广西
西藏
宁夏
新疆
其他
其他
展开
 
全部
南京
无锡
徐州
常州
苏州
南通
连云港
淮安
盐城
扬州
镇江
泰州
宿迁

江苏常州有色金属新能源材料技术理论与应用

免费发布技术信息>>
新能源生产线用取料装置及取料方法

本发明属于输送设备技术领域,具体涉及一种新能源生产线用取料装置及取料方法,本新能源生产线用取料装置包括:上料平台、电芯夹取机构、电芯防脱机构、等离子清洗机构和下料平台;当电芯夹取机构夹持各电芯并相对电芯防脱机构向上移动,以使各电芯脱离相应放置槽;电芯夹取机构松开各电芯,电芯防脱机构通过夹持位夹持各电芯,以使等离子清洗机构对各电芯的上部进行清洗;本发明通过电芯防脱机构插入泡沫盒,能够实现对泡沫盒定位及固定,电芯夹取机构能够稳定从泡沫盒中取出电芯,并且在等离子清洗机构中清洗电芯时,能够全方位清洗电芯,提高对电芯的清洁效果。

标签:
新能源
江苏 - 常州 来源:北方有色网 2023-03-18
新能源汽车空调压缩机及其工作方法

本发明涉及新能源汽车技术领域,且公开了一种新能源汽车空调压缩机及其工作方法,包括主轴、电离合器、皮带轮、外缸体、前气缸盖、气缸、斜板、活塞、后气缸盖、密封盖以及螺栓,所述外缸体、前气缸盖、气缸、活塞、后气缸盖均与主轴活动套接。本发明通过活塞内部的设计,使斜板在挤压活塞使其运动时,受压强影响,使活塞内部的空间进行变化,使润滑油在抽吸作用下进入活塞内部的通道,并与钢球直接接触,使钢球在转动中时刻受到润滑油的保护,同时润滑油可逐渐积累在活塞、气缸、斜板之间的空间内,使其中的部件时刻受到润滑油的保护,同时在斜板的搅动下充当冷却剂,避免了润滑效果差以及高温而导致的损坏。

标签:
新能源
江苏 - 常州 来源:北方有色网 2023-03-18
基于新能源的光伏发电装置

本发明涉及光伏发电设备技术领域,且公开了一种基于新能源的光伏发电装置,包括固定底板,所述固定底板顶部的左右两端均开设有固定槽,所述固定槽内侧的前后两端之间固定连接有导杆,所述导杆的外表面滑动连接有滑块,所述滑块的顶部铰接有连杆,所述连杆的顶部铰接有支板,所述固定底板顶部的中段固定连接有套筒,所述套筒内腔的底部固定连接有第一弹簧,所述第一弹簧的顶部固定连接有滑板,所述滑板的顶部固定连接有滑杆。该基于新能源的光伏发电装置,通过将蜗杆的旋转力,转换为插板的移动力,从而实现其便于拆装,同时蜗杆与蜗轮配合,具有一定的自锁性,无需采用外部工具进行辅助拆装,提高了拆装和维护时的效率,方便使用。

标签:
新能源
江苏 - 常州 来源:北方有色网 2023-03-18
新能源超级电容充电电路

本发明涉及一种新能源超级电容充电电路,包括AC/DC适配器、电源防反接电路、DC/DC降压型充电管理电路、功率驱动电路、同步整流续流电路、电流采样电路、电压采样电路、充电指示电路、负载超级电容。本发明提供一种功耗小、温度低,且对超级电容器进行大电流快速充电过程中能够有效反应充电状态的新能源超级电容充电电路。

标签:
新能源
江苏 - 常州 来源:北方有色网 2023-03-18
提升新能源电网承载能力的DSSC优化配置方法

本发明属于电力系统技术领域,提出一种提升新能源电网承载能力的DSSC优化配置方法。步骤包括:S1.构建DSSC的节点等效功率注入数学模型;S2.基于潮流计算方程,提出能够量化电网运行安全性及强弱程度的承载能力效能评估指标;S3.考虑电网整体约束以及DSSC物理与运行约束条件下,以单个规划周期内最大化系统承载能力为目标对接入系统的DSSC进行规划配置;S4.新能源并网后的承载能力指标在保证系统已经求取最大承载能力的前提下,以系统配置成本最低为目标来优化DSSC的安装位置及数量,提升高渗透率新能源并网后系统的承载能力,进而确定DSSC最佳安装位置、容量与承载能力之间的关系。

标签:
新能源
江苏 - 常州 来源:北方有色网 2023-03-18
新能源电机线圈侧面剥漆机构

本发明涉及一种新能源电机线圈侧面剥漆机构,属于新能源电机制造技术领域。包括安装板、侧剥吸尘机构、侧剥漆组件和侧剥漆驱动机构,所述侧剥吸尘机构安装在安装板的底端,位于侧剥漆组件正下方,所述安装板上表面安装有侧剥漆组件安装架,所述侧剥漆组件安装在侧剥漆组件安装架表面,所述侧剥漆驱动机构沿垂直于安装板的方向安装在侧剥漆组件的上方,所述侧剥漆驱动机构和侧剥漆组件传动连接。本发明的新能源电机线圈侧面剥漆机构采用丝杆电机驱动代替原有的油缸驱动方式,减少了油缸油渍污染设备的情况,此外侧剥机构可以控制待剥线圈固定稳定,防止剥漆过程线圈不稳定造成的剥漆不完全问题产生,具有广阔的应用前景。

标签:
新能源
江苏 - 常州 来源:北方有色网 2023-03-18
用于制造新能源汽车动力电池的水冷板

本实用新型涉及新能源电池技术领域,尤其涉及用于制造新能源汽车动力电池的水冷板,解决现有技术中存在新能源电池的缺点,包括有主基板、空腔流道、可折长边、可折檐边一、可折檐边二和可折短边,所述可折长边位于主基板的长边两侧上,所述可折檐边一位于两侧的可折长边上;所述可折短边位于主基板的短边两侧上,所述可折檐边二位于两侧的可折短边上;所述可折长边、可折短边、可折檐边一、可折檐边二和主基板为一体制成且在同一平面上;所述空腔流道设置在主基板的内侧,所述空腔流道的一侧开设有若干开口,所述主基板包括有基板一和基板二,所述基板一与基板二表面贴合连接;所述空腔流道设置于基板一与基板二的中间,本实用新型,具有工艺简单和结构强度高的特点。

标签:
新能源
江苏 - 常州 来源:北方有色网 2023-03-18
新能源车铆接用铝合金压铸件制备方法及压铸件

本发明属于新能源车用合金材料加工技术领域,具体涉及一种新能源车铆接用铝合金压铸件制备方法及压铸件。本新能源车铆接用铝合金压铸件制备方法包括:S1、将铝锭熔炼成合金液;S2、将合金液浇注于真空压铸模具,制成毛坯;S3、对毛坯进行热处理。本发明的有益效果是,本发明采用DIN1706标准牌号压铸铝合金AlSi10MnMg,无需在材料中添加Sr类合金变质剂,通过高真空压铸工艺和特殊热处理工艺,制得的铝合金压铸件固态含气量小,其延伸率与待铆接的新能源用铝合金型材的延伸率比较接近,当二者连接件复杂环境下,尤其是高膨胀力环境下使用时,铆接部位不会出现胀型或脱离,依然会保持良好的结合强度。

标签:
新能源
江苏 - 常州 来源:北方有色网 2023-03-18
用于新能源汽车发动机水冷系统的冷却水管

本实用新型属于新能源汽车发动机水冷系统技术领域,尤其为一种用于新能源汽车发动机水冷系统的冷却水管,包括冷却水管主体,所述冷却水管主体的一端固定连接有安装座的内部滑动连接有限位杆,所述限位杆的一端固定连接有第一连接板,所述第一连接板的另一侧固定连接有拉手,所述安装座的内壁滑动连接有连接底座,所述冷却水管主体的外壁套接有圆形套筒,所述圆形套筒的内部滑动连接有调节杆。本实用新型通过设置安装座、限位杆、第一连接板和第一弹簧,从而使得新能源汽车发动机水冷系统的冷却水管在进行安装时操作起来更加的简便,从而在安装和后期的维修中节省大量的时间,同时也为维修人员带来更多的便捷。

标签:
新能源
江苏 - 常州 来源:北方有色网 2023-03-18
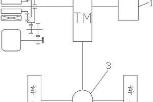
新能源汽车模块化的动力装置

本实用新型公开了一种新能源汽车模块化的动力装置,主驱动装置的第一电动机/发电机与变速/减速机构动力传动连接,变速/减速机构的另一端连接有飞轮动力装置模块,共同将动力传递至车轮,飞轮动力装置模块包括行星齿轮机构、第二电动机/发电机、齿轮副、飞轮轴、飞轮以及单向离合器,行星架与变速/减速机构动力传动连接,齿圈与齿轮副动力传动连接,太阳轮与第二电动机/发电机的动力传动连接,飞轮与齿轮副通过飞轮轴动力传动连接,飞轮轴上安装有单向离合器。通过上述方式,本实用新型新能源汽车模块化的动力装置,具有高效的制动能量回收和辅助动力的功能,能够与现有新能源汽车驱动系统进行模块化集成,提高整车加速性能和节能效果。

标签:
新能源
江苏 - 常州 来源:北方有色网 2023-03-18
新能源汽车用冷凝装置

本发明提供了一种新能源汽车用冷凝装置,包括冷凝装置主体和冷凝风机部件,所述冷凝装置主体包括相互套装并固定的外水管和内水管,所述内水管的内腔形成了冷媒流通道,所述内水管和外水管之间的空间形成了入水通道,所述外水管的两端分别设置有进水接头和出水接头,所述内水管的两端分别设置有冷媒入口接头和冷媒出口接头,所述外水管的外部设置有导热扇片,所述冷凝风机部件包括排风罩和至少一个冷凝风机,冷凝风机的出风侧或吸风侧朝向冷凝装置主体。该冷凝装置利用相互套装的内水管和外水管来实现介质水与高温冷媒的热交换,从而方便回收高温冷媒中的热量,使新能源汽车中的热能利用更合理达到节能的目的。

标签:
新能源
江苏 - 常州 来源:北方有色网 2023-03-18
新能源汽车用电池组件转运装置

本实用新型涉及新能源汽车技术领域,尤其是一种新能源汽车用电池组件转运装置,包括转运抬升台、固定焊接在转运抬升台上的底置导轨、安装在转运抬升台内部的纵置驱动电机。本实用新型的一种新能源汽车用电池组件转运装置包括内置纵置驱动电机、横置驱动电机和电控液压抬升机构的转运抬升台与内置上横置传动辊、下横置传动辊、驱动辊、翻转调节框和横置调节电机的底置导轨组成,通过翻转调节框上的内螺纹导向平移块和侧向夹紧板来对上、下端电池组件进行夹紧固定,方便对不同的电池组件进行调节更换,方便其更换和转运,操作十分简单方便;通过电控液压抬升机构来对内置驱动辊上的电池组件进行升降调节,大大方便其安装和拆卸,提升工作效率。

标签:
新能源
江苏 - 常州 来源:北方有色网 2023-03-18
新能源汽车大线径连接器线束振动工装

本实用新型涉及连接器试验装置技术领域,尤其是一种新能源汽车大线径连接器线束振动工装。一种新能源汽车大线径连接器线束振动工装,包括振动框架,振动框架通过螺栓与振动装置台面进行固定连接,振动框架的外侧通过螺栓固定有样品固定装置,样品固定装置上通过螺栓固定有样品。这种新能源汽车大线径连接器线束振动工装符合振动测试标准的要求,避免了振动台由垂直台到水平台之间的繁琐转换,节省了时间和人力成本,降低了劳动强度;进行实验室间比对时大大降低了测试的不确定度。

标签:
新能源
江苏 - 常州 来源:北方有色网 2023-03-18
新能源汽车能量补偿装置

本实用新型公开了一种新能源汽车能量补偿装置,包括车载储能电池、电池管理系统、太阳能电池板、主控制模块,所述的主控制模块与电池管理系统连接,用于获取蓄电池电量信息;所述的太阳能电池板设置在车顶,其通过充电电路与车载车能电池连接;所述的主控制模块与车身控制器连接,用于获取车载空调和PTC加热片工作状态;所述的太阳能电池板经整流电路后分别通过第一开关连接PTC加热片、第二开关连接车载空调。本实用新型的优点在于:将太阳能、散热风扇产生的风能等清洁能源转换为电能,为新能源汽车提供能量补偿,产生的电能可以存储在车载蓄电池中或直接经过整流、稳压等电路为车载用电器供电,补偿了新能源汽车的能源,可以增加汽车的续航能力。

标签:
新能源
江苏 - 常州 来源:北方有色网 2023-03-18
保护效果好的高安全型新能源电池箱

本实用新型公开了一种保护效果好的高安全型新能源电池箱,包括箱体,所述箱体的顶部安装有箱盖,所述箱体内壁底部的左右两侧均固定连接有保护盒,所述保护盒的表面滑动连接有连接板。本实用新型通过箱体、箱盖、保护盒、连接板、安装板、电池主体、配合板、第一伸缩杆、第一弹簧、保护块、第二弹簧、第二伸缩杆、稳定板、第三弹簧、插杆和支撑板的相互配合,实现了一种保护效果好的高安全型新能源电池箱,大大提升了新能源电池箱的抗震效果,可以大大削弱外界针对对电池主体带来的不利影响,延长了电池主体的使用寿命,也降低了电池爆炸的可能性,电池主体方便从箱体中拆卸出来,方便工作人员对其进行维护以及维修。

标签:
新能源
江苏 - 常州 来源:北方有色网 2023-03-18
新能源汽车用电池组件用装卸分离支架

本实用新型涉及新能源汽车技术领域,尤其是一种新能源汽车用电池组件用装卸分离支架,包括主安装支架、底置升降电机、上置第一调节电机和上置第二调节电机。本实用新型的一种新能源汽车用电池组件用装卸分离支架由主安装支架、底置升降电机、调节电机、升降块和翻转夹板组成,利用调节电机带动主安装支架内的升降调节丝杆旋转,从而调节升降块反向升降,根据需要对电池组件进行升降调节,便于其移动和升降;通过螺距不同的上、下螺纹调节面来对上、下置升降块进行升降调节,方便其控制夹紧,同时利用调节电机来改变翻转夹角的转向角度,从而根据需要对电池组件进行支撑和夹紧,使其支撑和运输更加稳定,操作简单方便,适用范围更加广泛。

标签:
新能源
江苏 - 常州 来源:北方有色网 2023-03-18
含新能源发电的区域充电站控制装置

本发明提供一种含新能源发电的区域充电站控制装置,其结构特点是:包括使用时用于通过对区域变压器输出侧的电压电流信号进行采集、计算并相应发出信号的参数采集处理单元、接收参数采集单元发送的检测信号相应对区域电网实施电流补偿的谐波补偿单元、根据参数采集单元发送的控制信号相应控制新能源发电装置向区域电网送电与否的充电站逆流控制单元、根据参数采集单元发送的控制信号相应控制充电站充电功率大小的充电功率控制控制单元。本发明在使用时能有效解决含新能源发电的区域充电站对区域电网谐波污染、新能源发电装置向区域电网逆流倒送电以及极端情况下区域变压器过载引起跳闸停电对区域供电产生威胁的问题。

标签:
新能源
江苏 - 常州 来源:北方有色网 2023-03-18
自动干粉灭火系统及新能源车充电棚

本实用新型涉及一种自动干粉灭火系统及新能源车充电棚,新能源车充电棚具有该自动干粉灭火系统,自动干粉灭火系统包括相连的灭火系统及火灾探测报警系统。本系统可实现自动探测报警、自动灭火,确保充电场站在无人值守状态,特别适合公交车夜间回场、大量高功率充电状态下的对充电车棚的消防保护,地面积小、设置灵活、建设周期短,可实现快速投用。

标签:
新能源
江苏 - 常州 来源:北方有色网 2023-03-18
新能源汽车内的空气净化装置

本实用新型涉及空气净化装置技术领域,且公开了一种新能源汽车内的空气净化装置,包括箱体,所述箱体正面的四角均开设有螺纹孔,所述箱体的正面设置有箱盖,所述箱体的正面与箱盖的背面通过固定螺栓固定连接,所述箱盖正面的顶部设置有显示器,所述箱盖的正面中部设置有指示灯。该新能源汽车内的空气净化装置,通过V型过滤层的过滤网,实现了对小颗粒物有效的过滤效果,解决了颗粒物过滤不彻底的问题,大大减少了颗粒物对人体的二次伤害,V型吸附层与出水口、出水管、水箱配合,实现了对水的引导作用,防止了水的溢出产生异味,通过吸附层与固体清香剂配合,实现了对车内异味的吸附作用,提高了汽车内部的空气质量。

标签:
新能源
江苏 - 常州 来源:北方有色网 2023-03-18
新能源汽车用抗干扰线束

本实用新型涉及新能源汽车领域,具体涉及一种新能源汽车用抗干扰线束,具有芯线,所述芯线外侧包覆金属屏蔽层,所述金属屏蔽层外侧包覆网状层,所述网状层末端未完全包覆金属屏蔽层且未包覆的部分被捻成条状的地线,所述网状层外侧包覆橡胶绝缘层。本实用新型采用金属屏蔽层和网状层双层屏蔽,且让网状层最后接地,使得本实用新型抗干扰能力强。

标签:
新能源
江苏 - 常州 来源:北方有色网 2023-03-18
新能源汽车电池控制线路板

本实用新型公开了一种新能源汽车电池控制线路板,包括主体和安装块,所述主体的边侧衔接有滑块,且主体的内部安装有线路板本体,并且线路板本体的端部预留有连接口,所述滑块的底部衔接有滑槽,且滑块的端部固定有弹簧,所述安装块位于主体的底部,且安装块的上方衔接有挡板,并且安装块的边侧安装有锁紧螺丝,所述安装块的内壁预留有散热口,且散热口的下方安装有齿轮,所述齿轮的边侧衔接有固定杆,且齿轮的外侧安装有螺母,该新能源汽车电池控制线路板,与现有的线路板相比,通过安装块和锁紧螺丝固定于车辆的内部,从而使车辆运行时装置不易脱落,并且方便用户进行更换线路板,通过齿轮和固定杆的设置使装置的安装过程更加简单。

标签:
新能源
江苏 - 常州 来源:北方有色网 2023-03-18
新能源汽车用混动散热器

本实用新型涉及散热领域,具体涉及一种新能源汽车用混动散热器,具有机架,所述机架顶端设有进水阀,其底端设有出水阀,所述机架上还包括水泵、若干散热风扇以及冷却水管,所述散热风扇均匀地固定连接在机架侧面,所述冷却水管排布在散热风扇出风面上,所述电机固定连接在机架顶端进水阀侧面,所述冷却水管与水泵相通。本实用新型通过多个散热风扇均匀排列,同时对新能源汽车散热,散热效果良好。

标签:
新能源
江苏 - 常州 来源:北方有色网 2023-03-18
轻质高强度新能源汽车紧固件用四开花铆钉

本实用新型涉及铆钉技术领域,尤其涉及一种轻质高强度新能源汽车紧固件用四开花铆钉,包括铆钉杆、铆钉柱以及铆体,所述铆钉杆与铆钉柱之间通过断裂点相连接,所述铆体套接在所述铆钉柱的外侧,所述铆钉柱的端部设置有帽檐,帽檐朝向铆钉柱的侧面设置有四个周向分布的分切边,所述铆钉柱的柱体上设置有依次分布的波纹圈,同时在所述铆钉柱朝向铆钉杆的一侧还设置有锯齿边,本实用新型解决了铆钉的铆接不紧固的问题,本四开花铆钉的提出,增设的波纹圈以及锯齿边能够有效地提高铆接的牢固性,使得该铆钉在拉铆时开花彻底,并且铆钉柱与铆体之间的连接更加紧密,可以满足新能源汽车紧固件的安装强度要求。

标签:
新能源
江苏 - 常州 来源:北方有色网 2023-03-18
用于新能源汽车检测维修的零部件固定装置

本实用新型涉及汽车零部件固定装置技术领域,且公开了一种用于新能源汽车检测维修的零部件固定装置,包括放置在地面上的支撑台、用于放置零部件的放置板和可活动的支撑架,所述支撑台上表面的中部固定连接有可伸缩的液压杆,所述液压杆的顶端固定连接有放置板,所述放置板的上表面粘接有用于放置零部件损坏的橡胶垫。该用于新能源汽车检测维修的零部件固定装置,通过放置板、液压杆、橡胶垫和挡板的设置,维修人员可以将汽车零部件放置在放置板上,通过液压杆能调节放置板的高度,便于调节零部件的固定位置,且橡胶垫能防止零部件磕损,挡板能对零部件起到限位作用,防止零部件掉落,保证了维修人员正常检测和维修汽车零部件。

标签:
新能源
江苏 - 常州 来源:北方有色网 2023-03-18
新能源汽车前网组合装饰条

本实用新型公开了一种新能源汽车前网组合装饰条,解决背景技术中装饰条框架主体开口处变形的问题,该主架中间开口处设置有加强结构,加强结构包括加强型主框架、第一通孔、凹槽、连接孔、保护套和第二通孔,加强型主框架的端面开设有第一通孔,加强型主框架的后端上下部开设有凹槽,凹槽槽底开设有连接孔,加强型主框架的外部套接有保护套,保护套端面开设有第二通孔。本实用新型的一种新能源汽车前网组合装饰条,属于电动汽车车身配件领域,保护套套接在主架和加强型主框架之间,对两者接触端进行保护,加强型主框架置于主架中间开口处,对主架中间开口处进行保护,避免主架中间开口碰撞变形,进而提升主架和中网连接处的保护性能。

标签:
新能源
江苏 - 常州 来源:北方有色网 2023-03-18
新能源汽车电能的高压连接器

本实用新型的目的是提供一种新能源汽车电能的高压连接器,通过将高压连接器的本体通过弹簧和石墨烯散热板固定在金属壳体内,这样具有屏蔽功能,本体通过拉动线束连接端将本体右移,使得电器连接端伸在金属壳体外进行连接电器,使用方便,石墨烯散热板与金属壳体接触,设置散热孔散热,散热效果好,并且线束连接端、电器连接端和本体表面均设置有温度传感器对各个部位进行监控温度,整个装置使用方便,散热好,可以很好的适用于新能源汽车电能连接系统领域。

标签:
新能源
江苏 - 常州 来源:北方有色网 2023-03-18
基于无人机的新能源发电装置

本发明公开了一种基于无人机的新能源发电装置,包括有无人机主体,所述无人机主体包括有设置在无人机主体内的蓄电池,且无人机主体左右侧设置有机翼,所述无人机主体前侧设置有控制面板,且无人机主体下端设置有起落架,同时起落架下端设置着防护垫,所述无人机主体上端设置有用于风向监测的风向传感器,所述无人机主体左右两侧设置着风力发电架。该基于无人机的新能源发电装置,在太阳能电板作用下,可将光能转换为电能储存在蓄电池内提供电量使用,另外风电扇叶在无人机主体使用过程,在气流带动下,使得风电扇叶带动第一传动轴转动作用于发电机,通过发电机进行风力发电,进一步提高新能源发电供电,提高无人机主体的续航能力。

标签:
新能源
江苏 - 常州 来源:北方有色网 2023-03-18
耐久性能强的新能源汽车防撞装置

本发明公开了一种耐久性能强的新能源汽车防撞装置,包括新能源汽车防撞装置,其特征在于:所述新能源汽车防撞装置包括车门、底座,所述车门为空心,所述车门的内部设置有撞击复位机构,所述底座的下端面上设置有车漆修复机构,所述撞击复位机构包括滑套,所述滑套的一端固定在车门的内壁上,所述滑套的内侧滑动连接有凸块,所述凸块为空心,所述凸块的内部设置有微损复位组件,所述凸块的外侧固定有撞击块,所述撞击块朝向滑套的一侧与车门的内壁绳连接所述凸块位于滑套内部的一端焊接有第一弹簧,所述第一弹簧的内侧设置有螺旋杆,本发明,具有自动修复被撞的车身且自动补漆的特点。

标签:
新能源
江苏 - 常州 来源:北方有色网 2023-03-18
新能源电源的散热密封机构

本发明涉及新能源安全散热技术领域,尤其是一种新能源电源的散热密封机构,包括氢燃料电池、氢气发生器和小型电动循环水泵,氢气发生器上端具有氢气出气管。本发明的一种新能源电源的散热密封机构通过在氢气出气管上端的连接接头位置设置由底部密封罩壳和顶部密封罩壳组成的密封罩,通过底部、顶部密封罩壳螺纹连接固定在接头连接端外侧形成一个密封的容腔,通过储水来提升接头端的密封性能,在氢燃料电池上端设置顶部具有蛇形金属输水管的金属导热片,所述的同时利用顶部、底部和外部输水管道来连通容腔、金属输水管和小型电动循环水泵,在提升输气接头连接端密封安全性的同时大大提升氢燃料电池的散热性。

标签:
新能源
江苏 - 常州 来源:北方有色网 2023-03-18
用于新能源汽车的齿轮轴装置

本发明公开了一种用于新能源汽车的齿轮轴装置,属于新能源汽车的齿轮轴传动技术领域。它包括设备外壳,齿轮轴,输出主轴,转动装设在齿轮轴上且内部设有锥形齿的锥形内齿圈,固定装设在输出主轴上的连接件A,装设在连接件A上的柔性行星架,若干个转动装设在柔性行星架上、其一侧与主动锥齿轮外啮合、另一侧与锥形内齿圈内啮合的移动惰轮,与锥形内齿圈固定相连且同轴线装设的蜗轮A,驱动齿轮轴转动的电机A,驱动蜗轮A转动的动力组件B,以及驱动柔性行星架发生变形的动力组件C。本发明是一种能够在无动力间断的条件下实现无级变速、且具有双动力输入耦合增速增矩输出、可用于新能源汽车的齿轮轴装置。

标签:
新能源
江苏 - 常州 来源:北方有色网 2023-03-18
上一页 32 33 34 35 36 ... 38 下一页
共38页    到第

北方有色为您提供最新的江苏常州有色金属新能源材料技术理论与应用信息,涵盖发明专利、权利要求、说明书、技术领域、背景技术、实用新型内容及具体实施方式等有色技术内容。打造最具专业性的有色金属技术理论与应用平台!

全国热门有色金属设备推荐
展开更多 +
全国热门有色金属技术推荐
展开更多 +

 

江西省隆恩特环保设备有限公司
宣传

报名参会
更多+

报告下载

有色专家
更多+

矿冶科技集团有限公司
所长/研究员级高工
赣州江钨钨合金有限公司
工程师
中国矿业大学
副院长/教授
辽宁忠旺集团
教授级高工
北京工业大学、中国工程院
中国工程院 院士
赤泥综合利用研究报告2025
推广

热门技术
更多+

推荐企业
更多+

福建省金龙稀土股份有限公司
宣传

发布

在线客服

公众号

电话

顶部
咨询电话:
010-88793500-807