青岛垚鑫智能科技有限公司
宣传

位置:北方有色 >

有色技术频道 >

> 新能源材料技术

分类:
全部
矿山技术
冶金技术
材料制备及加工技术
环境保护技术
分析检测技术
 
全部
功能材料技术
复合材料技术
新能源材料技术
合金材料技术
加工技术
地区:
全部
北京
天津
上海
重庆
河北
山西
辽宁
吉林
黑龙江
江苏
浙江
安徽
福建
江西
山东
河南
湖北
湖南
广东
海南
四川
贵州
云南
陕西
甘肃
青海
内蒙
广西
西藏
宁夏
新疆
其他
其他
展开
 
全部
南京
无锡
徐州
常州
苏州
南通
连云港
淮安
盐城
扬州
镇江
泰州
宿迁

江苏常州有色金属新能源材料技术理论与应用

免费发布技术信息>>
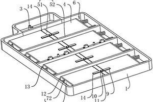
新能源电池托盘CMT焊接系统

本实用新型提供一种新能源电池托盘CMT焊接系统,包括:支架;两个并列布置的焊接机器人,安装于所述支架上;夹具,设有双工位,用于装夹两个工件,不仅可驱动工件可旋转,还可驱动工件圆弧运动。两个焊接机器人不仅可以覆盖工件的所有区域,而且可以同时焊接工件的两个位置,可避免工件水平移动;夹具驱动工件旋转和圆弧运动,取代人工,不仅提高了工件的位置精度,还节省了人工;综上所述,本实用新型提高了新能源电池托盘的焊接效率。

标签:
新能源
江苏 - 常州 来源:北方有色网 2023-03-18
防连接松脱的新能源线束

本实用新型公开了一种防连接松脱的新能源线束,包括安装头,所述安装头的左侧设置有连接头,所述连接头延伸至安装头的内部,且连接头和安装头相互插合;活动圈,设置在所述连接头的左侧,所述活动圈的内侧壁开设有滑槽,且活动圈的右侧壁固定连接有螺纹套,所述螺纹套与安装头螺纹连接,所述连接头上安装有滑块,所述滑块设置在齿块的右侧,所述滑块与活动圈滑动连接;旋钮,设置在所述安装头的顶部,所述安装头的顶部开设有开槽,所述旋钮的底部固定连接有旋转轴,所述旋转轴贯穿开槽,且旋转轴延伸至连接头的内部,所述安装头的内侧壁开设有限位槽。该防连接松脱的新能源线束能够增强线束连接处的稳定性,同时安装操作简单方便,更加实用。

标签:
新能源
江苏 - 常州 来源:北方有色网 2023-03-18
新能源汽车多规格电池包连接件

本申请涉及一种新能源汽车多规格电池包连接件,涉及新能源电池技术领域。其包括连接件本体和两个安装板。两个安装板分别设于连接件的两端,安装板的侧壁与连接件本体的侧壁连接,连接件本体两端均设置有滑槽,滑槽内壁转动连接有调节杆,调节杆沿连接件本体的长度方向设置,滑槽内壁贯穿设置有转动孔,调节杆的一端穿过转动孔伸出连接件本体,调节杆上螺纹连接有滑块,滑块侧壁与安装板的侧壁固定连接,滑块与安装板相连的一侧侧壁与滑槽的内壁相抵接,滑槽与安装块相抵接的一侧内壁贯穿设置有供安装板穿设的调节孔,安装板与连接件本体滑动连接。相较于相关技术,本申请具有连接件长度可调节以适用于多种长度规格的汽车电池包的效果。

标签:
新能源
江苏 - 常州 来源:北方有色网 2023-03-18
散热效果好的新能源电池汽车箱体

本实用新型公开了一种散热效果好的新能源电池汽车箱体,具体涉及新能源电池技术领域,包括箱体,所述电池放置在箱体的内部,所述箱体的一侧通过合页铰接有固定盖,所述固定盖内部开设有放置槽,所述放置槽的内部滑动连接有固定框,所述固定框的内部放置有多个一号冷却液管,所述固定盖的上表面开设有两个通槽。本实用新型通过多个一号冷却液管吸收电池热量的同时,通过散热扇的启动对箱体内部的热量吹散,对电池的表面进行降温散热的作用,通过二号冷却液管对箱体的热量进行吸收,而电池放置在箱体的内部,电池本身产生热量时,热量会传递给箱体,而二号冷却液管对箱体吸收的热量进行降温,从而提高对电池散热的效果。

标签:
新能源
江苏 - 常州 来源:北方有色网 2023-03-18
新能源汽车刹车真空泵用防尘罩

本实用新型公开了一种新能源汽车刹车真空泵用防尘罩,涉及新能源汽车刹车真空泵技术领域,包括主体,所述主体的内部设置有真空泵,且真空泵的底部安装有泵头,所述泵头的外侧设置有防护机构,且泵头的外侧设置有防尘机构,所述泵头的底端安装有弹性钢片,且弹性钢片的中端安装有弹簧,所述主体的外侧连接有弹性管。本实用新型中,通过滑槽与滑块的相互配合作用下,能够将连接管与进气管进行分离操作,便于连接管输出端处的过滤网进行更换操作,当连接管插进进气管内时,可通过连接管外侧的橡胶圈作用,能够将连接管插进进气管时起到紧贴密封性能,防止汽车刹车真空泵管路接口处出现漏气以及密封不严的现象,提升装置的防护效率。

标签:
新能源
江苏 - 常州 来源:北方有色网 2023-03-18
新能源汽车LED前照灯的加强型柔性线路板

本实用新型属于新能源汽车车灯的线路板技术领域,具体涉及新能源汽车LED前照灯的加强型柔性线路板,包括金属的线路层、覆盖在线路层正面的正面绝缘层、覆盖在线路层反面的反面绝缘层,正面绝缘层上设有沿柔性线路板长度方向设置的正面加强膜带,反面绝缘层上设有沿柔性线路板长度方向设置的反面加强膜带,正面加强膜带、反面加强膜带的数量为多道,均沿柔性线路板宽度方向均匀分布,正面加强膜带、反面加强膜在柔性线路板的宽度方向上相间分布,结构强度高,韧性强,抗弯折、抗撕裂,具有较长的使用寿命。

标签:
新能源
江苏 - 常州 来源:北方有色网 2023-03-18
新能源汽车后桥总成举升装置

本实用新型公开了一种新能源汽车后桥总成举升装置,主要内容为:包括左耳座、右耳座、底框、左支撑架、右支撑架、左连接管、右连接管、后支撑架和前支撑架,所述的左耳座和右耳座都固定安装在底框的底面上,左支撑架固定安装在底框的顶面上且左支撑架左侧面与底框左侧面平齐,右支撑架安装在底框的顶面上且右支撑架右侧面与底框右侧面平齐,前支撑架安装在底框的顶面上且前支撑架前侧面与底框前侧面平齐,后支撑架固定安装在左连接管和右连接管的顶面上。本实用新型结构简单、实用性强,通过四颗螺栓将该装置固定在原举升小车上即可实现新能源汽车后桥总成的安装,生产线切换传统车时将改装置卸下即可,可方便快捷地实现车型切换。

标签:
新能源
江苏 - 常州 来源:北方有色网 2023-03-18
新能源汽车开模化多功能集成控制器

本实用新型公开了一种新能源汽车开模化多功能集成控制器,主要内容为:所述的前散热板安装在控制器箱体前侧面上,手动维修开关安装在控制器箱体右侧面上,暖风插座、第三加热器插座、第一加热器插座和空调插座从后到前依次安装在控制器箱体右侧面上靠近中部处,第四加热器插座和第二加热器插座从后到前依次安装在控制器箱体右侧面上靠近底部处,充电负极插座、电机正极插座和充电正极插座从左到右依次安装在控制器箱体底面上靠近前侧面处,下散热板固定安装在控制器箱体底面上。本实用新型外观整洁,可以减小控制器的总体积,从而节省了整车的空间,有利于新能源汽车向轻量化、小型化发展。

标签:
新能源
江苏 - 常州 来源:北方有色网 2023-03-18
新能源汽车用永磁电机
新能源汽车用永磁电机 1175     
 0

本实用新型涉及电机设备技术领域,尤其是涉及一种新能源汽车用永磁电机,包括一端具有转轴的本体,所述本体外周面设有接线盒,还包括连接法兰、卡爪、弹簧和滑套,所述连接法兰上开设有若干螺钉孔,所述连接法兰滑动设置在所述本体上,所述本体位于所述转轴的一端设置有限位轴肩,所述滑套螺纹连接在所述本体上,所述连接法兰位于所述限位轴肩和所述滑套之间,所述本体上开设有与所述卡爪相匹配的滑槽,本实用新型新能源汽车用永磁电机在使用时,通过调节滑套控制连接法兰在本体上转动或者固定,使得连接法兰上螺钉孔的位置进行调整,使得本体上的接线盒避开相干涉的位置,使得电机能够快速安装,提高了安装效率。

标签:
新能源
江苏 - 常州 来源:北方有色网 2023-03-18
轻质高强度新能源汽车紧固件用铝铆钉

本实用新型涉及新能源汽车技术领域,尤其涉及一种轻质高强度新能源汽车紧固件用铝铆钉,解决了现有新能源汽车铝铆钉紧固件耗材维修时拆卸困难且浪费严重的缺点,包括铆钉套,所述铆钉套的端部设置有凸台,所述凸台的内部通过轴承连接有铆钉锁杆,按压锁环使其端部的锁板脱离凸块,此时仅需利用铆钉锁杆端部的十字槽即可转动铆钉轴,进而使其两端正向螺纹和反向螺纹连接的连接环反向同步传动,推动斜撑杆端部的插钉推出铆钉套两侧的通槽外部,实现进一步的实现紧固的功能,松开锁环在施力弹簧的作用下,锁板会重新插入凸块之间,防止铆钉轴发生自转,反之则可以快速的收回插钉,便于从零部件中取出,进行二次利用,实用性强。

标签:
新能源
江苏 - 常州 来源:北方有色网 2023-03-18
新能源汽车高压充电线束

本实用新型涉及新能源汽车技术领域,且公开了一种新能源汽车高压充电线束,包括缆芯,所述缆芯的外部包裹有铠装层,铠装层上设有防水组件,防水组件上设有防护机构,防水组件包括固定安装于铠装层外侧的内防水层,内防水层的外部贴合有绝缘套,绝缘套的外部套设有外防水层,防护机构包括贴合于外防水层外部的缓冲防护层,缓冲防护层的外部固定安装有安装套,安装套的外部固定安装有防磨层。该新能源汽车高压充电线束,通过设置的防水组件,从而方便了防水组件对线束起到防水防护的效果,避免充电时浸泡于水中出现漏电的现象,同时通过设置的防护机构,从而增加了线束的耐磨抗压效果,避免磨损破皮对线束造成损坏。

标签:
新能源
江苏 - 常州 来源:北方有色网 2023-03-18
新能源汽车锂离子动力电池用疏拒电池液又耐高温隔热的板

本实用新型公开了一种新能源汽车锂离子动力电池用疏拒电池液又耐高温隔热的板,包括:弹性二氧化硅气凝胶片材和膨体聚四氟乙烯膜,弹性二氧化硅气凝胶片材至少一面复合有膨体聚四氟乙烯膜。通过上述方式,本实用新型既能疏拒电池液、耐电池液腐蚀,又耐高低温,与弹性二氧化硅气凝胶片材复合或包覆后结合密贴不分层又不渗漏,保养简单容易且可长期使用,膨体聚四氟乙烯膜达到了阻燃标准,提高了新能源汽车锂离子动力电池供电的可靠性和安全性,助力我国新能源汽车产业的发展有着重要作用。

标签:
新能源
江苏 - 常州 来源:北方有色网 2023-03-18
用于新能源车型齿轮油加注的简易设备

本发明公开了一种用于新能源车型齿轮油加注的简易设备,包括加注油管,还包括套筒和手柄以及设在套筒内的活塞,所述套筒的一端设有用于与加注油管相连的出油口,所述活塞上连有推杆,推杆的外端部位于套筒外部与手柄相连。该用于新能源车型齿轮油加注的简易设备结构设计合理,方便携带,不用时盖上密封帽避免杂质进入,可实现定量加注,可有效控制新能源车型齿轮油加注量,人工推动活塞对齿轮油加压,提高了加注效率,节省维修工时。

标签:
新能源
江苏 - 常州 来源:北方有色网 2023-03-18
新能源混动变速箱高精度分配油管成型模具

本实用新型涉及油管生产技术领域,尤其是一种新能源混动变速箱高精度分配油管成型模具。一种新能源混动变速箱高精度分配油管成型模具,包括用于油管推弯的推弯模具和用于油管缩口的缩口模具,油管推弯的推弯模具和油管缩口的缩口模具都包括定模和动模,定模内的型腔内安放有工件,定模的内侧表面有两组模孔,定模上有与模孔匹配的模头。这种新能源混动变速箱高精度分配油管成型模具,对设备精度要求不高,产品的定位精度主要由成型模具精度保证,进而提高了工作效率,改善了产品位置度的合格率。

标签:
新能源
江苏 - 常州 来源:北方有色网 2023-03-18
新能源汽车用气凝胶内衬保温挡水膜部件

本实用新型公开了一种新能源汽车用气凝胶内衬保温挡水膜部件,二氧化硅气凝胶毡内衬层和高密度聚乙烯PE薄膜层,高密度聚乙烯PE薄膜层包覆于二氧化硅气凝胶毡内衬层的外表面,将二氧化硅气凝胶毡内衬层真空封装在高密度聚乙烯PE薄膜层中。通过上述方式,本实用新型能够可以降低汽车空调用电能,节约的大量空调能耗为新能源汽车续航里程提供更多的电能;降低车主对新能源汽车续航里程的担忧,提高驾车的舒适感;制造成本低,适合大批量的产业化制造。

标签:
新能源
江苏 - 常州 来源:北方有色网 2023-03-18
可调式新能源汽车电池连接件

本实用新型公开了一种可调式新能源汽车电池连接件,具体涉及新能源汽车技术领域,包括一号安装座和二号安装座,所述一号安装座和二号安装座的内部均安装有电池,所述一号安装座和二号安装座的两侧表面均固定连接有固定箱,所述固定箱的一侧表面固定并连通有安装块,所述安装块的内部滑动连接有一号L形杆和二号L形杆。本实用新型通过转动调节螺套,通过一号螺杆和二号螺杆均螺纹连接在调节螺套的内部,在螺纹作用下推动一号螺杆和二号螺杆向外滑动或者向内滑动的作用,实现对两个新能源电池之间距离的调整,通过辅助组件对两个电池之间提高稳定性,避免两个电池移动时,存在一端移动位置倾斜,影响后期电池电线的连接。

标签:
新能源
江苏 - 常州 来源:北方有色网 2023-03-18
耐挤压式新能源动力电池铝壳及其总成

本实用新型公开了一种耐挤压式新能源动力电池铝壳及其总成,铝壳本体,包括用于密封铝壳本体的密封顶盖,密封顶盖的顶面设有与铝壳本体内腔相连通的导热液注口,铝壳本体用于构建新能源电池外侧防护壳体结构侧防护机构,包括静导热盒、运动抵盖和压缩弹簧,挤压监测机构,固定于铝壳本体内腔的前后两侧,包括液压盒、弹性薄膜和弹性金属片。本实用新型通过采用液力保护结构,并采用侧防护机构和挤压监测机构对电池结构进行防护,在该新能源电池总成受外界撞击或挤压形变中壳通过侧防护机构和挤压监测机构的形变吸收冲击对电池本体进行防护,且通过挤压监测机构内部的监测导柱监测液压变化,对电池状态进行监控及时反映电池的受压状态。

标签:
新能源
江苏 - 常州 来源:北方有色网 2023-03-18
新能源电动车换挡电机

本发明涉及电机技术领域,具体涉及一种新能源电动车换挡电机。本发明涉及提供了一种新能源电动车换挡电机,包括:电机本体、后端盖、接线盒、连接部和电源件,所述后端盖固定在所述电机本体下端,所述连接和固定在所述后端盖外壁,所述接线盒上开设有一与所述电源件相适配的通孔;所述连接部固定在所述接线盒内部,所述连接部适于连接电源件和电机本体;其中装配时,电源件的金属端部插入所述连接部的连接端,周向转动所述连接部的活动端,以使所述连接部的连接端夹紧所述电源件的金属端;当连接部的活动端转动至连通工位时,所述电源件与所述电机本体电连接。通过连接部、电源件和接线盒的配合,达到便捷装配电机电源的效果,提高了工作效率。

标签:
新能源
江苏 - 常州 来源:北方有色网 2023-03-18
新能源电动汽车用的车灯及其照明组件

本发明涉及一种新能源电动汽车用的车灯及其照明组件,涉及照明技术领域;新能源电动汽车用的车灯,包括车灯本体及防护壳,所述防护壳呈弧形状设置并与所述车灯本体配套使用,且二者可拆卸连接,所述防护壳内活动设置有一个平移块,所述平移块与安装于所述防护壳内的往复横移机构连接,且所述平移块上通过伸缩结构活动设置有吹风头,所述吹风头用于向所述防护壳吹送热风,所述防护壳内还活动设置有升降板,且所述升降板与固定于所述防护壳内的两根立柱滑动连接,所述往复横移机构安装于所述升降板的一侧,且所述升降板与安装在所述防护壳内的升降驱动机构连接,最终,防护壳上的积雪无需驾驶员手动去除,在日常的使用中较为方便。

标签:
新能源
江苏 - 常州 来源:北方有色网 2023-03-18
新能源充电桩线缆回收用输送系统及工作方法

本发明涉及收卷设备技术领域,具体涉及一种新能源充电桩线缆回收用输送系统及工作方法。本发明涉及一种新能源充电桩线缆回收用输送系统,调节部固定在支撑架的另一端,且调节部的活动端适于驱动线缆竖直上下移动;张力部固定在调节部的活动端,张力部适于调节线缆进线时的张力;固定辅助部可滑动的设置在绕线盘上,固定辅助部适于限位固定线缆端部;其中,线缆经调节部的活动端后一端固定在固定辅助部上;滑动固定辅助部使其向远离张力部的一侧移动;驱动电机驱动绕线盘周向转动,以卷绕线缆;绕线缆结束后,周向转动固定辅助部以使线缆自绕线盘上的两绕线柱上脱落。通过固定辅助部的设置,提高了工作效率。

标签:
新能源
江苏 - 常州 来源:北方有色网 2023-03-18
新能源车用机电悬架模型构建方法、优化仿真方法及系统

本发明涉及一种新能源车用机电悬架模型构建方法、优化仿真方法及系统,其中新能源车用机电悬架模型构建方法包括:步骤S1,构建半车动力学运动模型;步骤S2,构建包含机电惯容器的车辆机电悬架模型;步骤S3,优化半车动力学运动模型和车辆机电悬架模型的设计参数,若设计参数符合设计要求,则进入步骤S4,否则重新进行步骤S3;以及步骤S4,确定机电悬架的网络综合被动实现与机电悬架具体结构参数;本发明综合考虑了车身垂向加速度和俯仰角加速度指标,所采用的改进的粒子群算法有效避免优化过程中易陷入局部最优解的问题,有效实现了应用机电惯容器的网络结构实现较为复杂的问题,减小了工作量,有利于工程应用的推广。

标签:
新能源
江苏 - 常州 来源:北方有色网 2023-03-18
新能源电池盒的制备方法

本发明公开了一种新能源电池盒的制备方法,包括制备盒体、盒盖和搭扣;在盒体内制备顶紧单元和灭火单元;以及在盒盖上制备压紧单元。本发明的制备方法制备出的新能源汽车用电池盒,能够实现对电池快速拆装的目的,从而使得其实用性得到有效提高,具备在盒体内部因故障起火时自动灭火的功能,安全性能较好,可有效保障车辆以及车上人员的安全,在盒体的内表面上制备的防护层可有效增加盒体的防腐、防火、减震、抗老化的性能,从而使得其可有效防护安装在其内部的电池。

标签:
新能源
江苏 - 常州 来源:北方有色网 2023-03-18
新能源节能环保用灌溉装置

本发明涉及灌溉装置技术领域,且公开了一种新能源节能环保用灌溉装置,包括安装底座,所述安装底座的顶部固定安装有贯穿安装底座的限位钉。该新能源节能环保用灌溉装置,通过设置了导流基板,在雨天雨水充足时,雨水可通过导流基板流到收集斜板内部,然后可通过进液孔进入蓄水箱的内部进行存储,在有需要时进行灌溉,达到了节约水资源的效果,在雨水不充足时,可通过补水管补充水,进行正常的灌溉,通过设置了太阳能板,能够收集太阳能为蓄电池补充电能,为高压水泵提供电能,且在需要调节或者检修清理时,可松动连接片上的螺钉,将导流基板翻转打开,然后通过控制面板设置定时喷洒,或是对蓄水箱内部进行清理。

标签:
新能源
江苏 - 常州 来源:北方有色网 2023-03-18
新能源汽车充电桩用背壳检测系统及其检测方法

本发明属于充电桩检测设备技术领域,具体涉及一种新能源汽车充电桩用背壳检测系统及其检测方法,本新能源汽车充电桩用背壳检测系统包括:背壳摆正装置将装配位上后背壳摆正,且在后背壳中装入电芯、弹片及端盖后背壳摆正装置将端盖扣合在后背壳内,以使背壳检测装置插入端盖以连接电芯及弹片进行检测;以及背壳摆正装置夹住后背壳且在YZ轴移动装置及安装架带动下将后背壳转移至后续设备;本发明能够精准卡入围框内侧上两限位扣部之间的卡槽中夹持后背壳,不需要像传统夹爪为了不损伤后背壳采用成本较高的夹爪、定位设备及复杂控制逻辑调整夹爪行程,提升夹取后背壳的安全性,并且背壳摆正装置压端盖方式为面受力,降低损失端盖及后背壳的风险。

标签:
新能源
江苏 - 常州 来源:北方有色网 2023-03-18
用于新能源汽车电池的高强度复合导热硅胶片

本发明涉及一种用于新能源汽车电池的高强度复合导热硅胶片,包括五层结构,从上往下依次为离型膜I、高导热硅胶片I、高导热碳纤维布、高导热硅胶片II和离型膜II,与现有技术方案相比,由于添加了高强度碳纤维布,复合导热硅胶片导热系数可做到6w/m.k左右,在现有技术方案基础上(2.8~3w/m.k)提高了1倍左右;材料贴附性良好,由于强度较高,且有碳纤维布做支撑,可随意弯折不会出现碎裂情况;可在提供高导热性能的同时保持高强度和可弯折性,给新能源汽车电池提供更高效的导热效果。

标签:
新能源
江苏 - 常州 来源:北方有色网 2023-03-18
具有红外感知功能的新能源电动汽车车灯

本发明提供了一种具有红外感知功能的新能源电动汽车车灯,包括红外感知模块、盆状壳体、第一灯组以及第二灯组;所述盆状壳体内设置有分隔板;所述第一灯组以及所述第二灯组分别设置于所述分隔板的两侧;所述第一灯组包括第一控制板、多个第一焦距可调灯机构以及第一LED灯源;所述第一焦距可调灯机构适于调节车灯的第一聚焦距离;所述红外感知模块设置于所述盆状壳体内,且适于检测障碍物距离新能源电动汽车的距离。通过第一焦距可调灯机构对第一LED灯源散发出来的光束的焦距进行调节,可以使光纤在所需要的位置进行调节,满足不同类型的车辆,不同工况下的使用需求,无需设置多种规格的车灯,将车灯统一化,降低了企业的生产成本。

标签:
新能源
江苏 - 常州 来源:北方有色网 2023-03-18
新能源电动车汽车电池安装结构

本实用新型公开了一种新能源电动车汽车电池安装结构,包括固定框,所述固定框的内部固定安装有双向螺杆。有益效果:本实用新型采用了滤网罩,当需要对流动空气中的灰尘或水汽进行过滤时,流动空气先后经过滤网罩、吸水海绵和环形内置槽,进入固定框内部,流动空气经过滤网罩时,灰尘被留下,经过吸水海绵时,水汽被留下,当空气中的水汽较多时,吸水海绵的重量逐渐增加,受重力作用会带动密封板下移,当密封板的下部与环形内置槽的内部底面接触时,此时空气无法进入固定框的内部,防止吸水海绵无法吸取水汽时,水汽跟随流动空气进入固定框的内部,通过设置的滤网罩,能够阻止空气中的灰尘或水汽进入新能源电动车汽车电池安装结构的内部。

标签:
新能源
江苏 - 常州 来源:北方有色网 2023-03-18
稳定型新能源汽车动力电池包箱体

本申请涉及一种稳定型新能源汽车动力电池包箱体,应用在新能源汽车技术的领域,其包括托盘本体、设置在托盘本体内的水冷系统、安装于托盘本体内的电池模组以及用于封闭托盘本体的盖板,电池模组的底面与水冷系统相贴合,所述托盘本体内位于所述水冷系统的上方设有隔离组件,所述隔离组件内形成有若干用于放置电池模组的放置腔,所述放置腔内设有用于对电池模组进行定位的定位组件。本申请可以提高电池模组在托盘本体内的稳定性,从而降低电池模组碰撞受损而导致使用寿命缩短的可能性。

标签:
新能源
江苏 - 常州 来源:北方有色网 2023-03-18
新能源汽车机舱电器支架总成

本实用新型公开了一种新能源汽车机舱电器支架总成,包括支架外壳、排水管道和扁铁片,所述支架外壳的外侧焊接固定有蓄电池箱体,且蓄电池箱体的正上方卡合有密封盖板,所述排水管道设置在蓄电池箱体的一侧,所述支架外壳的内部开设有滑槽,且支架外壳的底部开设有螺纹孔,所述滑槽的一侧设置有夹持块,所述支架外壳的底部安装有定位杆,且定位杆的下方连接有支撑块,所述扁铁片设置在支撑块的左右两侧,所述定位杆的外侧贯穿连接有滑块。该新能源汽车机舱电器支架总成,采用滑槽与夹持块,通过滑槽带动夹持块进行移动,便于根据电器的宽度调节夹持块之间的距离,确保对不同类型电器夹持及固定的便捷性。

标签:
新能源
江苏 - 常州 来源:北方有色网 2023-03-18
可靠型新能源汽车交流电机

本实用新型涉及电机设备技术领域,尤其是涉及一种可靠型新能源汽车交流电机,包括电机本体、弹簧和压块,所述电机本体位于其输出端的一端设有连接法兰,所述压块包括固定块,所述固定块上开设有螺钉孔,所述固定块的两侧均向外延伸有限位板,所述连接法兰内开设有与所述限位板相匹配的若干滑道,所述限位板滑动设置在所述滑道内,所述压块沿所述电机本体输出端轴向滑动设置,所述螺钉孔的轴线与所述电机输出端的轴线相互平行设置,本实用新型可靠型新能源汽车交流电机在使用时,通过螺钉与设备连接时,螺钉对压块的挤压,使得两个压块之间的弹簧被压缩,再由被压缩弹簧的作用力对螺钉起到预紧作用,防止了螺钉的松脱。

标签:
新能源
江苏 - 常州 来源:北方有色网 2023-03-18
上一页 30 31 32 33 34 ... 38 下一页
共38页    到第

北方有色为您提供最新的江苏常州有色金属新能源材料技术理论与应用信息,涵盖发明专利、权利要求、说明书、技术领域、背景技术、实用新型内容及具体实施方式等有色技术内容。打造最具专业性的有色金属技术理论与应用平台!

全国热门有色金属设备推荐
展开更多 +
全国热门有色金属技术推荐
展开更多 +

 

江西省隆恩特环保设备有限公司
宣传

报名参会
更多+

报告下载

有色专家
更多+

江西理工大学
副校长
矿冶科技集团有限公司
所长/研究员级高工
江西理工大学
教授
石家庄铁道大学
团委书记/副教授
长沙矿冶院检测技术有限责任公司
总经理
赤泥综合利用研究报告2025
推广

热门技术
更多+

推荐企业
更多+

福建省金龙稀土股份有限公司
宣传

发布

在线客服

公众号

电话

顶部
咨询电话:
010-88793500-807