青岛垚鑫智能科技有限公司
宣传

位置:中冶有色 >

有色技术频道 >

> 新能源材料技术

分类:
全部
矿山技术
冶金技术
材料制备及加工技术
环境保护技术
分析检测技术
 
全部
功能材料技术
复合材料技术
新能源材料技术
合金材料技术
加工技术
地区:
全部
北京
天津
上海
重庆
河北
山西
辽宁
吉林
黑龙江
江苏
浙江
安徽
福建
江西
山东
河南
湖北
湖南
广东
海南
四川
贵州
云南
陕西
甘肃
青海
内蒙
广西
西藏
宁夏
新疆
其他
其他
展开
 
全部
成都
自贡
攀枝花
泸州
德阳
绵阳
广元
遂宁
内江
乐山
南充
眉山
宜宾
广安
达州
雅安
巴中
资阳
阿坝藏族羌族自治州
甘孜藏族自治州
凉山彝族自治州

四川成都有色金属新能源材料技术理论与应用

免费发布技术信息>>
新能源汽车专用充电桩

本实用新型提供一种新能源汽车专用充电桩,包括充电桩本体,所述充电桩本体包括外壳、无线充电底座和挡雨板,所述外壳的边侧均设有显示器,所述显示器的底部设有操控室,所述操控室的底部设置有读卡口,所述操控室的一侧设有导管出口,所述导管出口的顶部设有固定架,所述固定架的顶部安装有充电插头,所述挡雨板设置在外壳的顶部,所述挡雨板包括三角板和太阳能板,所述无线充电底座通过转动轴二安装在电动机二的输出轴上,该新能源汽车专用充电桩设计简约,操作简单,充电效率高,安全性能高。

标签:
新能源
四川 - 成都 来源:中冶有色网 2023-03-18
带有防护功能的新能源节能型路灯

本实用新型公开了一种带有防护功能的新能源节能型路灯,涉及市政路灯技术领域,其包括固定板,所述固定板的上表面固定连接有支撑杆,所述支撑杆的顶端固定连接有支撑板,所述支撑板为倾斜设置,且支撑板的上表面设置有太阳能电池板和防护罩,所述太阳能电池板位于防护罩的内部,且防护罩的高度大于太阳能电池板的高度,所述防护罩的上表面搭接有防护板。该带有防护功能的新能源节能型路灯,通过设置防护罩、防护板、旋转装置、卡块、卡槽和弹簧,本装置在使用时能够使得防护罩和防护板同时对太阳能电池板进行防护,避免鸟类粪便污染腐蚀太阳能电池板,延长了太阳能电池板的使用寿命,给人们在使用时带来方便。

标签:
新能源
四川 - 成都 来源:中冶有色网 2023-03-18
高散热性的新能源供电箱

本实用新型公开了一种高散热性的新能源供电箱,本实用新型涉及供电箱技术领域,高散热性的新能源供电箱,包括箱体,箱体下方固定有底板,且底板底面四角焊接有弹簧座,箱体左下方设有固定于底板上表面的水箱,且水箱左上方插接有与其相通的加水管,水箱上方设有水帘墙,且水帘墙和水箱之间设有积水斗,积水斗下端连通于水箱,且水帘墙下端插接于积水斗内部上方;本实用新型的有益效果在于:通过滤网、水箱、抽水泵、输水管、储水盒、滴头、水帘墙、进气格栅、出气格栅以及负压风机的配合,使得箱体内部的热空气被排出,室外新鲜空气通过水帘墙冷却后吸入箱体内,降温效果较好,大大提升箱体的散热性能。

标签:
新能源
四川 - 成都 来源:中冶有色网 2023-03-18
新能源电动机外壳进出水口用封堵工装

本实用新型公开了一种新能源电动机外壳进出水口用封堵工装,包括工作台,所述工作台上端分别连接有第一连接板和第二连接板,所述第一连接板一侧设置有第二连接板,所述第一连接板内部贯穿有旋转机构,所述旋转机构一端连接有第一夹持板,所述第二连接板一端设置有气缸,所述气缸一端焊接有第二夹持板,所述第一夹持板和第二夹持板表面分别开设有凹槽。该新能源电动机外壳进出水口用封堵工装中,在升降电机的使用下,可将移动块在凹槽内部根据电动车外壳和封盖的尺寸记性移动,从而将移动块一端连接的夹持块贴合在电动车外壳和封盖外壁,进而将电动车外壳和封盖夹持牢固,同时在限位块和限位槽之间相互配合使用下,可以加强移动块的稳定性。

标签:
新能源
四川 - 成都 来源:中冶有色网 2023-03-18
用于高频新能源车变频电机故障放电的多功能探测装置

本实用新型公开了一种用于高频新能源车变频电机故障放电的多功能探测装置,属于新能源汽车在线监测技术领域,包括探测器本体和安装壳,所述探测器本体通过连接柱固定连接在连接齿轮表面,所述连接齿轮通过轴承转动安装在安装壳内部;本实用新型通过移动调节板,使锁紧板进行移动,并对连接齿轮进行转动,从而对探测器本体旋转调节方向,通过第一弹簧对锁紧板作用力,使锁紧板与连接齿轮啮合,提高稳定,通过按压调节杆移动卡板,并对调节齿轮进行旋转,将调节块进行调节,对探测器角度进行调节,通过第二弹簧对定位板的作用力,使卡板啮合调节齿轮,对探测器位置固定,通过压缩弹簧对安装板进行作用,对安装块限位,便对探测器进行装卸。

标签:
新能源
四川 - 成都 来源:中冶有色网 2023-03-18
环保节能型新能源汽车轮胎清理设备

本实用新型公开了一种环保节能型新能源汽车轮胎清理设备,包括底板,所述底板的上表面与电机的下表面固定连接,电机的输出轴与主动齿轮的下表面固定连接。该环保节能型新能源汽车轮胎清理设备,通过设置第四固定板、第六固定板和第一合页,通过第一合页使第六固定板向下旋转,使第三固定板与第四固定板搭接,通过第一螺纹槽和第二螺纹槽,对第六固定板和第四固定板固定,可以增加毛刷长度,整个装置采用电机带动毛刷进行清理的方式,摒弃了传统人工清理的方式,使清理效率更高,同时可根据轮胎大小进行毛刷长短的调节,操作简单,大大节省了人力,减少了清洁人员的工作量,该实用新型结构紧凑,设计合理,实用性强。

标签:
新能源
四川 - 成都 来源:中冶有色网 2023-03-18
基于新能源领域的可移动充电桩

本实用新型公开了一种基于新能源领域的可移动充电桩,包括充电桩主体,所述充电桩主体上设置有充电线,且充电线的顶端与充电头固定,所述充电头与充电桩主体插接,所述充电头通过限位装置与充电桩主体连接,所述充电桩主体的底端通过拆卸装置与顶座固定,所述顶座的底端固定有挂钩,所述充电桩主体的底端与底盘固定。该基于新能源领域的可移动充电桩设置有限位装置,其中限位装置包括固定板、开槽和限位槽,通过此装置能够使得充电头与充电桩主体插接时,避免掉落损坏充电头的弊端,不会造成成本浪费,还设置有拆卸装置,其中拆卸装置包括转杆、卡合杆和第二卡合槽,通过此装置能够方便维修人员拆卸更换,大大节省了维修人员的时间和精力。

标签:
新能源
四川 - 成都 来源:中冶有色网 2023-03-18
稳定性较好的新能源电池箱

本实用新型公开了一种稳定性较好的新能源电池箱,具体涉及新能源技术领域,包括箱体,所述箱体顶部和底部均设有固定机构,两个所述固定机构呈对称状分布;所述固定机构包括第一锥形齿轮,所述第一锥形齿轮位于箱体一侧。本实用新型通过设置第一锥形齿轮和第一螺纹杆,使得两个第二支撑板可快速进行相互靠近或远离,同时通过设置第二锥形齿轮、第一转轴、链条、链轮和支撑筒,使得第二螺纹杆可在第一锥形齿轮转动时同时向箱体内运动,并且通过设置第二齿轮同时与两个第一齿轮啮合连接,转动第二齿轮即可快速使得两个第一支撑板和两个第二支撑板夹住电池四周将其固定,极大提高了固定工作效率。

标签:
新能源
四川 - 成都 来源:中冶有色网 2023-03-18
具有散热功能的新能源汽车电机

本实用新型涉及新能源汽车技术领域,特别是涉及一种具有散热功能的新能源汽车电机,包括外壳和壳盖,壳盖位于外壳左侧,外壳内部设有左端贯穿出壳盖的电机,电机右侧设有多个固定于外壳内壁右侧的支架,外壳内部上下两侧均设有夹板,夹板外侧与外壳内壁之间均匀固定有多个弹簧,外壳上下两侧均嵌入设置有位于弹簧左侧的储水箱,储水箱外侧连接有注水管,储水箱内侧连接有入水管,夹板内部开有冷却槽,外壳上下两侧均嵌入设置有位于弹簧右侧的水冷箱,本实用新型的有益效果在于:散热结构与电机紧密贴合,节省安装空间,且拆装方式简单快捷,方便使用和检修,并且利用风冷和水冷同步进行散热,且可进行循环水冷,散热效果佳。

标签:
新能源
四川 - 成都 来源:中冶有色网 2023-03-18
新能源汽车电机减速器
新能源汽车电机减速器 1056     
 0

本实用新型公开了一种新能源汽车电机减速器,特别是涉及电机减速器技术领域,包括外壳,外壳前端左侧和后端右侧均设置有转筒,通过使用固定件与汽车电机和传动装置固定连接,再者转筒与套筒是转动的,这样在汽车颠簸时,电机减速器会进行上下摆动,从而使得转筒与套筒转动,由于位于转筒内部的滑块是和内腔滑动的,使得在转筒与套筒转动的同时,滑块会在内腔呈弧形滑动,而滑块两侧的弧形弹簧所施加的弹力会阻止滑块进行滑动,从而达到减少转筒与套筒转动的幅度,进而增加减速器减震效果的作用,这样就解决了现有的新能源汽车电机减速器和电机之间的连接容易发生损坏,影响减速器和电机的传动效果的问题。

标签:
新能源
四川 - 成都 来源:中冶有色网 2023-03-18
基于新能源利用的市政路灯用太阳能发电板

本实用新型公开了一种基于新能源利用的市政路灯用太阳能发电板,包括路灯本体机构,所述路灯本体机构的顶部开设有安装槽,所述安装槽的内腔活动连接有安装座,所述安装座的顶部固定连接有支撑杆,所述支撑杆的顶部固定连接有太阳能发电板,所述安装座的内部开设有活动腔。本实用新型通过相向推动把手,把手最终带动两个卡块相向移动,将安装座放置于安装槽的内腔中,松开把手,使卡块在弹簧的作用下进入到卡槽的内腔中,即达到了方便安装的目的,该基于新能源利用的市政路灯用太阳能发电板具备方便安装的优点,操作简单,一体化的设计避免了零件的丢失,节省了安装时间,减小了安装者安装时的危险系数。

标签:
新能源
四川 - 成都 来源:中冶有色网 2023-03-18
新能源照明装置
新能源照明装置 1100     
 0

本实用新型公开了一种新能源照明装置,具体涉及新能源技术领域,包括立柱,所述立柱一侧固定设有横板,所述横板底部固定设有固定柱,所述固定柱底部设有照明灯,所述固定柱一侧设有清洁机构;所述清洁机构包括第一连接杆,所述第一连接杆一端固定设有摇把,所述第一连接杆另一端固定设有第一锥齿轮,所述第一锥齿轮顶部设有第二锥齿轮,所述第二锥齿轮顶部固定设有第二连接杆,所述第二连接杆顶部固定设有第三锥齿轮,所述第三锥齿轮一侧设有第四锥齿轮,所述第四锥齿轮底部固定设有弧形刮板,所述弧形刮板一侧固定设有海绵。本实用新型通过清洁机构对照明灯进行清洁,避免人员爬至高处清洁照明灯,为人员提供了生命保障。

标签:
新能源
四川 - 成都 来源:中冶有色网 2023-03-18
用于新能源电池的保护壳

本实用新型提供一种用于新能源电池的保护壳,包括保护壳本体,所述保护壳本体包括第二保护壳、放置架和通风装置,所述第二保护壳设置在保护壳本体一侧,所述第二保护壳一侧设有提手一,所述第二保护壳内设有温度计,所述放置架上设有滑轮,所述保护壳本体内设有空腔,所述空腔内设有导轨凹槽,所述滑轮安装在导轨凹槽内,所述放置架顶部设有提手二,所述放置架内侧边角处均设有防震垫,所述通风装置设置在保护壳本体另一侧,该用于新能源电池的保护壳,功能多样,有利于对电池的保护。

标签:
新能源
四川 - 成都 来源:中冶有色网 2023-03-18
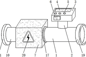
新能源发电用防堵塞水表

本实用新型公开了一种新能源发电用防堵塞水表,包括过滤箱,所述过滤箱的内壁固定连接有第一过滤网,所述过滤箱的内壁固定连接有第二过滤网,所述过滤箱的内侧壁固定连接有相对称的定位板,两个所述定位板相互靠近的一侧面均固定镶嵌有轴承,两个所述轴承的内壁均固定连接有连接杆,两个所述连接杆相互靠近的一端共同固定连接有吸附球。该一种新能源发电用防堵塞水表,通过第一过滤网和第二过滤网的配合,能够对水中的杂物进行实时过滤,避免管道发生堵塞,通过水流带动吸附球转动,使吸附球产生一定的吸力,对水中的杂质进一步吸附,减少输水管道水垢沉积的速度,通过固定杆达到对定位板加固的效果,提高定位板的稳定性。

标签:
新能源
四川 - 成都 来源:中冶有色网 2023-03-18
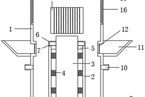
具有散热结构的新能源汽车充电桩

本实用新型涉及新能源汽车充电设备技术领域,尤其是一种具有散热结构的新能源汽车充电桩,包括充电桩外壳,充电桩外壳的内部顶端固定连接有防护套筒,防护套筒的内部设有充电机构,充电机构的侧壁等距固定连接有若干弹簧,弹簧远离充电机构的一端与防护套筒的内壁固定连接,充电桩外壳中部两侧均设有进水孔,进水孔的内部卡接有滤网,本充电桩通过在充电机构的外部设置防水的防护套筒,向充电桩外壳与防护套筒之间注入水后,水能够将充电机构散发的大量热量吸收,水温上升蒸发吸热,对充电桩外壳进行降温,蒸发后的水汽可通过通风口排出,充电桩外壳的上方设置的散热板通过导热的方式辅助蒸发吸热,提高降温效果。

标签:
新能源
四川 - 成都 来源:中冶有色网 2023-03-18
新能源汽车用高速非晶开关磁阻电机转子

本实用新型公开了一种新能源汽车用高速非晶开关磁阻电机转子,包括电机转轴1、转子压圈2、转子风叶3,转子铁心端板4、转子体5、平键6、螺栓7,垫圈8、垫圈9和销10,转子体由多层转子冲片叠加而成,转子冲片采用非晶材料制作而成,电机在高速运行工况下极大地降低了转子铁耗,提高了电机效率,在转子体两侧采用螺栓和销牢固地通过转子铁心端板压紧转子体,转子体通过转子压圈和平键固定在电机转轴上,极大地提高的电机结构可靠性,在转子铁心压板两端安装转子风叶,提高了转子的散热能力。本实用新型专利有效地满足了新能源汽车电机在高速运行工况下性能的要求。

标签:
新能源
四川 - 成都 来源:中冶有色网 2023-03-18
新能源汽车电池散热装置

本实用新型提供一种新能源汽车电池散热装置,包括电池、散热框一和散热框二,所述散热框二设置在散热框一一侧,所述电池套设在散热框一和散热框二内,所述散热框一上设有水箱一,所述水箱一一侧设有导管一,所述导管一一端设有接口,所述水箱一顶部设有进水管,所述散热框二上设有水箱二,所述水箱二一侧设有导管二,所述导管二一端设有接头,所述水箱二顶部设有出水管,所述散热框二顶部设有水泵,所述进水管一端与水泵连通,所述出水管一端与水泵连通,所述散热框一顶部设有吸尘网,所述散热框一和散热框二上均设有固定块,该新能源汽车电池散热装置设计合理,散热效果较好,散热方式可调节,且具有一定的吸尘能力。

标签:
新能源
四川 - 成都 来源:中冶有色网 2023-03-18
新能源电驱全自动在线检测系统

本实用新型公开了一种新能源电驱全自动在线检测系统,包括电涡流测功机主体,设置在电涡流测功机主体中的电枢,以及设置在电涡流测功机主体中与电枢相连接的冷却系统;该冷却系统由冷却水箱、冷却管道以及设置有直流水泵M的自控制驱动电路组成。本实用新型提供一种新能源电驱全自动在线检测系统,能够更加精准的完成对产品发热的控制,很好的将产品运行的温度控制在一个恒定的范围内,大大提高了产品检测的准确性。

标签:
新能源
四川 - 成都 来源:中冶有色网 2023-03-18
新能源空气能充电站
新能源空气能充电站 932     
 0

本实用新型公开了新能源空气能充电站,包括充电座和充电头,充电座的前侧开设有外置半圆形凹槽,且外置半圆形凹槽的内侧开设有圆柱形凹槽,且圆柱形凹槽内设有充电头,圆柱形凹槽的槽底开设有圆孔,且充电头的电线位于圆孔内,外置半圆形凹槽的下侧开设有圆环形凹槽,且圆环形凹槽内设有圆环形防水板,圆环形凹槽的上侧开设有内置半圆形凹槽,外置半圆形凹槽和内置半圆形凹槽的两端相连,且外置半圆形凹槽和内置半圆形凹槽相互对称,圆环形防水板的高度大于内置半圆形凹槽的高度,使得新能源空气能充电站的充电头可以具备防水功能,减少雨水的侵蚀。

标签:
新能源
四川 - 成都 来源:中冶有色网 2023-03-18
新能源停车场智能充电桩

本实用新型公开了一种新能源停车场智能充电桩,包括地基,所述地基的内部固定连接有安装座,所述安装座内壁顶部的右侧固定连接有气缸,所述气缸的底部固定连接有横板,所述安装座内部的右侧竖向固定连接有滑杆,所述滑杆的表面滑动连接有滑环,所述滑环的右侧与横板的左侧固定连接,滑环的左侧固定连接有第一连接块,第一连接块的正面活动连接有连板,连板背面的左侧活动连接有第二连接块,安装座内壁的背面通过转轴活动连接有旋转板。本实用新型解决了现有的智能充电桩不便于使用者安装的问题,该新能源停车场智能充电桩,具备便于安装的优点,节省了使用者大量的时间,缩短了智能充电桩的安装周期。

标签:
新能源
四川 - 成都 来源:中冶有色网 2023-03-18
新能源汽车充电线用定位装置

本实用新型公开了一种新能源汽车充电线用定位装置,本实用新型涉及充电线定位装置技术领域,新能源汽车充电线用定位装置包括:侧板,侧板右面固定连接有安装板,安装板右面中心固定连接有充电座,充电座右面设有充电头,充电头右面固定连接有充电线,充电头左面与充电座右面贴合,充电头左面固定连接有连接盒,充电座右面中心开有凹槽,连接盒嵌入凹槽内,充电座内安装有两块上下对称的电磁铁一,电磁铁一位于凹槽左侧,连接盒内壁右面上下端均固定连接有铁杆;本实用新型的有益效果在于:对充电线进行定位,避免充电端子与导电触点接触不良的情况,防止充电头与充电线连接处发生断裂。

标签:
新能源
四川 - 成都 来源:中冶有色网 2023-03-18
新能源汽车电池防撞组件

本实用新型提供了一种新能源汽车电池防撞组件,本实用新型涉及防撞组件技术领域,新能源汽车电池防撞组件,包括方盒,方盒顶部为开口端,且方盒内壁四角均固定有三角块,三角块对准方盒内部中心的一面均固定有螺纹管,螺纹管内均螺纹连接有螺纹柱,螺纹柱末端均固定有夹具;夹具表面铰接有两块夹块,两块夹块之间安装有弹簧,且两块夹块相近的一面均开有凹槽;本实用新型的有益效果在于:可对夹具长度进行微调,有利于汽车电池夹持更牢固,便于根据汽车电池凹凸程度进行紧密夹持,避免汽车在行驶过程中因出现颠簸而导致汽车电池碰撞到汽车内壁,起到防撞的作用,弹簧可对撞击力进行缓冲,从而避免夹具中的汽车电池受撞击力的影响。

标签:
新能源
四川 - 成都 来源:中冶有色网 2023-03-18
新能源汽车充电用自动对接接头

本发明涉及新能源汽车技术领域,尤其是一种新能源汽车充电用自动对接接头,包括充电接口,充电接口固定连接在安装座上,安装座上设有固定座,且固定座和充电接口同轴设置,固定座外部对称连接有锁紧结构,锁紧结构包括压板,压板接近固定座的一侧上固定连接有连接杆,固定座对应位置处设有放置室,固定座上设有开口,且连接杆上固定连接有限位块,限位块上同轴设置有套管,套管一端和放置室内壁滑动连接,套管另一端上固定连接有弹簧,放置室一侧上连通设有放置槽,充电头接近充电接口的一端上同轴固定连接有环形板。本发明设置的锁紧结构能够增加充电接口和充电头之间连接的稳定性,保证了充电的正常进行。

标签:
新能源
四川 - 成都 来源:中冶有色网 2023-03-18
新能源汽驱动电机用钕铁硼磁性材料及制备方法

本发明提供了一种新能源汽驱动电机用钕铁硼磁性材料及制备方法。将反铁磁氧化物与重稀土镝铽合金粉末混合后加入醋酸纤维素的乙醇溶液,制成糊状溶液,接着涂敷于表面酸洗去氧化膜后的烧结钕铁硼磁体表面,再进行激光熔覆处理,最后热处理,即得到新能源汽驱动电机用钕铁硼磁性材料。该方法通过依靠反铁磁氧化物与钕铁硼磁体界面间的交换偏置效应,同时利用重稀土元素镝铽合金沿晶界扩散至磁体内部,通过两者协同作用,在不降低剩磁的前提下,大幅度提高了钕铁硼磁性材料的矫顽力,同时制备方法简单,可广泛用于汽车驱动电机中。

标签:
新能源
四川 - 成都 来源:中冶有色网 2023-03-18
新能源汽车分时租赁系统智能车位

本发明涉及一种智能车位,具体涉及一种新能源汽车分时租赁系统智能车位,包括低频激励器、有源双频标签、RFID阅读器、电控地锁和低压配电柜,所述低频激励器安装在车位上,所述双频标签横向居中安装于车辆后保险杠面罩底部,所述电控底座包括主控芯片,所述双频标签进入激励器的作用范围被激活唤醒,获取并存储激励器的编号;采用本发明技术方案的新能源汽车分时租赁系统智能车位,射频识别系统和电控地锁在正常停车入位和驶离车位过程中响应及时,驾驶员操作体验良好,能够保证驾驶的安全性。

标签:
新能源
四川 - 成都 来源:中冶有色网 2023-03-18
便于安装的新能源汽车配电盒

本发明公开了一种便于安装的新能源汽车配电盒,包括配电盒本体,所述配电盒本体的正面和背面均设置有卡紧装置,所述卡紧装置包括两个第一壳体,且两个第一壳体的背面均与配电盒本体的正面固定连接,且两个第一壳体内壁的两侧面均卡接有第一滑套,且四个第一滑套平均套接在两个第一滑杆的表面,且两个第一滑杆的表面均固定连接有第一固定板。该便于安装的新能源汽车配电盒,通过设置卡紧装置、卡块、卡槽、压块、第二滑杆、第二弹簧、挡杆和挡块,从而当第一滑杆与卡槽分离时可以将配电盒本体从放置槽内取出,从而不需要用螺栓对配电盒本体进行固定,从而避免影响检修人员对配电盒本体的检修速度,从而提高了检修人员的工作效率。

标签:
新能源
四川 - 成都 来源:中冶有色网 2023-03-18
新能源汽车燃料电池系统教学装置

本发明公开了一种新能源汽车燃料电池系统教学装置,包括壳体,所述壳体内设置与第一支撑板,所述第一支撑板上表面的中心处卡接有轴承,所述轴承内套接有螺纹筒,所述螺纹筒内螺纹连接有螺纹柱。该新能源汽车燃料电池系统教学装置,通过设置螺纹筒、螺纹柱、第一齿轮、第二齿轮、第一电机和第二支撑板,从而便于学生对燃料电池进行观察,同时,讲师通过显示屏播放教学视频、在教学白板上进行教学和使燃料电池进行转动,三种方式相结合可以使学生更好的对燃料电池进行了解,从而保证了教学的质量和速度,同时可以将燃料电池放置在壳体内,从而不需要重复的抬动燃料电池,从而节省了人们的体力。

标签:
新能源
四川 - 成都 来源:中冶有色网 2023-03-18
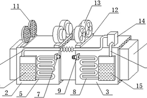
新能源汽车动力电池组的散热装置

本实用新型属于新能源汽车技术领域,尤其为一种新能源汽车动力电池组的散热装置,针对现有的电池组散热通常都是通过单一的鼓风进行散热,散热效率不佳的问题,现提出如下方案,其包括箱体,所述箱体的底部内壁上设置有缓冲板,所述缓冲板的顶部设置有电池组,所述箱体的底部内壁一侧固定安装有电机,所述电机的输出轴上固定套设有第一皮带轮,所述箱体的两侧均开设有第一出风口。本实用新型通过水箱、冷凝管、电机、第一会所那也、第二扇叶等构件之间的相互配合,能够有效的对电池组产生的热量进行排出,同时通过缓冲板能够对电池组提供一定的缓冲,保证了电池组的正常工作,使用方便,操作简单,适合推广使用。

标签:
新能源
四川 - 成都 来源:中冶有色网 2023-03-18
可再生新能源生物甲酯燃料生产用密封装置

本实用新型涉及生物甲酯燃料生产技术领域,且公开了一种可再生新能源生物甲酯燃料生产用密封装置,包括箱体,所述箱体的顶部活动安装有顶盖,所述箱体的顶部且位于顶盖的右侧固定安装有连接管,所述连接管的顶端固定安装有气压表,所述箱体的左侧固定安装有进气管,所述进气管的外侧固定安装有密封环,所述箱体的左侧壁且位于进气管的右侧固定安装有滤箱。该可再生新能源生物甲酯燃料生产用密封装置,通过设置顶盖,避免生物甲酯燃料出现泄漏,增加了生物甲酯燃料生产用密封装置的安全性,从而更加紧固的支撑安装垫,让安装垫可以更好的与安装槽贴合,有效的提高了生物甲酯燃料生产用密封装置的密封效果。

标签:
新能源
四川 - 成都 来源:中冶有色网 2023-03-18
新能源电池气囊防护散热装置

本实用新型提供一种新能源电池气囊防护散热装置,包括座板系统、防护组合、升降系统和控制箱,所述防护组合设置在座板系统的顶部,所述升降系统设置在防护组合的一侧并与座板系统连接,所述座板系统包括底板、驱动电机组和散热风机,所述底板上设有前支柱和后支柱,所述驱动电机组的一端套设在前支柱上,所述驱动电机组的另一端套设在后支柱上,所述散热风机套设在驱动电机组的一端,所述防护组合包括外防护罩、防护气囊、内防护罩、主散热风扇和副散热风扇,所述内防护罩设置在外防护罩的内部,该新能源电池气囊防护散热装置气囊防护,安全性高,省时省力,适合推广。

标签:
新能源
四川 - 成都 来源:中冶有色网 2023-03-18
上一页 31 32 33 34 35 ... 44 下一页
共44页    到第

中冶有色为您提供最新的四川成都有色金属新能源材料技术理论与应用信息,涵盖发明专利、权利要求、说明书、技术领域、背景技术、实用新型内容及具体实施方式等有色技术内容。打造最具专业性的有色金属技术理论与应用平台!

全国热门有色金属设备推荐
展开更多 +
全国热门有色金属技术推荐
展开更多 +

 

江西省隆恩特环保设备有限公司
宣传

报名参会
更多+

报告下载

有色专家
更多+

郑州大学
中国工程院 院士
中南大学
副校长
昆明理工大学
副校长
鞍钢集团有限公司
中国工程院院士
中南大学
中国工程院院士
赤泥综合利用研究报告2025
推广

热门技术
更多+

推荐企业
更多+

福建省金龙稀土股份有限公司
宣传

发布

在线客服

公众号

电话

顶部
咨询电话:
010-88793500-807