青岛垚鑫智能科技有限公司
宣传

位置:中冶有色 >

有色技术频道 >

> 固/危废处置技术

分类:
全部
矿山技术
冶金技术
材料制备及加工技术
环境保护技术
分析检测技术
 
全部
废水处理技术
大气治理技术
固/危废处置技术
土壤修复技术
地区:
全部
北京
天津
上海
重庆
河北
山西
辽宁
吉林
黑龙江
江苏
浙江
安徽
福建
江西
山东
河南
湖北
湖南
广东
海南
四川
贵州
云南
陕西
甘肃
青海
内蒙
广西
西藏
宁夏
新疆
其他
其他
展开
 
全部
郑州
开封
洛阳
平顶山
安阳
鹤壁
新乡
焦作
濮阳
许昌
漯河
三门峡
商丘
周口
驻马店
南阳
信阳
济源

河南郑州有色金属固/危废处置技术理论与应用

免费发布技术信息>>
无熟料复合型尾砂固结剂及其制备方法和应用

本发明涉及一种无熟料复合型尾砂固结剂及其制备方法和应用,其重量百分组成如下:高炉水淬矿渣55-72%、脱硫灰渣20-35%、复合激发剂2-15%。本发明不仅为这类工业固体废物的综合利用开辟了新的途径,而且降低了尾砂胶结充填成本,实现了以废治废的目的,从而获得显著的经济、社会和环境效益。

标签:
固废
河南 - 郑州 来源:中冶有色网 2023-03-19
生态透水坝
生态透水坝 1145     
 0

本实用新型提供了一种生态透水坝,所述生态透水坝包括:坝芯,由废弃烧结砖渣组成;以及透水包裹层,由胶凝砂砾石材料组成,所述透水包裹层设置在所述坝芯外表面。本实用新型的生态透水坝,能够将固体建筑垃圾重新利用,减少固体废弃物对环境的污染,同时在汛期,所述透水包裹层外层结构有助于坝顶过水,保证该河道一定的行洪能力。

标签:
固废
河南 - 郑州 来源:中冶有色网 2023-03-19
用于厨房污水的处理装置

本实用新型公开了一种用于厨房污水的处理装置,包括进污口、分离室、过滤板、落水口、污水槽、排水口、横杆、电机、垃圾槽、风机、电源箱、柜门、固定板、夹板、卡块、转动杆、捞油罩、滤网和吸油棉。本实用新型的有益效果是:通过在过滤板的顶部设置分离室,厨房中的污水排出时内部常含有一些菜叶骨头等固体,这些固体无法随着污水一起处理,反而会堵塞排水口和过滤板,分离室一侧的风机可以将这些菜叶吸进风机内部通过风机搅碎,倒入垃圾槽不仅解决了烂菜叶无法除污的问题,可以这些菜叶收集之后等待腐烂可以当做肥料使用,实现了废物利用的效果,捞油罩可以将污水的油捞出。装置具有废物利用,除污效果更佳的特点。

标签:
固废
河南 - 郑州 来源:中冶有色网 2023-03-19
高含砷冶金污泥无害化处理方法及砷的回收方法

本发明涉及一种高含砷冶金污泥无害化处理方法及砷的回收方法,属于环保技术领域。本发明高含砷冶金污泥无害化处理方法,包括以下步骤:1)将干燥后的含砷污泥进行无害化处理,所述无害处理包括:向干燥后的含砷污泥中加入质量分数为10%~20%的硝酸溶液混合反应、固液分离得浸液和浸渣;2)将浸渣重复进行所述无害化处理1~3次。本发明高含砷冶金污泥无害化处理方法,所用硝酸溶液可以为工业废酸,成本低,污泥中砷去除率高,浸渣按照《固体废弃物浸出毒性浸出方法》(HJ/T299‑2007)测量,结果远低于《危险废物鉴别标准浸出毒性鉴别》(GB5085.3‑2007)标准。

标签:
固废
河南 - 郑州 来源:中冶有色网 2023-03-19
乳化液处理装置
乳化液处理装置 736     
 0

本实用新型公开了一种乳化液处理装置,包括反应罐,反应罐的废液进口与废液储槽相连,反应罐的试剂进口上连接有破乳剂储罐以及混凝剂储罐,反应罐的出口上连接有第一气浮槽,第一气浮槽的固体出口与压滤机相连,第一气浮槽的液体出口与第二气浮槽相连,第二气浮槽的固体出口与所述压滤机相连,第二气浮槽的出气口与活性炭罐结构相连。本实用新型的想通过破乳剂和混凝剂对乳化液进行预处理,使得乳化剂中的油分子在乳化剂中分布均匀,然后通过气浮法对乳化剂进行处理,使得乳化剂的固液分离,最后通过活性炭吸附处理,使得处理后的产物符合排放要求,整个装置结构相对简单,操作也非常方便。

标签:
固废
河南 - 郑州 来源:中冶有色网 2023-03-19
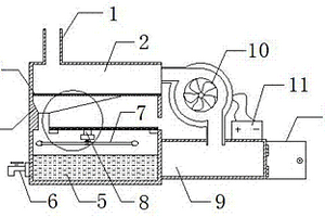
可移动式污水应急消杀处理装置

本实用新型公开了一种可移动式污水应急消杀处理装置,包括底座、与所述底座上表面固定连接的消毒机构,还包括位于所述底座的底部且开口向下的安装槽、位于所述安装槽内的移动机构,所述消毒机构包括用于处理医用污水的水处理机构、用于处理从所述水处理机构分离出的固体废物处理机构,本实用新型移动机构的设置,便于将该新型进行移动,移动至合适的位置后,便于将滚轮收起使底座与地面接触,稳固性好,水处理机构和固体废物处理机构中设置在可移动装置上可以实现医院污水的消毒、杀菌、无害化处理,大幅度提高医院整体的卫生条件,减少对周围环境的影响,且可有效缩短施工周期,减少对周围环境的影响。

标签:
固废
河南 - 郑州 来源:中冶有色网 2023-03-19
密封式自动翻转投料机
密封式自动翻转投料机 1126     
 0

本实用新型公开了一种密封式自动翻转投料机,包含操作平台、自动翻转投料装置、折叠密封罩。运送到投料点的袋装固体危废原料,通过行车吊入自动翻转投料装置中的投料斗中,通过投料斗上的系绳把吨袋固定,启动折叠密封罩展开密封,驱动投料斗翻转投料,将固体危废原料投入操作平台下面的暂储料斗中。由于采取了袋装形式及投料过程的密封,可以有效防止产生的扬尘污染周围空气,达到密封生产的目的,防止了扬尘对操作人员的危害。

标签:
固废
河南 - 郑州 来源:中冶有色网 2023-03-19
膨化轻骨料砌块生产设备

本实用新型属于采用尾矿生产膨化轻骨料砌块生产工具领域,具体涉及一种膨化轻骨料砌块生产设备,包括至少一个进料仓和多刀切割器,其中进料仓后依次连接有PLC计量秤、辊压破碎机、雾化搅拌机、双辊造粒机、颗粒整形机、回转烧结机和冷却机、原料仓和辅料仓、PLC配料系统、斗提机、2号原料仓和添加剂仓,2号原料仓下连接2号计量秤,添加剂仓下连接添加剂秤,与2号计量秤及添加剂秤并列的是铝粉罐;2号计量秤、添加剂秤和铝粉罐三者均与浇注机连接,浇注机下方设置有摆渡车以及位于摆渡车上的模具,摆渡车之后设置有多刀切割器;本实用新型结构简单、实施方便,利用工业尾渣、矿山尾矿等固体废弃物,生产出建筑膨化轻骨料自保温砌块,解决了大宗固体废弃物综合再利用的问题,对节能环保有重要的意义。

标签:
固废
河南 - 郑州 来源:中冶有色网 2023-03-19
基于回收清运车的智能称重计量装置

本实用新型涉及固体废弃和可回收物转运设备领域,特别是一种基于回收清运车的智能称重计量装置。旨在解决现有技术中相关物品回收清运的过程中称重装置量程有限的问题。本实用新型包括回收转运车,回收转运车的车架上安装回收转运车厢;所述车厢与车架间安装重力感应器,所述重力感应器电路连接控制器,所述控制器的输出端连接显示屏以显示称重结果,还包括摄录机构,所述摄录机构的摄录区内设置称平台,车架和回收转运车厢间设有锁定装置。优点在于:不同于传统称重方式,以电子感应器结合差额算法的形式进行称重,拓展称重量程,同时结合信息传输帮助远程信息平台确定固体废弃和可回收物的回收信息。

标签:
固废
河南 - 郑州 来源:中冶有色网 2023-03-19
利用生物质秸秆直接制备5-乙氧基甲基糠醛的方法

本发明属于生物质能源利用技术领域,特别涉及一种利用生物质秸秆直接制备5‑乙氧基甲基糠醛的方法。生物质秸秆在固体酸催化剂的作用下,于有机溶剂中反应,反应温度为135‑170℃,反应时间为45‑70min,之后分离纯化即得5‑乙氧基甲基糠醛;有机溶剂中生物质秸秆的浓度为15‑20g/L。本发明以废弃农作物秸秆为原料,原料来源广泛、价格低廉;反应后的固体催化剂和有机溶剂可以重复使用,对环境无污染;本发明利用废弃农作物秸秆直接转化制备EMF,反应工艺简单、反应时间短。

标签:
固废
河南 - 郑州 来源:中冶有色网 2023-03-19
生活垃圾焚烧设备
生活垃圾焚烧设备 1159     
 0

本发明公开了一种生活垃圾焚烧设备,其结构包括排烟腔、烟气通道、烟气处理器、电机、分离装置、导料斗、输送架、焚烧炉、粉碎装置、引风机、输送接头,本发明改进后在进行使用时,挤压板将湿垃圾内部水分进行挤出,用导热盘与导管相连,通过风口将热气均匀的输送到接料腔上,对潮湿垃圾进行高效烘干处理,使得焚烧炉可以保证内部的焚烧火焰强度,提高垃圾焚烧的速率;用粉碎刀片对固体废渣进行粉碎,通过初滤盘对焚烧废渣进行快速过滤处理,再通过滤芯进行精细高效处理,精细的分隔处理后的固体垃圾,用破碎棒与粉碎轮相啮合转动,将精细过滤出来的垃圾进行高效碾碎处理,可以将垃圾进行高效充分焚烧,提高垃圾的焚烧效果。

标签:
固废
河南 - 郑州 来源:中冶有色网 2023-03-19
建筑垃圾微粉生产系统
建筑垃圾微粉生产系统 1018     
 0

建筑垃圾微粉生产系统,它包括给料机、一次鄂式破碎机、二次鄂式破碎机、球磨机、再生微粉成品储存罐,建筑垃圾固体废料通过给料机进入一次鄂式破碎机进行粗破碎,粗破碎后的废料进入二次鄂式破碎机进行第二次细破碎,细破碎的颗粒经过球磨机的碾磨加工成为微粉,微粉进入两生微粉废粉储存罐,通过两生微粉废粉储存罐进行装袋成成品。

标签:
固废
河南 - 郑州 来源:中冶有色网 2023-03-19
利用水洗蜂窝煤灰渣稳定铅污染土壤中的铅

本发明属于土壤铅污染修复和固体废物利用,涉及一种铅污染土壤中铅的稳定方法和蜂窝煤燃烧固体废物的利用方法,特别涉及在铅污染土壤中施用水洗的蜂窝煤灰渣稳定铅的方法。本发明所解决的技术问题是铅污染土壤中铅有较高的有效性和移动性,及蜂窝煤灰渣施入土壤导致土壤pH和电导率增加。首先将蜂窝煤灰渣研磨或粉碎,过2mm筛,混合均匀;之后将灰渣与水按1∶3(重量比)混合,搅拌或振荡后过滤,灰渣干燥;最后将灰渣以1∶50比例与铅污染土壤混合,调节含水量到15%到25%,培养60d以上。

标签:
固废
河南 - 郑州 来源:中冶有色网 2023-03-19
新型多功能钢铁晶粒细化阻氧覆盖剂

本发明公开了一种新型多功能钢铁晶粒细化阻氧覆盖剂,包括以下步骤;(1)取原料重量份数为:比重大于1的微珠50~80%,辅料20~50%;(2)将微珠与一种或多种辅料混合均匀,入球磨机混磨,保持研磨温度在150~200℃混磨成粒径在0.1μm~250μm,含水率小于1%的材料,防潮包装。与现有技术相比,本发明的优点在于:1.本发明微珠来源各地均有的固体废弃物粉煤灰中分离提取的比重大于1的微珠,材料易得、廉价实现资源再利用。完全可以替代昂贵的金属类细化剂,且使用其作为原料可享受国家减免税收待遇。2、发明制备工艺简单,无需复杂的工艺设备和工艺过程。3、本发明生产成本低,无污染,完全可以工业化生产。4、用本发明生产的用于钢铁晶粒细化阻氧覆盖剂,适用领域广,施用量小、效果好,稳定提高钢铁质量。

标签:
固废
河南 - 郑州 来源:中冶有色网 2023-03-19
二次发酵段接种复合菌剂的堆肥化方法

一种二次发酵段接种复合菌剂的堆肥化方法,它属于固体废弃物资源化利用领域。具体步骤是在生活垃圾二次发酵段高温期提取优势菌群,培养驯化后得到复合菌剂。在二次发酵初期,以1~5%的接种量接种复合菌剂,与未接种的生活垃圾堆肥方法相比,其二次发酵段高温期提前5~15h,并延长高温持续时间15~31h,缩短二次发酵堆肥时间4~10d,从而缩短整个堆肥周期,提高堆肥生产效率。本发明经济效益明显,方法流程简单,便于应用。

标签:
固废
河南 - 郑州 来源:中冶有色网 2023-03-19
利用钢渣制得的仿古砖及其制备方法

本发明涉及一种利用钢渣制得的仿古砖及其制备方法,属于固体废物资源化利用技术领域。该利用钢渣制得的仿古砖包括按照质量百分比计的如下原料:钢渣65%‑68%、水泥10%‑15%、矿粉10%、粉煤灰5%‑10%、铁黑0‑3%,所述钢渣为炼钢厂的固体废弃物,其颗粒尺寸不大于10mm。本发明的制备方法简单易行,提高了钢渣的资源化利用程度,科学处理使其减量化、无害化、资源化和稳定化,成本低,且节能环保;同时制得的仿古砖具有较好的抗压强度和抗冻性。

标签:
固废
河南 - 郑州 来源:中冶有色网 2023-03-19
污泥气化干馏渣骨料及其制成的地暖回填材料

本发明属于城市工业固体废弃物资源化再利用技术领域,具体涉及一种污泥气化干馏渣骨料及其应用,以及利用其制成的地暖回填材料。该污泥气化干馏渣骨料,制备时将污泥气化干馏渣的粗渣进行改性处理,改性处理后的粗渣与细粉按照一定比例混合得到污泥气化干馏渣骨料。本发明采用污泥气化干馏渣骨料取代地暖回填材料中的骨料,既可以实现工业固体废弃物资源化再利用,又可以通过水泥固化其中的重金属,避免干馏渣对环境造成二次污染,还可以降低地暖回填的生产成本。

标签:
固废
河南 - 郑州 来源:中冶有色网 2023-03-19
煤矸石-石英基陶瓷支撑体及其制备方法

本发明提供了一种煤矸石‑石英基陶瓷支撑体及其制备方法,属于陶瓷膜技术领域。本发明以石英砂和固体废弃物煤矸石为主要原料,在较低烧结温度下即可制备得到高性能的陶瓷支撑体。本发明不仅提高了固体废弃物煤矸石的利用率,也降低了无机陶瓷膜的制备成本,所制得的陶瓷膜相关性能能够达到水处理的要求,具有良好的经济效益、社会效益和生态效益。

标签:
固废
河南 - 郑州 来源:中冶有色网 2023-03-19
节能减排洗车机
节能减排洗车机 1193     
 0

本实用新型涉及一种节能减排洗车机,包括澄清槽、过滤器和喷水装置。洗车废水经过澄清槽初步澄清后再经过过滤器进行固体颗粒的深度过滤,同时可除掉废水中的颜色、油污、气味,保证了再生水的质量,达到了减排的效果,同时设置的变频高压泵,可根据实际用水量的大小方便调节变频高压泵的运行频率,达到节能的效果。本实用新型提出的一种节能减排洗车机,能有效利用洗车废水,减少废水排放,节能环保,使用方便。

标签:
固废
河南 - 郑州 来源:中冶有色网 2023-03-19
提纯合成立方氮化硼尾料中六方氮化硼的方法

本发明属于立方氮化硼合成领域,具体涉及一种提纯合成立方氮化硼尾料中六方氮化硼的方法。一种提纯合成立方氮化硼尾料中六方氮化硼的方法,其特征在于:通过如下步骤实现:球磨细化;精摇去除部分杂质;低温烘干;将物料送入连续隧道式微波烘干设备的炉体内,同时向炉体内通入氧气和空气的混合气体,从而除去碳杂质;稀酸去除剩余杂质,将物料、稀酸和纯净水加入到反应釜中进行搅拌加热,充分反应后得到去除杂质的物料;然后用纯净水冲洗干净;中和及纯净水清洗,即可得到纯净的六方氮化硼。本发明将作为固体废料的六方氮化硼通过物理和化学的方法提纯为有用的材料,大大提高了原材料的利用率,也减少了固体废料对环境造成的潜在威胁。

标签:
固废
河南 - 郑州 来源:中冶有色网 2023-03-19
氧化铝赤泥生产烧结砖的方法

本发明公开了一种氧化铝赤泥生产烧结砖的方法,由下述重量份配比的原料制备而成:赤泥60-65;煤渣或粉煤灰20-25;煤矸石13-15;一、将煤渣或粉煤灰、煤矸石破碎至粒度3mm以细;二、将所得物与赤泥混合后输入对辊式破碎机细碎至粒度3mm以细,进入搅拌机内,加入物料重量2-3%的水进行混合搅拌;三、将所得物置于盛料池中进行搁置陈化;四、将经陈化的物料置于拌机内,加入陈化物料重量1-2%的水进行混合搅拌后喂入真空挤砖机挤出泥条,制成砖坯后输送到烘干房内进行烘干;五、将经烘干后的砖坯输送到隧道窑内进行烧结,自然冷却即得。本发明优点在于实现了工业固体废物赤泥的再生利用,节约了耕地,解决了赤泥对环境的污染问题,降低了烧结砖生产过程中的能耗。

标签:
固废
河南 - 郑州 来源:中冶有色网 2023-03-19
冗余轻质保温防水型混凝土及其制备方法

一种冗余轻质保温防水型混凝土及其制备方法,包括骨料、粘结剂和激发剂;所述的骨料和粘结剂按照5:1的比例进行混合,并按照粘结剂和激发剂混入,进行充分混合得到预混料,最后按照所述的预混料和水为10:2~3的比例将水和所述的预混料进行混合,则得到冗余轻质保温防水型混凝土;本发明的有益效果在于:本产品的通过利用工业固体废料作为原料之一制备的保温防水型混凝土具有以下优点:具有良好的保温防水效果;通过激发剂和硅酸盐水泥搭配,提高了产品的稳定性;利用工业固体废料进行产品加工,不仅环保,而且防止产品混凝造成对建筑外墙造成过大的压力。

标签:
固废
河南 - 郑州 来源:中冶有色网 2023-03-19
回收利用煤气炉放空气的方法

一种回收利用煤气炉放空气的方法,即回收利用合成氨和甲醇生产过程中煤气发生炉产生的放空气的方法,本发明采用的三废锅炉只有一个燃烧室,“放空气”与煤(或其他固体可燃物)同在一个炉膛内燃烧,在“放空气”总管上装有压力变送器传感头,根据总管内气体压力变化调节锅炉引风量与热空气进入量使之与进入锅炉的“放空气”量相匹配,从而保持炉膛烟气压力稳定。本发明优点如下:1.设备结构紧凑,投资减少2/3,占地面积缩少1/2。2.散热面积减少,热效率提高8%~10%。3.炉膛内烟气压力稳定,延长材料使用寿命,防止炉内灰分外泄,减少燃料消耗。4.可利用现有锅炉改造而成,不必重新建厂房。总之,本发明经济与社会效益较大。

标签:
固废
河南 - 郑州 来源:中冶有色网 2023-03-19
超声—磁场耦合破解污泥使污泥减量化的方法

本发明属固体废物处理领域,涉及用超声—磁场耦合破解污泥使污泥减量化的方法,步骤包括:好氧生化单元是在生化池通过微生物去除有机污染物;沉淀单元是在沉淀池进行泥水分离;超声-磁场处理单元是采用频率为16-200kHz,声能密度为0.1-1.0W/mL的超声波,磁场强度为300-20000Gs的磁场,协同作用时间1min以上,破解剩余污泥;厌氧消化单元是在消化罐中厌氧消化污泥;污泥脱水单元是采用离心脱水进行固液分离。该方法使污泥破解能耗大幅降低,破解污泥好氧消化时污泥减量80%以上;厌氧消化时,消化时间缩短60%以上,沼气产量增加35%以上,污泥减量30%以上。该方法经济效益明显,具有推广应用价值。

标签:
固废
河南 - 郑州 来源:中冶有色网 2023-03-19
医院用垃圾桶
医院用垃圾桶 841     
 0

本实用新型属于一种医院用垃圾桶,垃圾桶包括有桶座、桶身和桶盖,桶座中心处有轴承座,轴承座内有轴承,轴承连接有转轴,转轴的上端部有卡杆,卡杆外侧有卡环,卡环上有转动把手,转轴上有上拨板和下拨板,下拨板之间有废水盒,废水盒外侧的桶身上有取废水门,取废水门上方有取垃圾门,转轴上部有挂钩,上拨板之间有垃圾盒,垃圾盒对应挂钩的位置有通孔,垃圾盒的下方有漏水孔,垃圾盒的外侧有开口,桶身与桶盖之间有支杆,支杆之间有活动门;本实用新型将医疗垃圾与生活垃圾分离,将固体垃圾与液体垃圾分离,减少异味的产生;占用空间小,回收效率高,再回收时通过倾斜面垃圾更容易掉下,便于取出。

标签:
固废
河南 - 郑州 来源:中冶有色网 2023-03-19
基于实际运行条件的在役脱硝催化剂剩余寿命预测方法

本发明提供基于实际运行条件的在役脱硝催化剂剩余寿命预测方法,对在役脱硝催化剂进行取样检测,测得在役脱硝催化剂当前活性K1;收集燃煤电厂该机组平均烟气流量V、平均煤耗质量M、脱硝催化剂初始活性K0和脱硝催化剂当前在役时间t1等数据,将收集、检测所得数据代入公式,计算修正系数λ,得出在役脱硝催化剂失活曲线图;根据脱硝催化剂初装时厂家提供的催化剂活性阈值Ky,预测在役脱硝催化剂剩余寿命ts,计算得出该在役催化剂剩余寿命ts。本发明实现了在役脱硝催化剂剩余寿命的预测,为电厂在催化剂失效点及时更换失活催化剂提供了保证,不仅避免了催化剂潜能的浪费,减少了固体危废的产生。

标签:
固废
河南 - 郑州 来源:中冶有色网 2023-03-19
低碳排放水泥及其制备方法、混凝土

本发明提供了一种低碳排放水泥及其制备方法、混凝土,涉及建筑材料的技术领域,包括水泥熟料500~600份、工业固体废弃物200~300份、石灰石100~150份、石膏35~50份以及减水剂1~4份,其中,工业固体废弃物包括按质量百分数计的以下成分:SiO225~55%和Al2O320~35%,余量为杂质。本发明解决了传统水泥的污染耗能大、生产成本高以及不利于可持续发展的技术问题,达到了水泥的低碳环保、低成本,而且具有较好力学性能和较佳耐久性的技术效果。

标签:
固废
河南 - 郑州 来源:中冶有色网 2023-03-19
利用紫外光催化反应制备2,4-二氯-5-氟嘧啶的方法

本发明涉及利用紫外光催化反应制备2,4‑二氯‑5‑氟嘧啶的方法,可有效解决制备2,4‑二氯‑5‑氟嘧啶,及因废酸处理难造成的环境污染问题,方法是,0℃下将2,4‑二甲氧基‑5‑氟嘧啶溶于重量体积10‑20倍的溶剂中,重量体积是指固体以克计,液体以毫升计,加入催化剂磺酰氯,催化剂磺酰氯的加入量为2,4‑二氯‑5‑氟嘧啶质量的2‑5%,紫外光照射10分钟后,通入氯气,反应温度为15‑30℃,通氯搅拌12小时;再加入等体积的冰水,分液,有机相用质量浓度5%碳酸钠水溶液洗,再水洗、干燥,减压浓缩成固体产品2,4‑二氯‑5‑氟嘧啶;本发明制备方法简单,易操作,成本低,无废渣,有效防止了对环境的污染,有显著的经济和社会效益。

标签:
固废
河南 - 郑州 来源:中冶有色网 2023-03-19
生活垃圾处理方法
生活垃圾处理方法 862     
 0

本发明涉及固体废弃物处理技术领域,具体涉及一种生活垃圾处理方法,首先将待处理的生活垃圾进行破碎、分拣、研磨和筛分处理,然后调节发酵完成后的物料的固含量为3~8%,再通入微米气泡,在微米气泡的作用下细碎的、比重轻的物料上浮,比重大的泥砂、金属微粒类物料快速沉降,未腐有机物悬浮在中间,实现轻物料、未腐有机质、沼液、泥砂的四相快速且彻底的分离,未腐有机质中泥砂含量低于2%,腐熟处理制得质量定的有机肥;分离的得到的泥砂中水分含量低于20%,有机质含量低于0.5%,能够直接进行填埋处理,解决了现有发酵方式处理垃圾的工艺过程中产生的泥砂类物料有机质或其他难降解物料过多,不能直接填埋的问题。

标签:
固废
河南 - 郑州 来源:中冶有色网 2023-03-19
泡沫铝、铝合金闭孔球微泡剂

本发明公开了一种泡沫铝、铝合金闭孔球微泡 剂,包括下列步骤;a原料:微珠球100%(重量份);去离子水 300%(体积份);敏化液0.5~3%(重量份);化学镀液4.50~ 30.50mol·dm3b洗涤除杂:搅拌 下使微珠球在固液比1∶3中洗涤至表面洁净无粉尘等不定形 物附着,1400r/min甩干;c敏化。与现有技术相比,本发明的 优点在于:1.本发明厚壁高强硅铝质闭孔微珠球来源于各地均 有的固体废弃物粉煤灰,材料易得、廉价,实现资源再利用, 且使用其作为原料可享受国家减免税收待遇。2.本发明制备工 艺简单。3.本发明生产成本适中,污染小,完全可以工业化生 产。4.本发明适用领域广,既可用于泡沫铝材,又可用于泡沫 镍、泡沫锡、泡沫铅、泡沫锌、泡沫铜、泡沫铁、泡沫钢等发 泡材料。

标签:
固废
河南 - 郑州 来源:中冶有色网 2023-03-19
上一页 24 25 26 27 28 ... 40 下一页
共40页    到第

中冶有色为您提供最新的河南郑州有色金属固/危废处置技术理论与应用信息,涵盖发明专利、权利要求、说明书、技术领域、背景技术、实用新型内容及具体实施方式等有色技术内容。打造最具专业性的有色金属技术理论与应用平台!

全国热门有色金属设备推荐
展开更多 +
全国热门有色金属技术推荐
展开更多 +

 

江西省隆恩特环保设备有限公司
宣传

报名参会
更多+

报告下载

有色专家
更多+

西北稀有金属材料研究院宁夏有限公司
党委书记 / 董事长
武汉科技大学
校学术委员会主任 / 教授
中国矿业大学(北京)
院长/教授
北京科技大学
副院长/教授
有研资源环境技术研究院(北京)有限公司
副总经理/教授级高工
赤泥综合利用研究报告2025
推广

热门技术
更多+

推荐企业
更多+

福建省金龙稀土股份有限公司
宣传

发布

在线客服

公众号

电话

顶部
咨询电话:
010-88793500-807