青岛垚鑫智能科技有限公司
宣传

位置:中冶有色 >

有色技术频道 >

> 新能源材料技术

分类:
全部
矿山技术
冶金技术
材料制备及加工技术
环境保护技术
分析检测技术
 
全部
功能材料技术
复合材料技术
新能源材料技术
合金材料技术
加工技术
地区:
全部
北京
天津
上海
重庆
河北
山西
辽宁
吉林
黑龙江
江苏
浙江
安徽
福建
江西
山东
河南
湖北
湖南
广东
海南
四川
贵州
云南
陕西
甘肃
青海
内蒙
广西
西藏
宁夏
新疆
其他
其他
展开
 
全部
成都
自贡
攀枝花
泸州
德阳
绵阳
广元
遂宁
内江
乐山
南充
眉山
宜宾
广安
达州
雅安
巴中
资阳
阿坝藏族羌族自治州
甘孜藏族自治州
凉山彝族自治州

四川成都有色金属新能源材料技术理论与应用

免费发布技术信息>>
新能源电池冷却用微通道换热器

本发明公开了换热器技术领域的一种新能源电池冷却用微通道换热器,包括固定底板和电池安装架,所述电池安装架固定焊接在固定底板上,所述电池安装架之间放置有电池组,所述电池组之间连接有导热板,所述固定底板的底部开设有冷却槽,所述电池安装架的内腔中以及冷却槽中均安装有微通道换热器,所述电池安装架的两侧部均为中空,本发明便于将微通道散热器分别组装到电池安装架和固定底板中,通过电池组间的导热板以及电池组底部的导热底板的设置,将单个电池发出的热量导出,通过微通道换热器将热量带走,电池组通过抱箍固定在固定底板上,微通道扁管和波纹翅片组装成U形回路,便于热量的快速传递交换且节约空间。

标签:
新能源
四川 - 成都 来源:中冶有色网 2023-03-18
新能源汽车电池的BMS管理系统

本发明公开了一种新能源汽车电池的BMS管理系统,包括数据采集模块、BMS电池管理模块、控制模块、显示模块、报警模块和CAN总线,所述控制模块分别与所述数据采集模块、BMS电池管理模块、报警模块和CAN总线通信连接,所述显示模块和BMS电池管理模块分别与所述CAN总线通信连接,所述报警模块与所述显示模块通信连接,该BMS管理系统能实现电池组中的各电池动态一致,增强电池组的稳定性,还能实现在碰撞情况下的用电保护,防止电池爆炸燃烧对车辆乘员造成二次伤害。

标签:
新能源
四川 - 成都 来源:中冶有色网 2023-03-18
安全可自动换位的新能源汽车充电桩

本发明公开了一种安全可自动换位的新能源汽车充电桩,包括充电桩,所述充电桩左右两侧对称连接有一对下连接线,所述充电桩上端对称连接有一对上连接线,所述充电桩内安装有与下连接线对应的主触点,所述充电桩内对称设置有存储箱,所述存储箱内填充有电流变液,所述存储箱的内壁上滑动连接有滑块,所述滑块的一侧固定连接有滑轴,所述滑轴穿过存储箱,所述滑轴的一端固定连接有L型轴。本发明利用电流对电流变液的影响,流经电流的大小会影响其物理状态,物理状态的改变便随有体积的变化,从而在自然状态下,上连接线和下连接线均不来接入电路,但是在其任意一根通电状况下,则会相应的更换档位,便利于人们的使用。

标签:
新能源
四川 - 成都 来源:中冶有色网 2023-03-18
散热良好的新能源汽车整车控制器

本发明公开了一种散热良好的新能源汽车整车控制器,包括硬件部分和软件部分,所述硬件部分包括:至少一个控制模块,其顶部设置有第一机械接口和第一电气接口,其底部设置有第二机械接口和第二电气接口;接口模块,其顶部设有接插件接口,其底部设有第三机械接口和第三电气接口;所述接口模块放置在控制模块顶部,第三机械接口与第一机械接口连接,第三电气接口与第一电气接口连接。本发明采用模块化的硬件和软件架构,有利于实现整车控制功能的解耦、移植和扩展。

标签:
新能源
四川 - 成都 来源:中冶有色网 2023-03-18
新能源汽车驱动电机的旋转密封结构

本发明公开了一种新能源汽车驱动电机的旋转密封结构,包括驱动电机,驱动电机由机体和转动轴组成,转动轴插设在机体内,转动轴上套接有密封板,密封板的远离机体的一端侧壁上设有第一安装孔,且第一安装孔为圆环形,第一安装孔内设有第一油封,密封板靠近机体的一端侧壁上设有O形垫圈,密封板靠近机体的一端侧壁上连接有多块卡块,且卡块设置于密封板的边缘处,机体靠近密封板的一端侧壁上设有第二安装孔,且第二安装孔为圆环形,第二安装孔内设有第二油封,机体上设有与卡块数量相对应的卡槽,且卡块位于卡槽内。本发明不仅有效提高旋转机构的密封性,而且还能延长旋转机构的使用寿命。

标签:
新能源
四川 - 成都 来源:中冶有色网 2023-03-18
新能源户外娱乐照明装置

本发明公开了一种新能源户外娱乐照明装置,包括底座、立柱、太阳能电池板和顶板,所述顶板安装于立柱的上端,太阳能电池板设于顶板的上方,顶板的下侧灯座上分别安装有灯泡和除虫器,立柱的下端安装于轴承座上,底座的内侧设有隔筒,底座的内侧于立柱上安装有支撑横杆,支撑横杆的外端下侧安装有开关组件,底座内底部还安装有多个能够对开关组件进行触发的触发块,底座的内侧于立柱上还安装有输水管,立柱上还通过周向设置的多根连杆连接固定有手轮。本发明结构新颖,设计合理,可进行雨水蓄接利用,且利用太阳能发电进行电量供给,既节约了能源,也减少了大量的环境污染,而且还兼具娱乐效果,强健体魄,利于推广应用。

标签:
新能源
四川 - 成都 来源:中冶有色网 2023-03-18
新能源加热供暖装置
新能源加热供暖装置 1029     
 0

本发明公开了一种新能源加热供暖装置,包括箱体、进水管、出水管和水箱,所述箱体内设有水箱,箱体的侧壁上设有进水管和出水管,进水管和出水管均与水箱连接,水箱一侧还设有循环管道,所述循环管道上设有电机和文丘里管,电机和文丘里管沿循环管道的水流方向依次设置,文丘里管的出口处安装有进气管,进气管顶部设有风量调节阀。本发明具在循环管道上设置电机、文丘里管和进气管对水进行加热,不会造成管道堵塞;同时通过设置补水管和排气管,有效避免水箱缺水或压强过大等问题产生;另外在箱体内壁设置隔音板,能有效防止电机噪音扩散。

标签:
新能源
四川 - 成都 来源:中冶有色网 2023-03-18
新能源电动车蓄电池智能补电方法及系统

本发明公开了一种新能源电动车蓄电池智能补电方法,它包括如下步骤:步骤一:设定充电变量初始值,采样蓄电池电压;步骤二:当电瓶电压小于20V时,改变充电变量值;步骤三:充电变量值改变后,判断电池管理系统是否有故障;步骤四:如果电池管理系统有故障,将充电变量值重置为初始值;如果电池管理系统无故障,控制DC/DC模块给蓄电池充电,直到蓄电池充电完成后,继续采样蓄电池电压。本发明的DC/DC模块除了采用ON档启动外,还可以采用整车控制器启动,当蓄电池电压过低时,整车控制器启动DC/DC模块给蓄电池充电。本发明智能检测蓄电池电量,蓄电池不易馈电。

标签:
新能源
四川 - 成都 来源:中冶有色网 2023-03-18
新能源增程式空中轨道列车及采用该列车的空铁系统

本发明公开了一种新能源增程式空中轨道列车及采用该列车的空铁系统,所述轨道列车包括车体,所述车体上设置有用于驱动车体沿轨道运动的车轮组件,所述车轮组件的动力源为电能;还包括用于为车轮组件提供电能的电池包,所述电池包与车轮组件电连接;还包括用于为电池包进行充电的增补发电机,所述增补发电机与电池包电连接,所述增补发电机为以下发电装置中的一种或几种:燃油发电机、光伏发电系统、风能发电机、氢燃料发电机。所述空铁系统包括所述轨道列车。本方案提供的列车在运行过程中,可根据需要对电池包进行充电,以上由增补发电机提供的电能可有效延长列车的行驶旅程,减少列车停靠时间、保证其完成规定路线或规定往返次数的运载任务。

标签:
新能源
四川 - 成都 来源:中冶有色网 2023-03-18
利用新能源制作建筑用混凝土设备

本发明涉及混凝土技术领域,且公开了一种利用新能源制作建筑用混凝土设备,包括外壳,利用外壳对整个装置进行支撑,通过进料口、挡板、第二转盘、转杆和连接杆的配合使用,使得在进行混凝土搅拌时,可以自动定量加入混凝土,避免混凝土加入过多溢出外壳,减少原料的浪费,通过进水管、限位板、移动块、圆盘、连接板和第一转盘的配合使用,使得加入混凝土后可以自动定量加水进行搅拌,从而避免加水量无法确定从而影响混凝土使用时的使用性能,提高该装置使用时的智能性,通过转杆、连接杆、异形盘和小齿轮的配合使用,使得将混凝土和水按比例加入两个步骤进行联动,从而增加整个装置的联动性,使得操作更加的简单。

标签:
新能源
四川 - 成都 来源:中冶有色网 2023-03-18
新能源电动重型矿山车液压储能系统的应用方法

本发明公开了一种新能源电动重型矿山车液压储能系统的应用方法,包括如下步骤:S1、重型矿山车液压储能系统部件安装,将重型矿山车液压储能系统部件安装要求安装于重型矿山车体上;S2、重型矿山车时对重型矿山车液压储能系统中的蓄能器充能;S3、将液压能转换成电能,通过蓄能器带动液压发电机运转,从而实现将重型矿山车上坡和下坡的重力势能都转化为电能。本发明在矿山自卸车行驶时,可以把车辆上坡和下坡的重力势能都转化为电能,并且该方式在车辆上坡和下坡都可以把势能转化为电能,可以弥补电动汽车重车上坡时的巨大的电能损耗,提升车辆的重车上坡的续航能力。

标签:
新能源
四川 - 成都 来源:中冶有色网 2023-03-18
用于新能源汽车连接器的铜带生产工艺

本发明公开一种用于新能源汽车连接器的铜带生产工艺,包括以下步骤:步骤一、选取抗拉强度200Mpa‑250Mpa的原料在120℃‑150℃的温度下融化;步骤二、将原料铸造成锭;步骤三、根据尺寸铣面,铣面过程中保证其尺寸公差为±1mm‑±2mm;步骤四、退火,退火温度为120℃‑150℃;步骤五、清洗铜带表面,清洗后,自然干燥步骤六、二次退火,退火温度为160℃‑180℃;步骤七、清洗后,表面处理。本发明能够提高退火工艺质量、提高铜带质量,从而降低车间成本、提高生产利润。

标签:
新能源
四川 - 成都 来源:中冶有色网 2023-03-18
防松动的新能源汽车装置

本发明公开了一种防松动的新能源汽车装置,包括充电桩体和充电枪,所述充电桩体包括插口、第一齿槽、第二齿槽和滑移槽,所述第一齿槽和第二齿槽相对设置且所述第一齿槽和第二齿槽的左端均与所述插口联通,所述第二齿槽与所述滑移槽联通,所述插口右端部中设置有第一连电口,所述滑移槽下部左端部中设置有第二连电口,所述第一齿槽和第二齿槽中端联通有转槽,所述转槽中通过转销轴可转动地设置有齿状轮,本发明设计合理,结构简单,供电稳定。

标签:
新能源
四川 - 成都 来源:中冶有色网 2023-03-18
用于新能源汽车的空气过滤净化器

本发明公开了一种用于新能源汽车的空气过滤净化器,包括外壳、过滤层、进气口和出气口,所述进气口设置在外壳下方,出气口在过滤层上方,过滤层在外壳内部,过滤层为锥形结构,侧边为弧形,气体从过滤层下端进入,经过过滤层弧形结构引导净化过滤后,从出气口排出。本发明提升了空气过滤净化效率,过滤层弧形结构能够引导净化空气排出,解决了现有技术中空气过滤器产生空气漩涡撞击滤芯的内壁,产生热量甚至破坏滤芯的问题。

标签:
新能源
四川 - 成都 来源:中冶有色网 2023-03-18
新能源电机综合性能测试系统

本发明公开了一种新能源电机综合性能测试系统,其特征在于,主要由被测电机,分别与被测电机相连接的电机控制器、电参数测量仪和扭矩传感器,分别与扭矩传感器相连接的处理单元和加载电机,与加载电机相连接的加载电机控制器等组成。本发明的处理单元可以对扭矩信号中的干扰信号进行过滤,排除干扰信号的影响,并对扭矩信号的波形进行校准,避免扭矩信号现出失真,使本发明对被测电机所输出扭矩的检测精度达到0.5%FS,便于测试人员对被测电机的性能进行判断。同时,本发明的整体结构简单,成本低廉,且该处理单元采用新颖的电路结构,可以有效的提高扭矩信号的处理效率。

标签:
新能源
四川 - 成都 来源:中冶有色网 2023-03-18
新能源电动汽车空调远程控制方法

本发明公开了一种新能源电动汽车空调远程控制方法,其具体方法如下:S1:使用者通过客户端发出空调开启指令被云端服务器接收并转发给智能数据终端;S2:智能数据终端根据收到的消息发送指令给整车控制器,整车控制器调用预充电控制函数,接通高压回路;S3:判断车辆当前状态是否至少符合预设好的第一车辆状态集合中的一项,如没有符合的则继续S4;若有至少一项符合的,结束指令;S4:发送开启报文;S5:空调控制器开启空调运行。本发明通过远程客户端车主即可实现车载空调的提前开启,以便在进入车内时具有更好的体验感。一旦车主忘记主动关闭空调,空调也能在一定时间内自动关闭,节省资源。

标签:
新能源
四川 - 成都 来源:中冶有色网 2023-03-18
用于新能源汽车的充电线控制系统

本发明公开了一种用于新能源汽车的充电线控制系统,包括充电座,充电座上连接有柔性的充电线,充电线的顶端连接有充电插头;充电线由若干刚性的充电结串联而成,每两个充电结之间可绕着充电线的轴线自由偏转;充电结之间设置用于充电结偏转的驱动机构,驱动机构包括用于提供动力的波纹气压管;充电座内设置有控制装置、电源电路,控制装置通过电缆与驱动机构信号相连;控制装置与电源电路电连接。实现了充电线的自动快速运动,方便人们使用电动汽车,不会出现因忘记充电而无法使用;采用气动方式实现充电线的自由运动,充电线的运动结构简单,成本低廉,经济效益高。

标签:
新能源
四川 - 成都 来源:中冶有色网 2023-03-18
新能源智能汽车外壳
新能源智能汽车外壳 817     
 0

本发明公开了一种新能源智能汽车外壳,所述汽车外壳由壳体和控制模块组成,壳体包括有设置在顶端的顶盖,顶盖为多层结构,从上到下依次为钢化玻璃、非可见光吸收板、增强型单晶硅太阳能电池板和背板;控制模块由单片机、驱动芯片、大步进电机、传动结构、小步进电机、超声波探测装置、液晶显示装置和发动机急停控制装置组成,超声波探测装置位于照明灯下侧,超声波探测装置置于探测装置外壳中,大步进电机、传动结构、小步进电机也安装在探测装置外壳内部。本发明的有益效果是,倒车时可有效防止车碰到其它物体,并能帮助司机迅速找到倒车路径,夜晚行驶时也更加安全;同时本发明在弱光下也能够转化电能,方便实用。

标签:
新能源
四川 - 成都 来源:中冶有色网 2023-03-18
可抗风倒的新能源充电站

本发明公开了可抗风倒的新能源充电站,电动汽车充电站通过整流器将输入的交流电转换为直流电输出到功率转换器上,通过微控制器对电动汽车的蓄电池进行电池电压、电池电流、电池温度及电池荷电状态进行采集,并根据外部的调节信号对功率转换器进行控制,根据蓄电池的状态进行充电,提高充电效率,保证充电质量;在充电站本体上设置照明灯,利用太阳能发电板和充电控制器将太阳能转化为电能,为照明灯供电,可解决夜晚光线较暗,容易影响操作充电站的充电视角的问题;不倒翁结构的底座稳定性非常强,可起到抗风倒的作用,以保护充电站本体不倒塌受损。

标签:
新能源
四川 - 成都 来源:中冶有色网 2023-03-18
应用于新能源汽车的动力电池

本发明公布了应用于新能源汽车的动力电池,包括上端开放的箱体以及与之铰接配合的盖板主体,在所述盖板主体端部通过弹性连接件安装有卡扣,所述箱体侧壁上开有与卡扣配合的卡槽,电池组固定在箱体内,在所述电池组上安装有均衡系统,在与卡槽同侧的箱体侧壁下段开有多个散热孔,所述散热孔沿垂直于箱体侧壁的方向向下倾斜设置,且所述散热孔的轴线与水平面所成的夹角为20°~45°。将散热孔沿箱体内侧壁指向其外侧壁的方向上向下倾斜设置,同时散热孔的轴线与水平线之间所形成的夹角在20°~45°范围内,使得外界的粉尘等杂质不易进入箱体内,同时能保证外界空气与箱体内部热量进行正常的交换、流通,以保障电池组的正常工作。

标签:
新能源
四川 - 成都 来源:中冶有色网 2023-03-18
新能源汽车电机控制器
新能源汽车电机控制器 1052     
 0

本发明公开了一种新能源汽车电机控制器,包括保护外壳,所述保护外壳的下内壁上固定连接有一个冷却箱,所述冷却箱呈“凹”字形设置,所述冷却箱的开口处滑动连接有一块密封板,所述密封板上设置有控制器,所述控制器的顶端低于冷却箱的侧壁的高度,所述冷却箱的下内壁上固定连接有多个竖直设置的减震弹簧,每个所述减震弹簧上均设置有阻尼器,且每个所述减震弹簧的顶端均固定连接有一块连接垫块。本发明通过冷却液对控制器进行散热,随着控制器温度的上升,能自动启动二次降温结构,二次降温结构的功率会随温度的变化而变化,有利于装置的运行,设置有减震用的结构,能对风扇运行时产生的震动进行缓冲削弱,有利于控制器的正常工作。

标签:
新能源
四川 - 成都 来源:中冶有色网 2023-03-18
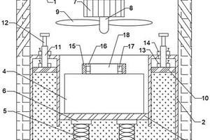
新能源用热交换器
新能源用热交换器 1016     
 0

本发明公开了一种新能源用热交换器,包括由多个成型板左右掉头后叠起形成的交换器主体和集液管道;所述成型板设置有位于成型板四角处的四个集液孔和位于成型板表面通过冲压成型的筋形;所述多个成型板左右调头叠起后的集液孔形成集液通道,集液通道与集液管道密封连接;所述多个成型板左右调头后叠起的筋形形成流道。高换热能力。长宽为90x65mm的成型板尺寸,叠层高度50mm焊接后的热交换器换热能力可达到5KW。与传统的热交换器相比,去掉了油冷器结构的内翅片,材料及加工成本得到降低。

标签:
新能源
四川 - 成都 来源:中冶有色网 2023-03-18
新能源发电系统及其能量调控方法及装置

本发明公开了一种新能源发电系统,包括电能产生部分、电能转换部分、电能存储与消耗部分;所述电能产生部分包括风力发电机组和太阳能发电机组,所述风力发电组件包括风速传感器、风力压缩器、风力发电机,所述太阳能发电组件包括太阳能光板和太阳能光板支架,所述太阳能光板由多个单元串并联构成;所述电能转化部分包括风光互补控制器;所述电能存储与消耗部分包括蓄电池组、逆变器、直流负载。通过电量监测模块、环境因素监测模块、其他检索模块得到数学变量,将S1‑S3中的数字变量进行智能AI学习,形成数学表达式,用以选择多大存储量的蓄电池组,并进行智能电能调控,以保证发电用电相对平衡,避免使用非清洁能源的发电机。

标签:
新能源
四川 - 成都 来源:中冶有色网 2023-03-18
基于复合氢燃料、锂离子电池的新能源汽车驱动系统

本发明公开了一种基于复合氢燃料、锂离子电池的新能源汽车驱动系统,包括超级电容模块、氢燃料电池模块管理系统、氢燃料电池、气体控制系统和锂电池模块,氢燃料电池的输出端与锂电池模块的充电输入端相连,氢燃料电池的正负极分别并联于超级电容模块和氢燃料电池模块管理系统的正负极公共连接点上,锂电池模块和超级电容模块分别通过总线与氢燃料电池模块管理系统的采样信号输入端相连,氢燃料电池模块管理系统的控制信号输出端与氢燃料电池的气体控制系统相连。本发明涉及混合动力驱动技术领域,可实时反映氢燃料电池的动态情况并可提高氢燃料电池与锂电池的耐久性,该方法实现了氢燃料电池与锂电池之间电能的合理分配。

标签:
新能源
四川 - 成都 来源:中冶有色网 2023-03-18
新能源汽车的高压控制系统

本发明公开了一种新能源汽车的高压控制系统,包括数据采集模块、继电保护模块、控制处理模块、CAN总线和车载电脑,所述数据采集模块、所述控制处理模块和所述继电保护模块依次连接,所述控制处理模块通过所述CAN总线与所述车载电脑连接。

标签:
新能源
四川 - 成都 来源:中冶有色网 2023-03-18
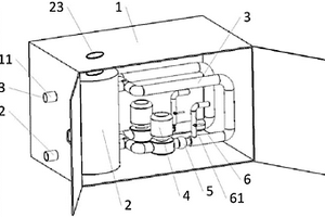
用于新能源车的电池热管理系统

本申请公开了一种用于新能源车的电池热管理系统,包括将电池包裹设置在车底部的第一热交换器,安装在车头进气口处用于散热的第二热交换器,以及储液罐和驱动泵;所述第一热交换器、第二热交换器和驱动泵通过管路连通形成可供冷却液流动的闭环流动系统,储液罐通过管路与驱动泵的连通,第一热交换器由对称设置的下热交换机构和上热交换机构组成,下热交换机构包括装满冷却液的箱体,固定设置在箱体上用于填充相邻所述电池之间空隙的导热结构。本发明采用导热结构与电池包裹式接触能够及时、快速的以热传递的方式将热量通过循环的冷却液带走同时,导热结构用于填充间隙,不会额外占用电池包的内部空间,不会造成电池包整体的能量密度降低。

标签:
新能源
四川 - 成都 来源:中冶有色网 2023-03-18
自测式新能源汽车全方位充电系统及充电方法

本发明提供一种自测式新能源汽车全方位充电系统及充电方法,该系统包括环形滑轨、设置在地面下的主槽体及圆柱形槽;主槽体和圆柱形槽均设置在所述环形滑轨下方;通过设置主槽体和圆柱形槽并将充电桩主体设置在地面下的主槽体中可以很好地解决现有充电桩主体在地面上,会阻挡停车路线的问题;通过设置环形滑轨和在环形滑轨上滑动的滑块部件可以解决现有技术中充电桩主体体积较大在轨道上滑动时很不方便的问题,同时滑块部件可以绕环形滑轨滑动实现在车辆的前后左右四个方向均可以充电。

标签:
新能源
四川 - 成都 来源:中冶有色网 2023-03-18
利用果蔬制备新能源燃料的方法

本发明公开一种利用果蔬制备新能源燃料的方法,包括以下步骤:步骤一、将筛选、洗净的果蔬放入盐水中浸泡5h‑8h;步骤二、将浸泡后的果蔬清洗后,放入清水中,加热清水至100℃‑120℃;步骤三、烫漂1min‑3min后取出;步骤四、将烫漂后的果蔬进行榨汁;步骤五、在1000g‑1200g榨取后的汁液中加入200g‑250g淀粉酶;步骤六、加热至85℃‑90℃,自然发酵3h‑5h;步骤七、蒸馏得到乙醇。本发明大大降低了乙醇汽油的调配成本。

标签:
新能源
四川 - 成都 来源:中冶有色网 2023-03-18
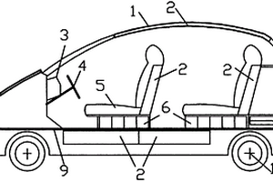
新能源电动汽车
新能源电动汽车 938     
 0

本新能源电动汽车设置有手动驾驶和自动控制驾驶两套系统装置,应用车载电脑对车各系统设备进行全智能化自动控制管理和操作,在驾驶室装有受电脑控制检测的驾驶员人面相识别、指纹识别,防疲劳驾驶、禁限酒检测和防盗劫车监控录像报警装置,在车体的前后左右装有超声波、激光雷达传感器和摄像头,防撞自动报警及摄录像装置;解决已有车安全性能差,违章驾驶引发事故多,蓄电池充电频繁,充电时间长,续驶里程短,蓄电池寿命短使用成本高的问题。在轿客车车体、货车箱四周表面及顶面上装设太阳能薄膜电池,在太阳能电池层下装置高能镍碳超级电容器,车装置铁锂蓄电池,一次充电2至3小时车续行1000至1200公里,快充15分钟续行200至300公里。

标签:
新能源
四川 - 成都 来源:中冶有色网 2023-03-18
基于数字化模拟工况的新能源动力综合测试系统

本发明公开了一种基于数字化模拟工况的新能源动力综合测试系统,包括被测动力平台,以及设置在被测动力平台上的被测发动机,其特征在于,还包括有单片机(1),与单片机(1)相连接的功率分析仪(2)和测控仪(4),与测控仪(4)相连接的油门驱动仪(3),与测控仪(4)相连接的直流电源(5),与功率分析仪(2)相连接的电机控制器(6),设置在被测动力平台上的集线器(7)等组成。本发明的整体结构较为简单,不仅能有效的模拟各种工况环境,而且其测试的精度较高。同时,本发明采用了自行研发的数字模拟驱动电路,不仅能确保运行时的性能稳定,而且还能有效的降低外部电磁干扰。

标签:
新能源
四川 - 成都 来源:中冶有色网 2023-03-18
上一页 24 25 26 27 28 ... 44 下一页
共44页    到第

中冶有色为您提供最新的四川成都有色金属新能源材料技术理论与应用信息,涵盖发明专利、权利要求、说明书、技术领域、背景技术、实用新型内容及具体实施方式等有色技术内容。打造最具专业性的有色金属技术理论与应用平台!

全国热门有色金属设备推荐
展开更多 +
全国热门有色金属技术推荐
展开更多 +

 

江西省隆恩特环保设备有限公司
宣传

报名参会
更多+

报告下载

有色专家
更多+

中国矿业大学
教授
有研科技集团有限公司
首席科学家
有研科技集团有限公司
中国工程院 院士
武汉工程大学
教授
北京科技大学
副院长/教授
赤泥综合利用研究报告2025
推广

热门技术
更多+

推荐企业
更多+

福建省金龙稀土股份有限公司
宣传

发布

在线客服

公众号

电话

顶部
咨询电话:
010-88793500-807