青岛垚鑫智能科技有限公司
宣传

位置:中冶有色 >

有色技术频道 >

分类:
全部
矿山技术
冶金技术
材料制备及加工技术
环境保护技术
分析检测技术
 
全部
废水处理技术
大气治理技术
固/危废处置技术
土壤修复技术
地区:
全部
北京
天津
上海
重庆
河北
山西
辽宁
吉林
黑龙江
江苏
浙江
安徽
福建
江西
山东
河南
湖北
湖南
广东
海南
四川
贵州
云南
陕西
甘肃
青海
内蒙
广西
西藏
宁夏
新疆
其他
其他
展开
 
全部
其他

其他有色金属环境保护技术理论与应用

免费发布技术信息>>
架桥性聚烯烃材料再回收设备

本实用新型涉及一种架桥性聚烯烃材料再回收设备,其是设计有两次式粉碎熔融聚烯烃废料,先透过第一粉碎机及第一押出机将架桥发泡的聚烯烃废料粉碎并熔融成胶状,再以条状挤出,再经第一切粒模头制成颗粒;接着利用滤尘箱除去其中所含的挥发性成份,再经过第二粉碎机及由第二押出机的粉碎与熔融成半流体胶状并高压挤出呈条状后,以油压模网及第二切粒模头再将条状的塑料切碎断成颗粒状,最后经过一震动水槽冷却成固体状,并送入一集料筒完成回收。

标签:
固废
其他 - 其他 来源:中冶有色网 2023-03-19
肥皂架
肥皂架 711     
 0

技术问题:提供一种适于使用固体肥皂进行的局部清洗的工具,在进行固体肥皂的替换时,不会产生与固体肥皂为一体的螺母、肥皂上下用圆板等废弃物,并且能够简单地进行替换。解决方案:使肥皂架(1)构成为,具备:滑动件(4),其可装卸地保持柱状的固体肥皂的端部;以及筒体(2),其两端部设为开口,在筒体(2)的内部可移动地收纳有保持固体肥皂(3)的滑动件(4),通过滑动件(4)的移动,使固体肥皂(3)可从一端部的开口(6)进退。

标签:
固废
其他 - 其他 来源:中冶有色网 2023-03-19
用于制造经加工大豆蛋白质产品的方法

本发明涉及用于制造来源于大豆粕(SBM)的经加工固体大豆蛋白质产品的方法,该蛋白质产品包含以干物质的按重量计65%至75%的蛋白质,蛋白质与钾的重量比为至少约50∶1并且干物质含量为至少约90%,该产品基本不含钠,并且其中已去除从中获得所述蛋白质的SBM中难消化寡糖含量的按重量计至少约65%;所述方法包括以下步骤:1)提供包含经研磨或成薄片或以其他方式崩解的大豆粕(SBM)的初始混合物和水;2)在5℃至65℃的温度和中性pH下,在所述初始混合物中干物质的量为按重量计8%至20%的情况下将所述初始混合物浸出0.15至6小时;3)将浸出混合物分离成液体级分和第一固体级分;4)将来自初始浸出混合物的所述液体级分的pH用酸调节至值为3.5至5.5;5)通过分离装置例如倾析式离心机或类似装置输送酸化的液体级分,从而分离废液并收集另外的固体级分;6)将来自所述初始浸出混合物的固体级分与从所述分离装置收集的固体级分合并;7)将合并的固体级分干燥至干物质含量为至少约90%;8)其中从初始SBM起始原料计算的所述方法中用过的水的总量为SBM量的约10倍或更少。本发明还涉及来源于大豆粕(SBM)的经加工固体大豆蛋白质产品,该蛋白质产品包含以干物质的按重量计65%至75%的蛋白质,蛋白质与钾的重量比为至少约50∶1并且干物质含量为至少约90%,该产品基本不含钠,并且其中已去除从中获得所述蛋白质的SBM中难消化寡糖含量的按重量计至少约65%;并且本发明涉及这样的产品的用途。

标签:
固废
其他 - 其他 来源:中冶有色网 2023-03-19
干式马桶
干式马桶 1159     
 0

本实用新型涉及干式马桶,其包括:堆肥容器(1),其限定内部空间(2),以接收固体废物和液体废物,其中堆肥容器(1)具有侧壁结构(3)和底部结构(4);可打开且可关闭的容器盖(5),其用于关闭堆肥容器(1)的内部空间(2)和形成堆肥容器(1)的顶部结构的至少一部分;以及在容器盖(5)中的进料开口(6)。干式马桶包括支承结构(7),以将堆肥容器(1)支承在底座处,诸如在地面处。堆肥容器(1)借助于轴线组件(8)连接到支承结构(7)上,使得堆肥容器(1)可相对于支承结构(7)围绕基本水平轴线倾斜。

标签:
固废
其他 - 其他 来源:中冶有色网 2023-03-19
热能供能电化学电池
热能供能电化学电池 804     
 0

本公开提供了一种热能供能电化学电池,其包括阳极、阴极和固体金属聚合物/玻璃电解质。相比于固体金属聚合物/玻璃电解质的总重量,固体金属聚合物/玻璃电解质包含1重量%至50重量%的金属聚合物,并且相比于固体金属聚合物/玻璃电解质的总重量,固体金属聚合物/玻璃电解质包含50重量%至90重量%的固体玻璃电解质。固体玻璃电解质包括工作阳离子和电偶极子。热能供能电化学电池可用于捕获来自各种来源的热量,包括太阳能,废热和体热。热能供能电化学电池可以被制成大面积薄电池。

标签:
固废
其他 - 其他 来源:中冶有色网 2023-03-19
由回收玻璃所制成的地质聚合物水泥以及其制作方法

本发明专利涉及由回收玻璃所制成的地质聚合物水泥以及其制作方法,根据其特点,这可制备以坚硬固体类型的特有且特定的粘接结构形式的地质聚合物水泥,其由回收玻璃(残留废弃的)、碱和水制成,并且通过其组分的研磨、均匀化、碱化和室温下的固化(硬化)或强制固化(硬化)而直接获得,并且其可以以非常方便、安全和成本有效的方式作为新的地质聚合物基体被用于在各种应用(生产水泥板、混凝土、纤维复合材料以及涂层材料)中替代由偏高岭土、高炉矿渣、粉煤灰或火山岩制成的传统地质聚合物基体,这与完全再利用这种丢弃在环境中的废物的环保概念一致。

标签:
固废
其他 - 其他 来源:中冶有色网 2023-03-19
生物柴油组合物和相关工艺及产物

描述了生物柴油组合物和用于生产生物柴油及相关产品的工艺。还描述了包含生物柴油的相关燃料及混合燃料。生物柴油组合物可以由包含来自下水道废物的脂肪、油和油脂的混合物制备。

标签:
固废
其他 - 其他 来源:中冶有色网 2023-03-19
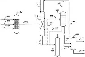
使用焦化器脱硫和除砜

实施方案提供了一种对烃原料进行提质的方法和装置。根据至少一个实施方案,该方法包括(a)将烃原料供应至氧化反应器,在氧化反应器中、在催化剂的存在下、在足以选择性地氧化烃原料中存在的硫化合物的条件下,使烃原料被氧化;(b)通过溶剂提取来分离烃和经氧化的硫化合物;(c)收集包含经氧化的硫化合物的渣油料流;(d)将渣油料流供应至焦化器,以生成焦化器气体和固体焦炭;以及(e)在吸附循环完成后,将来自吸附塔的包含渣油的废吸附剂供应至焦化器,以对废吸附剂进行处理。

标签:
固废
其他 - 其他 来源:中冶有色网 2023-03-19
由碳质材料生产燃气的方法

本发明描述了一种用于包括天然碳质材料和合成碳质材料的废弃物的热处理和化学转化以产生用于进一步使用的燃气的方法和设备。来自热解裂解反应器(40)的裂解气和固体废弃物被进一步处理以产生具有基本上稳定的沃泊指数的燃气。

标签:
固废
其他 - 其他 来源:中冶有色网 2023-03-19
用于粪便气体去除的双向坐便器

本发明涉及一种坐便器,该坐便器被设计用于使用相同的路线同时去除下水道气体以及固体和液体废物,而不改变虹吸机构或水消耗。为此,为气体生成了一条独立的路径。该通道可以在坐便器、连接至排放管的后套筒或两者中复制。在第一实施例中(图3),双虹吸管需要一个辅助通道将气体引导到低于水位的虹吸的上升分支。微型计算机(17)控制该过程。第二个实施例(图2)需要一个双后连接套筒:一个用于废物的常规通道和另一个用于气体(20)的平行通道。两者都具有与排放管(7)的单个后部连接。在第三实施例中(图4),坐便器(15)的气管(15)没有到达虹吸管,需要双后套筒(20)和止回阀(18)。

标签:
固废
其他 - 其他 来源:中冶有色网 2023-03-19
营养物回收方法及其用途

本文提供一种用于生物废料物质处理的有效的固-液分离方法。该方法包括在固-液分离、如离心之前向生物废料物质中加入某些阳离子聚电解质(或如本文使用的“聚合物”),由此极大地促进随后的固-液分离步骤。所述液体部分一旦使用本发明的方法与固体部分相分离,则可以进行具有潜在更高效率的进一步的下游营养物回收操作(比如磷酸盐沉淀和氨汽提),或者可以直接用于多种操作,比如作为乙醇厂中原料的液体稀释剂。

标签:
固废
其他 - 其他 来源:中冶有色网 2023-03-19
油脂回收单元
油脂回收单元 1200     
 0

一种油脂回收单元,特别是用于在餐饮服务机构中使用,用于从食品废物中将油性物质与水分离,其具有通过阀26连接到过滤器24的入口2,其中在过滤器24处收集固体。阀26与过滤器24互连为使得阀在过滤器24被移除时关闭入口2。食品废物中的油性物质通过至少一个旋液分离器30与水分离。分离出的水从出口4排出,油性物质进入到收集器3中。油性物质中的脂肪物质通过硅加热垫60保持在流体状态。

标签:
固废
其他 - 其他 来源:中冶有色网 2023-03-19
使用粒状金属铁的钢液制造方法

涉及一种在将还原熔融炉所制造的粒状金属铁连续装入炼钢用电弧炉加以熔融而制造钢液时,更高效率地进行熔融的钢液制造方法,是包含以电弧炉(2)熔融粒状金属铁(A)和作为其他的铁原料的废钢(D)所构成的全部装入铁原料的工序的钢液(G)的制造方法,所述粒状金属铁(A)通过包括如下工序的方法制造:在作为还原熔融炉的回转炉床炉1内含有加热碳质还原材和含氧化铁物质的原料,使该原料中的氧化铁固体还原,生成金属铁的工序;再加热生成的金属铁而使之熔融,并且一边使之与炉渣成分(B)分离一边使之凝集的工序,在使用了粒状金属铁的钢液的制造方法中,其特征在于,使粒状金属铁(A)中的碳的含量为1.0~4.5质量%,通过并用氧吹炼而使所述粒状金属铁(A)中的碳燃烧,并且使所述粒状金属铁相对于全部装入铁原料的(A)的使用比例为40~80质量%,将废钢(D)初始装入电弧炉(2)而制成铁水(F)后,向该铁水(F)中连续地装入粒状金属铁(A)。

标签:
固废
其他 - 其他 来源:中冶有色网 2023-03-19
高过滤效率壁流式过滤器

本发明涉及用于生产用于从气体中去除细小微粒固体的壁流式过滤器的方法,并且涉及其用于清洁内燃机的废气的用途。本发明还涉及对应生产的具有高过滤效率的废气过滤器。

标签:
固废
其他 - 其他 来源:中冶有色网 2023-03-19
旋风降尘式燃烧室
旋风降尘式燃烧室 1050     
 0

本发明公开了一种旋风降尘式燃烧室,燃烧室主体为圆柱形筒体,椎体段为下端截面较小的锥形筒并且椎体段的上端与燃烧室主体下端固定连接,弯头管道为倒置的U型管道,弯头管道一端与燃烧室主体上端固定连接,弯头管道另一端向外侧弯曲用于输出燃烧后烟气,粉灰收集仓固定设置在椎体段下端,燃烧室主体侧面上端设置有合成气进口,合成气进口沿燃烧室主体横截面切线方向设置,合成气进口设置有等离子矩和天然气烧嘴,燃烧室主体内壁由上至下依次设置有一级供风管道、二级供风管道和三级供风管道。本发明用于处理医废、危废等固体垃圾等气化后生成的合成气并在燃烧室内将合成气夹带残炭使其燃尽并收集飞灰。

标签:
固废
其他 - 其他 来源:中冶有色网 2023-03-19
用于再处理主要对苯二甲酸亚烷基二醇酯的方法、装置和用途

本申请涉及一种用于在连续过程中借助于解聚对主要包含聚对苯二甲酸亚烷基二醇酯特别是聚对苯二甲酸乙二醇酯和/或聚对苯二甲酸丁二醇酯的废料进行再处理的方法和装置,其中将优选为固体的碱氢氧化物和/或碱土氢氧化物特别是氢氧化钠添加至废料以制备反应混合物,该反应混合物适于以高产量将多层体系和有色材料几乎完全化学地以高品质回收到原料中,以便能够从回收产物中无限制地制备新的聚对苯二甲酸亚烷基二醇酯产物,提出将亚烷基二醇作为反应物附加地添加至反应混合物,其中亚烷基二醇是可作为所追求的解聚的产物制备的亚烷基二醇特别是单乙二醇,并且其中没有另外的反应性组分被添加至反应混合物。

标签:
固废
其他 - 其他 来源:中冶有色网 2023-03-19
硼酸的回收方法和回收装置

本发明涉及一种硼酸的回收方法,用于从被处理液中回收硼酸,所述被处理液包含含有硼化合物和碱金属化合物的废水以及固体废物中的至少一种,其中,向所述被处理液中添加酸而将pH调节至低于4后进行浓缩,或者将所述被处理液浓缩后添加酸而将pH调节至低于4,对所述进行了浓缩及pH调节且不含不溶物的被处理液进行冷却,得到析出有硼酸结晶的水溶液,从所述析出有硼酸结晶的水溶液中分离出该硼酸结晶,将分离出该硼酸结晶后的滤液的50~90质量%添加到所述浓缩及pH调节前的被处理液中,对向所述分离出的硼酸结晶中添加硼酸水溶液或者水而得到的重结晶用被处理液进行加热而使硼酸结晶溶解,对该进行加热而使硼酸结晶溶解后的重结晶用被处理液进行冷却,得到再析出有硼酸结晶的水溶液,从所述再析出有硼酸结晶的水溶液中分离出该硼酸结晶,将分离出该再析出的硼酸结晶后的滤液的至少一部分添加到所述浓缩及pH调节前的被处理液中。

标签:
固废
其他 - 其他 来源:中冶有色网 2023-03-19
节水绝热喷淋系统
节水绝热喷淋系统 1184     
 0

节水系统和减少绝热冷却所需水量的方法,包括:使用硬水软化器和反渗透装置,其中,自来水(如果需要软化)被输送至反渗透装置,并且单独的软化水、反渗透废水或者软化水结合反渗透废水被输送至喷淋嘴以用于冷却,然后存储并周期性地使用反渗透纯水以重新盘管,从而抑制和/或防止喷淋水中溶解的盐好其他固体的腐蚀。

标签:
固废
其他 - 其他 来源:中冶有色网 2023-03-19
基于砖窑的热裂解制油系统

本发明属于能源再利用技术领域,具体涉及一种基于砖窑的热裂解制油系统,包括砖窑和制油系统,所述的砖窑应存在一段适宜制油系统的适宜温区,所述的制油系统设置在适宜温区内,所述的制油系统的原料为废弃的有机物,所述的有机物在适宜温区内吸收热量发生热裂解产生油蒸汽,所述的原料经热裂解后还剩余残留炭,所述的残留炭被收集到指定区域作为燃料使用。有益效果在于:利用了隧道窑余热的特点,将废弃的垃圾作为原料在高温下发生裂解产生能够作为燃料使用的不凝气和非标油,而固体残留炭也能作为燃料使用。

标签:
固废
其他 - 其他 来源:中冶有色网 2023-03-19
预先润湿的、用于保护抽水马桶的防护衬垫

一种用表面活性剂和湿润剂预先润湿的且可冲掉的抽水马桶防护衬垫,该抽水马桶防护衬垫通过提供马桶桶身与固体废物之间的防护屏障,用于降低人工清洁的需求,该抽水马桶防护衬垫使用基于精油的水面屏障来减少或消除马桶气味。预先润湿的抽水马桶防护衬垫在可冲水的马桶中使用,其中水具有上表面。扁平衬垫的上表面直接位于水的上表面边缘之上,或略微位于水的上表面边缘的下方。衬垫减少或防止弄脏抽水马桶的内部,用于有效清除和冲走人体废物。衬垫用精油处理,精油创建表面屏障且减少或消除马桶气味。

标签:
固废
其他 - 其他 来源:中冶有色网 2023-03-19
储存物质、复合物质或其混合物的处置区及处理方法和设备

本发明涉及一种储存废弃物以及固体有机与无 机物的残留物、复合物、或其混合物的处置区。根据本发明, 包括底部(14)和侧壁的一槽布置在地层(22)内,所述槽的底部包 括含陶瓷结合剂(CBS)组分的至少两层防水层(B,C)。至少一 层防水塑料膜(26)平设在上防水层(C)与所要储存的产物 (24a)之间,一堆固化的废渣作为 要被储存的产物(24a)储存在所 述塑料膜上。本发明的处置区还提供包括至少两层防水层(B, C)的一覆盖物,在所述防水层上布置至少一层橡胶排水层,以 带走雨水。

标签:
固废
其他 - 其他 来源:中冶有色网 2023-03-19
改良爆破剂
改良爆破剂 941     
 0

本发明总体上涉及一种爆炸性组合物,其包含氧化剂组分、含乳化剂的烃类燃料组分和填充剂的水乳液,填充剂为大体上没有粗糙表面和尖锐边缘的固体颗粒形式的燃料类废料。优选所述组合物具有硝酸铵基乳液和粒化填充剂。本发明还牵涉使用常规移动处理装置(MPU),具有适于容纳燃油、干燥硝酸铵球粒和硝酸铵基乳液的独立隔室的卡车,向爆破现场提供爆炸性组合物的方法,其中隔室改为容纳颗粒废料。本发明还涉及一种爆破柔软潮湿地面的方法,其包括向所述柔软潮湿地面上的一个或多个炮眼注入足够量的所述组合物,然后引爆所述组合物。

标签:
固废
其他 - 其他 来源:中冶有色网 2023-03-19
燃料电池系统和燃料电池系统的控制方法

燃料电池系统具备接受燃料气体和氧化剂气体的供给来进行发电的固体氧化物型的燃料电池。该燃料电池系统具备:排气通路,其与燃料电池连接,将从燃料电池排出的燃料废气和氧化剂废气作为排气气体而排出到外部;排气气体温度探测部,其对从排气通路排出的排气气体的温度进行检测或估计;空气供给部,其向排气通路供给空气;以及空气控制部,其基于检测或估计出的温度,来控制空气供给部的空气供给。

标签:
固废
其他 - 其他 来源:中冶有色网 2023-03-19
处理采出水的方法
处理采出水的方法 1245     
 0

本发明公开一种用于处理废水的系统和方法。系统包括用于去除溶解的固体的反渗透单元。所述反渗透单元产生渗透物和浓缩物。为了减小与反渗透单元相关的膜结垢可能性和/或延长膜寿命和/或提高系统回收,使至少一部分浓缩物再循环,并与废水流在反渗透单元上游的点混合。

标签:
固废
其他 - 其他 来源:中冶有色网 2023-03-19
用于对污泥进行水热碳化和湿式氧化的方法和系统

提供一种对来自废水处理厂的污泥进行水热碳化的方法,包括以下步骤:用至少一个第一蒸汽馏分对污泥进行预加热以获得经预加热的污泥;用第二蒸汽馏分另外加热经预加热的污泥以获得经加热的污泥;在反应器中使经加热的污泥经受水热碳化(HTC)以获得经HTC处理的浆料;将经HTC处理的浆料与氧化剂诸如氧气混合,以获得经湿式氧化的浆料;使经湿式氧化的浆料经受闪蒸以获得第二蒸汽馏分和经预冷却的浆料;使经预冷却的浆料在至少一个步骤中经受闪蒸以获得至少一个第一蒸汽馏分和经冷却的浆料;将经冷却的浆料分离成液体馏分和固体馏分;以及将液体馏分路由到废水处理厂以用于另外的处理,其中,第二蒸汽馏分被用于将经预加热的污泥加热至HTC反应的温度。还提供了相应的系统。

标签:
固废
其他 - 其他 来源:中冶有色网 2023-03-19
疏浚淤泥非烧结砖及其制备方法

本发明涉及土木工程与环境工程技术领域,具体而言,涉及一种疏浚淤泥非烧结砖,按照重量份数计,所述疏浚淤泥非烧结砖主要由以下原料组份制成:疏浚淤泥人造沙砾50~80份、粗砂15~25份、水泥10~20份、胶凝剂0.35~0.65份。本发明采用非烧结技术,可以节约能源,避免因煅烧而造成空气污染和固体废弃物污染。主要原料选取疏浚淤泥,既能疏通河道、美化水域有可以变废为宝,实现资源的循环利用。

标签:
固废
其他 - 其他 来源:中冶有色网 2023-03-19
部分提取焙炒和磨碎咖啡的水解法

本发明涉及在反应器内,最好采用活塞式流动反应器,于无任何酸催化剂予的高温短时条件下,加溶部分提取焙炒和磨碎咖啡的方法,例如加溶工业用咖啡渗滤系统的废渣滓。如此得到的水解产物可来增加咖啡的可溶固体含量和焙炒咖啡的水提物。

标签:
固废
其他 - 其他 来源:中冶有色网 2023-03-19
多羟基化合物和使用该多羟基化合物的聚氨酯、聚氨酯泡沫

本发明涉及一种通过如下步骤制备多羟基化合物和使用所述多羟基化合物的聚氨酯、聚氨酯泡沫的制备方法:用聚合脂肪酸单(多羟基醇酯)将聚酯、聚酰胺和聚氨酯解聚,并且另外与多元酸、多元醇和胺反应,以制备其中酸值为0.5~1DKOH/G、羟基值为10~500DKOH/G并且胺值为1~50DKOH/G的多羟基化合物,以及涉及使用该多羟基化合物的聚氨酯和聚氨酯泡沫。该方法将来自油和脂肪组分的不饱和脂肪酸的双键转变成共轭双键,以引起DIESL-ALDER反应,由此提高了反应性,在化学结构上形成稳定的结合,从而防止脂肪和脂肪油从最终产品分离浸出的出现,并且与聚醚-多羟基化合物具有良好的相容性以及透明和储存稳定性。此外,它具有室温粘度都非常低的100%固体,从而易于处理,同时对异氰酸酯具有大的反应性,这样制备出了具有优异化学和机械性质的多羟基化合物。具体地,通过使废食用油和废弃合成树脂循环,能够将它们用作对环境友好并且经济有利的工业上有益的材料。

标签:
固废
其他 - 其他 来源:中冶有色网 2023-03-19
防火隔热材料
防火隔热材料 742     
 0

在含有二氧化硅或是硫酸钙或是氧化铝的第一材料中,再混合含有例如纤维素纤维的植物性纤维或者例如聚丙烯腈纤维的化学纤维的第二材料,再与水玻璃混合后,予以干燥,不须经过融化过程而加以固体化,即能得到坚固且具有优越隔热性以及防火性的耐火隔热材料。第一材料可以是例如从铁工厂所得的矿渣粉,或是从石器工厂所得的石粉,或是从磷酸肥料工厂所得的石膏等,其皆含有多量的氧化硅或是石膏质的废弃物,若予以再利用,亦可做为废弃物处理方法之一。

标签:
固废
其他 - 其他 来源:中冶有色网 2023-03-19
分离和回收金属的方法

提供了一种处理含有重金属例如VIB族金属和VIII族金属的废催化剂的方法。在一个实施方案中,在除油后,在足以使VIB族金属和VIII族金属溶解到氨浸出溶液中的条件下用氨浸出溶液处理废催化剂,形成浸出浆料。在固-液分离以回收浸出溶液后,将化学沉淀和固体进行重新制浆以获得含有硫酸铵(Amsul)、氨基磺酸铵、VB族金属、VIB族金属和VIII族金属的流出物料流。在硫化后,从该Amsul料流将VIII族金属完全去除以及将VB族和第VI族金属部分去除。在另外的氧化水解和铁沉淀步骤中,将有效量的三价铁离子以预选pH加入以与VB族和VIB族金属形成不溶络合物,其通过液-固分离产生含有小于10ppm的每种VB族和VIB族金属的流出硫酸铵料流。

标签:
固废
其他 - 其他 来源:中冶有色网 2023-03-19
上一页 22 23 24 25 26 ... 117 下一页
共117页    到第

中冶有色为您提供最新的其他有色金属环境保护技术理论与应用信息,涵盖发明专利、权利要求、说明书、技术领域、背景技术、实用新型内容及具体实施方式等有色技术内容。打造最具专业性的有色金属技术理论与应用平台!

全国热门有色金属设备推荐
展开更多 +
全国热门有色金属技术推荐
展开更多 +

 

江西省隆恩特环保设备有限公司
宣传

报名参会
更多+

报告下载

有色专家
更多+

南昌航空大学
副院长/教授
中冶沈勘秦皇岛工程技术有限公司
原矿山院院长/教授级高工
中南大学
院长/教授
中国有色金属工业协会
副会长兼秘书长
国家钨与稀土产品质量检验检测中心
主任
赤泥综合利用研究报告2025
推广

热门技术
更多+

推荐企业
更多+

福建省金龙稀土股份有限公司
宣传

发布

在线客服

公众号

电话

顶部
咨询电话:
010-88793500-807