青岛垚鑫智能科技有限公司
宣传

位置:中冶有色 >

有色技术频道 >

分类:
全部
矿山技术
冶金技术
材料制备及加工技术
环境保护技术
分析检测技术
 
全部
废水处理技术
大气治理技术
固/危废处置技术
土壤修复技术
地区:
全部
北京
天津
上海
重庆
河北
山西
辽宁
吉林
黑龙江
江苏
浙江
安徽
福建
江西
山东
河南
湖北
湖南
广东
海南
四川
贵州
云南
陕西
甘肃
青海
内蒙
广西
西藏
宁夏
新疆
其他
其他
展开
 
全部
其他

其他有色金属环境保护技术理论与应用

免费发布技术信息>>
氧气探测器
氧气探测器 1178     
 0

适于测量汽车废气中所含氧气浓度的氧气探测 器,包括有传感元件和为加热该传感元件而装置的 加热元件。包括电绝缘基片和埋入该基片内的加热 单元体的加热元件的一个表面上具有凹槽,该凹槽 形成了一对侧壁部分。传感元件包括有固体电解质 薄片,探测电极,参考电极以及除了其开口而外可封 闭参考电极的室腔。传感元件置于加热元件的凹槽 内并通过置于该传感元件和加热元件之间经烧结的 中间层与加热元件相粘接。该中间层中有大量的细 微裂缝而且其热膨胀系数处于固体电解质和基片的 热膨胀系数之间。

标签:
固废
其他 - 其他 来源:中冶有色网 2023-03-19
胶囊型医疗装置和胶囊型医疗装置的制造方法

本发明提供一种胶囊型医疗装置和胶囊型医疗装置的制造方法,其目的在于,即使安装于电路基板上的功能零件组的一部分处于不良状态,也能够不白白地废弃良品状态的剩余的功能零件组来制造胶囊型医疗装置。本发明的胶囊型医疗装置的制造方法在具有一连串的挠性电路基板构造的一连串的挠性基板(20a)上安装发光元件(3a~3d)和固体摄像元件(5),在作为与该一连串的挠性基板为独立结构的一连串的挠性基板(20b)上安装发光元件(6a~6d)、固体摄像元件(8)和无线单元(9a),对一连串的挠性基板(20a、20b)与作为与一连串的挠性基板(20a、20b)为独立结构的控制基板(19c)进行基板间连接。

标签:
固废
其他 - 其他 来源:中冶有色网 2023-03-19
用于制造熔融铁的方法和设备

将铺底碳质材料(H)装填到转底炉(14)的炉床上,将包含粉末状铁矿(A)和粉末状煤(B)的含碳质材料的粒料(D)放置在所述铺底碳质材料(H)上,并且使所述炉床在所述转底炉(14)的内部通过,以将所述含碳质材料的粒料(D)加热并且还原为固体还原铁(F),并且通过蒸馏成炭(G),加热且干燥所述铺底碳质材料(H)。随后,在基本上不冷却的情况下,将所述固体还原铁(F)和所述炭(G)装填到熔铁炉(16)中,并且将氧气吹到所述熔铁炉(16)中以使所述固体还原铁(F)熔融,从而获得熔融铁(K)。在冷却并且除去粉尘之后,使用来自所述熔铁炉(16)的至少一部分废气(M)作为用于所述转底炉(14)的燃料气体。

标签:
固废
其他 - 其他 来源:中冶有色网 2023-03-19
用于商业和工业利用硫酸钙同时从磷酸生产中获得稀土元素的集成方法

描述了一种用于使用硫酸钙生产硫酸和水泥熟料并获得稀土的方法,所述硫酸钙是在磷酸生产中在原始磷酸盐与硫酸反应以形成磷酸中作为固体副产物来形成并分离出的,其中所述方法包括以下步骤:a)用酸处理从磷酸分离的硫酸钙以便获得包含纯化的硫酸钙的悬浮液,b)从所获得的悬浮液的液相分离固体形式的所述纯化的硫酸钙,其中所获得的液相可以作为原料引入到磷酸生产的反应单元中,b1)用水或含有盐和/或螯合配体的水溶液处理步骤b)中获得的所述纯化的硫酸钙,以便从所述硫酸钙溶解出所述稀土,b2)从步骤b1)中获得的悬浮液的液相中分离固体形式的进一步纯化的硫酸钙,其中一种或多种稀土存在于液相中,c)将所分离出的所述纯化的硫酸钙与外加剂和还原剂混合以便获得用于水泥熟料生产的生料混合物,d)燃烧所述生料混合物以便获得所述水泥熟料,其中形成二氧化硫作为废气,以及e)将所形成的二氧化硫作为原材料进料到硫酸生产中以便产生硫酸,其中在磷酸生产中将所产生的硫酸用作起始材料。所述方法尤其是集成方法。集成方案作为从磷石膏到水泥熟料和二氧化硫的总体概念考虑了现有磷酸和硫酸复合体系中的需求。

标签:
固废
其他 - 其他 来源:中冶有色网 2023-03-19
通过煤的催化温和温度热解制造烃和改质煤的系统和方法

一种固体碳质材料的改质方法,包括在催化剂存在下和在部分热解条件下加热固体碳质材料,并获得改质固体碳质产物、气体产物和废催化剂。

标签:
固废
其他 - 其他 来源:中冶有色网 2023-03-19
高纯度一氧化铌的制备方法及其电容器的制备

本发明涉及高纯度一氧化铌粉末(NbO),其通过 一如下过程生产,将高价铌氧化物和金属铌粉末或颗粒的混合 物混合;在控制的气压下加热和反应压实的混合物,温度达到 约1945℃以上,在这个温度下NbO为液态;固化液态NbO形 成一固体材料;以及粉碎该固体形成适于用作电容器阳极的 NbO颗粒。所述NbO产品在组成和晶型方面异乎寻常的纯, 可用在电容器和其它电子应用方面。生产所述NbO的方法是 可靠的,不需要高纯度的原料,并且可以从与加工NbO电子 元件有关的废液中回收利用。这种生产方法也可用于制备高纯 度NbO2、金属铌/一氧化铌和一 氧化铌/二氧化铌的混合物。该方法还适于向所述氧化物产品中 掺入其它物质以增强所述材料的特定性能。该方法还允许生产 单晶或定向固化的金属锭。与其它技术生产的海绵状,多孔团 块相比,本发明生产的固体、无孔金属锭能被粉碎至细的、无 孔的有角颗粒,适于在电子方面应用。

标签:
固废
其他 - 其他 来源:中冶有色网 2023-03-19
用于生物质水解的体系和方法

本发明公开了对木质纤维素生物质进行处理的体系和方法,所述木质纤维素生物质将要投放至发酵体系用于发酵产物的生产。该体系和方法包括对生物质进行预处理,得到经过预处理的生物质,并将该经过预处理的生物质分离为含有糖类的液体成分和含有纤维素和木质素的固体成分。该体系和方法还包括对该经过预处理的生物质中的固体成分进行处理,得到处理后成分。所述生物质含有木质纤维素材料。对该固体成分的处理包括添加酶制剂和补充水,以形成浆料。该酶制剂含有纤维素酶。该补充水含有澄清的酒糟水和/或厌氧膜废液成分。

标签:
固废
其他 - 其他 来源:中冶有色网 2023-03-19
用于测量不同气体的气体传感器和附属的制造方法

本发明涉及用于测量气体、尤其氧气和至少另一气体、优选地至少其他气体形式的能氧化的废气成分的浓度的气体传感器(1),其中所述气体传感器(1)具有固体电解质(3)、至少三个电极(5a、5b、6)和封闭的室(7)。按照本发明,掺杂的铂具有至少50重量百分比的铂和来自固体电解质的组中的至少一种其他元素的剩余物,尤其所述掺杂的铂具有0.5重量百分比至15重量百分比之间的ZrO2和剩余物铂,或者纯铂具有100重量百分比的铂,并且金合金具有至少50重量百分比的金和最大50重量百分比的铂,尤其所述金合金具有大约85重量百分比的金和大约重量百分比的铂,或者所述金合金至少具有以85%的金比15%的铂为比例的金和铂,优选地所述金合金具有以85%的金比15%的铂为比例的金和铂,并且附加地具有至少0.5重量百分比至15重量百分比的固体电解质、尤其ZrO2。此外本发明涉及用于制造气体传感器的设备、用于制造气体传感器的方法、用于测量气体20浓度的方法、气体传感器设备和气体传感器的应用。

标签:
固废
其他 - 其他 来源:中冶有色网 2023-03-19
用于在真空压力下使用生化工艺处理流体的方法和系统

描述了用于处理包括颗粒部分和可溶部分的流体的方法和系统,例如包括生物固体的废水流体。该处理包括对生物工艺中流体的颗粒部分中的固体进行生化转化,同时使流体经受真空压力,并蒸发掉流体的至少一部分可溶部分,从而使流体的剩余部分增稠。例如,颗粒部分的停留时间可以控制为比可溶部分的停留时间长至少25%。例如,颗粒部分的固体含量可以控制在4%至99%的范围内。

标签:
固废
其他 - 其他 来源:中冶有色网 2023-03-19
内循环流化床(ICFB)燃烧系统

一种特别适用于焚烧的流化床燃烧系统(10),即在其中燃烧水分和灰分含量高,因而难以燃烧的木质废物/污泥混合物。流化床燃烧系统(10)包括一台配备有床层固体物料构成的流化床(24)的流化床燃烧器(12)。通过空气分配器(28)向流化床(24)喷入空气,以便在其中建立第一和第二流化速度控制区。将物料(42b)输入流化床燃烧器(12)中第二流化速度控制区的上方。床层固体物料从第一流化速度控制区喷射到第二流化速度控制区,散落并覆盖在物料(42b)上。物料(42b)则被干燥,然后燃烧。物料(42b)夹带的惰性物料/混杂物料/烧结渣以及大粒径固体物料从该处分离,然后从流代床燃烧器(12)中排出(64)。

标签:
固废
其他 - 其他 来源:中冶有色网 2023-03-19
用于使用筛的水处理的方法和设备

一种设备和方法,用于使用筛在活性污泥工艺中选择、截留或生物强化固体,用于改善废水处理。可使用筛以基于尺寸、压缩系数或者抗切变性分离并截留固体。在活性污泥工艺中使用筛以分离并选择缓慢生长的有机物、较快沉降的有机物或者增加的物质,以吸收、处理或者移除成分。变换筛的设置提供了另一种选择不同微粒的手段。可响应于从诸如分光光度计或者其它光学方法的分析仪器检测到的读数而手动地和/或自动地调整被暴露的切变率或者时间、微粒压缩或者固体停留时间(SRT),以使有机物的选择优化。

标签:
固废
其他 - 其他 来源:中冶有色网 2023-03-19
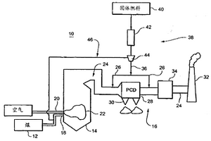
利用部分气化的煤以除去汞的方法和设备

一种用于俘获由固体燃料燃烧形成的烟道气中的汞的方法,包括:燃烧煤(12),其中燃烧过程中释放的汞被夹带在由燃烧产生的烟道气中;通过在燃烧固体燃料的同时,在气化器(42)中就地使固体燃料部分地气化,产生热活化的含碳吸附剂;将气化的气体产物注入(46)煤的燃烧中;将热活化的吸附剂注入(26)烟道气中,以及在废物处理系统(28,34)中收集注射的吸附剂。

标签:
固废
其他 - 其他 来源:中冶有色网 2023-03-19
用于冷却炉渣池气化器的反应器上部中的粗煤气的方法和装置

一种用于冷却炉渣池气化器的反应器上部中的粗煤气的方法和装置,该气化器用于在压力>20bar的条件下气化由含碳固体废物和含碳固体燃料组成的不均匀材料混合物,其特征在于,细喷出来的水这样喷入到散料表面上方的自由空间中,使得可以控制并覆盖反应器上部的整个自由横截面,并且与从固体散料上升流动的粗煤气实现强烈的反应。为此在加料井筒下方设置多个均匀地固定在反应器圆周上且安置在一个水平面内的喷雾嘴。

标签:
固废
其他 - 其他 来源:中冶有色网 2023-03-19
用于基于流态化床以热形式累积能量的设备与方法

一种用于以热形式累积能量的设备,包括至少一个累积装置(1),所述累积装置(1)具有:‑封闭的壳体(2);‑可流态化固体颗粒床(3),其接收在所述壳体(2)内;‑加热手段(7;70;70’;700),其与所述颗粒床(3)热连接,所述加热手段构造成将热能传输至所述颗粒;以及‑热交换手段(8;5),其也热连接至所述颗粒床(3)且选择性地被启动以从所述颗粒床接收热能,整体构造使得所述热能从所述加热手段(7;70;70’;700)转移至所述床(3)的可流态化固体颗粒,并且以同时或延迟的方式从所述可流态化固体颗粒转移至所述热交换手段(8;5),其中所述设备构造成借助多余的电能或者借助剩余的热能来供给所述加热手段,所述多余的电能例如来自可再生资源,特别是来自风能或光伏能,所述剩余的热能例如来自工业过程的热废料。

标签:
固废
其他 - 其他 来源:中冶有色网 2023-03-19
可燃性处理可燃性产物的方法,实施该方法(变化情况)的反应器以及包含该反应器的装置

本发明是关于工业化处理可燃性碳以及碳氢化合物产物。所请求的方法是在使用装有温度感测器(18,20)的反应器中进行。进料被加热以及施以热解,焦炭化以及燃烧以形成固体残余物。灰分状颗粒以及由燃烧区域排出凝结液滴由液体碳氢化合物产物经由分配器冲洗进料上侧部份或由将软化点高于60℃以及终端沸点高于300℃固体碳氢化合物产物加入进料而加以吸附。装置包含处理含碳及/或含碳氢化合物产物的反应器,冷凝物的弗洛伦萨细颈瓶以及液体含碳氢化合物废弃储存槽。气体蒸气混合物净化的额外单元位于净化及去除固体及液体含碳粒子的气旋型式清理单元与液体产物凝结单元之间。本发明能够由去除固体及液滴杂质提高气体蒸气混合物净化品质高达95%,以及增加装置生产力。

标签:
固废
其他 - 其他 来源:中冶有色网 2023-03-19
改型平面电池和基于其的电化学装置堆,平面电池和堆的生产方法及平面电池生产模具

本发明涉及改型平面电池,其具有固体氧化物固体电解质、气体扩散阳极、阴极、金属或氧化物电流通道以及电流-气体供应。所述电池的支撑固体电解质为包括波纹的波纹形板的形式。在横截面中,所述板的各波纹构成具有孔的没有较大下底的等腰的、相同高度的梯形。所述孔在每个波纹的上部部分中在一侧上被形成,以用于供应各试剂之一,例如在燃料电池的情况下的燃料。各波纹在它们的底处被连接至彼此以便形成所述电池的气体空间通道。所述气体空间通道为没有较大上底的翻转的等腰梯形的形式,并且在它们的较小底处的夹角α为0.1到89.9°。所述波纹形板被连接至两个相反的壁,前壁和后壁。所述后壁被布置成垂直于所述板的各波纹并且于是具有相等的高度,并设置有孔。一个壁中的各孔被用于将第二试剂引入电极周围的以没有较大上底的翻转的等腰梯形形式的每个通道中,其中所述第二试剂例如在燃料电池的情况下的空气,并且另一个相反的壁的各孔用于排出缺氧性混合物。在在横截面中构成没有较大下底的等腰梯形的各气体空间通道的一侧上,所述支撑固体电极的波纹形板被涂覆有电极,例如在燃料电池的情况下的镍-金属陶瓷阳极。在电极周围的以没有较大上底的翻转的等腰的梯形的形式被成形的各气体空间通道另一侧上,所述板被涂覆有第二相反电极,例如基于锰酸镧锶的阴极。具有一系列孔的金属盒状气体供应管道确保了各试剂的供应和各反应产物的排出。所述气体供应管道的宽度和长度与所述电池的宽度和长度一致。这些孔对应于所述电池的在横截面中构成没有较大下底的等腰梯形的波纹的上部部分中的各孔,并且以气密方式连接至各孔的外周。气密空间在所述平面电池中被形成,以用于经管道引入的试剂、用于其经过各气体空间通道的均匀分配、并用于各废气穿过类似的排出气体总管的离开。所述排出气体总管被相对于竖直轴线旋转180°并且在周边处以气密方式被连接至陶瓷部分。设置有孔的各气体总管的平坦表面被连接至各电极。它们同时被用作集电器并且各管道被用作所述平面电池的电流端子。

标签:
固废
其他 - 其他 来源:中冶有色网 2023-03-19
过滤装置和方法
过滤装置和方法 834     
 0

公开了一种对诸如废水的液体(2)进行过滤的方法。液体的总悬浮固体介于1g/L至50g/L之间,并且该方法使用具有第一面(10)和第二面(11)的液体可渗透过滤元件(9),以产生总悬浮固体不超过10mg/L的过滤液体(4)。该方法包括使该液体可渗透过滤元件穿过液体循环,由此在第一位置,该过滤元件的第一面的区域承受压力下的液体,并且该过滤元件两侧的压力大于0且小于或等于5.9kPa(60cmh2O),并且在第二位置,该区域不承受压力下的液体或者承受较低压力下的液体,并且积聚在该过滤元件的第一面上的固体可以通过将过滤元件的第二面上的至少一股射流穿过该过滤元件朝向第一面引导来移除。该过滤元件具有孔隙大小,并且该过滤元件以一定速度循环,使得渗透通量介于200L/(m2h)至5,000L/(m2h)之间,并且当被移除时,积聚的固体的层的厚度介于0cm到6cm之间。

标签:
固废
其他 - 其他 来源:中冶有色网 2023-03-19
在压载工艺中除去重金属

一种用于处理金属污染的废水的系统包括一级处理子系统、二级处理子系统和三级处理子系统。三级处理子系统包括反应器罐、压载物材料的源、凝结剂的源、固体‑液体分离器和控制器,所述控制器被配置成将压载固体从固体‑液体分离器再循环至反应器罐,所述压载固体的量足以在反应器罐中产生金属氢氧化物絮凝物以减小反应器罐中溶解的金属的浓度。

标签:
固废
其他 - 其他 来源:中冶有色网 2023-03-19
金属锰的制造方法
金属锰的制造方法 1030     
 0

一种高品质金属锰的制造方法,对粉粒体(含Mn物质)实施水洗处理,使所含的氯溶于水中后,实施固液分离处理,得到分离除去了氯的固体成分。对得到的固体成分实施干燥处理,接着,在实施了该干燥处理的上述固体成分中混合助熔剂,装入电弧熔化炉中,进行通电而加热,将固体成分中的锰进行熔渣化。接着,实施还原处理:将熔渣化而得的熔渣熔液移到浇包中,并且向该浇包中投入还原剂、助熔剂,将熔渣熔液还原,制成金属熔液(金属锰)。由此,可以制造高品质的金属锰。应予说明,作为原料使用的含Mn物质优选为从废干电池中挑选出锰干电池和/或碱锰干电池并进行粉碎、筛分而得到的粉粒体。

标签:
固废
其他 - 其他 来源:中冶有色网 2023-03-19
用于有效处理有机材料的热处理系统和方法

本发明公开了用于处理有机材料的热处理系统和方法。在第一实施方案中,所述系统包括:对有机材料进行热处理以实现细胞分解和细胞形成的热输入装置和反应装置,从有机材料中分离惰性固体以产生具有低悬浮固体浓度的液体流的分离装置,以及由液体流产生甲烷的“高速”生物处理装置。在第二实施方案中,所述系统包括:通过在热处理之前预增稠使进料体积最小化的预增稠装置,热输入装置,反应装置,以及在厌氧生物处理之前从经热处理的有机材料中选择性地除去密度大的惰性颗粒的固体分离装置,其中使来自厌氧处理的废生物固体再循环至预增稠装置。

标签:
固废
其他 - 其他 来源:中冶有色网 2023-03-19
金属化合物的浓缩方法

对来自从矿山中挖掘的矿石或使用过的电子部件中的镓等金属进行浓缩并抑制废液的产生量是困难的。还原以第一金属含有率含有选自镓、铟、锗、碲及铯中的金属的第一固体金属化合物的混合物中的所述第一固体金属化合物,形成气体金属化合物,氧化所述气体金属化合物形成第二固体金属化合物,以比所述第一金属含有率高的第二金属含有率对该第二固体金属化合物进行捕集。

标签:
固废
其他 - 其他 来源:中冶有色网 2023-03-19
旋流浮选系统和配备有该旋流浮选系统的水污染防治系统

本发明提供一种旋流浮选分离器,包括:涡流生成体,所述涡流生成体包括入水口、使通过所述入水口所引入的水打旋以产生旋流,并且包括用于排放所述打旋的水的出水口;空气注入单元,用于将空气注入通过所述入水口引入的水中;排水控制单元,用于控制通过出水口所排放的水量,从而使得所述涡流生成体中的水位保持不变;以及悬浮固体去除单元,用于从所述涡流生成体中取出悬浮固体,所述存在的悬浮固体扩散在被供应到所述涡流生成体的水中,然后漂浮并在所述水的旋流和所述水中所充入的气泡的浮力的作用下向水面的涡流的中心聚集。因此,包括所述旋流浮选分离器的所述水污染防治系统能够以较低的成本有效地处理从净化废水、污水、工业水等的过程中产生的悬浮固体。

标签:
固废
其他 - 其他 来源:中冶有色网 2023-03-19
过渡金属硫酸盐溶液的回收方法及应用

本发明涉及一种过渡金属硫酸盐溶液的回收方法及应用。所述回收方法包括以下步骤:以草酸或草酸盐作为沉淀剂,与废旧锂电池的正极材料反应,得到过渡金属草酸盐固体沉淀物;将所述过渡金属草酸盐固体沉淀物与硫酸混合,得混合物;将所述混合物加热至180℃‑400℃,蒸干所述混合物中的水分,保温1h‑3h,冷却至室温,得固体;于水中溶解所述固体,过滤,即得过渡金属硫酸盐溶液。上述方法能够成功地将过渡金属的草酸盐沉淀转化为过渡金属硫酸盐溶液,为电池材料的回收提供了一种新思路,并且转化率高。

标签:
固废
其他 - 其他 来源:中冶有色网 2023-03-19
使用高强度和高功率超声波增强等离子体表面改性

本发明涉及一种固体物体(100)的等离子体表面改性工艺(以及相应的系统),其包括:通过等离子源(106)产生等离子体(104),将等离子体(104)施加到固体物体(100)的至少一部分表面(314),通过至少一个超声的高强度和高功率声波发生器(101)产生超声的高强度和高功率声波(102),其中该超声波被指引朝向物体(100)的所述表面(314)传播,使得对于所述表面(314)的至少一部分,与所述固体物体(100)接触的气体或气体混合物(500)流的层流边界层被减薄或破坏。以此方式,等离子体可以更有效地到达和影响要被等离子体处理的固体物体的表面,这显著地加快了处理时间。

标签:
固废
其他 - 其他 来源:中冶有色网 2023-03-19
提高多晶硅的纯化和沉积效率的方法和装置

本发明提供了由诸如冶金级硅的不纯的硅来源商业规模地生产含有一种或多种定制水平的n-型和p-型杂质的纯化多晶硅颗粒的方法和装置。该纯化系统和方法包括:(1)一个或多个系列的设置有双流化床的温控反应器或容器,其中转运固体和气体,以使得通过严格控制温度和停留时间来实现固体硅的不同程度的纯化和沉积;(2)分离和回收高熔点杂质的化合物,如FeSi和FeI2;(3)纯化、分离和再循环四碘化硅;(4)在连续分馏塔中,由碘回流促进,分离和回收较低沸点的液体杂质的碘化物,如AlI3;(5)在分馏塔的下游分离和回收液体混合物中的非常细的固体微粒,包括杂质碘化物和元素硅;(6)由工艺中的固体和液体碘化物杂质废物流的氧化回收输入碘。

标签:
固废
其他 - 其他 来源:中冶有色网 2023-03-19
被重金属所污染的物质的净化方法及装置

提供了一种能够连固体被污染物中所包含的重金属的难溶性极分也能确实地从土壤、污泥、沉积物、废弃物、焚烧灰分等固体被污染物中除去的净化方法和装置。反应槽2通过设置在阳极电极A和阴极电极C之间的隔膜M,被分成包含阳极电极A的阳极区10、包含阴极电极C的阴极区20。在阴极区20中,通过固体被污染物供给部件22供给包含重金属的固体被污染物、通过酸性物质或碱性物质供给部件24供给酸性物质或碱性物质、并且视情况通过供水部件26供水。在还原性气氛和强酸性或强碱性氛围气的共存下保持这些混合物的淤浆,使重金属溶出并电解析出在阴极电极表面,将重金属从固体被污染物和间隙水中分离出来。

标签:
固废
其他 - 其他 来源:中冶有色网 2023-03-19
具有层间连接孔的传感器元件

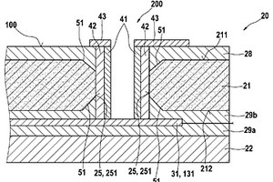
本发明涉及一种尤其用于探测气体的物理特性、尤其用于探测内燃机的气体成分的浓度或者废气的温度的传感器元件,其中所述传感器元件(20)具有第一固体电解质层(21),其中所述第一固体电解质层(21)具有层间连接孔(25),其中此外所述传感器元件(20)具有传导元件(41),该传导元件(41)通过所述层间连接孔(25)来建立从所述第一固体电解质层(21)的上侧面(211)到所述第一固体电解质层(21)的下侧面(212)的导电连接,并且其中所述第一固体电解质层(21)在所述层间连接孔(25)中通过绝缘元件(42)与所述传导元件(41)电气绝缘,其特征在于,所述层间连接孔(25)的壁体(251)具有倒棱(51),并且本发明涉及一种用于制造传感器元件的方法。

标签:
固废
其他 - 其他 来源:中冶有色网 2023-03-19
粉尘减容装置
粉尘减容装置 911     
 0

本实用新型是一种粉尘减容装置,包括有一进料部、一出料部和一连接于进料部和出料部的减容部,减容部包括有一外套筒、一设置于外套筒内部并推动压缩粉尘的压缩模块和至少一导管,减容部利用压缩的方式将工业制程中所产生的粉尘进行加压,并利用连接于减容部的导管将未被压缩成饼状的游离粉尘加以集中,且导引至一与进料部相连的粉尘导通管重新参与粉尘压缩减容的动作,使用本实用新型粉尘减容装置可以形成饼状的固体废弃物,如此减少粉尘废弃物的容积,并降低相关从业人员因为吸入飘扬在空中的粉尘而造成身体危害的几率。

标签:
固废
其他 - 其他 来源:中冶有色网 2023-03-19
逆渗透化粪池装置
逆渗透化粪池装置 1016     
 0

一种逆渗透化粪池装置,由腐败分离槽、二沉淀过滤槽、二氧化槽、一消毒废水槽构成。各槽均为一体成型。腐败分离槽设有溢流管,可阻绝粪便固体污物;沉淀过滤槽设有齿状溢流槽板及过滤室,过滤室内设有过滤石材,利用其上下结构隔离作用及滤石而发挥过滤功能;氧化槽设有沟槽状氧化板,利用水流冲力达到曝气效果,氧化槽内排气管的气交换使菌种维持生存,氧化槽内水利用导引管流至消毒废水槽,其上设有出水口将滤净的水排出,使粪便污秽物利用本实用新型得到排出滤净水的功效。

标签:
固废
其他 - 其他 来源:中冶有色网 2023-03-19
基于砖窑的热裂解制油设备

本实用新型属于能源再利用技术领域,具体涉及一种基于砖窑的热裂解制油设备,包括砖窑和制油设备,所述的砖窑应存在一段适宜制油设备的适宜温区,所述的制油设备设置在适宜温区内,所述的制油设备的原料为废弃的有机物,所述的有机物在适宜温区内吸收热量发生热裂解产生油蒸汽,所述的原料经热裂解后还剩余残留炭,所述的残留炭被收集到指定区域作为燃料使用。有益效果在于:利用了隧道窑余热的特点,将废弃的垃圾作为原料在高温下发生裂解产生能够作为燃料使用的不凝气和非标油,而固体残留炭也能作为燃料使用。

标签:
固废
其他 - 其他 来源:中冶有色网 2023-03-19
上一页 21 22 23 24 25 ... 117 下一页
共117页    到第

中冶有色为您提供最新的其他有色金属环境保护技术理论与应用信息,涵盖发明专利、权利要求、说明书、技术领域、背景技术、实用新型内容及具体实施方式等有色技术内容。打造最具专业性的有色金属技术理论与应用平台!

全国热门有色金属设备推荐
展开更多 +
全国热门有色金属技术推荐
展开更多 +

 

江西省隆恩特环保设备有限公司
宣传

报名参会
更多+

报告下载

有色专家
更多+

北京科技大学
主任/教授
武汉理工大学
外籍院士/教授
中国瑞林工程技术有限公司
中国工程院院士
北京科技大学
副院长/教授
矿冶科技集团
中国工程院院士
赤泥综合利用研究报告2025
推广

热门技术
更多+

推荐企业
更多+

福建省金龙稀土股份有限公司
宣传

发布

在线客服

公众号

电话

顶部
咨询电话:
010-88793500-807