青岛垚鑫智能科技有限公司
宣传

位置:中冶有色 >

有色技术频道 >

> 加工技术

分类:
全部
矿山技术
冶金技术
材料制备及加工技术
环境保护技术
分析检测技术
 
全部
功能材料技术
复合材料技术
新能源材料技术
合金材料技术
加工技术
地区:
全部
北京
天津
上海
重庆
河北
山西
辽宁
吉林
黑龙江
江苏
浙江
安徽
福建
江西
山东
河南
湖北
湖南
广东
海南
四川
贵州
云南
陕西
甘肃
青海
内蒙
广西
西藏
宁夏
新疆
其他
其他
展开
 
全部
南京
无锡
徐州
常州
苏州
南通
连云港
淮安
盐城
扬州
镇江
泰州
宿迁

江苏南京有色金属加工技术理论与应用

免费发布技术信息>>
2,3-吲哚亚胺类化合物的制备方法

本发明公开了一种2,3‑吲哚亚胺类化合物的制备方法,属于化学合成技术领域,包括以下操作步骤:向预先用烘箱干燥的无隔膜三颈烧瓶中依次加入邻氨基苯乙炔类化合物、苯胺、高氯酸锂、四丁基碘化铵、2,2,6,6‑四甲基哌啶氧化物,乙腈和水混合作为溶剂添加;通电搅拌待反应结束后,蒸发浓缩反应液,再经柱层析分离得到目标产物;本发明提供了一种新的2,3‑吲哚亚胺类化合物在电化学条件下的制备方法;本发明中的方法无需使用有毒有害的氧化剂及过渡金属,反应条件温和可控,产物易分离,对环境污染小;解决了现有2,3‑吲哚亚胺类化合物的合成方法中有使用部分有毒有害试剂以及过渡金属作为催化剂,不符合绿色化学理念的问题。

标签:
加工技术
江苏 - 南京 来源:中冶有色网 2023-03-19
三明治型镧系金属卟啉及其应用

本发明公开了一种三明治型镧系金属卟啉及其应用,包括:将四(4‑吡啶基)卟啉,正丁基锂溶于1,2,4‑三氯苯中,在氮气的氛围下搅拌一定时间。将镧的乙酰丙酮盐(La(acac)3·nH20)加入溶液中搅拌,氮气保护,在高温下冷凝回流5h,经碱性氧化铝柱层析得到一种三明治镧系金属卟啉。将统计所得发光强度与发光体和共反应剂浓度相关联,得到最适发光条件;将经过本发明电化学发光的设备简单,操作简便,可以方便地检测出光强随反应物的浓度变化趋势;利用电致化学发光检测,可通过调节电势将反应初始条件、速度和历程予以控制,方便地进行原位、现场分析;适用于β‑环糊精的检测。

标签:
加工技术
江苏 - 南京 来源:中冶有色网 2023-03-19
WS2@MoS2@C/rGO电极材料及制备方法和应用

本发明公开了一种WS2@MoS2@C/rGO电极材料及制备方法和应用,该电极材料为中空的球状结构,并且以C为壳,WS2@MoS2被C层包裹并与rGO复合。本发明首先利用溶剂热法合成了中空的WS2微球,然后将其分散在去离子水中,再向其中加入钼源、硫源和石墨烯分散液,并利用水热法制备了WS2@MoS2/rGO异质结构,最后对其进行多巴胺包覆和高温碳化,得到WS2@MoS2@C/rGO异质结构电极材料。本发明采用水热溶剂热法制备了WS2@MoS2@C/rGO异质结构电极材料,具有性能稳定且工艺重复性好的优点,所得的电极材料用作锂离子电池负极材料时,表现出良好的倍率性能和优异的循环稳定性。

标签:
加工技术
江苏 - 南京 来源:中冶有色网 2023-03-19
长烷基链修饰的共价有机框架材料、制备方法和应用

本发明公开了一种长烷基链修饰的共价有机框架材料、制备方法和应用。所述的长烷基链修饰的共价有机框架材料是由三羟基均苯三甲醛中的三个醛和长烷基链修饰的胺基化合物的两个酰胺基连接形成‑C=C‑NH‑NH‑共价键而合成的六边形拓扑结构。将长烷基链修饰的共价有机框架材料球磨剥离形成纳米片后,采用真空辅助自组装的方法将共价有机框架纳米片复合到聚乙烯膜上制备成复合隔膜。本发明的长烷基链修饰的共价有机框架复合隔膜具有优异的电解液浸润性和抑制多硫化物穿梭效果,其组装的锂硫电池具有良好的循环稳定性和优异的充放电比容量。

标签:
加工技术
江苏 - 南京 来源:中冶有色网 2023-03-19
盐酸右美托咪定的制备方法

本发明公开了一种盐酸右美托咪定的制备方法,该方法以2,3‑二甲基‑氯乙基苯为原料,与镁反应制得格氏试剂,与甲醛加成得2‑(2,3‑二甲基苯基)丙醇,经重铬酸钾氧化得到2‑(2,3‑二甲基苯基)丙醛,再与氨气的甲醇溶液反应得到亚胺,与对甲基苯磺酰甲基异腈经范勒森反应得到美托咪定,最后经酒石酸手性拆分得到盐酸右美托咪定。本法反应条件简单,易于满足,操作方便;制备方法安全可靠,不涉及现有工艺中的烷基锂脱氢、催化加氢等高危反应,安全系数高,而在生产事故频发,把安全生产作为第一抓手的化工行业,工艺的安全性具有重要的意义。

标签:
加工技术
江苏 - 南京 来源:中冶有色网 2023-03-19
风速仪用692nm1248nm2496nm1581nm六波长光纤激光器

一种风速仪用692nm1248nm2496nm1581n六波长光纤激光器,谐振腔设置为三角形环形光纤激光腔,在三角形环形光纤激光腔的四个角上设置深刻蚀光纤反射镜,在上边光路的中间位置设置信号光λXⅠ2496nm波长周期极化铌酸锂四波混频激光谐振腔,在左边光路的中间位置设置倍频光ⅠλBⅠ490nm的倍频谐振腔Ⅰ,在右边光路的中间位置设置闲频光ⅡλlⅡ1581nm的光学参量振荡器1,总体构成692nm、490nm、1248nm、980nm、2496nm、1581nm六波长光纤激光器。

标签:
加工技术
江苏 - 南京 来源:中冶有色网 2023-03-19
准固态三氧化钨电致变色器件及其制备方法

本发明公开了一种准固态三氧化钨电致变色器件及其制备方法,该电致变色器件包括:工作电极,电解质层,对电极,透明导电层;工作电极为氧化钨,电解质层为含锂盐的氯化胆碱乙二醇凝胶,对电极为纳米氧化铈;本发明采用喷涂法制备三氧化钨电致变色薄膜电极与氧化铈对电极,以凝胶电解质为类离子液体,具有成本低廉、绿色环保、高度透明、不易泄露、离子电导率高的特点,采用此类电解质制备的器件具有响应速度快、光学密度差大、成本低廉的特点。

标签:
加工技术
江苏 - 南京 来源:中冶有色网 2023-03-19
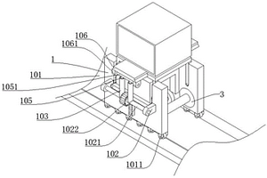
新能源电动汽车电池系统研发电池充放电模拟试验设备

本发明公开了一种新能源电动汽车电池系统研发电池充放电模拟试验设备,属于电池检测设备技术领域。一种新能源电动汽车电池系统研发电池充放电模拟试验设备,包括转动电机,还包括蓄电池组放置箱,所述转动电机通过传送带连接有第三转轴,所述第三转轴的两端固定连接有转盘,所述第一连接轴上转动连接有第一连接杆,所述第一连接杆通过第二连接轴转动连接有第二连接杆,所述第二连接杆上端固定连接有固定连接板,所述固定连接板上滑动连接有滑动板,所述蓄电池组放置箱固定连接在滑动板上,该装置通过模拟新能源汽车在上下颠簸、左右转弯、正常行驶及刹车时的运动状态,可以检测在运动过后,锂电池的损坏情况,便于对电池的使用寿命进行判断。

标签:
加工技术
江苏 - 南京 来源:中冶有色网 2023-03-19
夹层中空双壳结构的硅-碳-石墨烯电极材料及制备方法和应用

本发明公开了一种夹层中空双壳结构的硅‑碳‑石墨烯电极材料及制备方法和应用。该材料具有如下结构:夹层中空双壳结构的硅‑碳颗粒固定在氧化还原石墨烯片层上,其中所述硅‑碳颗粒具有纳米硅颗粒内核,纳米硅颗粒表面包裹SiOx层,SiOx层外具有碳层,SiOx层与碳层之间为中空层。本发明还提供了所述的夹层中空双壳结构的硅‑碳‑石墨烯电极材料在制备锂离子电池负极材料的应用及制备方法。本发明夹层中空双壳结构的硅‑碳‑石墨烯电极材料,具有可逆容量高、循环稳定性好、可规模化生产等优点。

标签:
加工技术
江苏 - 南京 来源:中冶有色网 2023-03-19
苯唑草酮的中间体及苯唑草酮的制备方法

本发明涉及有机合成领域,尤其涉及一种苯唑草酮的中间体及苯唑草酮的制备方法,包括如下步骤:3‑[3‑卤‑2‑甲基‑6‑(甲磺酰基)苯基]‑4,5‑二氢异噁唑与氰化盐发生取代反应得到3‑[3‑氰基‑2‑甲基‑6‑(甲磺酰基)苯基]‑4,5‑二氢异噁唑;3‑[3‑氰基‑2‑甲基‑6‑(甲磺酰基)苯基]‑4,5‑二氢异噁唑在酸或碱的作用下水解反应得到2‑甲基‑3‑(4,5‑二氢异噁唑‑3‑基)‑4‑甲磺酰基苯甲酸;2‑甲基‑3‑(4,5‑二氢异噁唑‑3‑基)‑4‑甲磺酰基苯甲酸与1‑甲基‑5‑羟基吡唑缩合重排生成苯唑草酮。本发明提供的苯唑草酮的中间体及苯唑草酮的制备方法,避免了昂贵的钯催化剂和危险的丁基锂试剂的使用,收率较高,降低了成本,简化了工艺,克服了现有技术的不足,具有工业化的价值。

标签:
加工技术
江苏 - 南京 来源:中冶有色网 2023-03-19
含有双吖丙啶基团的氨基酸类化合物及其合成方法

本发明公开了一种含有双吖丙啶基团的氨基酸类化合物及其合成方法。所述方法以乙酰乙酸乙酯为原料,在二异丙基氨基锂作用下,与溴丙炔反应生成3‑氧代庚‑6‑炔酸乙酯,再水解生成3‑氧代庚‑6‑炔酸,之后在氨气甲醇溶液中与羟胺‑O‑磺酸反应,经由碘单质氧化生成2‑(3‑(丁‑3‑炔‑1‑基)‑3H‑双吖丙啶‑3‑基)乙酸,再与1‑乙基‑(3‑二甲基氨基丙基)碳二亚胺盐酸盐和N‑羟基丁二酰亚胺反应生成2,5‑二氧代吡咯烷‑1‑基2‑(3‑(丁‑3‑基‑1‑基)‑3H‑双吖丙啶‑3‑基)乙酸酯,再分别与氨基酸类分子反应生成目标产物。本发明合成的化合物含有双吖丙啶基团和具有生物活性的氨基酸分子,可用于生物活性测试和分析中。

标签:
加工技术
江苏 - 南京 来源:中冶有色网 2023-03-19
阿格列汀中间体的制备方法

本发明公开了一种阿格列汀中间体的制备方法,包括:将10.0g原料化合物1加入到100ml体积比为1:1的DMSO/DMF混合溶剂中,常温搅拌溶解,待溶解后,添加2.5g氢化钠、2.5g溴化锂和5g复合氧化物;将13.4g原料化合物2溶解于30ml体积比为1:1的DMSO/DMF混合溶剂中,并于搅拌条件将化合物2的溶液缓慢添加进化合物1的混合溶液中,搅拌反应12h;将反应液过滤,浓缩,得到粗品;用硅胶柱层析纯化之后,即得中间体化合物3。本发明复合氧化物可有效用于催化合成阿格列汀中间体。本发明提供的制备方法有效提高了阿格列汀中间体的产率。

标签:
加工技术
江苏 - 南京 来源:中冶有色网 2023-03-19
智能行李箱
智能行李箱 795     
 0

本发明涉及一种智能行李箱。该行李箱包括:具有箱盖的箱体、安装在箱体底部的万向轮和安装在箱体顶部的拉杆,箱体内底部具有称重模块、箱体内还装有单片机、无线模块、蓝牙模块、音响设备、GPS定位模块、湿度传感器和加热模块;拉杆上具有指纹传感器;箱盖与箱体间装有电子锁;箱体的表面还具有为锂离子电池充电的充电口。本发明提供的智能行李箱,具有指纹识别,一键锁箱,定位等诸多智能功能,配合智能手机,操作简单,智能化程度高,方便出行,整体设计合理,适合广大旅游爱好者所使用。

标签:
加工技术
江苏 - 南京 来源:中冶有色网 2023-03-19
用于合成氧化镍纳米颗粒/多孔炭复合材料的超声波微反应器系统及使用方法

本发明公开了一种用于合成氧化镍纳米颗粒/多孔炭复合材料的超声波微反应器系统及使用方法,包括第一加料装置、第二加料装置、PTFE管、T型接头、混合溶液管、超声波恒温装置以及接收装置。将氢氧化钠与氢氧化锂混合的乙醇溶液和醋酸镍乙醇溶液分别装入第一加料装置和第二加料装置,经过T型接头混合后进行超声波微反应处理,最后通入放有多孔炭置的接收装置中反应得到氧化镍纳米颗粒/多孔炭复合材料。本发明通过微反应器提高了反应过程中的传热效率与传质能力,制备得到的复合材料中氧化镍纳米颗粒分布均匀,无团聚现象;本发明的设备结构简单、物料配比易控制、安全性高、操作性好,适宜大规模的工业化生产。

标签:
加工技术
江苏 - 南京 来源:中冶有色网 2023-03-19
重载汽车轮毂轴承用润滑脂及其制备方法

本发明涉及一种润滑脂及其制备方法,尤其涉及一种重载汽车轮毂轴承用润滑及其制备方法,属于化工技术领域。本发明包括以下原料:(A)占润滑脂总重的60%-85%的基础油;(B)稠化剂为占润滑脂总重7-12%的C12-C22的一元有机酸,0.5-3%的癸二酸,0.2-1%的硼酸,3-5%的氢氧化锂油溶液;(C)添加剂为占润滑脂总重0.5-3%的硫代氨基甲酸酯、2-5%的硫化烯烃棉籽油、2-4%的二烷基二硫代氨基甲酸盐、0.5-2.5%二烷基二硫代磷酸钼、0.3-2%的防锈剂和0.3-1%的抗氧剂。其有益效果是:缩短生产时间,且工艺更可控,产品质量稳定;高温轴承漏失量少,且极压性能突出,能更好地为重载车辆轮毂提供润滑保护;能满足各种工况下的重载汽车轮毂轴承的润滑需求,并延长了轮毂轴承的换脂周期。

标签:
加工技术
江苏 - 南京 来源:中冶有色网 2023-03-19
多用途双灯头强光手电

多用途双灯头强光手电是种常见产品,是日常生活中需要的用品。强光手电是以发光二极管作为光源的一种新型照明工具,它具有省电、耐用、亮度强等优点。强光手电的电源多为可充电锂离子电池或镍镉镍氢电池,额定电压3.7V,容量几百到几千毫安时不等。它是环保灯具,高效转换减少发热。现在市面上的强光手电,大多只有一个灯头,且照射方向只能是一个。为了满足使用者对于强光手电创新功能的需求,我们希望能设计出本款手电筒有两个灯头,在灯头部分做了可旋转的结构使得灯头的照射方向能够改变,使得能够照射的范围更大,采用了可充电离子电池延长了使用时间。造型简洁方便携带。只需要它便能满足多种情况下使用需求。

标签:
加工技术
江苏 - 南京 来源:中冶有色网 2023-03-19
风速仪用716nm1344nm2688nm1531nm六波长光纤激光器

一种风速仪用716nm1344nm2688nm1531nm六波长光纤激光器,谐振腔设置为三角形环形光纤激光腔,在三角形环形光纤激光腔的四个角上设置深刻蚀光纤反射镜,在上边光路的中间位置设置信号光λXⅠ2688nm波长周期极化铌酸锂四波混频激光谐振腔,在左边光路的中间位置设置倍频光ⅠλBⅠ490nm的倍频谐振腔Ⅰ,在右边光路的中间位置设置闲频光ⅡλlⅡ1531nm的光学参量振荡器1,总体构成716nm、490nm、1344nm、980nm、2688nm、1531nm六波长光纤激光器。

标签:
加工技术
江苏 - 南京 来源:中冶有色网 2023-03-19
地聚合物改性JS防水涂料及其制备方法

本发明公开了一种地聚合物改性JS防水涂料及其制备方法,包括A、B两组份,A、B两组份的重量混合比为1:1。A组份:SBS乳液水性树脂40%‑80%、水玻璃20%‑60%;B组份:氟硅酸盐类5%‑10%、硫酸盐类2%‑4%、锂盐类0.3%‑0.5%、活性矿渣粉40%‑90%、填料0%‑50%,使用时,将A、B两组份进行混合,搅拌均匀后涂刷于待处理表面即得到防水涂层。本发明利用活性矿渣粉等原料的地聚合过程,能在混凝土表面毛细孔和微裂纹中形成地聚合物,有效改善现有JS防水涂料与混凝土基层的粘结力,从而提高混凝土的抗渗性和强度,达到防水、堵漏的目的。可应用于混凝土建筑物的内、外墙防水,各种混凝土表面,操作方便,粘结力强,环保无污染,抗渗性好,防水性能佳。

标签:
加工技术
江苏 - 南京 来源:中冶有色网 2023-03-19
纤维素增强酚醛树脂复合材料及其制备方法

一种纤维素增强酚醛树脂复合材料及其制备方法,配制氢氧化锂、尿素和水的混合物作为纤维素的溶剂,加入天然纤维素,搅拌后冷冻,取出后室温溶解,随后进行冷冻,重复1~4次,直至得到透明的纤维素溶液;将纤维素溶液倒入玻璃杯中,热致凝胶;随后用去离子水充分洗涤,得到纤维素水凝胶;以苯酚、甲醛、水为原料,氢氧化钠作为碱性催化剂,制备酚醛树脂,反应结束后调pH值至中性,通过减压真空脱水及抽滤进行纯化,将纯化后的酚醛树脂分散在乙醇和水的混合溶剂中,形成酚醛树脂溶液。将纤维素水凝胶浸渍在酚醛树脂溶液中,取出后用去离子水冲洗干净置于烘箱中固化,得到纤维素/酚醛树脂复合材料,可用于汽车摩擦片、耐腐蚀玻璃钢制造等领域。

标签:
加工技术
江苏 - 南京 来源:中冶有色网 2023-03-19
介孔硅‑铜复合物电极材料及其制备方法和应用

本发明公开了一种介孔硅‑铜复合物电极材料及其制备方法和应用。所述的介孔硅‑铜复合电极材料具有10‑100nm的孔道结构,比表面60‑300m2/g,铜的质量分数占15‑75%。所述制备方法包括:对镁粉与介孔二氧化硅的混合物进行镁热反应制得介孔硅;采用浸渍‑氢还原法制备介孔硅‑铜复合物。本发明还提供了所述的介孔硅‑铜电极材料在制备锂离子电池负极中的应用。本发明介孔硅‑铜复合电极材料,具有可逆容量高、循环稳定性好、倍率性能好高、可规模化生产等优点。

标签:
加工技术
江苏 - 南京 来源:中冶有色网 2023-03-19
含双核钴碳硼烷衍生物及其制备方法

本发明涉及一种含双核钴碳硼烷衍生物及其制备方法。本发明的一种含双核钴碳硼烷衍生物,其分子式为C14H24B10O2S2Co2,分子量为482.44。该化合物的合成方法是:在氩气保护下,把邻位碳硼烷溶解到乙醚中,加入丁基锂,搅拌反应20-30分钟,再加入单质硫,反应15-25分钟。0℃下将MeCpCo(CO)I2的四氢呋喃溶液滴加到上述反应液中,20-30分钟内滴加完毕;在冰浴中搅拌0.5-1小时后再在室温下搅拌2-3小时。减压抽干反应溶剂,粗产物用柱色谱分离提纯,石油醚和二氯甲烷的混合溶剂(体积比=2∶1)为洗脱液进行洗脱,即得目标产物。

标签:
加工技术
江苏 - 南京 来源:中冶有色网 2023-03-19
改性凹凸棒石脱水吸附剂及其制备方法

本发明提供一种改性凹凸棒石脱水吸附剂及其制备方法,包括以下步骤:将表面处理后的凹凸棒石与第一改性剂混合打碎,并搅拌混合均匀,得到第一混合物,并压滤后经压片,得到第一混合物压片;其中,所述第一改性剂为碳酸镁、磷酸氢二钾、氯化锂中的一种或几种;将第一混合物压片烘干,研磨过筛,得到第一混合物的粉末,并将第一混合物的粉末与第二改性剂混合均匀,得到第二混合物,将第二混合物造粒或挤条成型,并进行烘干,煅烧,密封冷却收得到所述改性凹凸棒石脱水吸附剂;其中,所述第二改性剂为淀粉、尿素、碳酸氢铵、氧化铝、硅胶中的一种或几种。本发明的吸附剂可在低湿度的情况下提高凹凸棒石的吸附量,并在高湿度下保持或提高其吸附量。

标签:
加工技术
江苏 - 南京 来源:中冶有色网 2023-03-19
防潮阻燃竹木纤维墙板及其制备方法

本发明公开了一种防潮阻燃竹木纤维墙板及其制备方法,涉及家装材料技术领域。本发明在制备防潮阻燃竹木纤维墙板时,先将乙烯基三甲氧基硅烷进行聚合,制得多面有机硅,以多面有机硅为星核,用正丁基锂对聚乙烯吡啶和聚1,3‑丁二烯反应活化后再与多面有机硅反应制得星形有机硅,用亚硫酸氢钠对多异氰酸酯进行封闭处理,控制封闭处理后的多异氰酸酯半解封并与水解后的星形有机硅反应,制得改性星形有机硅反应,将改性星形有机硅、活化后的竹木纤维粉、聚氯乙烯、丙酮、硬脂酸混合搅拌,再加入碳酸钙混合搅拌后进行高温热压制得防潮阻燃竹木纤维墙板。本发明制备的防潮阻燃竹木纤维墙板具有优良的防潮性能、阻燃性能和断裂强度。

标签:
加工技术
江苏 - 南京 来源:中冶有色网 2023-03-19
适用于纯电动汽车的远程监控故障诊断报警系统

本发明公开了适用于纯电动汽车的远程监控故障诊断报警系统,涉及纯电动汽车技术领域。适用于纯电动汽车的远程监控故障诊断报警系统,包括远程控制终端,所述远程控制终端分别信号传输连接有通信模块、检测模块和控制模块,通信模块、检测模块和控制模块信号传输连接有故障诊断模块。该适用于纯电动汽车的远程监控故障诊断报警系统,保障了对电池组进行实时的调节和统计分析的整体优化效果,进而提高了纯电车上电池组使用的耐久性,以及通过预报警模块和报警模块能够精准的反应出电池组存在的不同问题,实现对纯电车电池组内部锂离子和内部热量问题精准分析,保障电池组不同支点问题可以分枝报警监测的简便性。

标签:
加工技术
江苏 - 南京 来源:中冶有色网 2023-03-19
二次电池用三明治结构金属复合负极片

本发明涉及一种二次电池用三明治结构金属复合负极片,包括M金属片和粘附在M金属片上、下表面的金属纳米线层,所述M金属片为锂金属片、钠金属片或镁金属片,所述金属纳米线层由一组粘附在M金属片表面的金属纳米线组成,所述金属纳米线为铜纳米线、镍纳米线或铜镍纳米线。本发明的优点是通过金属纳米线粘附在M金属片上下表面形成的网络结构分散了表面电流,同时使得M金属离子的分布更加均匀。

标签:
加工技术
江苏 - 南京 来源:中冶有色网 2023-03-19
轻钢防火涂料及其制备方法

本发明属于防火涂料技术领域,具体涉及一种轻钢防火涂料及其制备方法,所述涂料以重量计,包括式(1)聚合物50~80份,聚氨酯树脂20~60份,环氧改性聚酯树脂10~20份,聚磷酸铵20~30份,钛白粉15~20份,纳米二氧化硅10~15份,硅酸锂5~15份,季戊四醇4~15份,三聚氰胺4~15份,膨润土0.5~1.5份,溶剂油10~20份,所述聚氨酯树脂与环氧改性聚酯树脂的重量比为2:1~3:1,其中,n为500~2000之间的整数,阻燃效果好、易于施工、成膜性好,不易脱落的同时,还具有良好的隔热性能,热导率低。

标签:
加工技术
江苏 - 南京 来源:中冶有色网 2023-03-19
人工智能型绿化喷药设备

本发明公开了一种人工智能型绿化喷药设备,包括箱体,所述箱体的底部通过支架固定连接有设备轮,所述箱体的内部固定连接偶有锂电池,所述箱体的顶部固定连接有第一固定板,且第一固定板设置有两个,所述箱体的顶部活动连接有喷药箱,本发明涉及园林绿化技术领域。该人工智能型绿化喷药设备,利用箱体上的喷药箱和第一固定板,将第一钢棒连接起来,再配合微型低速永磁交流电机,将第一钢棒进行转动,再利用第二钢棒上的第一齿轮和第二齿轮,对喷药箱起到一定的阻挡调节的作用,再利用喷药箱里面的第一固定板和第二喷药孔,对喷药进行调节,解决了喷药孔需要靠螺纹杆进行调节,保障喷药孔调节的安全性,增加喷药设备工作效率。

标签:
加工技术
江苏 - 南京 来源:中冶有色网 2023-03-19
电池隔膜及其制备方法、动力电池及其制备方法

本发明属于锂离子电池技术领域,具体涉及一种电池隔膜,用于隔离第一极片和第二极片,该隔膜包括隔膜基体和设置于所述隔膜基体至少一面的多个凸起,多个所述凸起呈阵列排布,且其整体阵列的方向与所述隔膜基体的长度方向之间形成角度α,所述α=arcsin[h/(n×l)]。与现有技术相比,本发明通过将凸起阵列的方向进行特殊角度的倾斜,使凸起在由第一极片、第二极片和隔膜构成的电芯的厚度方向上可以形成错位设置,从而避免了在该方向上出现凸点重叠的问题,达到了分散电芯内部应力的目的,显著地提高了电池的循环寿命和安全性能。此外,本发明还公开了该电池隔膜的制备方法,以及动力电池和该动力电池的制备方法。

标签:
加工技术
江苏 - 南京 来源:中冶有色网 2023-03-19
风速仪用736,2nm490nm1480nm六波长激光器

一种风速仪用736,2nm490nm1480nm六波长激光器,谐振腔设置为三角形环形光纤激光腔,在三角形环形光纤激光腔的四个角上设置深刻蚀光纤反射镜,在上边光路的中间位置设置信号光λXⅠ2960nm波长周期极化铌酸锂四波混频激光谐振腔,在左边光路的中间位置设置倍频光ⅠλBⅠ490nm的倍频谐振腔Ⅰ,在右边光路的中间位置设置闲频光ⅡλlⅡ1465nm的光学参量振荡器1,总体构成736.2nm、490nm、1480nm、980nm、2960nm、1465nm六波长光纤激光器。

标签:
加工技术
江苏 - 南京 来源:中冶有色网 2023-03-19
风速仪用688nm1232nm2464nm1589nm六波长光纤激光器

一种风速仪用688nm1232nm2464nm1589n六波长光纤激光器,谐振腔设置为三角形环形光纤激光腔,在三角形环形光纤激光腔的四个角上设置深刻蚀光纤反射镜,在上边光路的中间位置设置信号光λXⅠ2464nm波长周期极化铌酸锂四波混频激光谐振腔,在左边光路的中间位置设置倍频光ⅠλBⅠ490nm的倍频谐振腔Ⅰ,在右边光路的中间位置设置闲频光ⅡλlⅡ1589nm的光学参量振荡器1,总体构成688nm、490nm、1232nm、980nm、2464nm、1589nm六波长光纤激光器。

标签:
加工技术
江苏 - 南京 来源:中冶有色网 2023-03-19
上一页 22 23 24 25 26 ... 146 下一页
共146页    到第

中冶有色为您提供最新的江苏南京有色金属加工技术理论与应用信息,涵盖发明专利、权利要求、说明书、技术领域、背景技术、实用新型内容及具体实施方式等有色技术内容。打造最具专业性的有色金属技术理论与应用平台!

全国热门有色金属设备推荐
展开更多 +
全国热门有色金属技术推荐
展开更多 +

 

江西省隆恩特环保设备有限公司
宣传

报名参会
更多+

报告下载

有色专家
更多+

武汉理工大学
副主任/研究员
矿冶科技集团江苏北矿金属循环利用科技有限公司
书记 / 总经理
南方科技大学
外籍院士
长沙有色冶金设计研究院有限公司
正高级工程师/中国铝业首席工程师/全国有色金属行业设计大师/国家注册采矿工程师
中铝郑州有色金属研究院有限公司
党委书记 董事长
赤泥综合利用研究报告2025
推广

热门技术
更多+

推荐企业
更多+

福建省金龙稀土股份有限公司
宣传

发布

在线客服

公众号

电话

顶部
咨询电话:
010-88793500-807